Mitsubishi 6D16TLEA Engine Service Manual for Tadano

Page 1

Mitsubishi

6D16TLEA Diesel Engine Engine Workshop Manual (for Tadano Crane use)

FOREWORD

ThisShop ManualispublishedfortheinformationandguidanceofpersonnelresponsibleformaintenanceofMitsubishi 6D16TLEA diesel engine, and includes procedures for adjustment andmaintenanceservices.

Weearnestlylookforwardtoseeingthatthismanualismade fulluseofinordertoperformcorrectservicewithnowastage.

For more details, please consult your nearest authorized Mitsubishidealer ordistributor.

Kindlynotethatthespecificationsandmaintenanceservice figuresaresubjecttochangewithoutpriornoticeinlinewith improvement which willbe effected from time to time in the future.

Mitsubishi 6D16TLEA engine parts contact: email: engineparts2@gmail.com

Phone: 269 673 1638

Text: 269 760 8652

HOW TOREADTHISMANUAL GENERAL .....................·lim ENGINE........................·ID LUBRICATION..................·IE FUELAND ENGINE CONTROL ..·IE COOLING ......................·Ill INTAKEAND EXHAUST .........·Im ELECTRICALSYSTEM ..........·ml
GROUP INDEX
Notes: parts phone 269 673 1638

HOW TO READ THIS MANUAL

HOW THIS MANUAL IS COMPILED

GENERALEXPLANATION OF THIS MANUAL

TERMS AND UNITS

........................ .... ii
..........;........ iii
.......................................... vii

HOW TO READ THIS MANUAL

HowThis Manual Is Compiled

• This manual is compiled by classifying various systems into certain groups.

• Each group containsspecifications; troubleshooting; maintenanceservicestandards; 0tighteningtorque; cD.lubricant, fluid and sealant; � special tools; and service procedure.

• Page enumeration is independent by every group where firs page is always 1.

00

General specifications, engine No. andnameplate, precautionsformaintenanceoperations, table ofstandard tighteningtorques

54

starter, preheatingsystem, engine startsystem, automaticstop system 61

Group Group denomination Contents No.
General
11 Engine Engine body 12 Lubrication Lubricationsystem 13 Fuelandengine control Fuel system 14 Cooling Coolingsystem 15 Intake and exhaust Intake
21 Clutch Clutch
and exhaustsystem, turbocharger, intercooler
proper,bearingcase
Electrical system Alternator,
Specialequipment Air
II
compressor, pressure governor

General Explanation of This Manual

• Specifications

Particularsrelative tomaintenanceservice aremade.

• Structure and operation

(1) Regardingconventionalequipment, descriptions are madeinbrief.

(2) Regardingnewequipment, descriptions ofsystemandoperatingcondition aremade indetail.

• Troubleshooting

Symptomsof troublesand possible causesare describedcomparatively.

• Inspection and adjustment mounted in vehicle

Descriptions are made regarding inspectionandadjustment ofunits mounted in vehicle.

• Service procedure

Inprinciple,anexplanationisgivenatthespreadtitlepagesothattheserviceprocedurecanbeunderstood.Servicingpoints areexplained as a supplementary explanation.

Regardingthe design ofthis manual

:�1a

7;.;ldM�

1 Illustrationfordisassemblyandassemblyorremovalandinstallation: 3-D explodedviewofcomponentparts is displayed.

Names of parts show an exampleofthe disassembly (removal) sequence.

Whentheassembly (installation)sequencediffersfromthedisassembly (removal) sequence, anexampleof the assembly (installation) sequence is shown.

Service standards areshown collectively, classified by location.

Tighteningtorques areshowncollectively, classified by location.

Pointsof lubricant, fluid andsealantapplication areshown collectively, classified by location.

Special toolsto beused areshowncollectively, classified by location.

When itisconsidered hardtounderstandtheserviceprocedure, justby the foregoing description, a supplementary description of theservice procedureis given.

3Wast.•
7Pre, /[/Ort IPreuura91)MQeap •Aelumtpnng 10fw!N"i.vetplala 11Clulchoov.r 12 AelNMlrh'erpin usuppo,1...,.,p1n ,....,.,. 1ISIJl)l)O(I...,., 1IAelMNlevw 17ZP,...,nplale&i.-uMnt,ly UP2M2 ·-.,,,.._, A•Poelllotllngpin{lll2�) 0:Non---.blepart 1,1....ir-·1b....1....,----,...,....,...2...., U-015➔13�llll;dutch,..._Q Unll mm Standllrdvlllus (B..lcdlllmM.,.,nll) ,...1,A c-....�......bo11ndllrt,p�
.., -�,......,�...,.�..=,,-+--�...,=.=,.,,� .,.---+-�--+2 21,.,....,...f7'71,g1J " ·-10 c...,._i. -pwianc111u1Nng I1oiooe1oo1e 10 "--'--. ---t----,,.-..-,---<----<--0Tlghl.nlngtorque Uni!Nml•vtm) L�1ton Slurp_(_:::;; o 3 ____,__....._""_�:=••"""'"�••�• ___,_I_"'"'�::...=-•"'___,I 4 Boll(NCIIMgloc:t,plak _ ll.llo7fl!0.II008) _ ,..., . 10.11 SM,g_,_GII,_. 12,17 ...........al._ 13,14 ...,._,_"'"-"PO· iJ Special tools '�""' Tool-and� 21 LOCTITE,12 ,..,_.., PortNo -11 �- � MHOl10&1 AMlow'llland.......,dduld,� 5 "�""= " �- .��T ...,.,,., �..........."-"".,._ \ 111• ♦-�{ .� (1][!Ja--..........,,lloll.....,,,.... ·--�-----.....�--�p(lrt A.ShppllN 01119 �: 11 OIJW ill.......,...,._..,.. 11��11'hu�...-,,d.��-.het"Aoon. epordng1othl'ln'IIU!lolr.g,n:tin..��--p,aau,e pi...n�..,mg1. ----
��
1a. 1b. 2 3. 4 ...... 5. 6........
iii

HOW TO READ THIS MANUAL

1. Illustrationfor disassembly and assembly or removal and installation

This shows thattheappropriateserviceprocedureis describedin thetext.

CLUTCH BODY

Pressure Plate and L ver Assembly

01276

This shows the key No. of the part. In the text, this No. isreferredtouniformlythroughout.

• aHmblyaequence

Strapbolt

Washer

Washer

Bolt

Lock plate

Supportnut ---------

Pressuresp��-----ffiGr00

Pressurespringcap

This shows an example of

the disassembly (removal) sequence.

Thisshowsthattheservice procedure is described in anothersection.

LC] P00-00 : showsreference page within the samegroup.

[OGrOO showsreferencegroup withinthesamebook.

2 Pressureplate&leverassembly mp21-12

Clutchdisc

•.Flywheel

A: ·ioningpin (at2places)

0:Non-re blepart

•AaNmblyaequence

16-+17➔12➔10➔9➔8➔7➔6➔5➔4➔3➔

14➔15-+13_j

Repairkit: clutchreleaselever kit

Meaningofsymbols

0 : showsthatthetighteningtorqueis specified.

r0i : showsthatapplicationoflubricant, fluid orsealantisrequired.

0 : shows that the part should not be reused.

� No service procedure is referred to in this section, but the item can be an objectiveof variousprocedures.

Thisisshownwhentheassembly(installation) sequenceisnotthereverseofthedisassembly (removal) sequence.

Thisshowsthatarepairkitisavailable.

iv
�----�··
1
2
3
4
5
6
7
8
9 Returnspring 10 Releaseleverplate 11 Clutchcover 12 Releaseleverpin 13 Supportleverpin 14 Bushing 15 Supportlever 16 Releaselever 17 Bushing
3

2. Servicestandards table

Only the relevant service standards are shown.

Service standards

Location Maintenance item

1,11 Clearancebetweenstrapboltandstrapplate

7 Pressure spring Installedload (Installed length49.1) Tilt

IThis shows the key No. of the relevant part.

3. Tightening torquetable

This shows specified tightening torque.

0 Tightening torque

Location Parts to betightened

1 Strapbolts (Strapbolt mounting)

4 Bolt (Lockplatemounting)

IThis shows the key No. of the relevant part.

4. Lubricant, fluidand sealanttable

Onlytherelevantlubricant,fluidandsealantare shown.

A'i Lubricant, fluid and sealant

Standard value

0.01to0.16

835N {85kg!}

2.9or less

Tighteningtorque

39 to59 (4to6)

5.9 to7.8 {0.6 to0.8)

Unit: N·m {kgl·m}

RemarksWet I

This shows that the item is to be tightened wet.

This shows the application point.

Location Points ofapplication ,,

1 Threadareaofbolt

10,16 Frictionsurfacesofreleaseleverplateandrelease lever

IThis shows the key No. of the relevant part.

Kinds

LOCTITE272

Molybdenum disulfidegrease [NLGI No. 2(Lisoap)] I

This shows the specified brand.

Quantity

As required

Asrequired

Unit: mm Limit Remedy 0.3 Replace 710 N Replace {72.3kg!} 5.0 Replace
V

HOW TO READ THIS MANUAL

5. Specialtools table

Only the relevant special toolsareshown.

� Special tools Location Tool name and shape

11 Clutchinstaller

01277

Purpose cif specialtoolsisshown.

Part No. Application

16 Masterplate

This shows the key No. of therelevantpart.

6. Service procedure

Thisindicatesaspecial servicetool.

MH062291 Adjustreleaseleverheights

Unit:mm

MH061051 Removaland installationofclutch cover

Quotethisnumberwhenplacing anorderforthe part.

Thisshowsthe key No. of the relevantpart.

[!!]

Removal and installation ofclutchcover

• Depress pressure spring 7 using � clutch installer, then removethe followingparts:

Strap bolt 1, washer 2, washer 3, bolt 4, lockplate 5, supportnut 6

• Loosentheclutchinstallergradually,thenremoveclutchcover11when the pressurespringisfully released.

• For installation, followtheremovalsequence in reverse.

IThe key No. referredtointhetextis always the same as the key No. shown in theillustration.

Servicing procedures of disassembly (removal), assembly (installation), inspection, adjustment, etc. areshown collectively.

VI
'f-4 2 I('.. � �6
11 01281
3�

Terms and Units

Theterms and units inthis manualare definedas follows.

• Thisservicemanualcontainsimportantcautionaryinstructionsandsupplementaryinformation underthefollowing four headings which identify the nature oftheinstructionsand information:

DANGER_& WARNING_& CAUTION_& NOTE

• Front and rear

Precautionsthat should be taken inhandling potentially dangerous substances such as battery fluidandcoolant additives.

Precautionary instructions, which, ifnot observed, could result in serious injury or death.

Precautionaryinstructions, which,ifnotobserved, couldresultindamagetoordestruction of equipment or parts.

Suggestionsorsupplementaryinformationformoreefficientuseofequipmentorabetter understanding.

The terms "front" isthe fan side and "rear" the flywheels side of the engine.

• Left and right

The terms "right" and "left" shallbe used toindicatethe side as viewedfrom the flywheel side of the engine.

• Terms of service standards

(1) Standardvalue

Standard value dimensions in designs indicating: the design dimensions of individual parts, the standard clearance betweentwo parts whenassembled, andthe standard valuefor an assembly part, asthe case may be.

The figure in [ ] isthe basicdiameter.

(2) Limit

Whenthe value of a part exceeds this, it is nolonger serviceable in respect of performance and strength and must be replacedorrepaired.

• Tightening torque

Excessive or insufficient tightening torque has particular importance in respect of performance. Accordingly, tightening torqueisspecifiedinlocationsthat are tobetightened.

Wherethere is no specified figure for tightening torque, followthe table covering standard tightening torques.

Whentheitemistobetightened ina wet state, wetisindicated. Wherethereis noindication, read itasdry, and tighten at specified torque.

e Unit

Length, weight, surfaceareaandcapacityareinSIunits. Imperialand metricunitsaregiveninbrackets. Temperaturesare given in degrees Celsius withdegrees Fahrenheit given brackets.

For the conversioninto the foot-pound system, refer to the followingconversion table.

Vil

HOW TO READ THIS MANUAL

Unit

Sign of SI unit

Mass quantity of matter kg lb

Sign of foot-pound unit

Conversion rate

1 kg = 2.2046 lb g oz

1 g= 0.035274 oz

Dimension m ft.

1 m = 3.2808 ft. mm in.

Capacity L gal.

cm3 oz

cm3 cu.in.

1 mm= 0.03937 in.

1 L = 0.2642 gal. (U.S.)

1 L = 0.220 gal. (Imp.)

1 cm3 = 0.033814 oz (U.S.)

1 cm3= 0.035195 oz (Imp.)

1 cm3 = 0.061023 cu.in.

Force N {Newton) lbf

Pressure kPa (kilopascal) lbf/in.2

Stress N/cm2 lbf/in.2

Moment offorce N·m !bf.ft

Output kW (kilowatt) HP

Temperature oc OF

1 N = 0.2248 lbf

1 kPa= 0.145 lbf/in.2

1 kPa= 0.2953 in. Hg

1 N/cm2 = 1.45 lbf/in.2

1 N ·m = 0.7375 !bf.ft

1 kW= 1.34 HP

t°C= (1.8t°C + 32}°F

viii

GROUP 00 GENERAL

GENERAL SPECIFICATIONS . . . . . . . . . . . . . . . . . . . . . . . . . . . . . . . . . . 2 ENGINE NUMBER AND NAME PLATE . . . . . . . . . . . . . . . . . . . . . . . . . . 3 PRECAUTIONS FOR MAINTENANCE OPERATION . . . . . . . . . . . . . . 4 TABLE OF STANDARD TIGHTENING TORQUES . . . . . . . • . . . . . . . . 12 00 I 00-1

Mitsubishi 6D16TLEATadano Crane

MITSUBISHI 6D16TLEA ENGINE SPECIFICATIONS

Item

Engine model I I6D16TLEA

Type

6-cylinder in-line, water-cooled 4-cycle diesel

Combustion chamber type Direct injection type

mechanism Overhead valve (OHV) type

• Empty mass as measured according to Mitsubishi Motors Corporation standard.

Specifications
Bore x Stroke mm 118x115 Total displacement cc 7545 Compression ratio II 17.5 Empty mass kg* I I 580
Valve
00-2

ENGINE NUMBER AND NAME PLATE 00

The serialnumber for engine is assignedto the respective engine in manufacturingsequence: every engine has its own number. This number is required for incidental inspection of the engine. Please do not fail to mention this number to the dealers when orderingspareparts.

Engine Number

Name Plate

1

Engine number 1 is punch-markedon the left of the crankcase.

Example:6016-DDDDDD

1 CEngine

Engine number model

Nameplate 18779

J... I I I 2 TOTAL CYL VOL 6557cc(4OOcu in)-V OUT PUT [��-JD tc=J rpm - 3

MITSUBISHI MOTORS CORPORATION TOKYO JAPAN VALVE CLEARANCE (COLD) I ���7�/oi��:usT o 41"'����1 6G_���Jj- 4

FUEL INJECTION TIMINGrl0 BTDC j'5

6 18780

Thenameplateisattachedtotheportionshowninthe illustration, andindicate the following items.

1 Engine model

2 Totaldisplacement

3 Maximumoutput

4 Valveclearance

5 Firingorder

6 Fuel injection timing

00-3

PRECAUTIONS FOR MAINTENANCE OPERATION

In order to determine the condition of the vehicle adequately, attend the vehicle beforehand to find and keep record of the accumulated mileage, operating condition, what the customer's demand is, and other information that may be necessary. Prepare the steps to be taken and perform efficient and wasteless maintenance procedure.

X0Determine where the fault exists and check for the cause to see whether removal or disassembly of the part is necessary. Then follow the procedure specified by this manual.

Perform maintenance work at a level area. Prepare the following.

• Prepare general and special tools necessary for the maintenance work.

WARNING&-------------

Do not attempt to use tools other than special tools where use of special tools is specified in this manual. This will avoid injury or damage.

Pay special attention to safety when removing or installing hea1/y items such as engines, transmissions.

When lifting up heavy items using cables, pay special attention to thefollowing points:

• Checkthemassoftheitemtobeliftedanduseacablecapableoflifting that mass.

• If you do not have the specified lifting hanger, secure the item using cable taking the point-of-balance of the item into consideration.

• You must work in a position where you will not be injured ev,en if the cable comes undone and the lifted item falls.

18770
14194 14195 00-4

Be particularly careful not to work in shoes that have oily soles and are slippery. When working as a team of two or more, arrange signals in advance and keep confirming safety. Be careful not to accidentally bump switches or levers.

Check for oil leakage before cleaning the area having the fault otherwise you might miss detecting the leakage. Prepare replacement part(s) beforehand.

Replace oil seals, packing, 0-rings and other rubber parts; gaskets and split pins with new parts whenever any of them has been removed. Use only genuine MITSUBISHI replacement parts.

On disassembly, visually inspect all partsfor wear andtear, cracks, damage, deformation, degradation, rust, corrosion, smoothness in rotation, fatigue, clogging and any other possible defect.

00012 00014 ' / / ......... � � ......... ;.. / 1m�ij���m� --CfOlJIB® --/ '
[)C)��0 _di I 0 � " \ . ,r /
00
00015
00016
00-5

PRECAUTIONS FOR MAINTENANCE OPERATION

Put alignment marks on part combinations before disassembly and arrangethedisassembledpartsneatly.Thiswillhelpavoidmismatingofthe parts later.

Putthealignmentmarks, punchmarks, etc. where performance andappearancewill not be affected.

Cover the area left open after removal of parts tokeep it free from dust.

CAUTION.&_--------------

• Take care to avoid mixing up numerous parts, similar parts, left and right, etc.

• Keepnewpartsforreplacement andoriginal(removed)partsseparate.

Applythespecified oil orgreaseto U-packings, oilseals, dust seals and bearingsduringassembly.

Use only the specified oil, grease, etc. for lubricant, remove the excess immediately after application with a piece ofwaste, etc.

CAUTION.&_--------------

When the specified lubricant, fluid and sealant is not available, you may use an equivalent.

00018

Weargoggleswhenusingagrinderorwelder. Payfullattentiontosafety bywearinggloveswhen necessary. Watchoutforsharpedges, etc. that mightinjure yourhands or fingers.

00019

Beforecarryingoutmaintenanceworkontheelectricsystem,disconnect thenegativeterminalsofthebatteriestopreventthemfromshort-circuiting andburning-out.

CAUTION.&_-

Be sure to turn starter and lighting switches, etc. off before disconnecting or connecting battery terminals, because the semiconductors can be damaged.

00-6

Take care when handlingsensors, relays, etc. which are vulnerable to shockandheat. Donotattemptto removethecoverfrom, orapplypaint to, the electroniccontrol unit.

Pulltheconnector, andnotthe harnesslead, toseparateconnectors. To separate a lock-typeconnector, first pushtowardarrow mark. To reconnect a lock-type connector, pressthe separated parts until they click together.

When washing the vehicle, cover the electric system parts and instrumentswithwaterproofmaterialbeforehand (Coverwithvinylsheet orthe like). Keepwaterawayfromharnesswireconnectorsandsensors. Ifany of them should getwet, wipe them off immediately.

Whenusinganelectricwelder, suchelectronicpartsthataredirectly connectedtothebatteriesmightbedamageddue totheflowofcurrent from thewelderthatflowsthroughthenegativecircuit. Partsthathaveswitches might be subject to the samedangerif the switches are left on. Therefore, do not fail toobservethefollowing.

• Connectthenegativeterminalofthewelderasnearaspossibletothe area that isto be welded.

• Disconnectthe negative terminals ofbatteries.

To apply voltage fortesting, check thatthe positive and negative cables are connected properly, then increase voltage gradually from O volt. Do notapplyvoltagehigherthanthespecifiedvalue.

Inparticular,paycloseattentiontotheelectroniccontrolunitandsensors, since they are not always fedthe battery voltage.

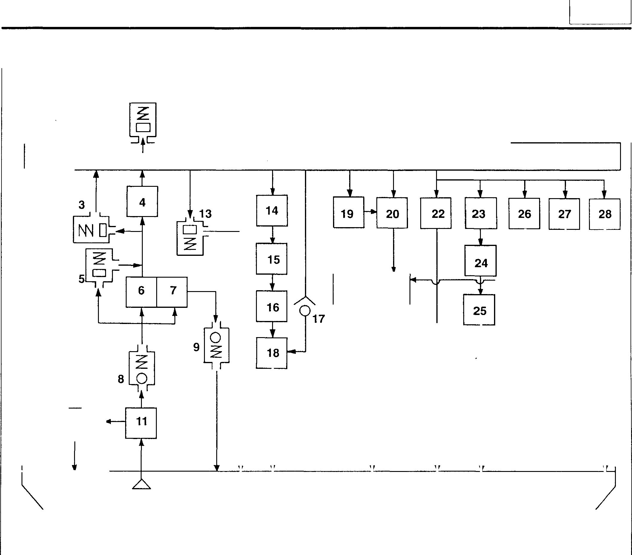
00023 14185 00
00-7

PRECAUTIONS FOR MAINTENANCE OPERATION

00027

Measurement Procedures Using Connectors

02587

02588

When using testers or the like for continuity tests, be careful not to allow test probes to touch the wrong terminals.

Testwithconnectorsengaged(continuitythroughcircuitobtained)

<Waterproof connector>

PrepareatestharnessandconnectorsA, thenconnectifbetweenthetwo parts of harness B that is to be tested. Check the circuit by touching test probe C to the test connector.

Never insert the test probe from the harness side of the waterproof connection, or waterproof performance might be diminished causing corrosion of the connector.

<Non-waterproof connector>

Insert test probe C from the harness sideof the connector. Wherecontrol units, etc. haveconnectors that are too small to accept the testprobe, do not force the test probe into them.

Test with connectors disengaged

Using female pins

Insert a test probe into a terminal. However, do not force the probe into the terminal, or it will cause a poor contact.

C
00-8

Usingmale pins

Touchthe pinsdirectly usingtest probes.

CAUTION_&--------------

Be surethatyoudo not shortcircuit theconnectorpins whenyou use the test probe because this could damage the internal circuit of the electronic control unit.

02590

Connector Inspection Procedures

02591

Visual inspection

Checkfor looseconnectionand poor engagement.

02593

Check if harnesses are broken by pullinggently around the terminals.

Checkfor adecreaseincontact pressure betweenthe male and female terminals.

Checkforpoorcontactcausedbyconnectorpinshavingfallenout, rusted terminals or foreign particles.

00
00-9

PRECAUTIONS FOR MAINTENANCE OPERATION

Connector pin fall out inspection

02594

Damagedconnectorpinstopperscancausepoorengagementoftheterminals(maleandfemalepins)eveniftheconnectorbodyissecured,and mightcause somepins tofall out. Check if the pinshave fallenout from the connector by pullingeachharness gently.

Inspection Procedures for Blown Fuses

A02596

Remove fuse B andmeasure resistance betweenthe loaded sideofthe fuse andground.

Turnonallcircuitswitches(connectedtothefuse). Iftheresistancevalue readingisapproximately 0, ashorthasoccurredbetweentheswitchand theloadedpoint.Avalueofotherthanzeromay indicatethatthefusewas blown by a temporary short but the short is no longer present.

The majorcauses of ashort circuit are as follows:

• Harnessstuckonto thevehicle body.

• Harness sheath damaged by friction or heat.

• Water inconnectors or circuits.

• Mistakes (accidental short circuits)

A: Battery

8: Fuse

C: Loaded switch

D: Load

E: Short circuit

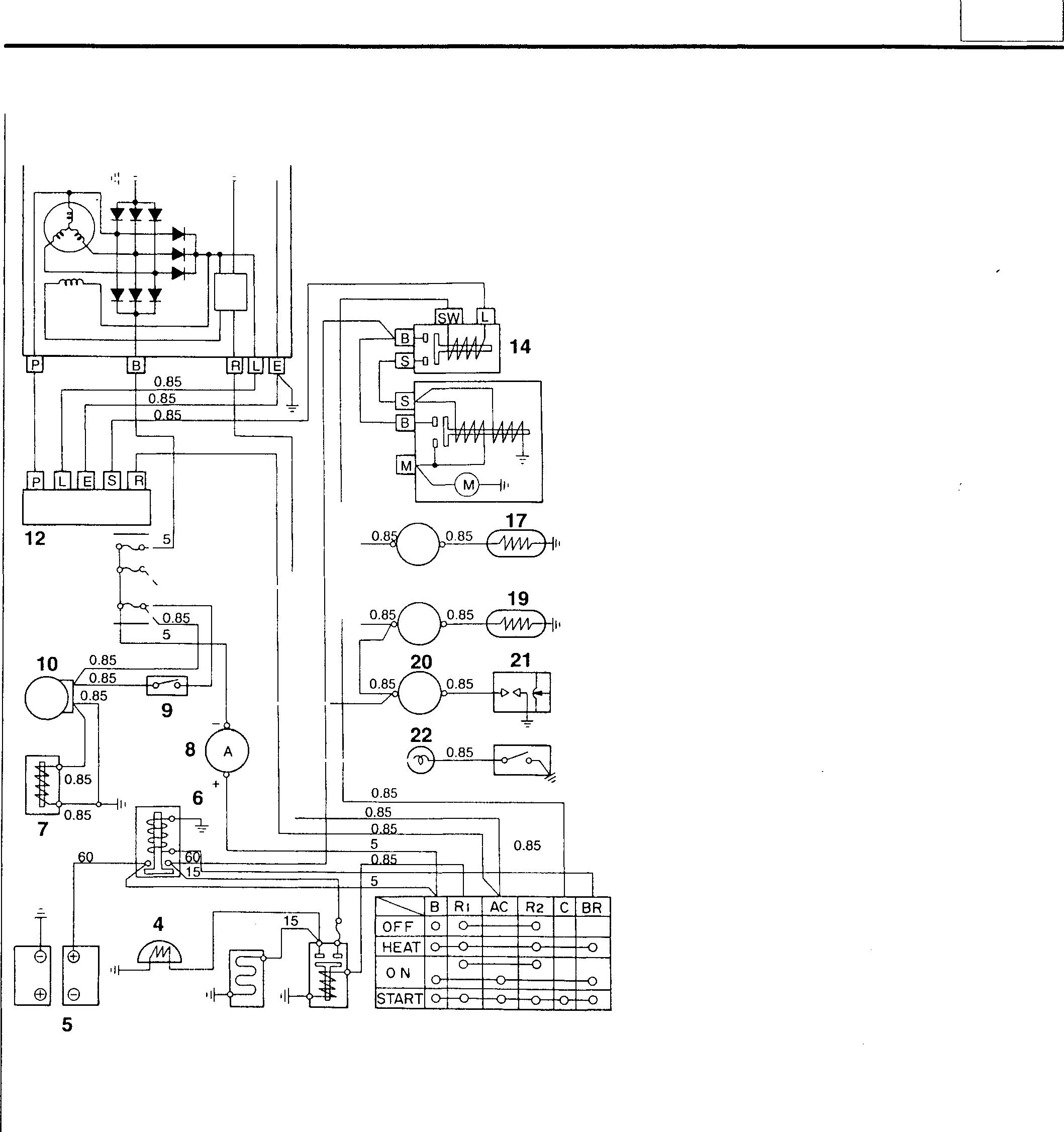
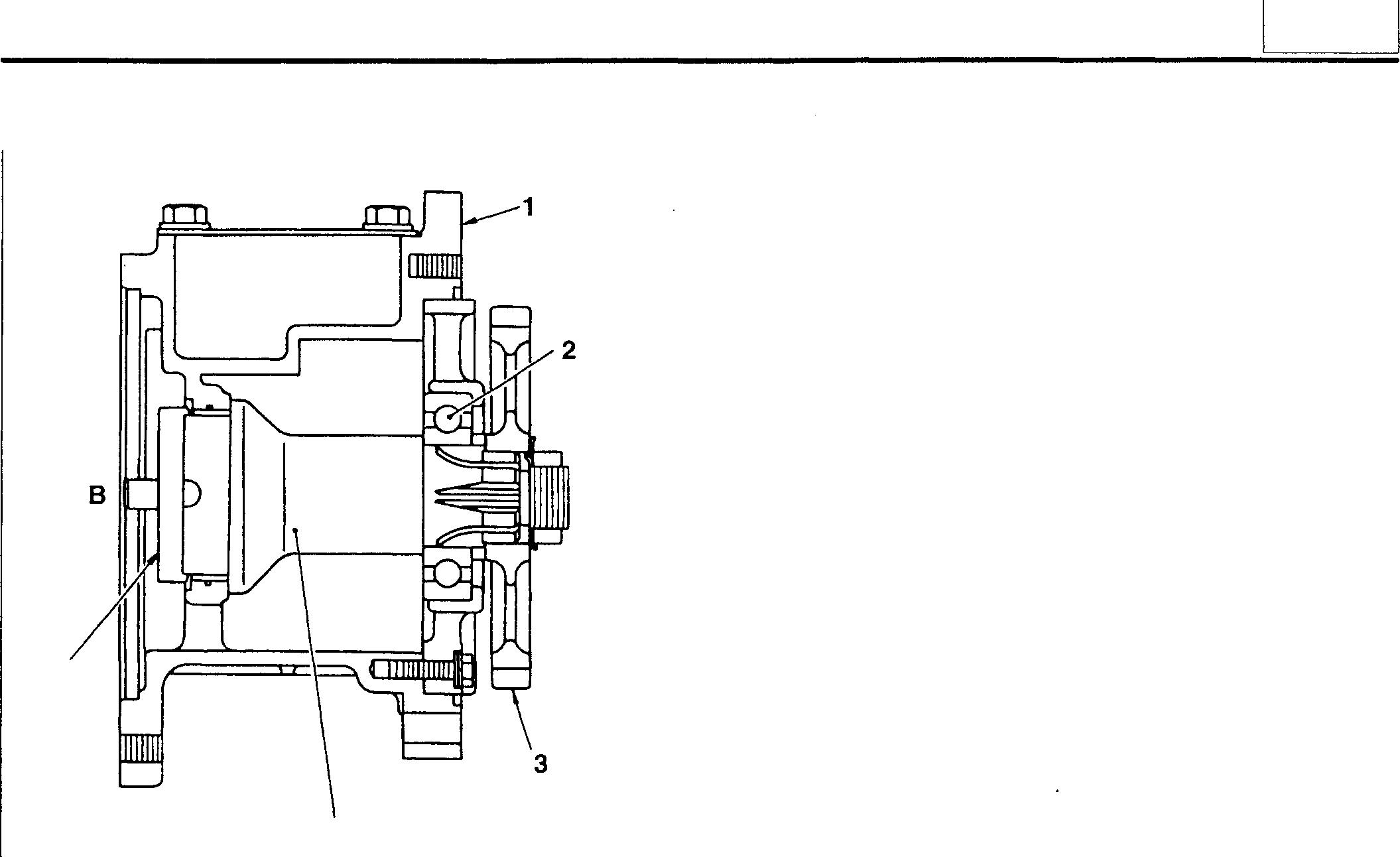
Precautions for Handling Alternator

When servicing the alternator, pay attentiontothe following:

• Do not connectthe alternator with battery polarities reversed. If the alternator is connected with reversed polarities, a large current flowfromthebatterytothealternatoroccurs,andthediodeorregulator might be damaged.

04746

B C E r ---, I----, I L --7 -=- : D L J
/
00-10

• Whilethe engineis running, do notremovethe battery terminals. If the battery terminals are removed at that time, a surge voltage is generated and the diode or regulator might be weakened.

• Do not use a high-voltage tester such as a megger for inspection. If a high-voltage tester is used, the diode or regulatormight be destroyed.

• Do not splash water over the alternator.

If wateris directly splashed over the alternator, individual components will be short-circuited and might be destroyed.

• Donotshort-circuitterminal Bandterminal Lwhilerunningthealternator.

If the terminals are short-circuited while the alternator is running, the diode trio might be destroyed.

• Disconnect the battery terminals before quick-charging the battery. Quick-charging without disconnecting the battery terminals might damage the diode or regulator.

00
02371 05165 04749
00-11

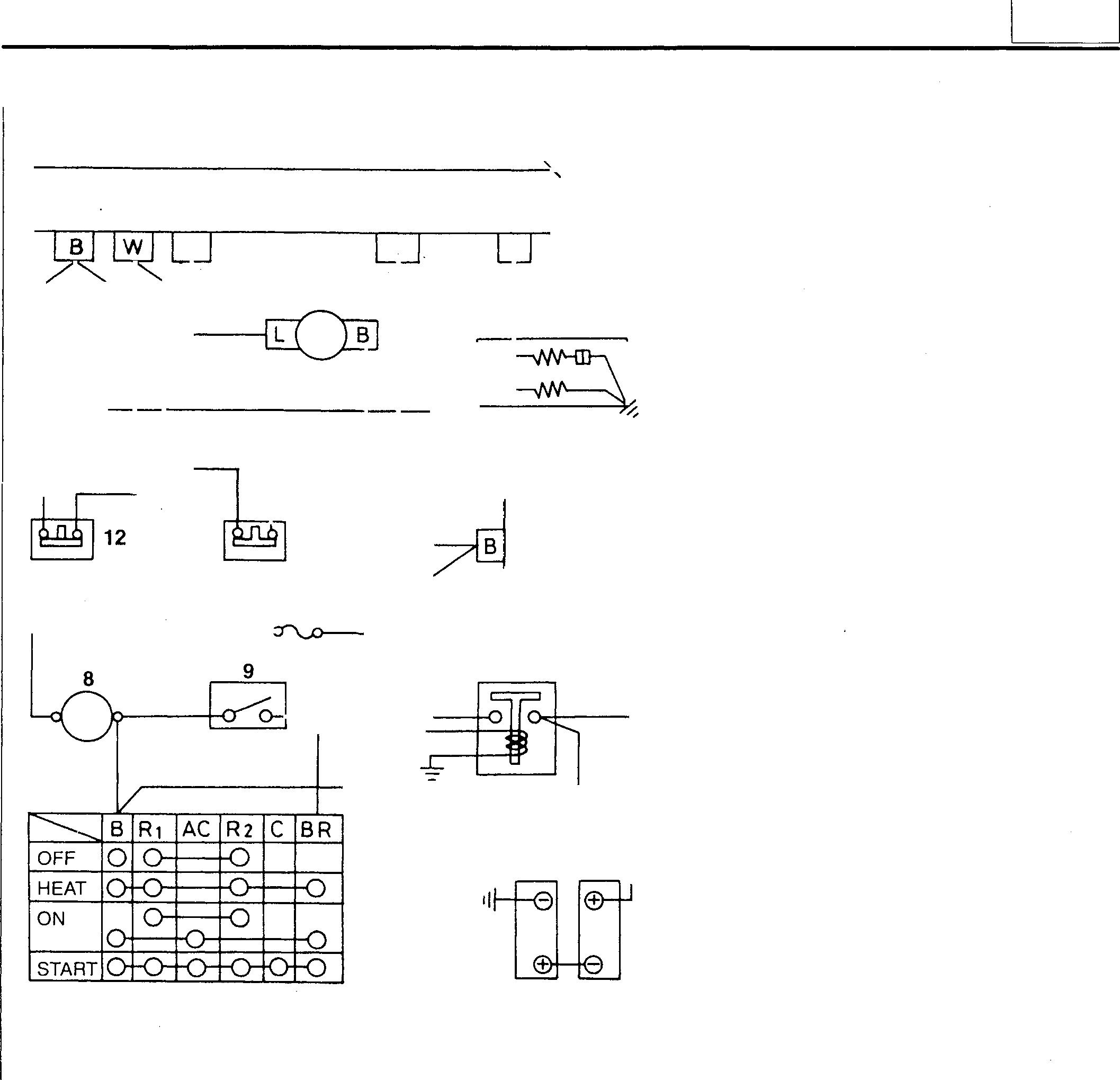
TABLE OF STANDARDTIGHTENING TORQUES

• Use specifiedboltsandnutsandtightenthem atspecifiedtorquesaccordingtothe followingtable, unless otherwise specified.

• Threads and contact seats shall be dry.

• Where there is a difference in strength classification between the nut and bolt (or stud bolt), the torque specified for the bolt shall apply.

Hex-head Bolt and Stud Bolt

Unit: N ·m {kgf·m} Strength 4T 7T ST classification !�©0 0 ©0 0 ® @ 0 r n I (Stud) (Stud) (Stud) 02154 MS 2to3 4to6 5to7{0.5to0.7}{0.2to0.3} {0.4to0.6} M6 4to6 7to11 8to12 {0.4to0.6}{0.7to1.1}{0.8to1.2}MS 9to14 17to26 20to29 - -(0.9to1.4} (1.7to2.6} (2.0to3.0} M10 19to28 18to26 36to52 33to49 45to60 41to59 (1.9to2.8} {1.8to2.7} (3.5to5.5} (3.5to5.0} (4.5to6.0} (4.3to6.9} M12 35to50 31to46 70to95 65to85 85to110 75to100 (3.4to5.0} (3.1to4.7} (7.0to9.5} (6.5to8.5} {8.5to11} (7.5to10} M14 60to85 55to75 120to160 11oto140 130to180 120to160 (6.0to8.5} (5.5to7.5} {12to16} (11to14} (13to18} {12to17} M16 90to130 90to120 180to240 160to220 200to270 190to260 {9.5to13} (9.0to12} (18to24} (16to22} (20to27} (19to26} M1S 140to190 120to160 260to340 220to290 290to390 260to340 {14to19} (12to16} (25to35} (22to30} (30to40} { 26to35} M20 190to260 170to230 350to470 320to420 410to550 370to490 {19to26} {17to23} (36to48} {32to43} (41to56} (37 to50} M22 260to340 230to300 470to640 430to570 550to740 490to 670 {26to35} {23to31} {48to65} (43to58} (56to75} {50to68} M24 340to450 290to390 630to840 540to730 730to980 630to 840 (34to46} {29to40} {63to86} (55to74} (74to100} (64to 86}
Unit: N · m {kgf·m} Strength 4T 7T ST classification � (0) � 0 0 � 0 r n y 02154 M6 4to6 8to12 9to14 (0.4to0.6}{0.8to1.2}(0.9to1.4}MS 10to15 19to28 22to32 -{2.2to3.3} (1.0to1.5} (1.9to2.8} M10 21to30 20to28 39to58 37to53 50to65 45 to 65 (2.1to3.1} {1.9to2.9} (3.9to6.0} (3.6to5.4} (5.0to6.5} (4.5 to 6.5} M12 38to54 35to51 80to110 70to95 90to120 85to110 (3.8to5.5} (3.4to5.2} {8.0to11} (7.0to9.5} (9.0to12} (8.5to11} 00-12
Hex-head Flange Bolt

Hex-head Nut

Hex-head

00
Unit: N · m { kgf· m} Strength 4T class ification
r I Sta ndardscrew Coarsescrew MS 2to3 {0.2to0.3) M6 4to6(0.4to0.6) M8 9to14 0.9to1.4) M10 19to28 18to26 (1.9to2.8) (1.8to2.7) M12 35to50 31to46 {3.4to5.0) {3.1to4.7) M14 60to85 55to75 (6.0to8.5) {5.5to7.5) M16 90to130 90to120 (9.5to13) (9.0to12) M18 140to190 120to160 {14to19} (12to16) M20 190to260 170to230 (19to26) {17to23) M22 260to340 230to300 {26to35) {23to31} M24 340to450 290to390 {34to46) {29to40)
� @
Strength 4T class ification Repre-
sentation Diameter 02155 symbol Sta ndardscrew Coarsescrew M6 4to6 {0.4to0.6)M8 10to15 (1.0to1.5)M10 21to30 20to28 (2.1to3.1) {1.9to2.9) M12 38to54 35to51 (3.8to5.5) {3.4to5.2) 6T © @ (DJ CED 02155 Sta ndardscrew Coarsescrew 4to6 (0.4to0.6) 7to11{0.7to1.1} 17to26 (1.7to2.6) 36to52 33to49 {3.5to5.5) (3.5to5.0) 70to95 65to85 (7.0to9.5) (6.5to8.5) 120to160 110to140 {12to16} (11to14) 180to240 160to220 (18to24) (16to22) 260to340 220to290 (25to35) {22to30) 350to470 320to420 {36to48) {32to43) 470to640 430to570 (48to65) {43to58) 630to840 540to730 (63to86) {55to74) 00-13
Flange Nut Unit: N ·m {kgf·m}
(@)

TABLE OF STANDARDTIGHTENING TORQUES

Tightening torque forflarenutfor generalpurpose Unit: N ·m {kgf· m}

Pipediameter <j>4.76mm <j>6.35mm <j>8mm <j>10mm <j>12mm cp15mm

Tightening torque 17{1.7} 25{2.6} 39{4.0} 59(6.0}

Tighteningtorquefor airpipingnylontubeforgeneral purpose {DIN type}

Standarddiameter 6x1mm 10x1.25mm 12x1.5mm

Tighteningtorque 20+5.9 { 2.0�g-6}

{ 3.0��-0} 49+9.8 { 5.0��-0} -0 -0 -0

88(9.0} 98{10.0} Unit: N · m {kgf· m}

1.5mm

{ 5.5��-0l -0

Tighteningtorquefor air pipingnylontubeforgeneralpurpose {SAE type}

Standarddiameter 1/4in. 3/8in. 1/2 in.

Tightening torque

N · m {kgf· m}

in.

{ 1.3�g.4}

{ 3.o �g-5}

{ 5.o �g-5} -0 -0 -0

{ 6.5�g-5} -0

29+9.8
13+3.9
29+4.9
00-14
54+4.9
Unit:
5/8
64+4.9
49+4.9
15x
SPECIFICATIONS ............................................ 2 STRUCTURE AND OPERATION ............................... 3 TROUBLESHOOTING......................................... 7 ON-VEHICLEINSPECTION AND ADJUSTMENT 11 • Measuring Compression Pressure ..................• • ••• • • • • •• •• •• • • 8 I • Inspecting and Adjusting Valve Clearances ........................... 1O CYLINDER HEAD AND VALVE MECHANISM .................... 12 PISTONS, CONNECTINGRODS, AND CYLINDER LINERS ....... 28 FLYWHEEL PTO ............................................. 44 FLYWHEEL .................................................. 48 TIMING GEARS .............................................. 54 CAMSHAFT.................................................. 64 CRANKSHAFT AND CRANKCASE ............................. 72 11-1
GROUP 11 ENGINE

Mitsubishi 6D16TLEATadano Crane

MITSUBISHI 6D16-TLEAENGINESPECIFICATIONS

Item

Specifications

Engine model I6D16TLEA

Type

6-cylinder, in-line, water-cooled, 4-cycle diesel

Combustion chamber type Direct injection

Valve mechanism Overhead valve

Cylinder borexstroke mm

Mitsubishi 6D16TLEA engine parts contact:

email: engineparts2@gmail.com

Phone: 269 673 1638

Text: 269 760 8652

<j>118x115 Total displacement cc I 6919 7545 Compression ratio I I 17.5 11-2

Mitsubishi 6D16TLEATadano Crane

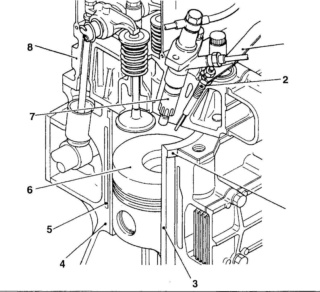
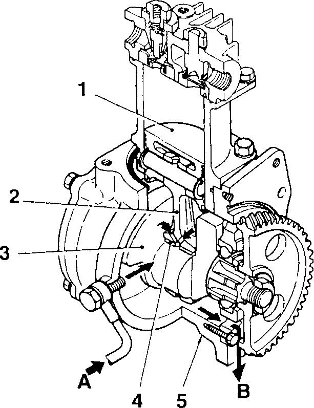
STRUCTURE AND OPERATION

1 Connecting plate

2 Glow plug

3 Cylinder liner

4 Crankcase

5 Waterjacket

6 Piston

7 Injectionnozzle

8 Cylinderhead

11
11-3

Mitsubishi 6D16TLEA Tadano Crane

STRUCTURE AND OPERATION

Valve Mechanism

10

2 16

1 Exhaust valve

2 Inlet valve

3 Camshaft

4 Tappet

Push rod

Rocker shaft

Rocker shaft spring

Rocker

Rocker shaft bracket

Valve cap

Valve cotter

Upper retainer

Outervalve spring

Inner valve spring

Valve stem seal

Valve guide

• The valve stem seals 15 are fitted onto the valves1,2to control the amount oflubricant flowing onto the sliding surfaces of the 01926 valves 1, 2 and valve guides 16.

• The valve springs 13, 14 are unevenly pitched to prevent abnormal vibration at high speeds. To prevent the inner and outer springs from meshing with each other, the springs are wound in opposite directions.

• Tofacilitate removalandreinstallationofthe camshaft from the rear end of the crankcase, thediameterofeach bushingissmaller toward the front of the engine.

Connecting Rods

1 Connecting rod bushing

2 Connectingrod

3 Connecting rod bearing

4 Connecting rod cap

5 Connectingrod bolt

A: Alignment mark

4 3 /
1,
7
8
9
10
11
12
13
14
15
16
5
6
'------
11-4 1 3 2 A 4 13622

Mitsubishi 6D16TLEA Tadano Crane

Timing Gears

<Without flywheel PTO> 16937

<With flywheel PTO>

A: Stamped number

B:"T"mark

C: Size mark

D: Weight mark

b.: Front mark

1 Camshaft gear

2 No. 2 idler gear

3 No. 1 idler gear

4 Oil pump gear

5 Crankshaft gear

6 Air compressor drive gear or injection pump drive gear

7 No. 1 idler gear

8 PTO idler gear

<models with flywheel PTO>

9 PTO idler gear

<models with flywheel PTO>

Each gear is stamped with a timing gear alignmentmark ("1", "2", "3", or"4") tofacilitatereassembly.

Pistons C "/::;."
5--·
11
16938
11-5

Mitsubishi 6D16TLEA Tadano Crane

STRUCTURE AND OPERATION

Flywheel

Flywheel PTO

1 Flywheel 2 Pilot bearing

3 Ring gear

A: Angle scale, cylinder number

1 Flange

2 PTO shaft

3 PTO idler shaft

4 Flywheel housing

5 Crankshaft gear

6 No. 1 idler gear

7 PTO idler gear

8 PTO idler gear

9 PTO gear

Theflywheel PTOisfittedontothetopoftheflywheel housing4andisdriven bythecrankshaft gear 5.

I IHIU!111U111IHIII 'I \ 32 A I h1ntw11mrhwl 111 01934
01935 11-6

Mitsubishi 6D16TLEA Tadano Crane

TROUBLESHOOTING

Possiblecauses

Incorrect oil viscosity

lncorrecl/defective fuel

Incorrect valve clearance

Defective cylinder head gasket

Worn valve/valve seat, and carbon deposits

Weakenedvalve spring

Worn/damagedpiston ring(s)

Worn/damagedpiston ringgroove(s)

Incorrectinjectiontiming

Defective injection pump

Defectivecoolingsystem

Defectiveinjectionnozzle(s)

Air trappedin fuelsystem

Cloggedaircleaner

Clogged muffler

Defective turbocharger

Incorrectlyfitted pipe(s)/hose(s)

Symptoms

Injection pump, alternator, orotherauxiliarydevice(s)defective/incorrectlyfitted

Loose/damaged V-belt

Incorrectly fitted crankshaft pulley

Defective air cleaner or muffler

Defective valve spring(s)

Defectiverockershaftand bracket

Incorrect lubricationof rocker shaft bracket

backlash in timing gears

lubricationoftiming gear peripheries and idler shafts

Worn connecting rod small end bushing and piston pin

Worn/damagedcrankshaft pin andconnectingrod bigend bearing

Worn/damaged crankshaftjournal and main bearing

Excessive end play in crankshaft and camshaft

Worn tappet(s) and camshaft

Incorrect
Incorrect
(I) o C :5 C :5 "6> 0 (I) cij ::: 0 E C. 0 ::: C 0 ....J <l'. 0 0 0 0 0 0 0 0 0 0 0 0 0 0 0 0 0 0 0 0 0 0 0 0 0 0 0 0 0 0 0 0 0 0 0 0 0 0 0 0 0 Gr 12 ,JlGr13 [CGr13 [CGr13 ,Gr14 IDGr13 CJ:Gr13 Gr15 !J�Gr15 lTGr15 :J:Gr13 Remarks Gr13, 54 !l'Gr14 J:Gr15 11 ll-7

ON-VEHICLE INSPECTION AND ADJUSTMENT

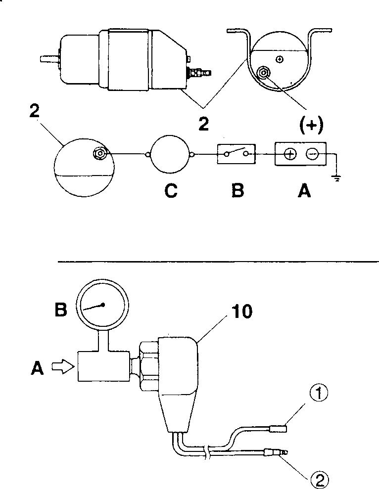
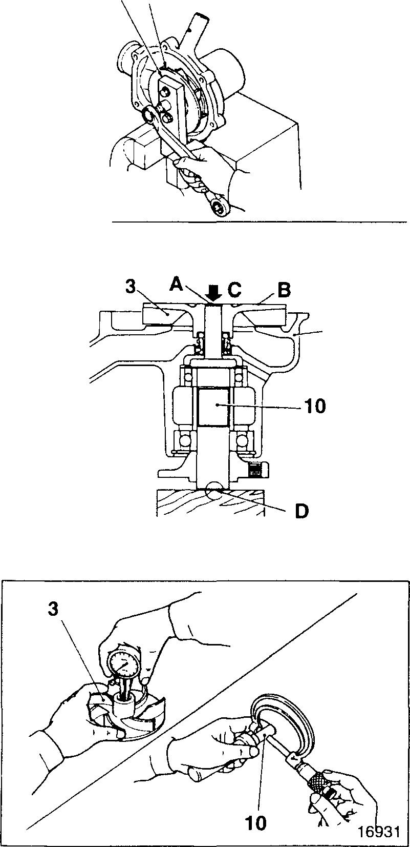
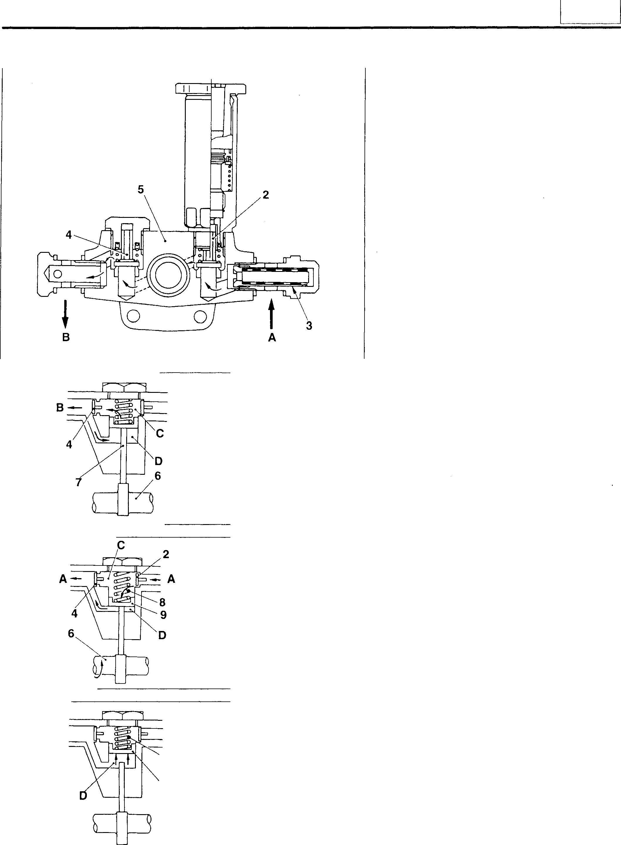
Measuring Compression Pressure

Service standards

Location Maintenanceitem

- Compression I Each cylinder(at200rpm) pressure I Cylinder-to-cylinderpressuredifference

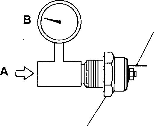
� Specialtools

Location

Compression

Tool nameand shape

Standard value Limit

2550kPa {26 kgf/cm2} 1960kPa {20 kgf/cm2} - 390kPa {4 kgf/cm2}

Part No. Application

Remedy Inspect Inspect

Unit: mm

16Wx1�

<!>9

MH061461

Measuringcompressionpressure GaugeAdapter

Centredistance46 01942

Reductions in compressionpressureshouldbe used asaguidein determiningthetimingof engineoverhauls. Takemeasurements regularlyand keep track ofchanges; an overview of pressure variations can beuseful in faultdiagnosis. During the engine's run-in period and after parts have been replaced, the compression pressure will increase slightly as piston rings, valve seats, and other parts fitsnugly in position. The pressure will then normalizeas parts wear.

• Before inspections, checkthat theengineoil, starter, and batteryare normal.

• Warm up theengineuntilthecoolanttemperature reaches75 to 85°C.

• Turn off all lights and auxiliary devices.

01938

• Removetheinjection nozzleA. [DGr13 CAUTIONL'.t,-------------

Coverthe mounting holesandinjectionpipestopreventtheentry of dust and dirt.

ll-8

01939

• Cover the injection nozzle mounting hole B with a cloth C. Then, turn the engine over with the starter and check that no foreign matter adheres to the cloth.

WARNING_&-------------

If any cylinder is cracked, coolant, engine oil, and fuel will enter the cylinder through the crack. When the engine is turned over, these substances will spray out of the nozzle mounting hole B at ahightemperature. Forsafety, moveawayfromthenozzlemounting hole before turning over the engine.

• Fitthe�CompressionGaugeAdapterontoaninjectionnozzlemounting hole B together witha nozzle gasket. Then, connect the compression gauge 1.

• Turn the engine over and measure the compression pressure.

• Measure the compression pressure in every cylinder and determine the pressure differences between cylinders.

• If any compression pressure or cylinder-to-cylinder pressure differenceexceedsthespecifiedlimit, pouralittleengineoilinto thecylinder via the injection nozzle mounting hole B then take the measurement again.

• If the compressionpressure increases, there may be wear or damage on piston rings and inner surfaces of cylinders.

• If the compression pressure does not increase, valves may be seizedorincorrectlyseated, orthecylinder headgasketmay bedefective.

B �11735
11
11-9

Mitsubishi 6D16TLEA Tadano Crane

ON-VEHICLE INSPECTION AND ADJUSTMENT

Inspecting and Adjusting ValveClearances

Service standards Unit: mm

Location Maintenance item Standard value Limit Remedy - Valve clearance (whencold) 0.4 - Adjust

0 Tightening torques Unit: N·m {kgf·m}

Location Parts to be tightened

torque Remarks 2,6 Rockerarm adjusting screw locknut 34 (3.5} -

Valve clearances should be checked and adjusted when the engine is cold.

<Without flywheel PTO>

[Inspection]

• BringpistonNo. 1 orpistonNo.6tothetop-dead-centre(TDC)position of its compression stroke. To do this, crank the engine until the "1.6" mark inscribed on the flywheel is aligned with the pointer A in the flywheel housing inspection window. (If the engine has a flywheel PTO, alignthepointerAwiththe"O''markinscribedonthetorsionaldamper.)

NOTE

Pistonswhosepushrodsare notpushinguptheir rockers areat top-dead-centre (TDC) of their compressionstrokes.

• WhenpistonNo. 1 orpistonNo.6isattheTDCpositionofitscompressionstroke,measuretheclearance8ofeveryvalvemarked"O"inthe followingtable.

PistonNo. 1 2 3 4 5 6

Valvearrangement In.Ex.In.Ex.In.Ex.In.Ex.In.Ex.In.Ex.

No.1pistonatTDCofcom- (J 0 0 X X 0 0 X X 0 X X pressionstroke

No.6pistonatTDCofcom- X X X 0 () X X 0 0 X 0 0 pressionstroke

NOTE

To measure the clearance, insert a feeler gauge 1. The gauge should be able to move in the gap, albeit not loosely. Accurate measurementscannotbetakenifthegaugemoveslooselyinthe gap.

Tightening
OZ:- OL-0 -----1L1J..JIIJ!ll1111I I 11-10

• If any measurementis out of specification, make adjustments as follows:

[Adjustment]

• Toadjustthevalveclearance B, loosenthelocknut2andturntheadjustingscrew3 until the feelergauge 1 movesmore stiffly in the gap.

• Afteradjusting the clearance, tighten the lock nut 2. At this time, use ascrewdriverCtostoptheadjustingscrew3fromturning. Next,insert thefeelergauge1 oncemoretoconfirmthattheclearanceB iscorrect.

Mitsubishi 6D16TLEA 6D16-TLEA

engine parts contact:

Email: EngineParts@HeavyEquipmentRestorationParts.com

Alternate email: engineparts2@gmail.com

Phone: 269 673 1638

Text: 269 760 8652

Fax: 269 673 7226

Heavy Equipment Restoration Parts 4730 118th Ave

Fennville Michigan 49408 USA

www.HeavyEquipmentRestorationParts.com

11621 11
ll-ll

Mitsubishi 6D16TLEA Tadano Crane

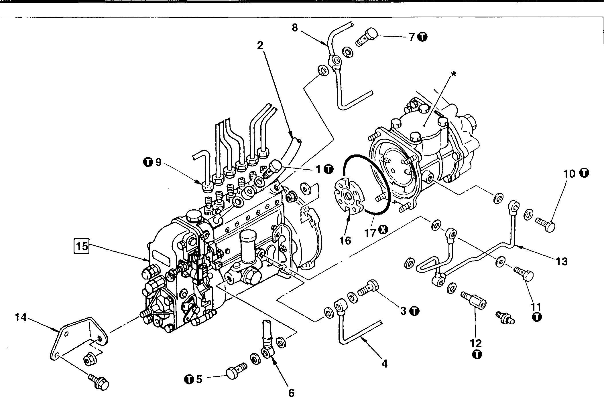
CYLINDER HEAD AND VALVEMECHANISM

• Disassembly sequence

1 Joint

2 Oil fillercap

3 Bolt

4 Plate

5 Rubber

6 Rocker covergasket

7 Rockercover

• Assembly sequence

A8 Cylinderheadbolt

9 Rocker and bracket assembly [D P.11-16

10 Cylinderheadandvalveassembly[D P.11-20

11 Cylinderhead gasket

Followthe disassembly sequence inreverse

12 Push rod

13 Tappet

*:Crankcase [D P.11-72

A: Locating pin

0:Non-reusablepart 04134

11-12

Mitsubishi 6D16TLEA Tadano Crane

- 0.4 Replace

Tappet-to-crankcase Replace clearance

0

Tightening torques

N·m {kgf·m} Location Parts to be tightened

torque Remarks

1 Joint 29 {3.0) -

3 Rockercoverbolt 3.9 {0.4) -

8 Cylinderhead bolt (installation of rock- M14 bolt 78 {8} + 180°

Wet er and bracket assemblyandcylinder

• Can be reused headandvalve assembly) upto 3times

M10bolt 17 {1.75) + 34 {3.5} -

� Oils

Location Pointsofapplication Kinds

2 Rubberseal of oil fillercap

8 Threads of cylinder head bolts

12 Both ends of pushrods

13 Outersurfacesoftappets

� Special tools

Engine oil Engine oil Engine oil Engine oil

Part No. Application

��t>'

01984

MH061560 Tighteningcylinderheadbolts (M14 bolt only)

♦ Service procedure

[!QI Cylinder head and valve assembly (Removal]

• Beforelooseningthecylinderheadbolts 8, loosentheadjustingscrew C on every rocker A that iscompressing its valve spring 8.

11 Service
Unit:
Standard
Remedy (Basic diameter
12
13,*
6D16-TLEA [31] 0.03to
0.1 tappet
standards
mm Location Maintenance item
value Limit
in [ ])
Pushrodrunout
0.07
Tightening
Unit:
Quantity
Location Tool
and shape
name
10 Socket Wrench ,_, �� ----13021
As
As required As required As
required
required
ll-13

Mitsubishi 6D16TLEA Tadano Crane

CYLINDER HEAD AND VALVEMECHANISM

• Loosen and remove the cylinder head bolts 8 in the sequence shown. Each cylinder head bolt should be loosened a little at a time.

[Fitting]

• The M14 cylinder head bolts 8 can be reused only three times. Before refitting the cylinder head bolts, make a punch mark on the head of each one to indicate times of reuse.

CAUTION&_--------------

lf any bolt alreadyhasthree punch marks, it mustnot be reused any more; replace itwithanew one.

• Tightenthecylinderheadbolts8 tothespecifiedtorque (M14 bolts: 78 N·m {8 kgf·m}; M10 bolts: 17 N·m {1.75 kgf·m}) in the sequence shown. Then, turn the bolts further in accordance with the following procedure.

*: Tighten together with rocker and bracket assembly

G) to®: M14 bolt (wet)

® to®: M10 bolt

<M14 Bolts>

• Beforefitting the I&] Socket Wrench over a cylinder head bolt, turn the holder D counter-clockwise to tension the built-in spring.

E: Socket

F: Rod

G: Rod (extension)

• Set the socket such that the built-in spring force forces the rod G against the rocker shaft bracket, an injection pipe, or another nearby part.

• On the holder D, select the inscribed line H that is easiest to see.

• Using the selected line as a reference, turn the socket E 180° clockwise. (One gradation on the scale J represents 5°.)

CAUTION&_-------------­

SincetheM14cylinderheadbolts8utilizetheplasticregiontighteningmethod,theymustnotbetightenedfurtherafterthisprocedure.

@ @ 11-14 @ @o @o 0 0 F tG 01945 01945 � 01991 12825

<M10 Bolts>

• After fitting theM14 cylinder head bolts8, tighten the M10 bolts to the spencified torque (34 N ·m {3.5 kgf ·m}) in the sequence shown.

[TI] Cylinder head gasket [Removal]

CAUTION_&.-------------

When removing the cylinder head gasket 11, be careful not to scratch the cylinder head and valve assembly 10 and the crankcase*·

[Fitting]

• Fit the cylinder head gasket 11 onto the crankcase* as shown.

01948

� Push rod runout

If any measurement exceeds the specified limit, replace the defective part(s).

�G Tappet-to-crankcase clearance

If any measurement exceeds the specified limit, replace the defective part(s).

® 0 0 0 0 0 0 0 0 0 0 0 0 0 11 12 0 0
01945 13582
11
Jl-15

Mitsubishi 6D16TLEA Tadano Crane

CYLINDER HEAD AND VALVE MECHANISM

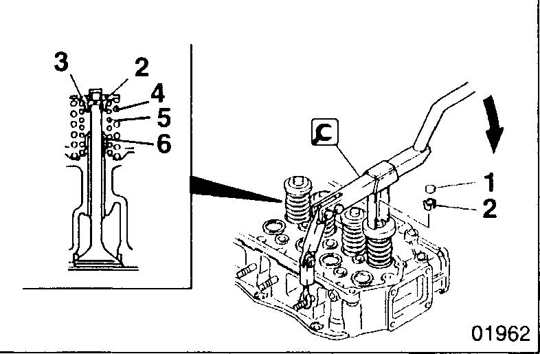
Rocker and Bracket Assembly

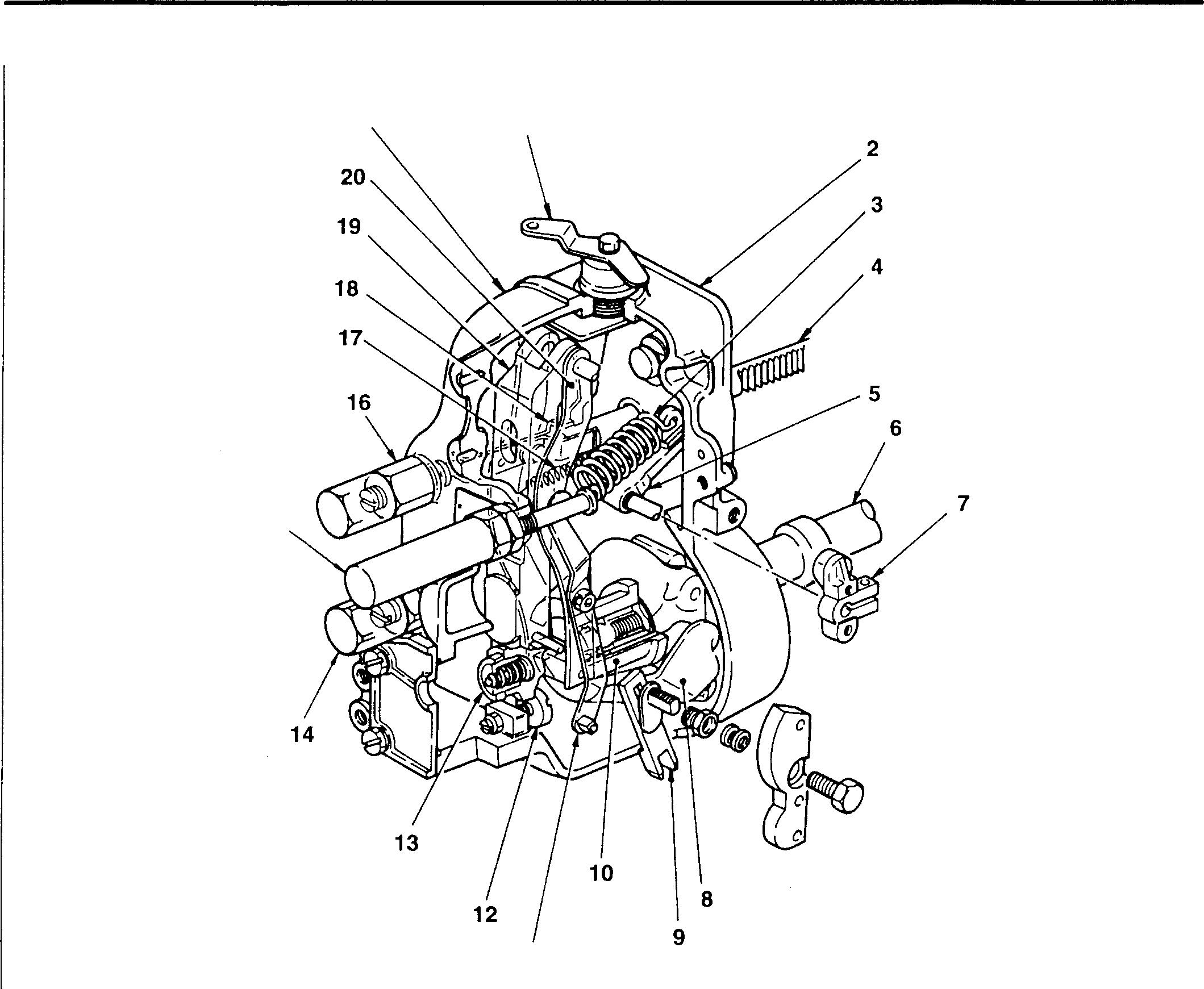
Service standards

13 6

Location Maintenanceitem

2, 14 Rocker bushing-to-rockershaftclearance

0

Tightening torques

Location Partsto betightened

3 Adjustingscrewlocknut

7 Rockershaftsetscrew

� Oils

Location Pointsof application

2 Rockerbushinginnersurface

� Special tools

Location 2

Rocker Bushing Puller

Toolnameand shape

• Disassembly sequence

1 Rockerassembly

2 Rocker bushing

3 Lock nut

4 Adjustingscrew

5 Rocker

6 No. 6 rocker shaft bracket

7 Setscrew

8 No. 5 rocker shaft bracket

9 No. 4 rocker shaft bracket

10 No. 3rocker shaft bracket

11 No. 2rockershaft bracket 12 No. 1 rocker shaft bracket 13 Rocker shaft spring

Rockershaft

• Assembly sequence

1 01951

11 1 ! L\,�fiL��·
11-16
14
Reverse
ofdisassembly. 13022 Unit: mm Standard value Limit Remedy (Basicdiameterin []) [24]0.01 to0.08 0.12 Replace Unit: N·m {kgf·m} Tighteningtorque Remarks 34{3.5}3.9{0.4}Kinds Quantity Engineoil Asrequired Unit: mm Part No. Application MH061777 Removingand installingrocker bushings
theorder

9, 10, 12�8

A�

♦ Service procedure [I]� Rockerbushingandrockershaft

[Inspection]

Ifanyclearanceexceedsthespecifiedlimit, replace thedefective part(s).

Rocker bushing [Removal]

[Installation]

• AligntheoilholeAintherockerbushing2withtheoilhole B intherocker 5.

• Position the notch C and seam D on the rocker bushing 2 as shown.

• Install the rocker bushing 2 into the rocker 5 from the chamfered side F.

� [fil to� � Installingrockershaft bracketsandrockershaft

Rockershaftbrackets

Be sure to fit the rocker shaft brackets 6,8, 12 in their correct positions.

A: Oil hole

B: Threaded hole (for MS rocker cover bolt)

C: Threaded hole (for M6 set screw)

D: No threaded hole

2 01952 12994 D 12995
s�8
13023
11
11-17

CYLINDER

HEAD AND VALVEMECHANISM

Rocker shaft

H 4

Align the oil hole G in the No. 6 rocker shaft bracket 6 with the oil hole H in the rocker shaft 14.

11-18
13024
11 I
11-19
MEMO

Mitsubishi 6D16TLEA Tadano Crane

CYLINDER HEAD AND VALVEMECHANISM

Cylinder Head and Valve Mechanism

<Without glow plug>

<Withglow plug>

• Disassembly sequence

CAUTION.&,------------------

Theinjectionnozzles9andglowplugs 14projectfromthebottomsurfaceofcylinderhead20.Takecarenotto damage them.

• Assembly sequence

Follow the disassembly sequence in reverse.

NOTE

Any valve stem seal 6 removed froman exhaust valve7or inletvalve8must bereplaced.

1
2 Valve
3 Upper retainer 4 Outer valve spring 5 Inner valve spring 6 Valve stem seal 7 Exhaust valve 8 Inlet valve 9 Injection nozzle ITTGr 13 10 Dust seal 11 Nozzle tip gasket 12 Nut <With glow plug> 13 Connecting plate <With glow plug> 14 Glow plug <With glow plug> IT]Gr54 15 Exhaust valve guide 13 16 Inlet valve guide 17 Exhaust valve seat 18 Inlet valve seat 19 Stud 20 Cylinder head 0
Non-reusable part 20300 01955
Valve cap
cotter
:
11-20

Mitsubishi 6D16TLEA Tadano Crane

11 Service standards Unit: mm Location Maintenance item Standard value Limit Remedy (Basic diameter in [ ]) Outer Free length 67.0 64.0 Replace valve 68.3 65.3 spring Installedload 330 N{33.5kgf} 290 N Replace 4 (at 47.8 installed {29.7 kgf} length) 390 N{40.0 kgf} 350 N {35.5 kgf} Squareness - 2.5 Replace Inner Free length 55.1 52.1 Replace valve 65.1 61.5 spring Installedload 92 N {9.4kgf} 78 N Replace 5 (at 40.5 installed {8.0 kgf} length) 155 N {15.8kgf} 130 N {13.4kgf} Squareness - 2.0 Replace - 2.5 Exhaust Stemoutsidediameter <j> 8.93to 8.94 <j> 8.85 Replace valve Sinkage from cylinder head bottom sur- 1.3to 1.7 2.0 Inspect evface ery location 7 Valvemargin 1.5 1.2 Reface or replace Seat angle 45° - Correct Inlet Stem outsidediameter <P 8.96to 8.97 <1> 8.85 Replace valve Sinkage from cylinder head bottom sur- 1.1to 1.5 1.8 Inspect evface ery location 8 Valvemargin 1.5 1.2 Reface or replace Seat angle 45° ± 15' - Correct 7,15 Exhaustvalve stem-to-valve guide clearance [9) 0.07to 0.1o 0.2 Replace 8,16 Inletvalve stem-to-valve guide clearance [9) 0.04to 0.06 0.15 Replace 17 Exhaust valve seat width 1.8 to 2.2 2.8 Corrector replace 18 Inlet valve seat width 1.8to 2.2 2.8 Correct or replace Cylinder Bottomsurface distortion 0.08 orless 0.2 Correct or 20 head replace Height from top to bottom surface 94.9to 95.1 94.5 Replace
Unit: N·m {kgf·m} Location Parts to be tightened Tightening torque Remarks 14 Glow plug <With glowplug> 15to 20 {1.5to 2.0)19 Exhaustmanifoldmountingstud 29 {3}11-21
0 Tightening torques
L=67 L=68.3 L-55.1 L=65.1 L=55.1 L=65.1

CYLINDER HEAD AND VALVE MECHANISM

� Oils

Location Pointsof application

1 Rocker contactsurfaceonvalvecap top

6 Lip·ofvalve stem seal

7,8 Valve stem

[&] Specialtools

A: ValVBLifter

B: Yi!llMeLitterHook

Tool name and shape

Part No.

A: MH001668 (withqi42 valvelifter seat)

B: MH061679

Removingandinstalling valvecotters

Valve Stem Seal Installer qi2

Valve Lapper

Valve Guide Remover

Valve Guide Installer 15t--\t-+�hI?

9 MH061293 01957

Installingvalvestem seals

30091-07500 (inlet, exhaust)

Lappingvalvesand valveseats

MH061066 (inlet, exhaust)

Removingvalveguides

MH061998

Installing inlet andexhaustvalveguides

Location 2 6
ll-22
7,8 15,16
qi42 qi28. qi
18 A B
Engineoil
oil 01956
Kinds Engineoil
Engine
=+qi
01960
Quantity Asrequired Asrequired Asrequired Unit: mm Application

Mitsubishi 6D16TLEA Tadano Crane

Location 17, 18

A: Caulking Tool Body

B: Installer Ring

� C dimension

MH061695 <1> 49

t=3···

MH061696 <j>42 <1> 9

MH061693 <1> 51

MH061694 <j>44

�r ~

'"mmdl-

B A 01961

♦ Service procedures

[]] Valve cotters

[Removal]

Toremovethevalvecotter 2, usethe�Valve Liftertoevenly compress the valve springs 4, 5.

[Installation]

Toinstall valve cotters, followtheremoval instructions in reverse.

CAUTION&--

Do not compress the valve springs 4, 5 more than is necessary. Ifthevalvespringsarecompressed excessively, theupperretainer 3 can touch the valve stem seal 6 and be damaged.

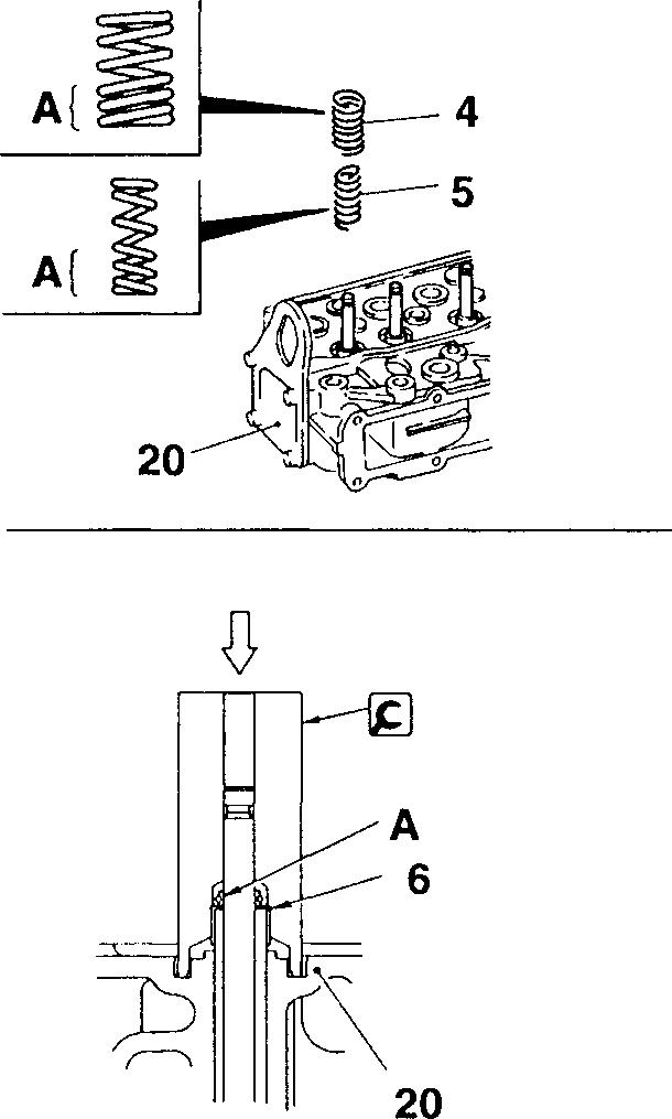
[!] [fil Installing outer and inner valve springs

Fit the outer andinnervalvesprings4, 5 onto the cylinder head 20with theirpainted ends downward.

A: Painted end

11641

01964

[fil Installing valve stem seals

• Apply engine oil to thelip A of thevalve stem seal 6.

• Install the valve stem seal 6 using the� Valve Stem Seal Installer. Strike the Valve Stem Installer until it sits snugly onthecylinderhead 20.

11
name and shape
Application
Tool
Part No.
Ff
Installing valve seats
C
11-23

CYLINDER HEAD AND VALVEMECHANISM

[I]I]] Valve

(Inspection]

(1)Valve stem outside diameter

Replacethevalve 7, 8 ifitsstem'soutsidediameterisbelowspecificationor severelyworn.

CAUTION_&.-------------

Whenever a valve7, 8 is replaced, be sure to lap the valve and valve seat 17, 18. Cll P.11-25.

(2) Valve seat angle and valve margin

Refaceorreplacethevalve 7, 8 ifthevalveseatangleorvalvemargin exceedsthe specifiedlimits.

A: Valve seatangle

B:Valve margin

(Rectification)

NOTE

• Keep grinding to a minimum.

• If the valve margin is below specification after grinding, replace the valve 7, 8.

• After grinding, be sure to lap the valve and 7,8 valve seat 17, 18. Cll P.11-25

[I]I]]�[RI Valves and valve guides

[Inspection)

Ifanyclearanceexceedsthespecifiedlimit,replacethedefectivepart(s).

Valve guides

[Removal]

01965 7,
A B 02264 • 11-24
8
Mitsubishi 6D16TLEA Tadano Crane

[Installation]

Installthevalveguide15,16usingthe�Valve GuideInstaller. Strikethe Valve GuideInstaller untilit sits snugly on the cylinderhead20.

CAUTION&--------------

• Thevalveguides15,16must be pressed intothespecifieddepth. Be sure to use the � Valve Guide Installer for this operation.

• Exhaust valve guides15arelonger thaninlet valve guides16. Be sure to install the correct type of guide in each location.

12] [fil � [Thi Valves and valve seats

[Inspection]

• Apply aneven coat of minium to the valve seat 17, 18surface A that makescontactwith thevalve7, 8.

• Using the�Valve Lapper, strike thevalve 7, 8against the valve seat 17, 18once. Do not rotatethe valve during this operation.

NOTE

Carryouttheseinspections after inspecting thevalvesand valve guides.

• Iftheminiumdepositedonthevalve7, 8 indicatesapoorcontactpattern, rectifythe contact pattern as follows:

Contact Corrective action

Minordefect Lapping

Serious defect Refaceor replace valve and valve seat

[Refacing]

Lapthevalve in accordancewith the following procedure:

• Apply a thin, even coat of lapping compound to the surface A of the valve 7, 8thatmakescontactwith the valve seat 17, 18.

CAUTION&--------------

Ensure that no compound adheres to the stem B of the valve 7, 8.

NOTE

• Start with intermediate-mesh compound (120to 150mesh) and finish with fine-mesh compound (200mesh or more).

• The addition of a small amount of engine oil makes lapping compound easier to apply.

18mm 15,16 02220 01968 000 '----y---J '-----,y�---__, 0 X
11
01969 01970
ll-25

CYLINDER HEAD AND VALVE MECHANISM

• Usingthe�ValveLapper,lightly strikethevalve7,8againstthevalve seat17, 18 while turningitlittle by little.

• Wash away thecompound with gasoilor asimilar fluid.

• Applyengineoiltothecontactsurfacesofthevalveseat17,18andrub itinsothatthecontactsurfacesarelubricatedandmatetogethersnugly.

• Inspectthecontactpatternofthevalve7,8andvalveseat17,18once more.

• Ifthe contact patternis stilldefective, replacethevalve seat17, 18.

[izl� Valveseats

[Inspection]

(1) Valveseatwidth

If the measurement exceedsthe specifiedlimit, rectify or replace the valve seat17, 18.

A:Valve seatwidth

NOTE

Wheneveravalveseat17,18isrectifiedorreplaced,besureto lap thevalveseatandvalve7,8. m P.11-25

(2) Valve sinkagefrom cylinderhead bottomsurface

7,8

Ifany measurementexceedsthespecifiedlimit, rectify orreplacethe defectivepart(s).

B:Valvesinkage

[Rectification]

• Grindthevalveseat17,18usingavalveseatcutterorvalveseatgrinder.

• Aftergrinding,putsomesandpaperofaround#400gradebetweenthe cutter and valve seat andgrind thevalve seatlightly.

• Usea 15° or 17° cuttertoachievethe specified valve seat widthA.

C:Valveseatangle

CAUTION&--------------

.Ensure that grinding does not cause the valve sinkage B to exceedthespecified limit.

• After rectification, lapthevalve7,8 andvalve seat 17, 18. m P.11-2s

c:.:, ----- �71 7,8 17,18 01975 7,8 17,18 B 02265 �c N,,\
01977 11-26
Mitsubishi 6D16TLEA Tadano Crane

17, 18

D 0.5 to 1.0 mm

[Removal]

Valve seats 17, 18 areinstalled by expansion fitting. To remove a valve seat, grind the inside surface to reduce its thickness, then remove the valveseatatroomtemperature.

D: Materialto remove

[Installation]

• Checkthatthevalveseathole diameters E, Finthecylinderhead 20 conform with the values shown below.

Early type Late type

Inlet valve seat hole (E)

+ �025

Exhaust valve seat hole (F)

+ �025

Unit: mm

+ �03

+ �025

• Coolthe valveseat 17, 18 by immersing itin liquid nitrogen.

• Installthevalveseat 17, 18 inthecylinderhead 20 usingthe©aCaulkingTool Body and ©b Installer Ring.

• Afterinstallingthevalveseat 17, 18, lapthevalveseatandvalve 7, 8. OJ P.11-25

� Inspecting cylinder head

• Measuretheextentofdistortioninthecylinderhead's bottomsurface.

• Ifthedegreeofdistortionexceedsthespecifiedlimit,rectifythedistortion with asurface grinder.

CAUTION&_-------------

Ensure that grinding does not cause the cylinder head's top surface-to-bottom surface distance to fall below the specified limit.

01973 20
F 01976 01974 01978 11
E
---------
qi49
qi51
qi42
qi44
11-27

Mitsubishi 6D16TLEA Tadano Crane

PISTONS, CONNECTING RODS, AND CYLINDER LINERS

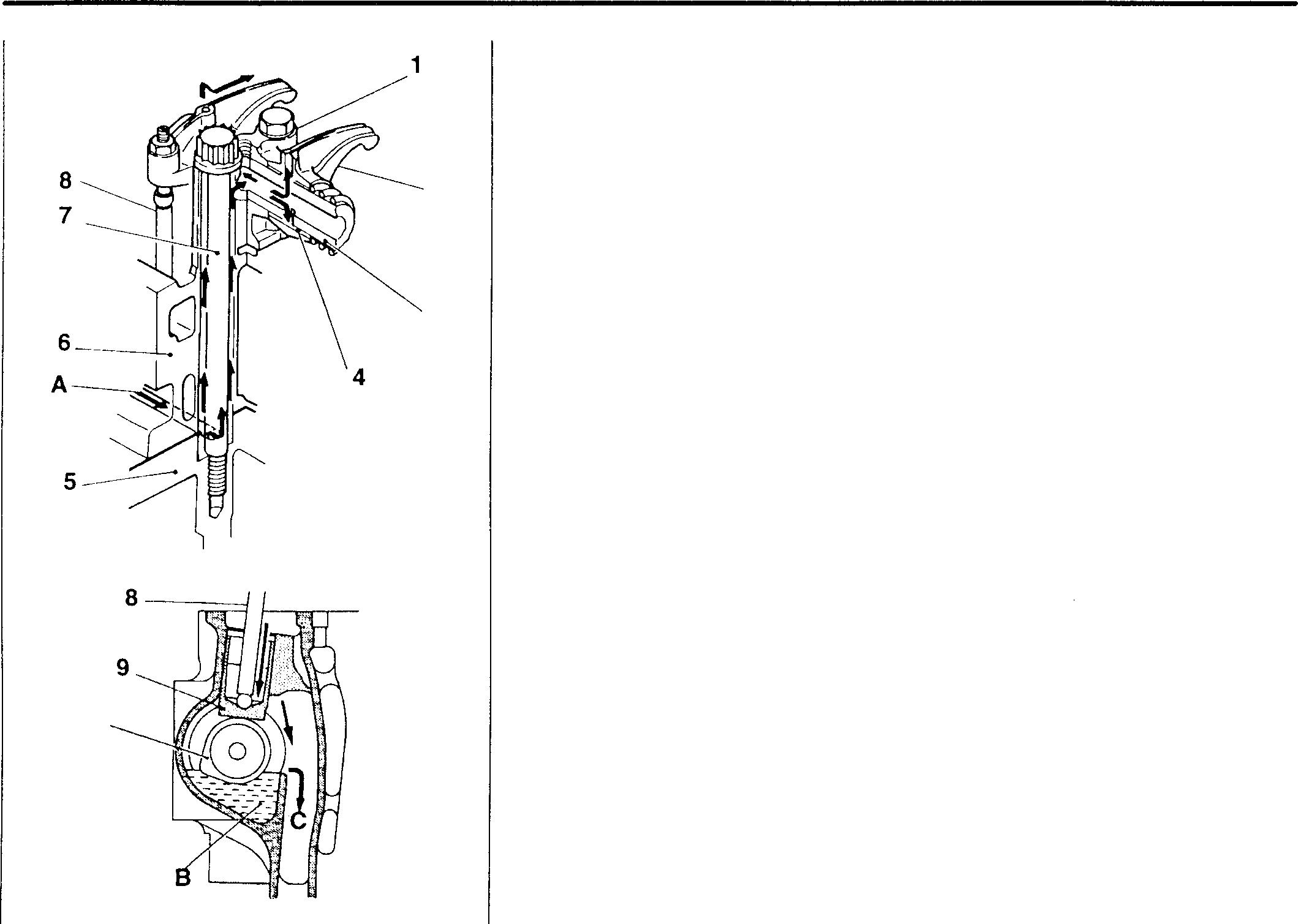
• Pre-disassembly inspection OJ P.11-30

• Removal sequence

1 Bolt

2 Lower connecting rod bearing

3 Connecting rod cap

4 Upper connecting rod bearing

5 Piston and connecting rod assembly OJ P.11-36

6 Cylinder liner

*: Oil pan0JGr 12

• Installation sequence Reverse the order of removal.

16914

Service standards

Location Maintenance item

- Piston projection

Connecting rodend play 2,4 Connecting rodbearing Oilclearance Span when free

5,6 Piston andconnecting rodassembly-to-cylinderlinerclearance

6016-TLEA

6 Cylinder liner Flangeprojection Inside diameter

6D16-TLEA Cylindricity

6016-TLEA

11-28
Standardvalue Limit (Basic diameter in [ ]) 0.85to
0.15to 0.45 0.6 [65] 0.04to 0.09 0.2 - Lessthan 69.5-[118] 0.136to 0.1650.03to 0.10<I> 118to 118.03
0.03or lessUnit: mm Remedy Inspect eachloca!ion Replace Replace Replace Replace Replace Replaceor grind to oversize
1.06
q,118.25

Mitsubishi 6D16TLEA Tadano Crane

0

Tightening torques

Location Parts to be tightened

1 Bolt (connecting rodinstallation)

� Oils

Location Points of application

1 Boltthreads

2,4 Connectingrodbearing inside surface

6 Cylinder liner outside surface

� Special tools

Location Tool name and shape

5 SocketWrench 1

5 A: PistonGuide Clamp

B: PistonGuide Lever

CylinderLiner Extractor

� C dimension <I> 117.5

6D16-TLEA

6 Cylinder Liner Installer

� A dimension qi 117.5

6D16-TLEA

Tightening torque

29 (3) +90° ±5° Kinds

Engine oil

Engineoil

Engineoil

Part No.

MH061560

01984 J 01983

6D16-TLEA A: MH061760 B: MH061658

Installing pistonand connecting rod assembly

Installing pistonand connecting rod assembly

Removing cylinder liners

6D16TLEA MH061761

6D16TLEA MH061771

Installingcylinderliners (dry type) 11-29

B A
11 Unit: N·m {kgf·m} Remarks Wet Quantity As required As required As required Unit: mm Application

Mitsubishi 6D16TLEA Tadano Crane

PISTONS,

CONNECTING RODS, AND CYLINDER LINERS

♦ Service procedure

• Pre-disassembly inspection

(1) Piston projection from crankcase top surface

NOTE

The piston projections affect engine performance and must therefore be checked.

WARNING_&------------­

With 6D16-TLEA engines, the cylinder liners may rise out of position when the crankcase is turned over or the crank­shaft is turned. Hold their flanges down using bolts and wash­ers A.

• Measuretheprojectionofeachpistonattwopointsandcalculatethe average of the two values.

A: Front of engine

• Ifthe average valueisout ofspecification, check theclearancesbetween all relevant parts.

(2) Connecting rod end play

• Measure the end play of every connecting rod.

• If any measurement exceeds the specified limit, replace the defective part(s).

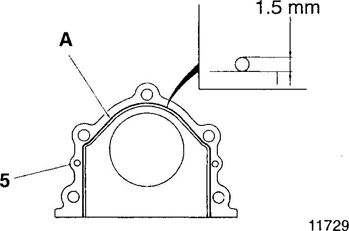
(3) Cylinder liner flange projection

If any measurement is out of specification, replace the defective part(s).

B : Flange projection

CAUTION&_-------------

lf the cylinder liner 6 flange projection is insufficient, bearing pressure on the cylinder head gasket will be too low in the region of the bore, possibly causing gas to leak.

01985 01986
B 01988 11-30
01987

[I][II Connecting rod bearings

[Installation]

Installtheconnectingrod bearings2, 4byfitting the lugs Aintotheir respective grooves.

CAUTION&_-------------

The upper connecting rod bearing has an oil hole 8. The lower connecting rod bearing has no oil hole. Take care not to confuse the upper and lower parts.

[Inspection]

CAUTION&_--------------

• Do not attempt to manually expand a connecting rod bearing 2, 4 if its span is insufficient.

• Upper and lower connecting rod bearings 2, 4 must �e replaced as a set.

(1) Span when free

Ifthespanislessthanthespecifiedrequirement, replacetheupperand lower connecting rod bearings 2, 4 asa set.

(2) Connecting rod bearing-to-crankshaft pin clearance

Iftheconnectingrodbearing-to-crankshaftpinclearanceexceedsthe specified limit, replace the defective part(s).

[]J Installing piston and connecting rod assembly

CAUTION&_-------------

• Ensure that the piston ring gaps A remain in their correct positions. [D P.11-41

• Take care not to damage the piston crown B (the area that forms part of the combustion chamber).

• Ensure that the connecting rod does not touch the oil jet C. 11-31

A A
11650
01996 01997
11

Mitsubishi 6D16TLEA Tadano Crane

PISTONS, CONNECTING RODS, AND CYLINDER LINERS

• Withthepiston's"!::,.''frontmarkfacingthefrontofthe engine, installthe piston and connecting rod assembly in accordance with the following procedure.

D:

Front of engine

< 6D16-TLEA

• Fit the [.ga Piston Guide Clamp over the piston skirt. Using the bolt E ofthe [.gb Piston GuideLever, adjusttheclamp'sinsidediametersuch that it matches the piston's outside diameter.

• Move the [&Jc Piston Guide Clamp and [.gb Piston GuideLever to the top of the piston.

• With the piston installed, align the mating marks Fon the connecting rod and connecting rod cap 3 and tighten the bolts to the specified torque. Then, tighten the bolts 1 further in accordance with the following procedure.

1gb 3 11-32
",6.11
03384 02009 11651 02011 01990

• Beforefittingthe�SocketWrenchoverabolt,turntheholderGcounter-clockwise to tensionthe built-in spring.

H:Socket

J: Rod

K: Rod (extension)

• Setthesocketwrenchsuchthatthebuilt-inspringforceforcestherod Kagainst thecrankshaft.

• On the holder G, select the inscribed line L that is easiest to see.

• Usingtheselectedlineasareference,turnthesocketH90° ±5° clockwise. (One gradation onthe scale M represents 5°.)

NOTE

Afterfitting theconnectingrodcaps3, inspect the following items:

• Connecting rod end play ( CD P.11-30)

• Piston projections (CD P.11-30)

11652

J
tK
0199'
11
11-33

Mitsubishi 6D16TLEA Tadano Crane

PISTONS, CONNECTING RODS, AND CYLINDER LINERS

0• Check the piston-to-cylinder clerance.

<6D16-TLEA>

If any clearance isoutof specification, replace the defective part(s).

D:Outsidediameter measurementposition

E:Direction of crankshaft axis

F: Perpendicular to crankshaft axis

NOTE

The cylinder liners are of a thin design and cannot be bored to oversize dimensions. To prevent deformation of the cylinder liners, do not remove them except for replacement.

Cylinder liners [Removal]

NOTE

Ifanycylinderliner6mustbereusedafterremoval,makeanalignment mark with paint and use this mark to reinstall the cylinder liner in its original position.

185 mm or more 75 mm or more 20 mm or more I 6D16-TLEA > 11-34 75.1mm D 03375 02003 02000 02004

<6D16TLEA>

• Applyengineoiltothe outsidesurface ofthe cylinderliner 6.

• Insertthecylinderlinerintothecrankcaseandpressitintopositionusingthe�CylinderLinerInstaller. Pushdown evenlyontheentireupper surfaceoftheCylinderLiner Installer.

02007 11
11-35

Mitsubishi 6D16TLEA Tadano Crane

PISTONS, CONNECTING RODS, AND CYLINDER LINERS

Piston and Connecting Rod Assembly

• Disassembly sequence

1 Snap ring

2 Pistonpin

3 Connecting rod bushing

4 Connecting rod

5 1stcompression ring

6 2nd compression ring

7 Oil ring

8 Piston

• Assembly sequence Reversetheorder of disassembly.

Servicestandards

Location Maintenanceitem

2,3 Pistonpin-to-connectingrodsmallend bushingclearnace

2,8 Pistonpin-to-pistonclearance

4 Connectingrodbendandtorsion

5 to 7 Pistonring 1stcompresendgap sionring

6D16-TLEA

2ndcompressionring

6D16-TLEA Oilring

6D16-TLEA

5 to8 Pistonring-to- 1stcomprespistonring sionring grooveclearance

2ndcompressionring Oilring

6D16-TLEA

6D16-TLEA

ll-36
02012
Standard value Limit (Basicdiameterin []) 0.1 [0.004to0.02 0.05 - 0.05 0.35to0.55 1.5 0.35to0.55 1.5 0.35to0.55 1.5 0.11to0.15 0.2 0.07to0.10 0.15 0.03to0.06 0.15 Unit: mm Remedy Replace Replace Corrector replace Replace Replace Replace Replace Replace Replace
38MM Pin 0.02-0.05 42MM Pin 0.02-0.05

� Oils

Location Points ofapplication

2 Pistonpin outer surface

3 Connecting rod bushing outersurface

4 Bushing installation surface ofconnectingrod

� Special tools

Location

Connecting RodBushing Puller Tool name and shape

Connecting Rod Bushing Puller Kit Piston Ring Tool

installing piston rings

Engineoil Engineoil Engineoil Part No. MH061778 Kinds 11 Quantity As required As required As required Application
1 --11 --; Removingand
rod
to 7
3
installing connecting
bushings 5
��015 <)>100 to<)>120 02013 30091-07100 Removingand
11-37
MH062023

Mitsubishi 6D16TLEA Tadano Crane

PISTONS, CONNECTING RODS, AND CYLINDER LINERS

♦ Service procedure [i)I]]

Piston and connecting rod

If the clearance exceeds the specifiedlimit, replace the defective part(s).

Connecting rod bushing - Straight bushing

[ Removal]

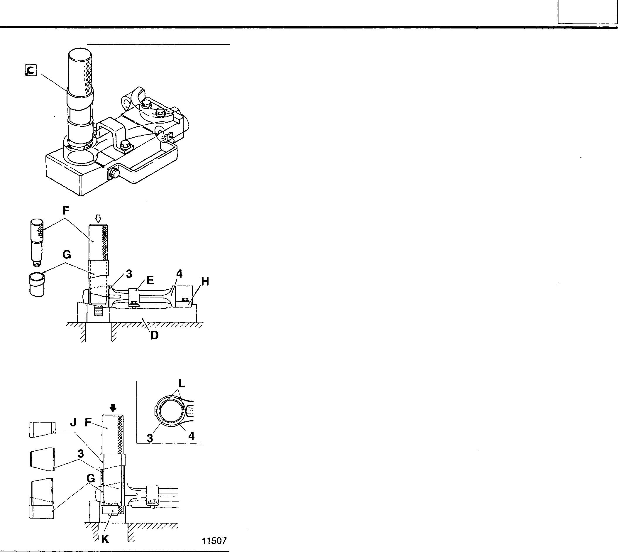
Applythe � Connecting Rod Bushing Puller to the connecting rod bushing 3 Using a press, apply pressure of approximately 49 kN (5,000 kgf) such that the bushing is pressed out of the connecting rod 4.

[Installation]

• Align oil hole A in the connecting rod bushing 3 with oil hole B in the connecting rod 4.

• Apply the � Connecting Rod Bushing Puller to the connecting rod bushing 3. Using a press, apply pressure of approximately 49 kN (5,000 kgf) such that the bushing is pressed into the connectingrod 4 from the chamfered side C.

NOTE

Afterinstallingtheconnecting rod bushing 3, insertthepistonpin 2 and check that it turns smoothly and without play.

02017 4 3
4
11-38
13616
13617

Replacetheconnectingrodbushing3usingthe(gConnectingRodBushing Puller Kit. Thisconsistsof thefollowing parts:

D:Base

E:Bracket

F: Puller

G: Collar

H: Plate

J:Collar

K:Nut

[RemovalTaperedpinbushing]

• Removethe bearing (if fitted) from the big end of the connecting rod 4.

• Mount the connecting rod4on the base D and lock itinpositionwith the bracket E and plate H.

• Position the puller F and collar G as shown in the illustration. Then, slowlyapplypressureofapproximately49kN(5,000kgf)untiltheconnecting rodbushing3ispressedout.

[InstallationTaperedpinbushing

• Applyengineoiltothesmallendoftheconnectingrod4andtotheouter surface oftheconnectingrod bushing 3.

• FitthecollarJoverthepuller F, positiontheconnectingrodbushing3 andcollarGasshownintheillustration, andlockthisarrangementtogether with the nut K.

• Align theoilholes L in thesmall end of the connecting rod bushing 3 and connecting rod 4. Then, use a press to slowly apply pressure of approximately49kN(5,000kgf)untilthebushingispressedintoplace.

• Afterpress-fittingtheconnectingrod bushing3, reamittoachievethe specifiednominalclearance between the bushingandpiston pin 2.

NOTE

Afterinstallingtheconnectingrod bushing 3,insertthepistonpin 2 and check that it turns smoothly and without play.

[I]W[!] Piston pin, connecting rod, and piston [Removal]

• Tap outthepiston pin2 usinga rodand hammer.

• If thepiston pin 2 is difficult to remove, heat the piston8 in hotwater or usinga pistonheater.

02019 02020
11
02022
11-39

PISTONS, CONNECTING RODS, AND CYLINDER LINERS

[Installation)

• Applyengine oil to the pistonpin 2. With the connecting rod 4and piston 8 aligned as illustrated, insert the piston pin to hold these components together.

• If the piston pin 2 is difficult to insert, heat the piston 4 in hot water or using a piston heater.

CAUTION_&-------------

• Nopistonshoulddifferfromanyotherpistonbyaweightofmore thanlog.

• Theconnectingrodsmustallhavethesameweightmark.

• Afterinsertingthepistonpin2,checkthatitturnssmoothlyand withoutplay.

[I][!] Pistonpin-to-pistonclearance

Ifthe clearance exceeds the specified limit, replace the defectivepart(s).

2-q

[!] Connectingrodbendandtwist

• Fit the connecting rod bushing 3 and piston 2 in their respective positions of the connecting rod 4.

• Measure the extent of bending Aand twisting 8 in the connecting rod 4.

• Ifeithermeasurementexceedsthespecifiedlimit, replacetheconnecting rod 4 or rectify it.

C: Connecting rod 4 aligner (measurement device)

NOTE

• Before mounting the connecting rod 4 on the connecting rod aligner C, installtheupperandlowerconnectingrodbearingsin theirrespectivepositions.

• Measurementsmustbemadewiththeconnectingrodcapmountingnutstightenedtotheirspecifiedtorque.[DP.11-29

8
A C D 8 ,�r r-b�I 100mm �> -�t ;?. I - -- -� ;; 2 1/,, C 11-40 02023 02039 02040

Mitsubishi 6D16TLEA Tadano Crane

[fil to[]] Piston rings and piston Piston rings

[Removal]

[Installation]

• Fittheoil ring7ontothepiston8withitssiderail gaps Aandtheexpander spring gap B in the positions illustrated.

• Fitthecompressionrings5, 6ontothepistonsuchthatthemanufacturer's marks C near the gaps face upward.

• Align the compression ring gaps D, E as illustrated.

D: 1st compression ring gap

E: 2nd compression ring gap

.6.: Front mark

[Inspection]

(1) Piston ring end gap

• Usingthecrownofapiston8, pushthe piston ring 5, 6or 7horizontally into a cylinder liner F for measurement.

• Taking care not to move the piston ring 5, 6 or 7, measure the end gap. Replacealltheringsofapistonifanygapexceedsthespecified limit.

NOTE

• To keep the piston ring 5, 6 or 7 horizontal, be sure to insert them into the cylinder liner F using a piston 8.

• Pushthepistonring5, 6or7downtothebottomofcylinder liner F; the bottom should be less worn than the top.

• Piston rings 5, 6 or 7must be replaced as a set. Never replace piston rings individually.

8 02028 8 0 5 to 7 F 02027
11
11-41

PISTONS, CONNECTING RODS, AND CYLINDER LINERS

(2) Piston ring-to-piston ringgroove clearance

• Ifanymeasurementexceedsthespecified limit, replace thedefective part(s).

• Measure the 1st compression ring 5 clearance with a thickness gauge H whilepressingtheringagainstthepiston 8witha straight edge G.

NOTE

• Removeanycarbondepositsfromtheringgrooveofthepiston 8andmeasuretheclearancearoundthepiston'sentireperiphery.

• Pistonrings5,6,7mustbereplacedasaset.Neverreplacepiston ringsindividually.

H 02025 02026 I1-42
11 MEMO 11-43

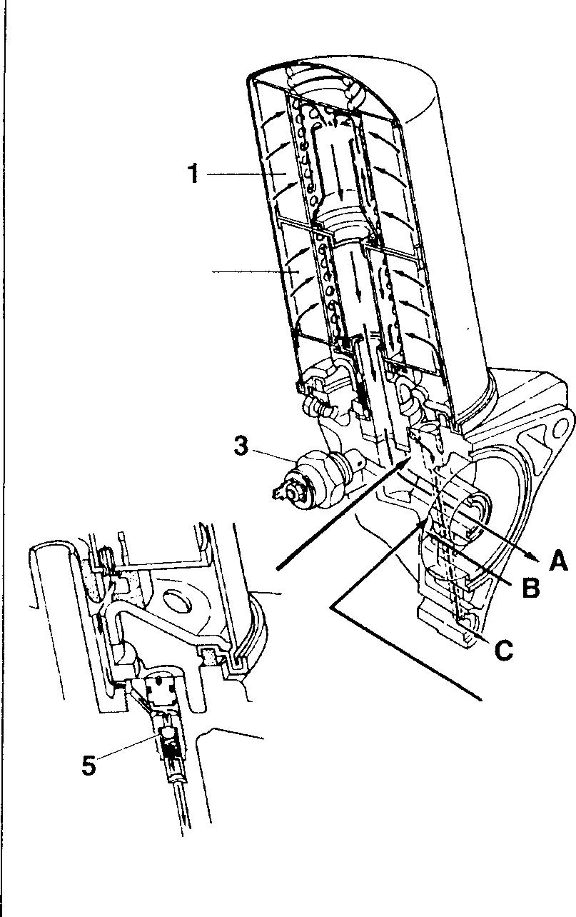
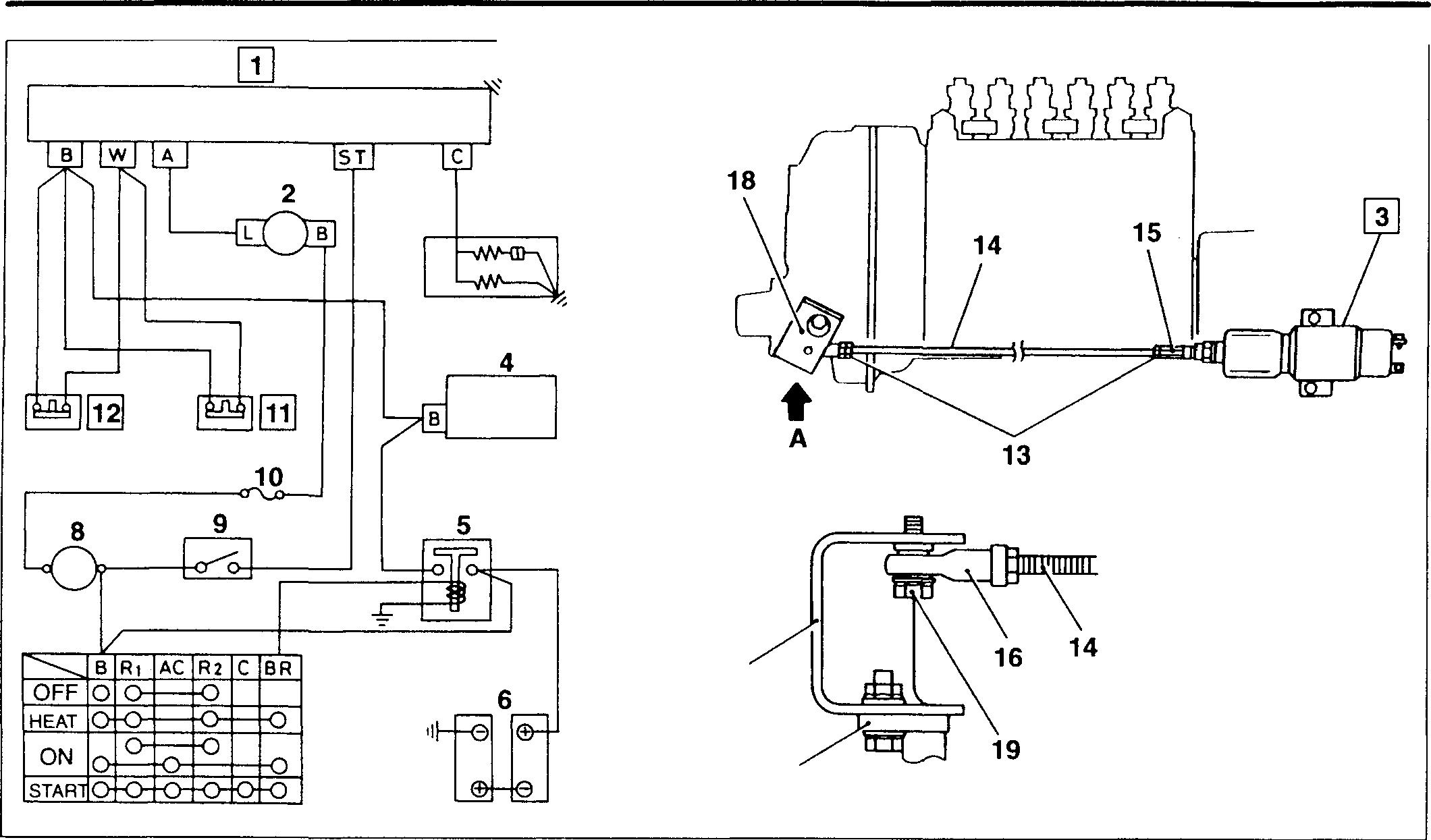
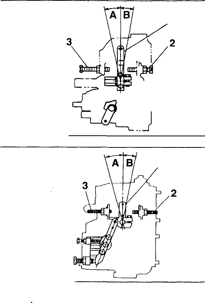
FLYWHEEL PTO

16919

• Pre-disassembly inspection P.11-49

• Disassembly sequence

1 Flywheel PTO head assembly Q] P.11-46

Shim

Seal cap

PTO idler shaft

PTO idler gear A

• Assembly sequence

Reverse the order of disassembly.

Spacer

PTO idler gear

Spacer

Snap ring

Ball bearing

Snap ring

A: Locating pin

*: Flywheel housing Q] P.11-48

2
3
4
5
6 Ball bearing 7 Cotter 8
9
Nut
Cover
11-44 10
11
B 12
13
14
15

Service standards

Location

Maintenance item

- Gear back- Between PTO idlergear lash Aand No.1 idlergear

Between PTOgearand idlergearB

Total PTOgear backlash

to0.26

0 Tightening torques

Location

Parts to be tightened

4 PTO idlershaft mounting nut

02045

to0.35 Tightening

125{12.8}

♦ Service procedure

•Pre-disassembly

• MeasurementofthebacklashbetweenPTOidlergearAandNo.1idler gearandofthetotalbacklashshouldbe carriedout at the qi100 pitch circle onthe PTOflangeA. Ifbacklash is outofspecification, adjust it using a shim 2.

Shims are available in the followingsizes: 0.1 mm, 0.2 mm, and 0.3 mm.

• Measurement of the backlash between the PTO gear and PTO idler gearBshouldbecarriedoutattheqi100pitchcircleonthePTOflange. Hold the PTO idler shaft 8 steady while taking measurements. If the backlashisout of specification, adjust it using a shim 2.

Shimsareavailable in the following sizes: 0.1 mm, 0.2 mm, and 0.3 mm.

Standardvalue 6D16TLEA 0.12
6D16TLEA 0.12
0.18
torque
to0.26
Gear backlash 11 Unit: mm Limit Remedy Reference 0.35 value Reference 0.35 value - Rectify or replace Unit: N·m {kgf·m} Remarks -
inspection
11-45

FLYWHEEL PTO

Flywheel PTO Head Assembly

• Disassembly sequence

1 Splitpin 2 Nut

Flange

Oil seal 5 Rearcover

• Assembly sequence

Opposite of disassembly sequence.

Service standards

Location Maintenanceitem - PTO shaft end play

0

Tightening torques

Location Parts tobetightened

2 Flange mountingnut

� Oils

Sealcap

Ballbearing

Cotter

PTOshaft

PTOgear

Location Pointsofapplication

3 Flangesplines

4 Oil seal lip 9 PTO shaft splines

(12.8}

Wheel bearinggrease [NLGI N0.2 (Li soap)] Asrequired

Wheel bearinggrease [NLGI N0.2 (Li soap)) Asrequired

Wheel bearing grease [NLGI N0.2 (Li soap)] As required

3
4
7
8
9
10
6
11-46 Standardvalue Oto0.8 11 Spacer 12 Snapring 13 Ballbearing 14 Cover Limit16921 Unit: mm Remedy Replace Unit: N·m {kgf·m} Tightening
Remarks 125
-
Quantity
torque
Kinds

♦ Service procedure

• Pre-disassembly inspection

PTO shaft end play

If the measurement exceeds the specified limit, replace the defective part(s).

11] Removing PTO shaft A: Plasticmallet

13618 16922
11
11-47

FLYWHEEL

• Disassembly sequence

Spacer

Bolt

Washer plate

Flywheel

Pilot bearing

Ringgear

Rear oil seal

Rear oil seal retainer <models with flywheel PTO>

• Assembly sequence

Reverse the order of disassembly.

<Without flywheel

O-ring <modelswith flywheel PTO>

<models withflywheel PTO>

Thrustplate <models withflywheel PTO>

*: Crankshaft [D P.11-72

Locatingpin

:Non-reusable part 16923

1
2
3
4
assembly 5
6
7
8
2 1 0 Ii 9
F_lywheel
11-48
PTO> A
flywheel PTO> 13 :fi 10
11
12
13 Flywheel housing 14
<With
Plug
Bolt
A:
0

0 Tightening torques

� Oils and sealants

� Special tools

11 Service standards Unit: mm Location Maintenance item Standardvalue Limit Remedy 4 Flywheel Friction surfacedistortion 0.05orless 0.2 Correct or assembly replace Heightof frictionsurface 20 19 Replace Friction surface runout (when - 0.2 Corrector fitted) replace 13 Eccentricity ofjoint - 0.2 Inspect or replace
Unit: N·m {kgf·m} Location Partsto betightened Tightening torque Remarks 2 Flywheelmounting bolt 98(10} + 150° • Wet • Can be reused upto 3times 11 Plug 88{9}12 Bolt <modelswithflywheel PTO> 34 (3.5} -
Location Pointsof application Kinds Quantity 2 Boltthreads Engineoil As required 8 Rearoil seal lip Engineoil As required Flywheel mounting surface ofrear oilseal <models without Threebond 1207C As required flywheel PTO> 10 O-ring Engineoil Asrequired 13 Engine mounting surfaceof flywheelhousing Threebond1207C As required
Location Tool name and shape Part No. Application SocketWrench MH062354 01984 4 >-- ---- -- >---- -------1 Fitting flywheel Magnetic Base MH062356 00471 11-49

t♦ Service procedure G) Flywheel assembly

[Removal]

Toremove the flywheel assembly 4, screw the mounting bolts 2 intothe removalholes A.

[Installation]

• The bolts 2 can be used only three times. Before refitting the bolts, makeapunchmarkontheheadofeachonetoindicatetimesofreuse.

CAUTION,&-------------

lt any bolt already has three punch marks, it must not be reused any more; replace it with a new one.

• Tightenthebolts 2 totheirspecifiedtorque, then tightenthemfurther inaccordancewith the following procedure:

• Turnthe holder B of the lg SocketWrench counter-clockwise totension thebuilt-inspring.

C:Socket D:Rod E:Rod (extension)

• Set the socket wrench such that the built-in spring forces.the rod E againstthe [gb Magnetic Base.

• On theholder 8, selectthe inscribed line Fthatiseasiestto see.

• Usingtheselectedlineasareference,turnthesocket150° dlockwise. (One gradationon thescale G represents5°.)

CAUTION,&------------­

Sincethe bolts2 utilize theplasticregiontighteningmethod, they must not be tightened further after this procedure.

[Inspection]

(1) Runout

• Tightenthe bolts 2 totheirspecifiedtorque.

• Ifrunoutexceedsthespecifiedlimit, checkthatthebolts 2 aretightenedcorrectlyandinspectthecrankshaft*mountingsurface.Then, rectifyorreplace the flywheel assembly 4 as required.

FLYWHEEL 3 [ga 11-50 4 D
E � 01991 14312 02055

�ritj:,,.

(2) Height offriction surface

Ifthemeasurementisbelowthespecifiedvalue, rectifyorreplacethe flywheelassembly 4.

H: Height offriction surface

(3) Distortion offrictionsurface

If distortionexceeds thespecifiedlimit, rectify or replace the flywheel assembly4.

NOTE

Ifanyabnormalityisevidentontheringgear6,replacethering gear beforemakinginspections.

[Rectification]

Grindthefrictionsurfacesuchthatitsheight Hremainsgreaterthanthe specifiedminimum.Thefrictionsurfacemustremainparallelwithsurface J with atolerance of 0.1 mm.

[]] Ringgear

[Inspection]

Inspecttheringgear6fordamageandabnormalwear.Ifanydefectisevident, theringgearmustbereplaced.

[Removal]

• Heattheringgear 6 evenlywithanacetylene torch orthe like.

CAUTION&_--------------

Be carefulnottoget burned.

• Removetheringgear6fromtheflywheel7bytappingarounditsentire periphery.

H H 03349
03351 7 6
11
)$1/2 l
02057
11-51

4>2 mm

I[Installation]

• Usingapistonheaterorthelike,heattheringgear6toapproximately 100°c for 3 minutes.

CAUTIONLD,-------------

Be careful not to get burned.

• Fittheringgear 6 with the non-chamferedsideof its teeth towardthe flywheel 7.

A: Chamferedsideof ringgear

[fil Fitting rear oil seal <Models without flywheel PTO>

• Applyaneven,unbrokenbeadofsealant A totherearoilseal 8 inthe positionillustrated B.

• Fittherearoilseal 9 ontotheflywheelhousing 12 within3minutesof applying thesealant A.

CAUTIONLD,-------------

• Ensure that the sealant application position B on the oil seal 8 is clean before applying sealant.

• Whenfitting the rear oilseal 8, holdit firmlyinposition toprevent spreading the sealant.

• Afterfitting therearoilseal8,waitatleast30minutes beforestarting the engine.

• Applyanew beadofsealantAwheneverthe mounting boltsofthe rear oil seal 8 have been loosened.

4>2 mm

• Applyengineoil to thelipoftherearoil seal 8.

• Fittherearoilseal 8 ontotheflywheelhousing 13inthedirectionillustrated.

� Flywheel housing

[Installation]

• Applyaneven,unbrokenbeadofsealantA tothecrankcasemounting surface oftheflywheelhousing 13.

• Fittheflywheelhousing 13 ontothecrankcasewithin3minutesofapplying thesealant A.

CAUTION&-------------

• Ensurethatthesealantapplicationpositionontheflywheelhousing 13 is clean before applying sealant.

• When fitting the flywheel housing 13, hold it firmly in position to prevent spreading the sealant.

• After fitting the flywheel housing 13, wait at least an hour before starting the engine.

• Apply a new bead of sealant A whenever the mountiing bolts of the flywheel housing 13 have been loosened.

FLYWHEEL A
A �
8 "UP"8� �<
11-52
03353 02059
11704

[Inspection]

• Rotate the crankshaft and check the extent of eccentricity at the joint A of the flywheel housing 13.

• If eccentricity exceeds the specified limit, carry out reassembly.

• If eccentricity stillexceeds thespecified limit after reassembly, replace the defective part(s).

A
11
02062
11-53

TIMING GEARS

*2

• Pre-d"isassembl . OJ P.11-S6 Y inspection

• Disassembl

1 Y sequence Bolt

! No. 1 idler shaft No. 1 idler

4 No. 1 idl gear bushing

5 Nut er gear

6 O-ring 7 Collar

8 O-ring 9 Bolt

• Assembl R y sequence

everse th

e order of disassembly.

10 Thrust wash

11 No. 2 idler er

12 No. 2 "di gear bushing

13 N ' er gear o. 2 idler shaft

*1: Drive gear

*2: Camshaft

*3: Cranksh iear CO P.11-64 a gear CO P.11-72

16939

0: Non-reusable part

CA�TIONLfs

Sincethe N ----o. 1Idlerg ported by the No ear4issupthese part · 1 idlershaft 2 . s must b a single unit. e removed as

11-54

� Oils

11 Servicestandards Unit:mm Location Maintenanceitem Standardvalue Limit Remedy (Basicdiameterin[]) - Gear BetweenNo.1idlergearandcrank- 0.08to0.15 0.35 Replace backlash shaftgear BetweenNo.1idlergearandNo.2 0.07to0.15 0.35 Replace idlergear BetweenNo.1idlergearanddrive 0.07to0.15 0.35 Replace gear BetweenNo.2idlergearandcamshaft 0.08to0.16 0.35 Replace gear 2,3 No.1idlershaft-to-gearbushingclearance [37)0.01to0.05 0.2 Replace 4,12 Idlergearendplay 0.05to0.15 0.3 Replace 11,13 No.2idlergearbushing-to-shaftclearance [32]0.01to0.05 0.2 Replace 0 Tightening torques Unit:N·m{kgf·m} Location Partstobetightened Tighteningtorque Remarks 1 No.1idlergearmountingbolt 88{9}5 Collarmountingnut 82{8.4}9 No.2idlergearmountingbolt 95{9.7) -
Location Pointsofapplication Kinds Quantity I 6,8 O-ring Engineoil AsrequiredI 11-55

Mitsubishi 6D16TLEA Tadano Crane

TIMINGGEARS

� Special tools Unit: mm

Location

2, 4 Gear Puller

Tool name and shape

Idler Gear Bushing Puller

� A B No. 1 idler

3, 11 gear bush- <I> 37 <!>40 ing No. 2 idler gear bush- <)>32 <I> 35 ing

Part No. Application

MH061326

02065

Removing No. 1 idler shaft and gear

<NO. 1> MH062601

<No.2> MH061779

02066

Removing and fitting idler gear bushings

13 Idler Shaft Puller

M8 X 1.5 02067

MH062405

Removing No. 2 idler gear shaft

♦ Service procedure

• Pre-disassembly inspection

(1) Gear backlash

For each gear pair, measure backlashat three or more points. If any measurement exceeds the specified limit, replace the defective part(s).

(2) Idler gear end play

Ifthemeasurementexceedsthespecifiedvalue, replacethedefective part(s).

11-56
02284 02069

[I] @] No. 1 idler shaft and No. 1 idler gear bushing

[Inspection]

Iftheclearanceexceedsthespecifiedlimit, replace the defectivepart(s}.

No. 1 idler gear bushing

[Removal]

A: Press

[Installation]

• Usingthe[&]IdlerGearBushingPuller,presstheNo. 1idlergearbushing3intotheNo. 1idlergear4fromthesideofthegearwhoseinternal diameteris chamfered B.

A: Press

• Afterinstallation,measuretheclearanceagain. Ifthemeasurementis below thenominal value range, ream the bushing 3.

[I] [iJ Removing No. 1 idler shaft and No. 1 idler gear

Loosen the bolt 1 byapproximately 15 mm, thenremove the No. 1 idler shaft 2 and No. 1 idler gear 4 as asingleunit.

[iJ [gj Installing No. 1 and No. 2 idler gears

Fitthe No. 1 and No. 2 idlergears 4, 12 such that theiralignment marks ("1","2","3","4")arealignedwiththoseonthegearswithwhichtheymate.

*1: Drive gear

*2:Camshaft gear

*3:Crankshaft gear

E8 3
♦ �02576 *3 3 12 I 4 02577 02578 02070 02074
B
11
ll-57

◊ A

ffi] � No. 2 idlergear bushing and No. 2 idlershaft

[Inspection]

Iftheclearanceexceedsthespecifiedlimit,replacethedefectivepart(s).

No. 2 idlergear bushing [Removal]

A: Press

[Installation]

• UsingthelgIdlerGearBushingPuller,presstheNo.2idlergearbushing11 intotheNo.2idlergear12fromthesideofthegearwhoseinternaldiameter is chamfered B.

A: Press

• Afterinstallation, measuretheclearanceagain. Ifthemeasurementis belowthe nominalvalue range, ream the bushing 11.

� Removing No. 2 idlershaft

TIMINGGEARS 02580
12 02581 02075 ll-58
11
11-59
MEMO

TIMINGGEARS

<With Flywheel PTO>

• Disassembly sequence

1 Bolt

2 O-ring

3 No.1idlergearbushing

4 No.1idlergear

5 No.1idlershaft

• Assembly sequence

Reversetheorderofdisassembly.

Service standards

6 Thrustwasher

7 No. 2 idlergearbushing

8 No. 2 idlergear

9 No. 2 idlershaft

*3

*1:Drivegear

*2: Camshaftgear CD P.11-64

*3: Crankshaftgear CD P.11-72

*4: Thrustplate CD P.11-48

0: Non-reusablepart

Standardvalue /
*2
16940
Unit:mm Location Maintenanceitem (Basicdiameterin[]) Limit Remedy - Gear BetweenNo.1idlergearandcrank- 0.07to0.20 0.35 Replace backlash shaftgear BetweenNo.1idlergearandNo.2 0.10to0.22 0.35 Replace idlergear BetweenNo.1idlergearanddrive 0.10to0.20 0.35 Replace gear BetweenNo.2idlergearandcamshaft 0.12to0.26 0.35 Replace gear 3,5 No.1idlershaft-to-gearbushingclearance [40]0.03to0.07 0.2 Replace 4 No.1 idlergearendplay 0.1to0.6 1.0 Replace 7,9 No.2idlergearbushing-to-shaftclearance [32]0.01to0.05 0.2 Replace 8 No.2idlergearendplay 0.05to0.20 0.4 Replace 11-60

0

Tightening torques

Location Parts to be tightened

Tightening torque

Unit: N·m {kgf·m}

Remarks

1 No.1 idlergearmounting bolt 14 to17 -

� Oils

Location Pointsof application Kinds Quantity

2 0-ring Engineoil Asrequired

Special tools

Location Toolnameandshape

IdlerGear Bushing Puller

� A B

No.1 idler

3, 7 gear bush- <j>40 <j>44 ing

No.2 idler gearbush- <j>32 <j>35 ing

Unit: mm

Part No. Application

<NO.1> MH061228 <No.2> MH061779

Removingandfitting idler gearbushings

♦ Service procedure

• Pre-disassembly inspection

(1) Gear backlash

For each gearpair, measure backlash atthree or more points. If any measurement exceeds the specified limit, replace the defective part(s).

(2) No. 2 idler gear end play

Iftheendplaymeasurementexceeds thespecifiedvalue, replacethe defective part(s).

11
02068 02077
11-61

TIMING GEARS

[I][[] No. 1 idler gear bushing and No. 1 idler shaft

[Inspection]

Iftheclearance exceeds the specifiedlimit, replace thedefective part(s).

,No. 1 idler gear bushing

[Removal]

TheNo. 1 idlergear bushing3consistsoftwoparts. Pressout bothparts 'together.

A: Press

[Installation]

• Using the � Idler Gear Bushing Puller, press each part of the No. 1 idlergear bushing3into the No. 1 idler gear 4 from its respectiveside of the gear.

A: Press

• After installation, measure the clearance again. If the measurement is below the nominal value range, ream the bushing 3.

[1] No. 1 idlergearend play

Measure thedimensions shown in the illustration and determine the end play D usingthe formula shownbelow. If theend play exceedsJhe specified limit, replace the defective part(s).

D = 72.15 mm - (A + B + C)

[1][!] Installing No. 1 and No. 2 idler gears

FittheNo. 1 andNo.2idlergears4,8suchthattheiralignmentmarks ("1", "2", "3", "4") are aligned with those on the gears with which they mate.

*1 : Drive gear

*2: Camshaft gear

*3: Crankshaft gear

11-62 02582
02583
02584
EB {> A
3 3
4

[i) [fil No. 2idler gear bushing and No. 2idlershaft

[Inspection]

Iftheclearanceexceedsthespecifiedlimit,replacethedefectivepart(s).

No. 2 idlergear bushing [Removal]

A:Press

[Pressfitting]

• Usingthe�IdlerGearBushingPuller,presstheNo.2idlergearbushing7intotheNo.2idlergear2fromthesideofthegearwhoseinternal diameteris chamfered B.

A:Press

• Afterinstallation, measuretheclearanceagain. Ifthemeasurementis belowthenominalvaluerange, ream the No.2 idlergear bushing7.

02580 ◊ A 02581
11
11-63

Mitsubishi 6D16TLEA Tadano Crane

CAMSHAFT

6

• Pre-disassembly inspection 0: P.11-66

• Disassembly sequence

1 Engine speed sensor <models with electric speed sensor>

2 Adapter <models with electric speed sensor>

Tachometer drive case <models with mechanical tachometer>

3 O-ring

NOTE

4 Pulserotor <modelswith electric speed sensor>

Tachometer drive coupling <models with mechanical tachometer>

5 Side cover

6 Camshaft assembly

7 Bolt

8 Camshaft gear

9 Thrust plate

• Do not remove the engine speed sensor 1 unless defects are evident.

• Do not remove the camshaft gear 8 unless defects are evident.

• Assembly sequence

Reverse the order of disassembly.

<Withelectricspeedsensor>

<Withmechanical

*: Crankcase CD P.11-72

0 : Non-reusable part

18061

-----i�JJ� ·� ir,f
0
11-64
10 Key 11 Camshaft 12 No. 4 camshaft bushing 13 No.3 camshaft bushing 14 No. 2 camshaft bushing 15 No. 1 camshaft bushing
� tachometerdrive>

Mitsubishi 6D16TLEA Tadano Crane

Servicestandards

1

0 Tightening torques

Parts to be tightened

1 Engine speedsensor <modelswith electricspeed

sensor> 4 Pulserotor <modelswith electricspeed sensor>

Oils and sealants

Location Pointsof application

1 Engine speedsensorthreads <modelswith electric speed

sensor>

5 Crankcase mounting surfaceof sidecover

to 15

surfaces of camshaftbushings

1104J

1207C

11
Unit: mm Location Maintenance item Standard value Limit Remedy (Basicdiameterin [ ])
sensor
25°C) 2.3±0.2kQ - Replace 6 Camshaftassemblyend play 0.05to 0.22 0.4 Inspect each part 11 Camshaft Camlift Inlet 6.901 6.40 Lobe height: 49.011 Base circle diameter: 42.110 Exhaust 7.680 7.18 Lobe height: 49.307 Basecircle diameter: 41.627 Bend 0.02orless 0.04 Replace 11, Camshaftjournal-to-camshaft No. 1journal [57.75] 0.05to 0.1o 0.25 Replace 12 to 15 bushing clearance No.2journal [58.00] 0.05to 0.10 No.3journal [58.25] 0.13 to 0.18 No.4journal [58.50] 0.05to 0.10
Resistance of engine speed
(at
Unit: N ·m {kgf·m}
Tightening torque Remarks
Location
29± 5.9{3.0±0.6} -
98
0}7
175
{1
Camshaftgearmounting bolt
{18}
Kinds Quantity
Threebond
Asrequired
Threebond
As required 11
Engineoil Asrequired 12
Inside
Engineoil Asrequired 11-65
Camshaftjournals

CAMSHAFT

[g Special tools

Tool name and shape

Part No.

MF665007

M10 X1.25

02082

.Bear!RIJIler

MH061326

CCarrn!lrr.attiBmllnimgitm:ltaller and·Extractor

� A,Cdimension

1

2

3

4

62.25

62.75

Bdimension

58.00

58.25

58.50

Unit: mm Application

Blankingplugforuse whenremovingcamshaftgear

Removingcamshaft gear

02065

Service procedure

MH062025

Removingandinstallingcamshaftbushings

• Pre-disassembly inspection Camshaft end play

Iftheendplaymeasurementexceedsthespecified limit, replacethedefective part(s}.

OJ Inspecting engine speed sensor

<6D16-TLEA electric speed sensor>

• Measuretheelectricalresistance betweenterminalsCD andCg)_

• Ifthemeasurementisoutofspecification, replacethespeedsensor 1. [O Gr11

CAUTION_&----

Check the tightening torque of the engine speed sensor 1. If the sensor is insufficiently tightened, it may not produce signals.

Location
8
Plug
-�
12 to
<!>62.00 No.
<!>
No.
<!>62.50 No.
<!>
11-66
15 No.
<!>57.75 <!>
<I>
<I>
02084 03674

[fil Fitting side cover

• Applyaneven, unbrokenbead of sealant A to the sidecover 5.

• Fitthesidecover5ontothecrankcasewithin3minutesofapplyingthe sealantA.

CAUTION&----

• Ensure that the sealant application surface of the side cover 5 is clean before applying sealant.

• When fitting the side cover5, hold it firmly in position to prevent spreading the sealant.

• After fitting the side cover5, wait at least an hour before starting the engine.

• ApplyanewbeadofsealantA wheneverthemountingboltsofthe side cover 5 have been loosened.

[§] Camshaft assembly

[Removal]

• Whenremovingthecamshaftassembly6, takeoffthesidecover5and supportthecamshaftbyhand.

• RemovetheboltsAfromthecamshaftgearholes,thenslowlyremove thecamshaftassembly6.

CAUTIONLt._-------------

Takecarenottodamagethe camshaft bushings12to 15 when removing the camshaft assembly 6.

[Installation]

• Before installingthecamshaftassembly 6, measuretheend play betweenthethrustplate 9 andcamshaft 11.

• Ifthe measurementexceedsthe specifiedlimit,replacethedefective part(s).

• With thealignment marks lined up onthecamshaft gear 8 and No. 2 idler gear, fitthecamshaftassembly. OJ P.11-57

[!] Camshaft gear

[Removal]

CAUTIONLt._---------

The camshaft gear 8 must be removed with the appropriate special tools. Do not tap off the camshaft gear since this would damage it.

�a:Gear Puller

�b: Plug

<)> 1.5 mm � 5 6D16-TLEA A ----5 ( 18062 02086 9 11 02092 02088 11
11-67

CAMSHAFT

A

[Installation]

• Fitthecamshaftgear8ontothecamshaft11inthedirectionillustrated.

• Donot forgettofit the key10.

[DJ Inspecting camshaft

(1) Camlift

Ifanybasecircle-to-lobeheightdifferenceislessthantherequiredvalue, replacethe camshaft11.

NOTE

Sincethecamsaretapered,theymustbemeasuredattheposition Ashowninthediagram.

B:Lobeheight

C: Basecircle diameter

D: Frontofengine

(2) Camshaft bend

Supportthecamshaft11atitsNo. 1 journalEandNo.4journalF,then takemeasurementsattheNo.2journalGandNo.3journalH.Ifeither measurement exceeds thespecified limit, replacethe camshaft.

NOTE

Turn the camshaft 11 through one revolution. One-half of the dial indicator reading representsthe camshaft's bend.

[DJ to� Camshaftandcamshaft bushings

[Inspection]

Ifanyclearanceexceedsthespecifiedlimit,replacethedefectivepart(s).

NOTE

Measure the camshaft bushings 12 to 15 with the camshaft installed in the crankcase*.

A
11714
H ✓-/ /, //// // / / 04108 02093 11-68
02090

"1", "2" "3", "4"

Camshaft bushings

Removal and installation of camshaft bushings should be carried out using the [&] Camshaft Bushing Installer and Extractor. Each guide of the toolisstamped withan identification mark ("1", "2", "3", "4") in the position shown. Use correct adapter and/or guide piece to remove and install a bushing according to the table below.

Bushing No. (from front of engine) Identification mark

<Components of [&] Camshaft Bushing Installer and Extractor>

A: Rod

B: Camshaft bushing adapter

C: Guide piece

D: Nut

"1", "2" "3", "4"

[Removal]

Remove the No. 4 and No. 3 camshaft bushings 12, 13 from the rear of the engine. Remove the No. 2 and No. 1 camshaft bushings 14, 15 from the front of the engine.

[&]: Camshaft Bushing Installer and Extractor

[Installation]

• IdentifytheNo. 1 toNo. 4camshaftbushings12to15fromtheir identificationmarks ("1","2","3","4")inaccordancewiththetablebelow. Ifany bushing'sidentification markisunclear, identifythe bushingfrom itsinternal diameter E.

Bushing No. Identificationmark Internal diameter (fromfrontof engine) (mm)

13020 12 to 15
12 to 15 02094 11741 11
No.1 1 No.2 2 No.3 3 No.4 4
No.1 1 q>57.75 No.2 2 q>58.00 No.3 3 q>58.25 No.4 4 q>58.50 11-69

CAMSHAFT

• Install the bushings 12to 15 by using all components of the �CamshaftBushing Installerand Extractor (rodA, camshaft bushingadapter B, guide piece C and nut D).

• Installthecamshaftbushings 12to15inthefollowingorder: No. 3, No. 4, No. 2 and No. 1.

NOTE

•tnstalltheNo.3andNo.4camshaftbushings12,13fromtherear of•the engine. Install the No. 1 and No.2 camshaft bushings 14, 15 from the frontoftheengine.

• Ensure that the oil holes F in the No. 1 and No. 4 camshaft bushings 15, 12 are aligned with the oil holes Gin the crankcase. With the No. 4camshaftbushing, ensurealsothatthelongeroilhole Histowardthe :rear of the engine.

J: Bushing clinch joint

�: Camshaft Bushing Installer and Extractor

04109 11-70
11
11-71
MEMO

Mitsubishi 6D16TLEA Tadano Crane

CRANKSHAFT AND CRANKCASE 0

• Pre-disassembly inspection 0::: P.11-75

• Disassembly

� 7
type> 1 0 2
<Viscous
sequence 1 Bolt 2 Crankshaftpulley 3 Bolt 4 Torsionaldamper 5 Front coverassembly 6 Frontoil seal 7 Frontcover
Reverse
11-72 8 Bolt 9 Lowermainbearing 10 Mainbearing cap 11 Thrustplate 12 Crankshaftassembly 13 Frontoilseal slinger 14 Rearoil sealslinger 15 Crankshaft gear 16 Crankshaft 17 Uppermainbearing 18 Crankcase 0: Non-reusable part 18070
• Assembly sequence
the orderofdisassembly.
6D16TLEA
engine parts contact: Email: engineparts2@gmail.com Phone: 269 673 1638 Text: 267 760 8652
Mitsubishi
Tadano Crane

Mitsubishi 6D16-TLEA Tadano

0

torques

r0, Oils and sealants

Crankcasemounting surfaceoffrontcoverassembly

Frontoilseal lip

Bolt threads

11 Service standards Unit: mm Location Maintenance item Standard value Limit Remedy (Basic diameter in [ ]) 9, 17 Mainbearing Oil clearance 0.05to0.10 0.15 Replace Spanwhenfree - Lessthan Replace 85.5 16 Crankshaft Endplay 0.10to0.25 0.4 Replace Bend 0.05 orless 0.1 Corrector replace Pin andjournal Roundness 0.01 orless 0.03 Correct or replace Cylindricity 0.006 orless - Correct or replace 18 Distortionofcrankcasetop surface 0.07orless 0.2 Replace
Unit: N·m {kgf·m} Location Parts to be tightened Tighteningtorque Remarks 1 Crankshaftpulleymounting bolt 185(19}3 Torsionaldampermounting bolt 67 {8}8 Mainbearingcap mounting bolt 67 {8} +90° • Wet • Can bereused up to3 times
Tightening
Location Points
application Kinds Quantity
Threebond
Asrequired 6
Engineoil As required 8
Engineoil Asrequired 9,
Engineoil Asrequired 11-73
of
5
1207C
17 Mainbearinginside surfaces

CRANKSHAFT AND CRANKCASE

Removingmainbearingcaps

Fittingmainbearingcaps

Installingfrontoilseal

Installingrearoilseal slinger

<!>105.4

Removingcrankshaftgear

� Special tools Location 10 13 14 15 11-74 Main Bearing Cap Extractor Socket Wrench
Front OilSeal Slinger Installer
Tool name and shape Part No. MH061189
01984 MH062710
Rear OilSeal Slinger Installer Gear Puller
MH061560
<!>100 MH061470
02051
02065 Unit: mm Application
MH061326

Mitsubishi 6D16-TLEA Tadano

♦ Service procedure

• Pre-disassembly inspection

Crankshaft assembly end play

If the measurement exceeds the specified limit, replace the defective part(s).

[!] Torsional damper

<Viscous type>

CAUTION&_-------------

Leakageofsiliconoilfromthe caulkedseam A cancal,lsetheviscous-type torsional damper to stop functioning. Note the following points:

• Check that the caulked seam is free of gouges and other damage.

• Do not submit the torsional damper to shock by striking it with a hammer or dropping it.

• Do not roll the torsional damper or stack it with other units.

[]] Installing front cover assembly

• Applyaneven,unbrokenbeadofsealantAtothematingsurfaceofthe front cover assembly 5 tobe mounted to thecrankcase 20.

• Fitthefrontcoverassembly5 ontothecrankcase 20within3minutes ofapplying the sealant A.

CAUTION&_--------------

• Ensure that the sealant application surface of the front cover assembly 5 is clean before applying sealant.

• When fittingthe front cover assembly 5, hold it firmly in position to prevent spreading the sealant.

• After fitting the front cover assembly 5, wait at least an hour before starting the engine.

• Apply a newbead ofsealant A whenever the mounting bolt of the front cover assembly 5 have been loosened.

[fil [Izl Main bearings

[Installation]

Install the main bearings 9, 17 such that their lugs A fit into the correspondinggrooves.

CAUTION&_-------------

The uppermainbearing 17hasanoilhole 8. The lowermainbearing9 hasnooilhole.Takecarenottoconfusetheupperand lower parts.

02098 14933
11
11-75

CRANKSHAFT AND CRANKCASE

[Inspection]

CAUTION&--------------

• Do not attemptto manually expand either bearing 9, 17 if its span is insufficient.

• Upper and lower bearings 9, 17 must be replaced as a set.

(1) Span when free

Ifeitherbearing'sspanwhenfreeexceedsthespecifiedlimit, thebearings 9, 17 must be replaced.

(2) Main bearing-to-crankshaft clearance

•Fit the upper main bearing 17 into the crankcase 18 and the lower mainbearing9 into themainbearingcap10. Then, tighten thebolts 8 to their specified torque.

• Measure the internal diameters of the main bearings 9, 17 and the outside diameter A of the crankshaft journal. If the clearance exceeds the specified limit, replace the defective part(s).

[!QI Main bearing caps (Removal]

[Installation]

• Startingat thefrontof the engine B, fit the main bearingcaps 10 in the orderofthe numbers A embossed on them and such that the numbers are in the positions illustrated.

• The bolts 8 can be reused only three times. Before fitting the bolts, makeapunchmarkontheheadof eachbolttoindicatetimesofreuse.

CAUTION,&--------------

lf any bolt already has three punch marks, it must not be reused any more; replace it with a new one.

ll-76 18 9 10 16 A 02104 ��- 10 II �n:11 \ \ 02100 02103

• Tightenthebolts8tothespecifiedtorque. Then, turntheboltsfurther inaccordancewith thefollowingprocedure:

• Turntheholder CoftheI&] SocketWrench counter-clockwiseto tensionthebuilt-inspring.

D: Socket

E:Rod

F:Rod (extension)

• Setthesocketwrenchsuchthatthebuilt-inspringforceforcestherod Fagainstthecrankshaftassembly12.

• On theholderC, selecttheinscribedline G thatiseasiestto see.

• Usingtheselectedlineasareference,turnthesocketD90° clockwise. (Onegradationonthescale H represents5°.)

CAUTION,&.-------------­

Since the boltsutilize theplastic region tightening method, they must not be tightenedfurther after thisprocedure.

[iJ Installingthrustplates

Fitathrustplate 11 oneachsideofthemainbearingcaps10andatthe rearendofthecrankcase18such that the oil grooves Aareon the outside.

B: Locatingpin

NOTE

If oversize thrustplates11 are used, theymust be fitted on both sides of the bearing caps 10. Ensure that the bearing cap rear thrustplatesandtherearmostthrustplateinthecrankcase18are thesamesize.Note,however,thatthefrontandrearthrustplates on each bearingcapmay beofdifferentsizes.

� Installingfrontoilsealslinger

UsingtheI&]FrontOilSealSlinger Installer, drivethefrontoilsealslinger 13 onto the crankshaft 16 until the tool's end face A is pressed firmly againsttheguide B.

/ 12 E �/F G � 01991 12829 11731 13 ' ;A 16 11969 11
11-77

CRANKSHAFT AND CRANKCASE

� Installing rearoil seal slinger

Using the�Rear Oil Seal Slinger Installer, drive the rear oil seal slinger 14 onto the crankshaft 16 until it is pressed firmly against the end face A of the crankshaft gear 15.

[§ Removingand fittingcrankshaftgear

<M0dels without flywheel PTO> [Removal]

CAUTION.&_-----

Donottapoffthecrankshaft gear 15 since this could damage it.

�: Gear Puller

[Installation]

• Using a piston heater orthe like, heat the crankshaft gear 15to a temperature of approximately 100°c.

• Align the locating pin A on the crankshaft 16 with the notch B in the crankshaftgear 15. Then, drivethegearintoposition bystrikingitsend face with a plastic mallet.

<Models with flywheel PTO>

[Removal]

Screw the flywheel mounting bolts D evenly into the threaded removal holesCinthecrankshaft 16.Alternatively, removethecrankshaftgearusing the�Gear Puller.

CAUTION.&_-----

Do not tap off the crankshaft gearsincethis could damage it.

[Installation]

• Using a piston heater or the like, heat the crankshaft gear 15 to a temperature of approximately 100°c.

• Align the locating pin A on the crankshaft 16 with the dowel pin B on the crankshaft gear 15. Then, drive thegear into position bystriking its end face with a plastic mallet.

A 14 :_-i-� i /i, 1��-7!:'E:Emtill 16 15 D B 15 11-78 .. 02063 02110
02111
02113
15
02112

////, ///, / / /_, /// ///

� Crankshaft

[Inspection]

(1) Roundness and cylindricity of crankshaft journal and pin If either measurement exceeds the specified limit, replace the crankshaft 16 or grind it to undersize.

(2) Bend

• Supportthecrankshaft 16 at its No. 1 journalA and No. 7journal B. Measure theextent of bendingin the crankshaft at the centre of the No. 4journal C.

• If the measurement exceeds the specified limit, replac!:) the crankshaft.

NOTE

With the dial indicator applied to the centre journal, turn the crankshaft16 through one revolution. One-half of the dial indicator reading represents the extent of bending.

[Rectification]

NOTE

If the crankshaft 16 is rectified by grinding, the main bearings 9, 17 must be replaced with undersized ones.

• Grind such that the centre-to-centre distance F between thejournal D and pin E does not change.

F:57.5 �ggJ;mm

• Grind such that the journal width G and pin width H do not change.

G:37 mm

H:42 +g-2 mm

• Finish the corner fillet smoothly and to the specified radius J.

J: R4 ±0.2 mm

• Carryoutamagneticinspectiontocheckforcrackscausedbygrinding. Also, checkthattheShorehardnessofthesurfacehasnotdroppedbelow Hs 75.

11
G
16 04110 02107
11-79
Mitsubishi 6D16TLEA

GROUP 12

LUBRICATION SPECIFICATIONS ............................................ 2 STRUCTURE AND OPERATION ............................... 3 TROUBLESHOOTING......................................... 11 ON-VEHICLEINSPECTIONAND ADJUSTMENT • Oil Filter Replacement . . . . . . . . . . . . . . . . . . . . . . . . . . . . . . . . . . . . . . . . . . . . . . . 12 • Engine Oil Replacement . . . . . . . . . . . . . . . . . . . . . . . . . . . . . . . . . . . . . . . . . . . . . 15 • Oil Pressure Measurement . . . . . . . . . . . . . . . . . . . . . . . . . . . . . . . . . . . . . . . . . . . 16 OIL PAN, OILJET, AND OILLEVEL SENSOR ................... 18 OIL PUMPAND OIL STRAINER................................ 20 OILFILTER .................................................. 24 <Spin-on Type> . . . . . . . . . . . . . . . . . . . . . . . . . . . . . . . . . . . . . . . . . . . . . . . . . . . . . . . . . . . . . . 24 <Replaceable-element Type> . . . . . . . . . . . . . . . . . . . . . . . . . . . . . . . . . . . . . . . . . . . . . . . . . 26 OILCOOLER ................................................ 28 REGULATOR VALVE ......................................... 30 12 12-1

SPECIFICATIONS

Item

Mode of lubrication

Oil filter type

Oil cooler type

Engine oil

Oil quantity dm3 {L}

Oil pan

Oil filter

General power applications

Construction machinery applications

Spin-on type

Replaceable-element type

Specifications

Oil pump type

Spin-on paper-filter type or replaceable-element type

Shell and plate type (multi-plate type)

Turbocharged engine: API CD or above

Non-turbocharged engine: API CC or above

Approx. 9.5 {9.5}

Approx. 16 {16}

2.1 {2.1}

2.3 {2.3}

12-2

STRUCTURE AND OPERATION

1 Engine oil pressure gauge unit

2 Main oil gallery

3 Bypass valve

4 Oil cooler

5 Engine oil bypass alarm switch

6 Full-flow filter element

7 Bypass filter element

8 Check valve (built into oil filter)

9 Bypass check valve (built into oil filter)

Relief valve (built into oil pump)

Oil pump

Oil strainer

Lubrication System (Oil Flow) 1 2 10 ��� 29 12
10
11
12
13 Regulator valve 14 Crankshaft main bearing 15 Connecting rod bearing 21 16 Connecting rod bushing 17 Check valve for oil jet 18 Piston 19 Injection pump 20 Air compressor (or injection pump drive) 21 Timing gears 22 Camshaft bushing 23 Rocker bushing 24 Push rod 25 Tappet 26 Idler gear shaft No. 1 27 Idler gear shaft No. 2 28 Turbocharger <6D14-T, 15-T, 16-T, 16-TL> 29 Oil pan 12 16887 12-3

STRUCTURE AND OPERATION

Oil Pump

2 01476

1 Crankshaftgear

2 Oil pumpgear

3 Oil pump

4 Oil strainer

5 Reliefvalve

A:Tooil filter

B: From oil pan

C:To oil pan

Oilpump3 isageartype. Itisdrivenbyrotationofthecrankshaft via crankshaft gear 1 andoil pump gear 2.

Relief valve 5 is fitted to the oil pump. When the oil pump discharge pressure exceeds a specified level, the relief valve returns some of the engine oil to the oil pan, thus protecting the lubrication system from excessive oil pressure.

Oil Filter

<Spin-on type>

2

1 Full-flow filterelement

2 Bypass filterelement

3 Engine oil bypass alarm switch

4 Checkvalve

5 Bypasscheckvalve

A:To oil cooler

B: From oil pump

C:To oil pan

Thisoilfilterisaspin-onpaper-filtertype incorporatingfull-flow filter element 1 and bypass filter element 2.

Engineoilbypassalarmswitch3 isfittedtotheoilfilterbracket.

If clogging causesthepressuredifference before andafterthe element to exceed a specified level, a valve inside the switch opens to allow oil toflow directly to the oil cooler.

Checkvalve4isfittedtotheinletto prevent a reverseflowofoil outofthefilterwhentheengineisstationary Inconjunctionwith this, bypass checkvalve 5 opens only when oil pressure inthe bypass arrangement exceedsa specified level. Asaresult, the oil level in the filter iskept constant and oil reaches all partsof the lubrication system quickly when the engine is started.

12-4
·ff!/
01477

<Replaceable-element type> 4

Oil Cooler

1 Full-flow filterelement

2 Bypass filter element

3 Engineoilbypassalarm switch

4 Checkvalve

A:Fromoilpump

B:Tooil cooler

C: Tooilpan

Thisoilfilterisaspin-on paper-filtertypeincorporatingfull-flow filterelement 1 andbypass filter element 2.

Engineoilbypassalarmswitch3isfittedtotheoilfilterbracket. Ifcloggingcausesthepressuredifferencebeforeandafter the element to exceed a specified level, a valve inside the switch openstoallowoil toflowdirectly totheoilcooler.

Checkvalve4isfittedtotheinlettopreventareverseflowofoil outofthefilterwhentheengineis stationary. Thisensuresthat theoillevel in thefilter remains constant suchthatoil reaches all parts of the lubrication system quickly when the engine is started.

01478

1 Oilcooler cover

2 Oilcooler element

3 Bypass valve

A:Tomainoil gallery

B: From oilfilter

04342
12
12-5

STRUCTURE AND OPERATION

• Bypass valve

When oil viscosity is high at low temperatures or the element is clogged, flow resistance increases. When this happens, bypass valve 3 opens to allow engine oil to return to the main oil gallery without passing through the cooler.

A: To main oil gallery

B: From oil filter

Lubrication of Related Parts

1 Crankcase

2 Regulator valve

A:To oil pan

B: Main oil gallery

• Regulator valve

Whenthe pressure of oil going to main oil gallery B drops below a specified level, regulatorvalve 2 opens, allowing someof theoil to return to oil pan A. The oil pressure is thus constantly regulated.

Engineoil fed tothe main oil gallery lubricates the following related parts:

• Main Bearing and Connecting Rod Bearing

1 Connecting rod bushing

2 Connecting rod bearing

3 Crankshaft

4 Main bearing

A:Oiljet

B: Connecting rod oil passage

C: Main oil gallery

Oil supplied via the oil passage in crankshaft 3 flows through connecting rodoilpassage Bto lubricate theconnectingrod'ssmallend. Theoilthen sprays out of oil jet A at the top of the connecting rod to cool the piston.

• Oilpressure gauge/temperaturegauge circuit

1 Fuse box

2 Oil pressure gauge

3 Engine oil pressure gauge unit

4 Oil temperature gauge

5 Engine oil temperature sensor

01479
Regulator Valve 16888
C B \� 3 2 (� �01481
16890 12-6
Lubrication System Electric Circuit

• Timing gear and camshaft

1 Camshaftbushing No. 4

2 Camshaft

3 Idlergear No. 2

4 Idlergearbushing

5 Idlershaft No. 2

6 Idlergear No. 1

7 Idlergearbushing

8 Idlergear shaft No. 1

A: Torockerbushing

B: Frommain oilgallery

Engineoilflowsthroughtheinsideofcamshaft2andlubricateseachcamshaft bushing.

01482

<With flywheel PTO>

If a flywheel power take-off (PTO) is fitted, oil flows through an oil passage in the flywheel housingandspraysoutoftheoiljettolubricate PTO idlergear B 12.

9 PTO idlergearA

10 Idler No. 1

11 PTOidler shaft

12 PTO idler gear B

13 Oiljet

1
12
11 12 13 16889
12-7

STRUCTURE AND OPERATION

• Valve mechanism

1 Rocker shaft bracket

2 Rocker

3 Rocker shaft

4 Rocker bushing

5 Crankcase

6 Cylinder head

7 Cylinder head bolt

8 Push rod

9 Tappet

10 Camshaft

A: From camshaft bushing No. 4

B: Oil reservoir

C: To oil pan

After lubricatingrocker 2, thecamshaftbushings, andother components, oil enters oil reservoir B to lubricate the cams.

Mitsubishi 6D16-TLEA

• Check valve and oil jet

1 Piston

2 Oil jet

3 Check valve

A: Main oil gallery

Anoiljet2isfittedinthelowerpartofthemainoilgalleryAforeachpiston. These oil jets cool the pistons 1 by injecting oil into them. Each oil jet is fitted with a check valve that opens and closes at specified oil pressure levels. At low engine speeds, these check valves 3 close to maintain the required volume of oil in the lubrication system and prevent reductions in oil pressure.

Mitsubishi 6D16TLEA engine parts contact:

email: engineparts2@gmail.com

Phone: 269 673 1638

Text: 269 760 8652

2 3
10
01484
01485
12-8
01487

• Turbocharger

• Bearing housing

2 Snap ring

3 Piston ring

4 Bearing

A: From main oil gallery

8: To oil pan

Via an oil pipe, engineoilis delivered from the mainoil gallery tothe bearing housing 1 to lubricate the inside of the bearing housing. At each end of the turbine wheel shaft, piston ring 3 acts as an oil seal.

• Injection pump

1 Injection pump

2 Governor

3 Air compressor (or injection pump drive)

A: From main oil gallery

8: To oil pan

Engine oil that has lubricated injection pump 1 and governor 2 returns to the oil pan via the timer case, air compressor 3 (or injection pump drive), and timing gear train.

• Air compressor

1 Piston

2 Connecting rod

3 Crankshaft

4 Connecting rod bushing

5 Crankcase

A: From main oil gallery

8: To oil pan

Engine oil from the main oil gallery splashes onto connecting rod 2 and lubricates connecting rod bushing 4. Piston 1 and the connecting rod's small end are lubricated by oil that is splashed onto them by the rotation of the crankshaft 3.

1 2 4 01488 2 11107
12
12-9

STRUCTURE AND OPERATION

• Vacuum pump

Someoftheoilused tolubricatethe camshaftbushings is fed tothevacuum pump housing via a flexible hose. After lubricating the vacuum pump vanes, thisoilleavesviaanoutletatthebottomofthe housingand returns to the oil pan.

12-10
01491

TROUBLESHOOTING

Mitsubishi 6D16TLEA engine parts contact:

email: engineparts2@gmail.com

Phone: 269 673 1638

Text: 269 760 8652

12 Symptoms C1l C1l :§, .Q Remarks t:'. � 0 ::::, OJ (J) 5 .... C: (I) C1l � .... a. > (I) (I) ·o w C ..c Cl) ·o, (I) :;:: > 0 Possible causes w 0 ....J w Oil cooler elementinstalled poorly 0 0 0 Gasket defective 0 0 0 Oil cooler O-ring defective 0 0 0 Oil coolerelementclogged 0 0 Oilcooler element damaged 0 0 0 Fatiguein bypass valvespring 0 Oil pump malfunctioning 0 0 Interference between oil pump gear and oilpump caseor 0 0 cover Oil pump Oilpipepoorly fitted 0 0 Oil strainer clogged 0 0 Fatigue in relief valvespring 0 Oil filter fitted poorly 0 Oil filter Elementclogged 0 0 Fatigueincheck valve andbypass check valvesprings 0 O-ring defective 0 Front cover assem- Frontoil seal defective 0 COGr11 bly timinggear case Frontcover assemblyfittedpoorly 0 ClJGr11 Rear oil seal defective 0 CDGr11 Flywheel housing Gasket fitted poorly 0 OJGr11 Fatiguein regulator valve spring 0 Piston cooling oiljet(s) defective 0 Oil workingits
up intocombustion chamber(s) 0 CDGr11 Oil working its
down intocombustionchamber(s) 0 lJJGr11 Oil viscosity too high 0 Unsuitableoil quality 0 Deterioration in oil 0 Fuelmixed with oil 0 12-11
way
way

ON-VEHICLE INSPECTION AND ADJUSTMENT

Oil Filter Replacement

<Spin-on type>

O

Tightening torques

Location Parts to be tightened

Tightening torque

Unit: N · m {kgf· m}

Remarks

1 Oil filter drain valve <Upward-facing type> 30 ± 4.9 (3 ± 0.5} -

� Special tools

Location Tool name and shape

3 Oil filter wrench

<Upward-facing type> 3

01503

<Upward-facing type>

<Downward-facing type>

Unit: mm

Part No. Application MH061537

WARNING&_-

• Wipe up any spilled engine oil since it can cause a fire.

• Do not touch oil when the engine is hot since it can inflict severe burns.

CAUTION&_-------------­

When pouringoil into theengine, take care not to spill any on the V-belts. ContactwithoilcouldmaketheV-beltsslip,renderingthe cooling system less effective.

With an upward-facing oil filter, loosen drain plug 1 and air plug 2 in that order, then drain the oil out of filter 3.

[Removal]

16766
12-12 13311 11601
Oil filter removal

<Upward-facing type>

<Downward-facing type> A 16767

[Installation]

• Clean thesurface on oil filter head 4 that makes contact with oil filter 3.

• Apply afilm of engine oil to gasket area A of filter 3.

• Screwoilfilter 3 intooilfilterhead 4 untilgasketarea A touchestheoil filterhead.

• Tighten filter 3 by afurther 1 1/8 to 1 3/a of aturn.

• Fit oilfilterdrain valve 1.

• Start the engine andcheck that no oil leaks from gasket area A.

• Check theengine oil level and add oil if necessary.

12
12-13

ON-VEHICLE INSPECTION AND ADJUSTMENT

<Replaceable-element type>

0

Tightening torques

Location Parts to be tightened

1 Oil filter drain valve

4 Center bolt

Unit:

Tightening torque Remarks

29 ± 4.9 (3.0 ± 0.5} -

54 ± 4.9 (5.5 ± 0.5} -

3

WARNING&

• Wipe up any spilled engine oil since it can cause a fire.

• Do not touch oil when the engine is hot since it can inflict severe burns.

CAUTION&--------------

When pouring oil into the engine, take care not to spill any on the V-belts. ContactwithoilcouldmaketheV-beltsslip, renderingthe cooling system less effective.

With a downward-facing oil filter, loosen drain valve plug 1 and air plug 2 in that order, then drain the oil out of filter 3.

[Removal]

4 Center bolt

5 0-ring

6 Filter case

7 0-ring

8 Set spring

9 Element

10 Filter btacket

[Installation]

Wash all components other than the element in cleaning solvent, then fit the filter in the opposite order from that in which it was removed.

CAUTION&--------------

• If O-ring 7 is twisted when fitted, it may be severed.

• Element 9 cannot be washed and reused.

10
12-14
1 16768
16769
· m}
N · m {kgf

Engine Oil Replacement

0 Tightening torques

Unit: N ·m {kgf · m}

Location Parts to be tightened Tightening torque Remarks

2 . Oil pandrainplug 7 -

3 Oil filterdrainvalve 30 ± 4.9 (3 ± 0.5} -

� Lubricants

Location Points of application Kinds Quantity

- Oil pan dm3 {L}

- Oil filterdm3 {L}

<Upward-facing spin-on type>

1

Generalpowerapplications Non-turbochargedengines: API CC orabove Approx. Turbochargedengines: API CD orabove 9.5 (9.5}

Construction machinery ap-

plications

Spin-ontype Non-turbochargedengines: API CC orabove

Replaceable-elementtype

Turbocharged engines: API CD or above

(2.1}

(2.3}

WARNING,&-------------

• Wipe up any spilled engine oil since it can cause a fire.

• Do not touch oil when the engine is hot since it can inflict severe burns.

CAUTION,&--------------

When pouringoil into theengine, take care notto spill any on the V-belts. Contactwithoilcouldmakethe V-beltsslip, rendering the cooling system less effective.

<Downward-facing spin-on type>

1

<Replaceable-element type>

1

[Draining]

• Warm up the engine, then remove oil filler cap 1.

• Removeoilpandrainplug2, oilfilter drainvalve3, andairplug4.Then, drain the engine oil.

[Filling]

Tighten oil pan drain plug 2 and oil filter drain valve 3 to their specified torques, then pour the specified quantity of engine oil into the engine. 12-15

12
Approx.
16 (16}
2.1
Approx.
Approx. 16770 16771 16772
2.3

ON-VEHICLE INSPECTION AND ADJUSTMENT

Oil Pressure Measurement

Service standards

Location Maintenance item

- Oil pressure (at At no-load minimum speed

Standard value

Unit: MPa {kgf/cm2}

Limit Remedy

0.1 (1.0} orhigher Up to 0.1 Adjust oil temperature (1.0} 70 to 90°C) At no-load maximum speed

0.2 to 0.6 (2.0 to 6.1} Up to 0.2 (2.0}

0 Tightening torque

Location Parts to be tightened

Unit: N ·m {kgf·m}

Tightening torque Remarks

1 Engine oil pressure gauge unit 15 to 22 (1.5 to 2.2)

� Sealant

Location

1

Points of application

Wrap around thread ofengine oil pressure gauge unit

Check with engine cold

Kinds Quantity

Teflon tape 31/2 turns 1 16773 PT1/8 16774

• Remove engine oil pressure gauge unit 1.

• Fit adapter 3 onto the engine oil pressure gauge unit mounting, then fit the oil pressure gauge onto the adapter.

• Warm up the engine until the oil temperature reaches 70 to 90°C.

• Measure the oil pressure at no-load minimum speed and at no-load maximumspeed. Ifthe measured valuesarebelow the specifiedstandard values, overhaul the lubrication system.

• After taking measurements, fit oil pressure gauge unit 1 and tighten it to the specified torque.

NOTE

Oil pressure gauge unit 1 must be fitted with the engine cold.

12-16
I 12 I MEMO 12-17

OIL

PAN, OILJET, AND OIL LEVEL SENSOR

• Disassemblysequence

1 Drain plug

2 Oil pan

3 Engine oil temperature sensor

4 Check valve

5 Oil jet

*: Crankcase [D Gr11

A: Locating pin

0: Non-reusable part

• Assemblysequence

Reverse the orderof disassembly.

CAUTION,&-------

Donottightencheckvalve4inexcessof the specified torque. Excessive tightness can cause defective operation, resultinginscorchingof theengine.

0 Tightening torques

Location Partsto be tightened

1 Drain plug

3 Engineoil temperature sensor

4 Check valve

� Sealant

Location Points of application

2 Crankcasemountingsurfaceofoil pan

Service standards

Figuresin parentheses are approximate.

Mitsubishi 6D16TLEA engine parts contact:

email: engineparts2@gmail.com

Phone: 269 673 1638

Text: 269 760 8652

Unit: N·m {kgf

m}

Location
3 Resistance of engine oil temperature 50°C sensor (between ternimalG) and body) 80°C 100°c
Maintenance item
12-18 16775
·
Tightening torque Remarks 69 {7}34±6.9 {3.5± 0.7}34 {3.5}Kinds Quantity THREEBOND 1207C Asrequired Standardvalue Limit Remedy (136Q) - Replace 48±5 Q27.2±2 QMitsubishi 6D16TLEA Tadano Crane Service Manual

♦ Service procedure

[I] Fitting oilpan

• ApplysealantAtothemountingsurfaceofoilpan2asillustrated. Apply thesealantevenlyand without breaks.

• WithinthreeminutesofapplyingsealantA,fitoilpan2ontothecrankcase*.

CAUTION_&-------------

• Clean the oil pan mounting surface and ensure it is free of oily substancesbefore applying sealant A.

• Carefullymount oilpan2 exactlyinthecorrectposition. Ensure that sealant Adoes not spreadto otherareas.

• Afterfittingoilpan2,waitatleastonehourbeforestartingtheengine.

• ReapplysealantAwhenevertheoilpanmountingboltshavebeen loosened.

@] Engine oiltemperaturesensor

• Place engine oiltemperaturesensor3 in acontainerofengine oil.

• Heattheengineoiluntilitreacheseachofthetemperaturesintheservice standardstable.

• Ateach of the given temperatures, measure theelectrical resistance betweentheengineoiltemperaturesensor'sterminalCDandbody(2)_

• If the resistance values do not match those in the service standards table, replace theengine oil temperaturesensor3.

Mitsubishi 6D16TLEA engine parts contact: email: engineparts2@gmail.com

Phone: 269 673 1638

Text: 269 760 8652

2 A \ �i 1.5mm 11115
03868
12
12-19

OIL PUMPAND OIL STRAINER

• Inspection before disassembly

CI P.12-21

• Disassembly sequence 1 Oil strainer

Oil pipe

Oil pumpassembly

*1 : Crankcase CI] Gr 11

*2: Crankshaftgear CI] Gr 11

A: Oilpump gear

B: Locating pin

0:Non-reusablepart

01497

• Do not remove parts #7 to 10 unless they are defective.

• Gear and case assembly11 is anintegratedunit and cannot be disassembled. If any defect isapparent, replace the whole unit.

• Do not remove oil strainer 1 and oil pipe 2 from oil pump assembly 3 unless they are defective. Remove those three as a unit.

• Assembly sequence

Reverse the orderofdisassembly.

3
4
5
6 Driven gearassembly 7
NOTE 8 Relief valve 9 Relief valvespring 10 Washer 11 Gearand case assembly 12
2
Bolt
Cover
Ring
Shim
3
12-20

6,11

Replace diameter ofcase andcover

ofcase

8 Relief valveopeningpressure 980to 1175 kPa {1Oto 12kgf/cm2} - Replace

9 Reliefvalve springload (installedlength = 30) 84N {8.6kgf} - Replace *2, A Backlash betweenoilpumpgearandcrankshaft

0.18

Adjustwith gear shims I

0

Tightening torque

4

to betightened

{kgf·m}

torque

25± 4.9{2.5± 0.5} -

♦ Service procedure

• Inspection before disassembly

Measurethe backlash betweenoilpumpgear Aandcrankshaftgear *2. Iftheamountof backlashexceedsthespecified limit, adjustitwithshims 12.

Shim thickness Change in amount of backlash 0.1mm 0.073mm 0.2mm 0.146mm

NOTE

Shim 12musthave the same thickness on the left andrightsides.

5"' EB EB 6

11

W [§] [DJ Inspection of cover, driven gear assembly, and gear and case assembly

Measuretheclearance betweeneachgear shaft andtheinternal diameters of the cover and case

12 Service
Unit: mm Location Maintenanceitem Standard value Limit Remedy (Basic diameter in [ ]) 5, 11 Clearance betweendrivegearshaftandinnerdi- [20] 0.04to 0.07 0.15 Replace
5,
Clearance between
[20]
0.15
6,
Clearance between
0.10to
0.2
Difference between heightof eachgearand depth 0.06to 0.11 0.15
standards
ameter ofcover
driven gearshaftand inner
0.04to 0.07
11
caseandtoothtipsofeach
0.19
Replace gear
0.08to
0.35
Location
Oil
Unit: N ·m
Parts
pumpcovermounting bolt
A
01499 Tightening
Remarks
12-21

OIL PUMPAND OIL STRAINER

[I] G] Inspectionofdrivengearassemblyandofgearandcaseassembly

(1) Differences between gear heights and case depth

Replace any component whose measurement is out of specification.

(2) Clearance between gear teeth and case

Replace any component whose measurement is out of specification.

12-22
I 12 I
12-23
MEMO

OIL FILTER

<Spin-on type>

<Upward-facing>

<Downward-facing>

Mitsubishi 6D16TLEA engine parts contact:

email: engineparts2@gmail.com

Phone: 269 673 1638

Text: 269 760 8652

• Disassembly sequence

1 Oil filterdrain plug

2 Oil filterQJ P.12-12

3 Engineoilbypass alarm switch

4 O-ring 5 Airplug

6 Oil filterhead

7 Spacer (downward-facing filteronly)

8 O-ring

*:Oil coolerQJ P.12-28

O:Non-reusable part

• Assembly sequence Reversetheorderof disassembly.

16777 12-24

WARNING&.-------------------------

• Wipe up any spilled engine oil since it can cause a fire.

• Do not touch oil when the engine is hot since it can inflict severe burns.

CAUTIONL'.1,.

Whenpouring oil into the engine,take care not tospill any on the V-belts. Contactwith oil could make the V-belts slip, rendering the cooling system less effective.

Service standards

Location Maintenanceitem Standardvalue Limit Remedy

3 Engineoil bypass alarmswitchvalveopeningpres- o.19jj05 MPa{1.9+065 kgf/cm2} - Replace sure

0

Tightening torques Unit: N·m {kgf·m}

Location Parts to betightened

1 Oilfilter drainvalve

� Lubricant

Location

2 7

±4.9{3.0±0.5}Downward-facing

±2.0{0.8±0.2} -

3 Engineoil bypassalarm switch 49±4.9{5.0±0.5} -

Points ofapplication Kinds

Applythinfilm tooilfiltergasketarea[_[] P.12-12

Applyto O-rings

Engineoil Asrequired

Engineoil Asrequired

♦ Service procedure

[]] Inspection of engine oil bypass alarm switch

Carry out the following inspections and replace the engine oil bypass alarmswitch 3 iftheresultsareunsatisfactory:

• With no air pressure A applied to engine oil bypass alarm switch 3, checkthatthereisnoelectricalcontinuitybetweentheterminalCDand body®oftheengineoil bypass alarm switch.

• StartingwithpressureofOkPa{O kgf/cm2}, graduallyincreasetheair pressure A onengineoilbypassalarmswitch 3. Notetheairpressure when electrical continuity appears between the terminalCD and body ®.Verifythatthispressureconformswiththespecifiedstandardvalue.

B:Air pressuregauge

12
Tightening
torque Remarks
30
Upward-facing
7.8
AQ
Quantity
CD 11312
12-25

OIL FILTER

<Replaceable-element type> 5

*

• Disassembly sequence

1 Oilfilterdrain valve

2 Airplug

3 Center bolt

4 0-ring

5 Filtercase

6 0-ring

7 Set spring Element

9 Engine oil bypass alarm switch

10 Filterbracket

11 0-ring

*:Oilcooler Q] P.12-28

0: Non-reusablepart

• Assembly sequence

Reverse the orderof disassembly.

WARNING&-------------------------

• Wipe up any spilled engine oil since it can cause a fire.

• Do not touch oil when the engine is hot since it can inflict severe burns.

CAUTION&------------------------­

When pouringoilintothe engine,takecarenotto spill anyontheV-belts. ContactwithoilcouldmaketheV-belts slip, rendering the cooling system less effective.

Service standards

Engineoilbypassalarmswitch

torques

to 0-rings

of

Mitsubishi 6D16TLEA engine parts contact: email: engineparts2@gmail.com

Phone: 269 673 1638

Text: 269 760 8652

16778
Location Maintenance item Standard value Limit Remedy 9
openingpres- 145+�O kPa {1.5+�S kgf/cm2} - Replace sure
Tightening
Unit: N·rm {kgf·m} Location Partsto be tightened Tightening torque Remarks 1 Oilfilterdrainvalve 29± 4.9 {3.0± 0.5}3 Centerbolt 54± 4.9 {5.5± 0.5}9
oilbypass alarmswitch 49± 4.9 {5.0± 0.5}�
Location Points
application Kinds Quantity 4, 6, 11 Apply
Engineoil Asrequired 12-26
valve
0
Engine
Lubricant

♦ Service procedure

� Inspection of engine oil bypass alarm switch

Carry out the following inspections and replace the engine oil bypass alarm switch 9 if the results are unsatisfactory:

• With no air pressure A applied to engine oil bypass alarm switch 9, check that thereis noelectrical continuity between the terminal(1) and body® of the engine oil bypass alarm switch.

• Starting with pressure of OkPa {O kgf/cm2}, gradually increas� the air pressure A on engineoil bypass alarm switch 9. Note the air pressure when electrical continuity appears between the terminal (1) and body �). Verifythatthispressureconformswiththespecifiedstandardvalue.

B: Air pressure gauge

G) c� 11312 12
12-27

OIL COOLER

Service standards

Maintenance item

1 Oil cooler bypass valve opening pressure

6 Oil cooler element air leakage (air pressure of 980 kPa {10kgf/cm2 } for 15seconds) 14 Operating pressure of engine oil pressure switch

0 Tightening torques

1 Bypass valve

Parts to be tightened

Oil cooler plug

Nut (oil cooler element mounting)

valve

• Disassemblysequence

1 Bypass valve 2 O-ring

3 Oil cooler plug

O-ring

Nut

Oil cooler element

O-ring

Oil cooler cover

Gasket

O-ring

O-ring

Regulator valve CO P.12-30

Engine oil pressure gauge unit

Engine oil pressure switch

*: Crankcase assembly CO Gr 11 0: Non-reusable part

• Assemblysequence

the order of disassembly.

Location
Locat�on
3
5
12
13 Engine
14 Engine oil
switch 12-28 16779
Regulator
oil pressure gauge unit
pressure
4
5
7
8
9
10
11
12
13
14
6
Reverse
Standard value Limit Remedy 295± 20kPa (3.0± 0.2kg/cm2 } -0cc - Replace 49± 9.8kPa (0.5± 0.1kgf/cm2 } - Replace Unit: N ·m {kgf·m} Tightening torque Remarks 20± 4.9(2.0± 0.5}25± 4.9(2.5± 0.5}20±4.9(2.0± 0.5}105± 9.8(11± 1}15to 22(1.5to 2.2}15to 22{1.5to 2.2}Mitsubishi 6D16TLEA engine parts contact: email: engineparts2@gmail.com Phone: 269 673 1638 Text: 269 760 8652

� Lubricant and sealant

Location

2,4,11

13,14

A Pointsofapplication

Applyto O-rings

Engine oil

Wraparoundthread ofengine oilpressure gauge unitand Teflontape

Kinds

Quantity

As required

1/2 turns engine oilpressure switch 01505

♦ Service procedure

• Cleaning

• Checkwhethercarbondepositsorsludgehaveaccumulatedintheoil passagesofoilcoolerelement6andoilcoolercover8orintheoilcooler'sbypassarrangement. Removeanydepositswithcleaningsealant.

• Cleanoutany waterscaleorfurthathasaccumulatedin theoilcooler element 6 or oil cooler cover 8. OJ Gr 14

[§] Inspection of oil cooler element

Plug outlet A of oil cooler element 6 and connect a hose to the oil inlet. Then, immerse the oil cooler element inatank of water.

Apply thespecified airpressureviathe hose and check that no airleaks fromthe oil cooler element.

If any air leaks, replace the oil cooler element.

� Engine oil pressure gauge unit

Iftheengineoilpressuregaugeunit 13 isinstalledhorizontally, itmustbe fittedwithits arrowpointingupward.

� Inspection of engine oil pressure switch

Carry out the following inspections and replace the engine oil pressure switch 14 ifthe results are unsatisfactory.

• Withnoairpressureappliedtotheengineoilpressureswitch 14, check that there is continuity between the terminal(1) and body <gl_

• Startingfrom0kPa{0kgf/cm2}, gradually applytheairpressureAand check that the air pressure when the continuity between the terminal (1) and body cg) disappears is withinthespecification.

B: Air pressure gauge

12
16886
3
12-29

REGULATOR VALVE

1 2

Service standards

Location Maintenance item

3 Regulator valve spring load (installed length = 48.3 mm)

- Regulator valve opening pressure

4

09189

• Disassembly sequence

1 Snap ring

2 Valve

3 Spring

4 Body

• Assembly sequence

Reverse the order of disassembly.

[Installation] ffi P.12-28

Standard value (Basic diameter in [ ]) 76 to 80 N {7.8 to 8.2 kgf}

390 ± 29 kPa {4.0 ± 0.3 kgf/cm2}

Mitsubishi 6D16TLEA engine parts contact:

email: engineparts2@gmail.com

Phone: 269 673 1638

Text: 269 760 8652

12-30
LimitRemedy-

GROUP 13 FUEL AND

13
CONTROL STRUCTUREANDOPERATION ............................... 4 TROUBLESHOOTING......................................... 16 ON-VEHICLEINSPECTIONAND ADJUSTMENT • Checking andAdjusting InjectionTiming ............................. 20 • Checking andAdjusting Minimum and Maximum No-loadSpeeds ...... 22 • Cleaning Fuel Feed Pump Gauze Filter ....................•.......... 23 FUELFILTER . . . . . . . . . . . . . . . . . . . . . . . . . . . . . . . . . . . . . . . . . . . . . . . . 24 SECONDARYFUELFILTER ................................... 26 WATER SEPARATOR ....................................•.... 27 INJECTIONPUMP ....................................•....... 28 INJECTIONPUMP DRIVE .............................•..•.••. 30 INJECTIONNOZZLE <1-spring Type>.........................................•..•.........• 34 <2-springType: Zexel> ........................................... Deleted <2-spring Type: Nippondenso>.................................... Deleted 13-1 I
ENGINE

Other Items

Fuelfiltertype

Item

Secondaryfuelfiltertype

Waterseparatortype

Specifications

Spin-on type (paperfilter)

Filterpapertype

Sedimenttrap type

13
13-3

STRUCTURE AND OPERATION

Tadano Crane Mitsubishi 6D16TLEA Fuel System

l• Fuel from thefuel tank 4is drawnupby the feed pump 5 andstrainedbythefuelfilter 2. The feedpumpisdrivenbya cam in the injection pump 6.

• Afterfiltration, fuelisfedto theinjectionpump 6. Fromthere, itisfedunderhighpressuretotheinjectionnozzles 1. The injectionnozzles spray the fuelintothecombustionchambers.

• Ifthefuelpressureintheinjectionpump6exceedsapresetlevel,theoverflowvalve7openstoallowexcessfueltoreturn to thefuel tank 4.

Mitsubishi 6D16TLEA engine parts contact: email: engineparts2@gmail.com

Phone: 269 673 1638

Text: 269 760 8652

1 8 7 6 1 Injection nozzle 2 Fuel filter 3 Automatic timer 4 Fuel tank
5 Feed pump 6 Injection pump 7 Overflow valve 8 Governor 4 12574
13-4

Fuel Filter

1 Fuel filter

2 Fuel filter head

A: From feed pump

B: To injection pump

Secondary Fuel Filter

L1

2 01822

The fuel filter separates any water content out of fuel fed from the injection pump's feed pump, and its element removes any impurities.

1 Secondary fuel filter

2 Air plug

3 Cover 4 Case

5 Element

6 Drain plug

7 Center bolt

A: From feed pump

B: To fuel filter

When the engine is run on JIS class 1 heavy oil (ASTM No. 4; BS class D, B1 and B2), a secondary fuel filter is fitted in the positionillustrated. Likethe regular fuelfilter, thisunitseparates any water content out of fuel received from the feed pump. It uses a paper element to remove impurities.

7 18223
13
13-5

STRUCTURE AND OPERATION

Water Separator

18224

1 Water level ring

A: Fuel outlet (to feed pump)

B:Fuel inlet

Thesedimenttraptypewaterseparatorsplitsfuelandwatercentrifugally utilizingthedifferenceinspecificgravitybetweenthetwofluids. Fuelenteringfromtheinletconnectorissqueezedthroughapassageinthehead, resultinginafasterflowwithamorepowerfulaxialtwist.Waterseparated fromthefuelsettlesinthecase, andthewater-freefuel flowstothefeed pumpviaa passageinthecenter ofthehead.

The water separator is effective in removing notonly water but also dirt andotherimpurities. Aredwaterlevelring1 floatsinsidethecase,enabling the waterquantitytobechecked ataglance.

Injection Pump

Theinjectionpumpfeedsfueltotheinjectionnozzlesunderhigh pressureandincorporates amechanismforincreasinganddecreasingthefuelflow.

13-6
1 Deliveryvalveholder 1 2 Deliveryvalvespring 2 3 Delivery valve 4 Plunger barrel 3 5 Controlpinion 4 6 Plunger 7 Control rack 5 8 Controlsleeve 6 9 Plunger spring 10 Tappet 11 Camshaft __..,,._____,..........,�_8 9 10 11 01823

• Fuel feed action

A: Fuel drawn in

B: Start of pressure feed

C: End of pressure feed

D: Inlet/outlet hole

E:Lead

Astheplunger6 risesanditslead E meetsthefuelinlet/outlethole D, fuel flowsthroughthecenteroftheplungerandisexpelledfromtheinlet/outlet hole. Regardlessofhowmuchfurthertheplungerrises, nofuelfeedtakes place thereafter.

The stroke length F of the plunger 6 during which pressure feed takes place is known as the "effective stroke."

• Injection volume adjustment mechanism

To matchchangesinengine loading, anadjustmentmechanism controls theamountoffuelinjected.Thismechanismturnstheplunger6byagiven angle, therebyalteringthepointatwhichthefuelinlet/outlethole Dmeets the lead E. Simply stated, the effective stroke is made longer or shorter. Asinglecontrolrack7isusedtorotateeveryplungerintheengine, sothe plungers rotate simultaneously and by the same angle.

1 11 A B F 01825 01826 C 01824
13
13-7

STRUCTURE AND OPERATION

• Delivery valve

G: Pressurizationstarts

H: Injection

J: Pressurization ends (Startingsuction)

K: Suctionends

L: Suctionstroke

Fuel highly pressurized by plunger pushes updeliveryvalve 3 for injection,andwhendeliveryofpressurizedfuelends,deliveryvalvereturnsby the force of delivery valve spring to close fuel passage, thus avoiding reverse flow offuel. Delivery valvelowersfurther to restat its seat, and for this stroke L, residual pressure between delivery valve and injection nozzleisforaninstantlowered.Thisreturnsuctionmakes fuel-cuttingat nozzleseffectiveandavoidspost-injection dripping.

• Overflow valve

Whenthefuelpressureintheinjectionpumpexceedsapresetlevel,the steelballRispushedup,allowingfueltoflowoutfromtheinjectionpump andreturntothefueltank. Thisstabilizesthefueltemperature andtemperature distribution in the injection pump and keeps the injection rate constantineachcylinder.

G H J K
01827
13-8
01830

<RSV Type>

1 Tension lever

2 Guidelever

3 Supporting lever shaft

4 Governorhousing

5 Controlrack

6 Adjusting lever

7 Swivellever

8 Camshaft

9 Flyweight

2 3 11 4 8 10 Stoplever 11 Full-load stopper bolt 12 Ungleich spring or idling spring 13 Idling subspring 14 Governorspring 15 Controllever 16 Shackle 17 Startspring 13 18225 13-9

STRUCTURE AND OPERATION

<RFD Type> 21 1 15 11 1 Stop lever 2 Governor housing 3 Governor spring 4 Control rack 5 Swivel lever 6 Camshaft 7 Speed control lever 8 Flyweight 9 Sliding lever 10 Sleeve 11 Floating lever 13-10 12 Stroke adjusting bolt 13 Idling spring 14 Torque spring 15 Smoke set assembly 16 Damper spring 17 Start spring 18 Floating lever link 19 Tension lever 20 Guide lever 21 Governor cover 18227

Tadano Crane Mitsubishi 6D16TLEA Fuel Feed Pump

1 Primingpump

2 Inletcheckvalve

3 Gauze filter

4 Outletcheck valve

5 Feedpump housing

A: From fuel tank

B:Tofuelfilter

• Suction stroke

Thefeedpumpisdrivenbythecamshaftinthe injection pump. The priming pump 1 enables fueltobedrawnupmanuallywhentheinjection pumpisstationary.Itisparticularlyusefulforair bleeding.

The gauze filter 3 removes large impurities fromfueldrawnupfromthefueltankandthus preventscloggingofthefeedpump. Itmustbe washed regularly in gas oil.

Whentheinjectionpumpcamshaft 6 forcesupthepushrod7, fuelinthe suction chamber C is compressed and opens the outlet check valve 4. Most ofthefuelforcedout isdrawn into the pressure chamber D below thepiston.

• Pressure feed stroke

Asthecamshaft 6 turnsandthecamloses itslift, thepiston9 ispushed downbythe pistonspring 8. The fuelinthepressure chamber D is thus forced out andfedtowardthefuelfilter.

Atthesametime,theoutletcheckvalve4closesandtheinletcheckvalve 2 opens. Asaresult, fuel is againdrawn intothesuctionchamber C.

• Stoppage

Whenpressureinthepressurechamber Dexceedsapresetlevel,thepistonspring 8 cannotpushbackthepiston 9. Thepumpthereforestopsoperating, preventingpressureinthefuelfilterfromrisingmorethannecessary.

Mitsubishi 6D16TLEA engine parts contact:

email: engineparts2@gmail.com

Phone: 269 673 1638

Text: 269 760 8652

8
A
9
13912 13913 13914 14431
13
13-11

STRUCTURE AND OPERATION

Automatic Timer

The automatic timer utilizes a mechanical arrangement to adjust the injection timing in accordance with the engine speed. The automatic timer is mounted on the injection pump camshaft using a round nut. Via a driving disk, it is driven by the air compressor crankshaft or pump drive shaft.

1 Timer housing

2 Flyweight

3 Roller

4 Timer spring

18228

5 Spring seat

6 Shim

7 Flange

8 Cover

• With engine stationary

Whentheengine isstationary, the timerspring 4overcomes the centrifugal force acting on the flyweight 2. The flyweight roller is therefore held down by the flange 7, and the injection timing arrangement is not advanced.

• With engine running

As the engine speed rises, the centrifugal force on the flyweight 2 increases. With the timer housing pin A as the fulcrum, the flyweight roller 3 thus moves outward while pushing the curved surface of the flange 7, causing the flange to compress the timer springs 4. As a result, the roller 3 ofthe flyweight 2 moves the flange 7 inthe rotating directing andtheinjection timing is advanced.

Mitsubishi 6D16TLEA engine parts contact:

email: engineparts2@gmail.com

Phone: 269 673 1638

Text: 269 760 8652

B 13-12 18230
7 4

Injection Pump Drive

1 Pumpdrivecase

2 Bearing

3 Pumpdrivegear

4 Pumpdrive shaft

5 Coupling

A:Timing gearside

B:Timerside

Theinjection pumpdriveisfitted ontotheflywheelhousing on theleftoftheengine. Itisdrivenbytheenginetiminggearathalf the engine speed.

The pumpdrive shaft 4 drivestheinjection pump via the coupling 5onits timerside.

Injection Nozzles

1 Nozzlespring

2 Needle valve

3 Nozzle

4 Adjustingscrew

5 Nozzleholder

A:Toleak-offpipe

B: From injectionpump

Fuel fed from the injection pump enters the nozzle holder 5. Whenthe fuel pressureinthe nozzle holder exceeds apreset pressure, it overcomes the nozzle spring 1, pushes up the needlevalve2,andthefuelissprayedintothecylinderfromthe orifice at the end ofthe nozzle 3.

Some of the high-pressure fuel lubricates the needle valve 2 andreturnstothefueltankviathe leak-off pipe.

Mitsubishi 6D16TLEA engine parts contact: email: engineparts2@gmail.com

Phone: 269 673 1638

Text: 269 760 8652

5
4 A 01844 """"""' B 04538
<1-springtype>
13
13-13

STRUCTURE AND OPERATION

<2-spring

1 Valve opening pressure adjustment shim

2 Prelift adjustment shim

3 1st spring

4 1st push rod

5 Nozzle

6 Needle valve

7 Nozzle holder

8 2nd push rod

9 2nd spring

Inside the nozzle, there are two springs 3, 9 and twopush rods 4, 8. A prelift clearance is provided between the twopush rods. When high-pressure fuel from the injection pump overcomes the 1st spring 3 (this spring determines thevalveopening pressure), the needle valve 6 pushes upthe 1st push rod 4, thereby opening the valve.

When the 1st push rod 4 moves through the prelift clearance and contacts the2ndpush rod 8, theneedlevalve 6 momentarily stops lifting. As the fuel pressure increases further and overcomesthecombined forceof the 1st spring 3 and 2nd spring 9, the needlevalve 6 lifts again for the main injection.

Mitsubishi 6D16TLEA engine parts contact:

email: engineparts2@gmail.com

Phone: 269 673 1638

Text: 269 760 8652

18362

type>
<Zexel> 9 B 6---
18361 .,_-s
13-14
13 MEMO 13-15

TROUBLESHOOTING

Mitsubishi 6D16TLEA engine parts contact: email: engineparts2@gmail.com

Phone: 269 673 1638

Text: 269 760 8652

Symptoms -0 <l) <l) 0.. Cf) .c E .!2> O'l :::J C E t 0 <1l ·x .8 en <1l :t= :3 -0 .... E :;:; :3 0.. <l) <l) .c Cf) t :3 <l) Ol -1= <1l 0.. C (.) 0 t en :3 0 0.. <1l <1l .8 0.. Cf) :2 C � <1l 0 <l) 0 0.. en .8 <l) -� E <l) 0 0 en iii :::J 0 C Ol :::J -� Cf) -0 Cf) 0 Cl) E C 0 <l) _::,: Ol C Ol Cl) 0.. ai C (.) (..) C <l) ·x C 0.. Cf) C .2 - :i= 0 <l) c <1l <l) 0 <l) = 0 C 0 -� 'o _::,: <l) <l) E <l) en -0 -� � ::i:i u ::i:i <l) <l) Cl) <l) Cl) <l) <l) �� -� C -� <1l :i= C <1l C C C en en <l) <l) Ol Ol Ol :::J Ol Ol Ol Ol (.) Q) C C C C Cf) C C C C C (.) Possible causes ww w :::, C w :::i w w w <( 0Injection pump Sticky plunger 0 proper Sticky control rack 0 Sticky delivery valve 0 Worn tappet 0 Worn camshaft 0 Poorly adjusted injection timing 0 00 0 Worn plunger 0 0 Defective delivery valve seat 0 Excessively advanced injection timing 0 Insufficient plunger slide stroke 0 Broken plunger spring 0 0 Defective sliding action in control rack 0 0 00 Tappet worn or not sliding correctly 0 Broken delivery valve spring 00 Poor airtightness due to loose delivery valve holder 00 Defective delivery valve operation 0 Loose control pinion 0 Plunger spring not seating correctly 0 Delivery valve holder too tight 0 Uneven injection volume to cylinders 0 0 Fuel feed pump Gauze filter clogged 0 00 Check valve not operating 0 Sticky piston 0 Sticky push rod 0 Worn tappet 0 Defective check valve operation 0 0 0 Piston worn 0 0 0 13-16
13 Symptoms Q) Q) 0. (/) ..c E .Ql Ol ..c C E ·-e 0 en x .8 U) co :i:: "5 cJ .... E � t "5 0. Q) Ol Q) 0. "5 Q) .t (.) 0 co "5 0 0. _s; en en -.8 t U) (/) :2 C � 0. ci co 0 Q) .8 0. U) .8 .£;; E 0 cii :::, Q) Q) 0 0 (/) cJ - C Ol :::, C (/) (/) 0 (/) E C 0 Q) :::, .:,,:. "6> C "6> (/) 0. Q) C (.) (.) C Q) x C 0. (/) C .2 :E 0 Q) c co Q) 0 Q) 0 C 0 "3: '6 .:,,:. Q) Q) E Q) U) cJ "3:cii Q) :0·c::; :0 ai Q) Q) Q) Q) Q) Q) (I) n C C C co:E C co C C C Q) "6> "6> Ol U) :::, "6> U) "6> "6> "6> (I) (.) ai C C C C (/) C C C C C Possible causes LU LU LU :) C LU :) w LU LU <( DGovernor Insufficient full-loadstopperposition 0 Weakgovernorspring 0 0 Incorrectlyadjustedcontrollever 00 0 Flyweightsnotoperatingeffectively 0 Weakidlingspring 0 Bentlinks 0 Excessivefrictionorplayinlinks 0 Looseroundnut 0 Poorlyadjustedidlingsetbolt 0 Defectiveslidingactionincontrollever 0 Stop mechanismdamaged 0 Automatic timer Defective advancingaction 0 0 Injection nozzles Stickyneedlevalve 0 Valveopeningpressuretoolow 0 0 Blockedinjectionorifice 0 0 0 0 0 Poorairtightnessinnozzle 0 0 0 0 0 Valveopeningpressuretoohigh 0 Brokenspring 00 Defective slidingactioninneedle valve 0 Defective valveopeningpressure 0 Weakness/deteriorationinspring 0 Fuel filter Filter (and/orsecondaryfilter) clogged 0 0 0 0 Fuel tank empty 0 Fuel pipes blocked and/or fuelleakingfrom connections 0 Airor waterinfuel system 0 0 0 0 Low-quality fuelinuse 0 0 0 0 Cracked fuel pipe Leaky fueltank ,_' Incorrect oil viscosity Gr.12 0 Incorrect valve clearance Gr.11 0 0 Defective headgasket O]Gr.11 0 0 Wear and/orcarbondepositson valveand valve seat [DGr.11 0 0 Weakness/deteriorationin valve spring illGr.11 0 0 13-17

TROUBLESHOOTING

Mitsubishi 6D16TLEA engine parts contact: email: engineparts2@gmail.com

Phone: 269 673 1638

Text: 269 760 8652

Symptoms '"O (I) (I) Cl. CJ) .c E .!2> D) :::, .c C E --e 0 (1j ·x .9 en (1j :i:: 5 '"O .... E � t: 5 Cl. (I) D) (I) .c Cl. 5 (I) .i:: CJ 0 (1j 5 0 Cl. .£ (1j (1j .9 >, t en CJ) :2 C � Cl. ci. cu 0 (I) 0 Cl. en .9 (I) .£ E (I) 0 0 en <ii :::, :::, 0 '"O CJ) 0 +-' CJ) .£ D) E C CJ) C 0 (I) :::, � D) C D) CJ) Cl. <ii C CJ CJ C (I) ·x C Cl. CJ) C 2 ;E 0 (I) c (1j (I) 0 (I) 0 C 0 "§: '"O � � (I) E (I) en '"O "§: cO (I) "c:5 ::0 .... > (I) (I) (I) .0 (I) (I) (I) (I) (I) u C C C (1j :E: C cu C C C a3 "5> "5> "5> en :::, "5> en "5> "5> 5> QJ CJ Q) C C C C CJ) C C C C C CJ Possiblecauses LU LU LU ::) C LU ::) LU LU LU � 0Worn/damaged piston ring(s) []JGr.11 0 0 Worn/damaged piston ring groove(s) [lJGr. 11 0 0 Worn piston and cylinder liner [DGr. 11 0 Cooling system malfunctioning [DGr. 14 0 0 Defective starter switch [lJGr. 54 0 Defective glow relay [DGr. 54 0 13-18
I 1a I MEMO 13-19

ON-VEHICLE INSPECTION AND ADJUSTMENT

Checking and Adjusting Injection Timing

Service standards

- Fuelinjection timing (BTDC)

0 Tightening torques

Bolt (injection pipe lock plate)

on specifications - Adjust

to

(0.45 to0.6}

to0.5}

to54 (5 to5.5}

[Inspection]

• From the injection pump's No. 1 cylinder, remove the injection pipe 1, lockplate 2, delivery valve holder 3, stopper4, delivery valve spring 5, and delivery valve 6.

• Fit the delivery valve holder 3.

CAUTION&,_--------------

Place all partsin gas oil afterremoval to keepthemfree ofdust.

• Fit an injection pipe 7 onto cylinder No. 1. Point the pipe's other end downward such that fuel flowing out can be seen clearly.

• Rotate the crankshaft pulley clockwise (as seen from the front of engine) by at least 180° and bring cylinder No. 1 to approximately 30° BTDC on its compression stroke.

NOTE

Iftheengineisturnedinitsreversedirection(whenstoppingthe engine or by cranking), the automatic timer may stay in an advanced condition. Thismaynot be cancelled bya slight forward rotationoftheengine. Besuretocranktheengineforwardmanually by at least 180°

• Feed fuel into the injection pump using the priming pump 8. With fuel flowingoutoftheinjection pipe7, crankthe engineslowlyclockwise (as seen from the front of engine).

NOTE

Ensure that the stop lever 9 at the side of the governor isnot in its STOP position.

Location Maintenance item Standard value Limit Remedy
Depends
Unit: N ·m {kgf·m} Location 1 2 3 7 13-20 Parts to be tightened Tightening torque Remarks Union nut
25
-
Delivery
holder 7 Nippondenso 7.8
11
Zexel A-type 4.4
Zexel AD-type 3.4
Nippondenso 34 to 39 (3.5to
Zexel A-type 39 to 44 (4
Zexel AD-type 49
-
(injectionpipemounting)
{2.5}
valve
to
(0.8 to1.1}
6.0
to 4.9 (0.35
4}
to 4.5}
18934 18935 18936

• Whentheflowoffuelfromtheinjectionpipe7diminishes,cranktheenginemoreslowly.Whentheflowoffuelstopscompletely,stopcranking theengine.

• Checkthatthepointer10 ontheflywheelhousingortorsionaldamper B indicatesthe value 1° earlierthanthecorrect fuel injection timing.

A: Flywheel

NOTE

• Theinjection timing in this measurementbecomes1° earlier than the correct injection timing due to the inactivation of the delivery valve spring.

• The correctinjection timing is indicated on the plate attached on the rocker cover.

• Iftheinjectiontimingshouldbemeasuredinadustylocation, perform asfollows:

• Rotate the crankshaft pulley clockwise (as seen from the front of engine)andbringtheNo. 1 cylinderto30° BTDConitscompression stroke.

• Disconnecttheinjectionpipe1 witha littleamountoffuelremained atthe topofthe deliveryvalveholder 3.

• Slowly rotate the crankshaft pulley clockwise. When the injection timing is reached, the fuelat the top of the delivery valve holder 3 startsto move.

• Iftheinjection timingisoutof thespecification, adjust as follows:

[Adjustment]

• Loosenthenuts 12 thatholdthetimercase 11 ontothepumpdriveor aircompressor 13.

• Ifthefuelinjectiontimingisoverlyretarded, inclinetheinjectionpump toward the crankcase.

• Ifthefuelinjectiontimingisoverlyadvanced, inclinetheinjectionpump away fromthe crankcase.

NOTE

Turning the injectionpump by one of the gradations inscribed on the timer caseflange C causesa6° change in the injection timing.

• Tighten thenuts 12, thencheck thefuel injectiontimingagain.

NOTE

If the fuel injection timing is so far out of specification that adjustmentwith the injectionpump is notpossible, theengine timing gear and injection pump drive gear may not be meshing correctly. If this occurs, removeandrefittheaircompressororinjectionpump drive.

• Air compressor: OJ Gr. 61

• Injection pump drive: OJ P.13-30

• Aftercheckingthatthefuelinjectiontimingisuptospecification, fitthe deliveryvalve 6, deliveryvalve spring 5, and stopper 4.

7
11
13
18937
C 13 01852
13-21

ON-VEHICLE INSPECTION AND ADJUSTMENT

• Tighten each part to its specified torque.

Checking and Adjusting Minimum and Maximum No-load Speeds

Service standards

Location Maintenance item - No-loadminimum speed - No-loadmaximumspeed

<RSV-type governor> 1

Standard value Limit Remedy

Depends on specifications - Adjust

Depends onspecifications - Adjust

Start the engine and allow it to warm up before carrying out the following inspections.

• No-load minimum speed [Inspection]

Confirmthatthecontrollever 1 istouchingtheidlingset bolt3. Thencheck that the minimum speed is up to specification.

A: Idling position

[Adjustment]

If the minimum speed is out of specification, adjust it using the idling set bolt 3.

• No-load maximum speed [Inspection]

Confirmthatthecontrollever 1 istouchingthefull-speed set bolt 2.Then, check that the maximum speed is up to specification.

B: Full-speed position

[Adjustment]

Ifthe maximum speedisoutofspecification,adjustit using thefull-speed set bolt 2.

NOTE

Check that the engine does not stall and that no hunting occurs when the control lever 1 is moved quickly from the full-speed position to the idling position. If any abnormality is.apparent, make adjustments within the specified range.

3
2 01853
18231
13-22
<RFD-type governor> 1 18232

• No-load minimum speed

[Inspection]

Confirmthattheloadcontrollever7 istouchingtheidlingsetbolt 6. Then checkthatthe minimum speed is upto specification.

A:Idlingposition

[Adjustment]

Ifthe minimumspeedisoutofspecification, adjustitusingtheidling set bolt 6.

• No-load maximum speed

[Inspection]

Movetheloadcontrollever7tothefull-loadposition B.Then,checkthat the maximumspeedis up to specification.

[Adjustment]

Ifthemaximumspeedisoutofspecification, adjustpositionofthespeed controllever 8 usingthemaximumspeed stopperbolt 9 andstopperbolt 10.

NOTE

• Do not alter the position of the full-load stopper bolt 11.

• Check that the engine does not stall and that no hunting occurs when the load control lever 7 is moved quickly from the full-load position to the idling position. If any abnormality is apparent, make adjustments within the specified range.

Cleaning Fuel Feed Pump Gauze Filter

0

torques

N·m {kgf·m}

to 29 {2 to 3}

to 20 {1 .5 to 2}

• Removetheeyebolt1 fromthesuctionportsideofthefuelfeedpump.

• Remove thegauzefilter 2 from theeyebolt 1.

• Cleanthegauzefilter2.

• Refitthe gauze filter 2 and eyebolt 1 inthe oppositeorderto their removal.

• Bleed allairoutofthe fuel system.

• Start the engineand checkforfuelleaks.

Mitsubishi 6D16TLEA engine parts contact: email: engineparts2@gmail.com

Phone: 269 673 1638

Text: 269 760 8652

9 B 8 A 18233
13
Tightening
Location Parts
betightened 1
Zexel Nippondenso Tighteningtorque Remarks 20
15
Unit:
to
Eyeball
-
13-23

6D16TLEA FUEL FILTER

• Disassembly sequence

1 Eyebolt

2 Fuel filter

• Assembly sequence

Reverse theorder of disassembly.

0 Tightening torques

Location Parts to betightened

1 Eyebolt

3 Air vent plug

� Oils

Location Points of application

2 Gasket between fuel filter and fuelfilterhead

� Special tools

Location Tool name and shape

Filter Wrench

Part No. A

2 MH061509 90.2

MH061572 94.2

3 Air ventplug

{3.5}

Mitsubishi 6D16TLEA Tadano Crane

±2.0 {1 ±0.2}

MH061509

Mitsubishi 6D16TLEA engine parts contact: email: engineparts2@gmail.com Phone: 269 673 1638 Text: 269 760 8652

13-24 18235 4 18236
4
head Unit: N·m {kgf·m} Tightening
Remarks 34
9.8
Kinds Quantity Engineoil As required Part
Application
Fuel filter
torque
No.
MH061572 Removingfuel filter

♦ Service procedure @ Fuel filter

[Removal]

WARNING&_-------------

• Fuel is highly flammable; keep it away from flames and sources of heat.

• To minimize the risk of fire, wipe up any spilled fuel.

[Installation]

WARNING&_------------­

Use of an unsuitable fuel filter 2 can lead to fuel leaks and fires. Be sure to use a genuine Mitsubishi filter.

• To fit the fuel filter 2, turn it until the gasket C touches surface B of the fuelfilter head4. Then, tighten thefilter by 3/4 to 1 turn. Besure to turn the filter by hand.

• Start the engine and checkfor fuel leaks.

01883 4 � 2 13220 13
13-25

TLEA SECONDARY FUEL FILTER/WATER SEPARATOR

�3

0 Tightening torques

Location Parts to be tightened

1 Eyeball

• Disassembly sequence

Eyebolt

0: Non-reusable part

• Assembly sequence

Reverse the order of disassembly.

Tightening torque 34 (3.5}

Unit: N·m {kgf·m}

Remarks -

6D16
i-2
SECONDARY FUEL FILTER
13-26 18237
1
2
3 Drain
4 Center
5 Case 6 Spring 7 Element 8 O-ring 9 Fuel
Air vent plug
plug
bolt
filter head

6D16TLEA WATER SEPARATOR

• Disassembly sequence

1 Eyebolt

2 Airvent plug

3 O-ring

4 Drain plug 5 Ringnut

6 Case

7 Isolation plate

8 Screenassembly 9 Baffleplate

1O Water levelring

Head 12 O-ring

0:Non-reusablepart

WARNING_&.-----------

• Fuel ignites easily. Do not get it near flame or heat.

• Wipe up any spilled gas oil because it can cause a fire.

20305

• Assembly sequence

Reverse the order ofdisassembly.

0 Tightening torques

Location Partsto be tightened

1 Eyebolt

5 Airvent plug

7 Drain plug

8 Ring nut

Unit: N·m {kgf·rn}

{3.5}

to 12 {0.8to 1.2}

to3.9 {0.3 to0.4}

to7.8 {0.6 to0.8}

11
13
Tighteningtorque Remarks 34
7.8
2.9
5.9
13-27
-

*:Air compressor [O Gr. 61, or

WARNING&_-

• Fuel is highly flammable; keep it away from flames and sources of heat.

• To minimize the risk of fire, wipe up any spilled fuel.

CAUTION&_--------------------------

Dirt particles in the injection pump assembly 15 can seriously detract from engine performance. To prevent the ingress of dirt, cover all pipes, hoses, and other parts after removal.

NOTE

For maintenance of the injection pump assembly 15, please contact a Zexel service station.

MITSUBISHI 6D16TLEA TADANO CRANE > INJECTION
Disassembly sequence 1 Eyebolt 2 Fuelfeedhose 3 Eyebolt 4 Fuel suction pipe 5 Eyebolt 6 Fuelfeedhose 7 Eyebolt • Assembly sequence Reversethe order ofdisassembly. 8 9 10 11 12 13 14 18238 Fuel returnpipe 15 Injection pump assembly Injectionpipe 16 Driving disk Eyebolt 17 0-ring Eyebolt Connector
PUMP •
Oil pipe injection
Injectionpumpstay 0
pumpdrive[O P.13-30
:Non-reusablepart
13-28

Eyebolt (fuel suctionpipe, fuel Zexel

feedhose)

pipeunion

side)

Eyebolt (oil pipe; injectionpump side)

Connecter (oil pipe)

{2 to2.5}

to2}

♦ Service procedure

� Installing injection pumpassembly

• Bring cylinder No. 1 ofthe engine to the TDC position of its compression stroke.

• Align the inscribed lines C on the timer case A and timer B. Then, fit the injection pump assembly 15 onto the air compressor or injection pump drive.

Mitsubishi 6D16TLEA engine parts contact:

email: engineparts2@gmail.com

Phone: 269 673 1638

Text: 269 760 8652

13 0 Tightening torques Unit: N·m {kgf·m} Location 1, 7 3,5 9 10 11 12 Parts to be tightened Tightening torque Remarks Eyebolt
fuel re- Zexel 20 to29 {2 to3}turn
Nippondenso 15to20 {1.5
-
(fuelfeed hose,
pipe)
to2}
20
25
-
Nippondenso 15 to20 {1.5
Injection
nut 25 {2.5} -
compressor or
drive 21 {2.1} -
to
Eyebolt (oilpipe; air
pump
C B Zexel 10 to13 {1 to
Nippondenso 7.8to13 {0.8to
21 {2.1} -
1.3}
1.3}
13-29
01886

*: Injection pump assembly ffi P.13-28

• Assembly sequence

the order of disassembly.

MITSUBISHI 6D16TLEA TADANO INJECTION
Service standards Location Maintenance item 16 , Pump drive shaft end play 16, 17 Pump drive shaft-to-pump drive case clearance
Location Parts to be tightened 1 Eyeball 4 Nut (drive gear mounting) 8 Bolt (coupling mounting) 11 Bolt (cover mounting) 13 Bolt (bearing holder mounting) 13-30
PUMP DRIVE
0 Tightening torques
sequence 1
2 Oil pipe 3
assembly 4 Nut 5 Lock washer 6 Drive gear 7 Collar 8 Bolt 9 Pin 10 Coupling 11 Bolt 12 Cover 13 Bolt 14 Bearing 15 Bearing holder 16 Pump drive shaft 17 Pump drive case
• Disassembly
Eyebolt
Injection pump drive
Reverse
Unit: mm Standard value Limit Remedy - 0.59 Replace - 0.12 Replace pump drive case Unit: N -m {kgf·m} Tightening torque Remarks 21 {2.1}167to 211 {17to 21.5}30to 36{3.1 to 3.7}25to 29 {2.5to 3}5.9 to 6.9 {0.6to 0.75} -
6D16TLEA
contact: email: engineparts2@gmail.com Phone: 269 673 1638 Text: 269 760 8652
Mitsubishi
engine parts

♦ Service procedure

@] Installing injection pump drive assembly

• Bring cylinder No. 1 of the engine to the TDC position of its compression stroke. [O Gr. 11

• AligntheinscribedlineAonthedrivegear6oftheinjectionpumpdrive assembly 3 with the inscribed line A on the pump drive case 17.

B

• Remove the plug C from the flywheel housing B, then check that the inscribedline A on the drive gear 6 isalignedwith the pointer D. If the line and pointer are not aligned, remove and refit the injection pump drive assembly.

Ci] to II] Installing drive gear

• Fit the drive gear 6 such that its "O" alignment mark is aligned with the "O"alignmentmarkonthepumpdriveshaft16.Then,fitthelockwasher 5 such that its notch A is aligned with the drive gear alignment mark, and tighten the nut 4 to the specified torque.

• Whentheassemblyiscomplete, bendthelockwasher5downonto the nut 4.

01919
"O" 01922 13
13-31

INJECTION PUMP DRIVE

��Pumpdriveshaft-to-pumpdrivecaseclearance Iftheclearanceexceedsthespecifiedlimit, replacethepumpdrive case 17.

A: Bushing

B:Measurementdirections

C: Measurementpositions

B C 16 01923 B 17 02116 13-32
1a MEMO 13-33

INJECTION NOZZLE <1-spring Type>

@1--10 �8

• Inspectionbeforedisassembly [D P.13-35

•Disassemblysequence

Eyebolt

Fuelleak-off pipe

Injectionpipe

Bolt

Injectionnozzle assembly

Connector

Capnut

Adjustingscrew

Spring

0:Non-reusablepart

Repair kit : Nozzle Service Kit (for Zexel nozzlesonly)

•Assemblysequence

Reversethe orderof disassembly.

04555

WARNING_&------------------------­

Tominimizetheriskoffire,wipeupanyspilledfuel.

CAUTION_&--------------------------

Underno circumstances changetheneedlevalve13andnozzle12combinationusedineachinjectionnozzle assembly5.

NOTE

• Clean off any carbon deposits before disassembling, reassembling, or adjusting the injection nozzle assembly 5. Before disassembly, check the pressure and shapeof the spray and inspect the assembly for fuel leaks. If no abnormality is apparent, do not commence disassembly.

• When fitting the injection nozzle assembly 5, tighten each of the two bolts 4 a little at a time.

14
1
2
3
4
5
6
7
8
9
10 Pushrod 11 Retainingnut 12 Nozzle 13 Needlevalve 14 Pin 15 Nozzle
16 Dustseal 17 Gasket
holder
13-34

Service standards Unit: mm Location Maintenanceitem

value Limit Remedy

5 Injectionpressure 17.7 MPa(180 kg/cm2} - Adjust

0 Tightening torques

Parts to be tightened

1 Eyebolt (fuelleak-off pipe mount- Zexel

to15(1.0to1.5}ing)

to20(1.5to2.0} -

3 Injectionpipeunion nut 25(2.5) -

4 Bolt(injection nozzle mounting) Zexel 15(1.5) -

� Special tools

Location Tool name and shape

- Nozzle Cleaning Tool

• Zexelpart number

to 78{6to8}

*105789-0010 Cleaningnozzles

♦ Service procedure

• Pre-disassembly inspection

Unit: mm

Fit the injectionnozzle assembly 5 onto the nozzle tester A ready for inspection.

NOTE

Before commencing inspection, operate the lever on the nozzle tester A two or three times to bleed all air out of the arrangement.

(1) Checking valve opening pressure

• Pushdowntheleveronthenozzletester A atarateof 1-2seconds perstroke. Thepressuregaugereadingwillgraduallyrise, thenthe needle will suddenly deflect. Note the pressure when the needle starts to deflect.

• If themeasurementisoutof specification, disassemble the nozzle, clean it, and make adjustments using the adjusting screw 8.

• If the measurement is still out of specification after adjustment, replace the injection nozzle assembly 5.

01910

WARNING&_-----------­

Do not touch the spray that comes out of the nozzle.

13
Standard
Location
Tightening
Remarks
Unit: N ·m {kgf·m}
torque
9.8
Nippondenso
15
6 Connector Zexel 69to 78(7
Nippondenso 59 to69(6
7 Cap nut 29
11 Retainingnut 59
-
Nippondenso 121014(1.2101.4) -
to8}
to7)
to39(3to4)
Part
No. Application
13-35

INJECTIONNOZZLE <1-spring Type>

(2) Inspecting spray condition

• PumptheleveronthenozzletesterAatarateofabout 1-2seconds per stroke, and maintain acontinuousspray.

B:Evensprayfromall fiveinjectionorifices (Good)

C:Evenandsymmetricalspray(Good)

D:Asymmetricalspray (Bad)

E:Branchedspray (Bad)

F:Thinspray (Bad)

G: Irregularspray (Bad)

• If the spray is unsatisfactory, disassemble and clean the injection nozzleassembly 5, theninspectthesprayagain. Ifthesprayisstill unsatisfactory, replacetheinjectionnozzleassembly 5.

• Checkthatnofueldripsfromthenozzleafterthesprayiscomplete.

WARNING_&------------

Do not touch the spray that comes out of the nozzle.

B

(3) Inspecting for leaks

• Slowlyincreasethenozzlepressureto1.96MPa{20kgf/cm2}below thespecifiedvalveopeningpressure. Maintainthispressurefor 1O secondsandcheckthatnofueldripsfrom the end ofthenozzle.

• If the injection nozzle assembly 5 appears defective, disassemble andclean it, then inspect it again. If theinjection nozzle assembly 5 stillappearsdefective, itmust bereplaced.

[I] Injection nozzle assembly

[Disassembly]

CAUTION_&--------------

• Do not touch the sliding parts A of the needle valve 7.

• Do not change the needle valve 13 and nozzle 12 combination on each cylinder.

[Cleaning]

Washtheneedlevalve 13 andnozzle 12 ingasoil,thenusethe�CleaningToolSettoremoveanycarbondepositsinaccordancewiththefollowingprocedure.

• Removecarbonfromtheendoftheneedlevalve 13usingtheCleaning Barofthe� Cleaning Tool Set.

CAUTION_&-------------

Do not use a wire brush or any hard metallic object for cleaning.

Good ,----"----, B C Good 13-36 � J D E A Bad t F G 06931 Bad 05388 13 04744
04556

• Remove carbon from the injection orifice of the nozzle 12 using the Needle Cleaner ofthe I&] Cleaning Tool Set. Insert the Needle Cleaner and rotate it to dislodge the carbon.

• Clean the seat of the nozzle 12 using the Cleaning Scraper of the I&] Cleaning Tool Set.

• Toremoveburnedandhardenedcarbon, use FUSOCarbon Remover.

[Inspection]

• Washthe needlevalve 13andnozzle 12 ingasoil, thenfit them together.

• Pull up the needle valve 13 by approximately 1/3 of its entire stroke, then check that it drops under its own weight. Repeat this test several times, turning the needle valve each time.

• If theneedlevalve 13doesnotdrop asrequired, washit in gasoiland carryoutthistestagain. Iftheneedlevalveisstilldefective,replacethe needle valve and nozzle 12 as a set.

NOTE

Whenever a nozzle 12 isreplaced, the nozzle and needle valve 13 must be replaced as a set using Nozzle Service Kit. (This applies to Zexel products only.)

01894 13 01911 13
13-37

Pages 13-38 to 13-53 are deleted as they are not in use.

COOLING SPECIFICATIONS ............................• • •...•.......•. 2 STRUCTURE AND OPERATION ............................... 3 TROUBLESHOOTING .................................•....... 5
INSPECTION AND ADJUSTMENT • Replacing Coolant and Cleaning CoolantSystem ..................... 6 • Air Bleeding ofCooling System ...................................... 8 • Gas LeakTesting ................................................... 8 RADIATOR ..... ......... ........ ............... ............ . 10 COOLING FAN AND V-BELT................................... 12 WATER PUMP ............................................... 16 THERMOSTAT ............................................... 20 14 1: 14-1
GROUP 14
ON-VEHICLE

SPECIFICATIONS

Item

Cooling system

Water pump type

Thermostat type

Automaticcoolingfancouplingtype

Radiatortype

Coolantcapacity dm3 {L}

(enginemain body only)

Specifications

Forced water circulation type

Belt-driven involute type

Wax pellet, bottom bypass type (withjiggle valve)

Constantcontroltype

Tubeandcorrugated fintype

13(13}

14-2

STRUCTURE AND OPERATION

MITSUBISHI 6D16TLEA Cooling System (Water Flow)

Mitsubishi 6D16TLEA Tadano Crane Water Pump

<Withoutcover>

9 8 1
2 1 1 Water
2 Flange 3
4 Bearing 5 Spacer 6 Bearing 7 Water pump case 2 7 11 16934 1 <With cover> 2 8 Washer 9 Impeller 10 Cover 11 Unit seal A: Drain hole 4 16951 1 Reservoir tank 2 Thermostat 3 Cylinder head 4 Drain plug 5 Oil cooler 6 Water pump 7 Drain cock 8 Radiator 9 Bypass hose 7 8 9 10 11 14 16935 14-3 Mitsubishi 6D16TLEA
parts contact: email: engineparts2@gmail.com Phone: 269 673 1638 Text: 269 760 8652
pump shaft
Snap ring
engine

STRUCTURE AND OPERATION

Mitsubishi 6D16TLEA Tadano Crane Thermostat

1 Thermostatcover

2 Thermostat

3 Thermostatcase

A:Toradiator

B: Withlowcoolanttemperature

C: Withhighcoolanttemperature

D: Fromcylinderhead

E:Towaterpump

Thermostat 2 isabottombypasstypethatuseswax-charged pelletsasitsregulatingelement.Asthewaxchangesfromsolid toliquidinlinewithtemperatureincreases,thetotalwaxvolume changes.Asaresult,thepositionofthevalve, changedbythe coolanttemperature,regulatestheflowofcoolanttotheradiator andwaterpump(bypassside)andcontrolsthecoolanttemperature.

Cooling System Electric Circuit 1 2 3

• Water temperature gauge circuit

1 Fusebox

2 Watertemperaturegauge

3 Watertemperaturesensor

Inthiscircuit,thewatertemperatureisdeterminedaccordingto theelectricalresistanceofwatertemperaturesensor3anddisplayedonwatertemperaturegauge 2.

Mitsubishi 6D16TLEA engine parts contact: email: engineparts2@gmail.com

Phone: 269 673 1638

Text: 269 760 8652

A1
E
06361 cf'\s)-1-�f------+-'I�----+--I�-t=16952 14-4

TROUBLESHOOTING

14 Symptoms .£ 0 c (/l u (/l Remarks i: .2 � c (/l Q) Cll C: 0 :=:.- (/l 0) o 0 C: (.) C: .£ � cil Q) 0 > Q) 0 E "iii � .... 0 Q) Q) Q) C: (.) > > .0 Possible causes 0 0 c:x: w V-belt Loose or damaged 0 0 Excessive tension 0 Oil on belt 0 Water pump Water pump fitted poorly 0 0 Gasket defective 0 0 Bearing defective 0 0 Impeller defective 0 Unit seal defective 0 0 Loose fit between shaft and flange and/or shaft and im- 0 0 peller Thermostat Case fitted poorly 0 0 Gasket defective 0 0 Valve opening temperature too high; valve remains 0 closed Valve opening temperature too low; valve remains open 0 Water leaking from water temperature sensor 0 0 Radiator Space between core and fins clogged 0 Core cracked and/or separation of soldered joints 0 0 Pressure cap not sufficiently airtight 0 Cooling fan Fan shroud fitted poorly 0 0 Automatic cooling Bearing defective 0 0 fan coupling Bimetal damaged 0 Bimetal contaminated with foreign particles 0 0 Silicon oil leaking 0 0 Oil cooler Oil cooler fitted poorly 0 0 OJ Gr 12 Gasket defective 0 0 Cylinder head Cylinder head fitted poorly 0 0 OJ Gr 11 Gasket defective 0 0 Coolant quantity insufficient and/or coolant dirty 0 Coolant passages dirty and/or clogged 0 Hoses fitted poorly 0 0 Ambient temperature extremely low 0 14-5

ON-VEHICLE INSPECTION AND ADJUSTMENT

Replacing Coolant and Cleaning Coolant System

16941

0 Tightening torques

Location Parts to be tightened

2 Crankcase drain plug

1 Pressure cap

2 Crankcase drain plug

3 Radiator drain cock

Tightening torque 115 (12}

Unit: N ·m {kgf ·m}

Remarks -

Using the radiator for extended periodswithout cleaning the cooling system willcause overheating since rust andscaledeposits will accumulate. The cooling system must be cleaned periodically.

• Draining coolant

Before draining the coolant, loosen pressure cap 1 to reduce the pressure in the cooling system.

WARNING_&.-------------------------

• To avoid being scalded, ensure that the coolant has cooled sufficiently before draining it out.

• Unless care is exercised, opening pressure cap 1 when the coolant is hot can cause the coolant to spray out. Cover the pressure cap with a cloth, and loosen the cap slowly to bleed off the pressure before opening it fully.

• Cleaning procedure

• Run the engine and keep the coolant at a temperature of approximately 90°C sothat the thermostat valve remains open and the coolant continues to circulate in the radiator.

• To increase the coolant temperature quickly, cover the front of the radiator with cardboard or a similar material.

• If cleaning is carried out after a large amount of rust has accumulated, the radiator may start to leak. Carefully examine the radiator for leaks after cleaning the cooling system.

• Soft water to be used should have the following properties.

CAUTION_&.--------------------------

Do not use hard water as it causes scale and rust.

Required propertiies of soft water

Total hardness

300 ppm or less

Sulfate SO4 100 ppm or less

Total dissolved solids 500 ppm or less

pH 6 to 8

Chloride c1- 100 ppm or less - -

14-6

Method of cleaning the cooling system depends onits condition.

• Ordinary condition

Cleaning using water

e Extremely dirty coolant

• Clogged radiator

Cleaning using Radipet 7or equivalent

Drain the coolant.

(Workprocedure)

Drain the water and the solution.

r ►

Fill with soft water (boiled preferably).

Keep the water temperature at 90°C and let engine idle for 10 minutes.

' I Drain the water. i i

If the drained water is clear, cleaning has been successful.

If it is still muddy, repeat the procedure.

Make a solution of FUSO Radiator Cleaner (Radipet 7 or equivalent) at a rate of 5 to 10% to the total volume of coolant.

Fill the radiator with the solution.

Keep the solution temperatureat 90°C andletthe engine idle for 30 minutes.

CAUTIONL[s--------

Besure toallow theengineto idle for 30 minutes only. Circulating the solution in the system for more than an hour might cause the system to breakdown.

L _J

NOTE

• After cleaning with solution, fill with coolant as quickly as possible.

• To prevent freezing of the coolant andcorrosion of the cooling system, use specified coolant solution of FUSO Diesel Long Life Coolant, FUSOAntifreezeor Radiator Antirust (Radipet 9). (See the Owner's Handbook for use of these materials.)

14
14-7

ON-VEHICLE INSPECTION AND ADJUSTMENT

Air Bleeding of Cooling System

• Removethepressurecap. Keepingthecoolanttemperatureat90°C, lettheengineidleuntilthecoolingsystemiscompletelybled ofair. Whiletheengineis idling, keeptheheatercontroller's adjustmentleveratitsmaximum-temperature positionsothat coolantflowsfreelyin the heaterpiping.

• After bleeding thecoolingsystem ofair, addcoolantto the radiatorand reservoir tankas required.

Gas Leak Testing

Thepresenceofairorexhaustgasinthecoolantincreasescorrosionandrustinthecoolingsystem.Checkforairorexhaust gas in the coolant usingthefollowing procedure:

• Remove pressurecap 1.

WARNING&--------------

Make sure the coolant is sufficiently cool before loosening the pressure cap. If the coolant is hot, it will spray out.

• Run the engineuntilthecoolanttemperaturereaches approximately 90°C.

• IfbubblesAappearcontinuously,thereisairorexhaustgasinthecoolant.

• Ifthecoolantcontainsair, thecylinderheadbolts, waterpumpmounting bolts, or hose connections maybeloose. Alternatively, the hoses may bedamaged.

• Ifthecoolantcontainsexhaustgas,itispossiblethatthecylinderhead gasketis damagedor that thecylinder headiscracked.

A ------------:---.._____00187 14-8
14 MEMO 14-9

RADIATOR

3

Service standards

Location Maintenance item

6 Pressure valve opening pressure

7 Radiatorairleakage

2

• Disassembly sequence

1 Wirenet

2 Shroud

3 Frame

4 Drain cock

5 Drain hose

6 Pressurecap

7 Radiator

• Assembly sequence Reversethe order of disassembly.

Standardvalue Limit

69±15 kPa (0.7±0.15 kg/cm2}0ccRemedy Replace Corrector

(with airpressure of 150kPa(1.5 kgf/cm2}) replace

♦ Service procedure

W Pressure cap inspection

Measure the pressure valve's opening pressure. If the measurement doesnot conform with the standard value, replace pressure cap 6.

[z] Radiator inspection

• Fit hose A and radiator captester B to the radiator upper tank.

• FitplugCtothelowertank,thenimmersetheradiatorinatankofwater.

• Usingradiatorcaptester B, applythespecifiedairpressureof150kPa {1.5 kgf/cm2}, and check for air leakage.

• If air leakage is apparent, correct orreplaceradiator 7.

1 16943
6 00194 07386 14-10
14 MEMO 14-11

• Disassembly sequence

1 V-belt

2 Automatic cooling fan coupling

3 Cooling fan

4 Spacer

5 Water pump pulley

*: Water pump assembly [O P.14-16

• Assemblysequence Reverse the order of disassembly.

CAUTION_&.-------

• Automatic cooling fan coupling 2 is an integrated unit and cannot be disassembled.Ifanyfaultisapparent,replace the whole assembly.

• When replacing V-belts 1, be sure to replacethemasasettomaintaineventension between them.

Mitsubishi 6D16TLEA engine parts contact: email: engineparts2@gmail.com

Phone: 269 673 1638

Text: 269 760 8652

Special tools

MH062345 V-belt tensionmeasurement

MITSUBISHI
TLEA TADANO
ANE
Service
Location Maintenance item
Location Tool name and shape I Belt tension = 1 gauge 03612 14-12 16946 16947
6D16
CR
COOLING FAN & VBELT
standards
1 V-belt tension
Unit: mm Standardvalue Limit Remedy 10 to 15 - Adjust Part No. Application

♦ Service procedure [I] V-belt

[Inspection]

Applyforceofapproximately98 N {10kgf}tothecenteroftheV-belt 1 and measure the extent of V-belt deflection A.

B: Alternator pulley

C: Water pump pulley

D: Crankshaft pulley

• Use of belt tension gauge

• Setupper O-ring E of� belttensiongaugeto 8 N {10 kgf} (push load) on scale F.

• SetlowerO-ringG of�belttensiongaugetotheV-belt'scorrectmaximum deflection value on scale H.

• Applythe� belttensiongaugetothecenter of V-belt 1 andpushuntil O-ring E reaches the flange K.

• Measure the extent of V-belt 1 deflection A. If the measurement does notconformwiththestandardvalue, adjusttheV-beltasshownbelow.

1 C A D 16948 E F G H 03613 03614 1 03615
14
14-13

COOLING FAN AND V-BELT

(Adjustment]

Adjustthe V-belttension as follows:

• Loosenalternatormountingbolts L (2places)andadjusttheV-belttension by moving alternator M tothe left orright.

• Whentheadjustmentiscomplete, tightentheboltsandnutssecurely.

CAUTION_&--------------

• Excessive tension in V-belt 1 may damage the belt and related bearings.

• Be sure to replace the V-belts 1 as a set to maintain even tension between them.

00203

• Keep V-belt 1 freeof oil. If the beltbecomes oily, it will slip, resulting in overheating of the engine and insufficient charging of the battery.

[I] Automatic cooling fan coupling

[Inspection]

Inspectautomaticcoolingfancoupling 2 inaccordancewiththefollowing procedure. If any defect is evident, replace theunit.

• Checkfor leakage of oil fromthe couplingbody.

• Rotateautomaticcoolingfancoupling2byhandandcheckforirregular movement or abnormal noisecausedby a defect in the bearing.

• Check for excessive axial play in automatic cooling fan coupling 2 when the engine is cool.

[Cleaning]

Ifany foreignparticleshaveadheredtobimetalA, brushthemoffgently.

16949
14-14
16950
I 14 I MEMO 14-15

UBISHI 6D16TLEA TADANO CRANE WATER PUMP

• Assembly sequence 16--+15--+14--+2--+1

2 : 113 ...... 12 ----��10--+9--+8--+7--+6 j

• Inspection after assembly lI] P.14-18

Mitsubishi 6D16TLEA engine parts contact: email: engineparts2@gmail.com Phone: 269 673 1638

269 760 8652

MITS
cover> • Disassembly sequence 1 Bolt 2 Waterpump assembly 3 Impeller 4 Flange 5 Snapring 6 Bearing 7 Spacer 8 Bearing 9 Washer
<Without
14-16 6 � 16925 <With cover> 2 10 Water pumpshaft 11 Unitseal 12 Greasenipple 13 Water pump case 14 Gasket (pumpwith cover) 15 Cover (pumpwith cover) 16 Gasket 0:Non-reusablepart 13 <6D16-TC> 16926
Text:

Service standards

Location Maintenance item

3,10 Impeller-to-waterpump shaftinterference

4,10 Flange-to-waterpump shaftinterference

0 Tighteningtorque

Location Parts to be tightened

1 Bolt (waterpumpassemblymounting)

� Lubricants and sealant

Location Points of application

6,8 Bearings

11 Unit seal outerperiphery 12 Grease nipple

� Specialtools

Location Tool name and shape

3

Impeller puller

Standardvalue Limit Remedy (Basicdiameter in [ ])

[13] 0.03 to 0.06 - Reassemblyallowed onlytwice

[26] 0.05to0.08 - Reassemblyallowed onlytwice

9.8 (1.0}

Kinds

Wheelbearinggrease

required [NLGI No. 2 (Lisoap)]

THREEBOND 1102

Wheelbearinggrease

g [NLGI No. 2 (Lisoap)]

Part No. Application MH061417 Removingimpeller

14 Unit:
mm
Unit: N·m {kgf·m}
Remarks
Tighteningtorque
-
Quantity
As
As
required
60
Unit: mm
14-17

WATER PUMP

♦ Service procedure

• Inspection after assembly

• Afterassembly,rotateflange4byhandandcheckthatitturnssmoothly withouthindrance.

• Iftheflangedoesnotturnsmoothly,disassembleandinspectthewater pump again.

3

W Impeller [Removal]

[Press-fitting]

Press-fitimpeller3 untilits endface B isinline with end face A ofwater pumpshaft 10.

C: Press NOTE

Press-fittheimpellersuchthatflange side D of waterpumpshaft 10 is the load receivingsurface.

W [IQ] Impeller-to-water pump shaft interference

Ifthemeasurementdoesnotconformwiththestandardvalue,replacethe defectivepart(s).

CAUTION,&--------------

Even if the standard value is satisfied, reassembly must not be carried out more than twice.

4
13
16928 1£]
16929
14-18
16930

@] Flange

[Removal]

A:Gear puller

[Press-fitting]

Withaloadof9,81ON{4,000kgf},press-fitflange4untilittouchesbearing 6.

B: Press

C: Cylindrical jig

@] [!QI Flange-to-water pump shaft interference

Ifthemeasurementdoesnotconformwiththestandardvalue,replacethe defectivepart(s).

CAUTION&,--------------

Even if the standard value is satisfied, reassembly must not be carried out more than twice.

16932 20 mm or more 16933 00212
14
14-19

THERMOSTATHOUSING-TEMPERATORSENSOR-THERMOSTAT

Do not remove thermostat case 6 and front hanger 8 unless they are leaking water or otherwise defective.

• Assembly sequence

Reverse the order of disassembly.

1 Water temperature sensor 2 Thermostat cover 3 Gasket 4 Thermostat 5 Bolt 6 Thermostat case 7 Gasket
16944 8 Front hanger 9 Bypass hose 10 O-ring 11 Joint 0: Non-reusable part 16945
Disassembly sequence
NOTE
Service
Location Maintenance item Standard value Limit Remedy 1 Water temperature sensor 50°C (136 n) - Replace resistance (Between termi- 80°C 48 ± s nnal CD and body) 100°c 27.2 ± 2 n4 Thermostat Valve opening 76.s ± 2°c - Replace temperature 4 Thermostat Valve lift/temperature 10 mm or more at 90°C14-20 MITSUBISHI 6D16TLEA
Mitsubishi 6D16TLEA engine parts contact: email: engineparts2@gmail.com Phone: 269 673 1638 Text: 269 760 8652
standards
TADANO CRANE

0

Tightening torque

Location Parts to be tightened

Unit: N ·m {kgf · m}

Tightening torque Remarks

1 Watertemperature sensor 34± 6.9 {3.5 ±0.7) -

� Lubricantand sealant

Location Points of application Kinds Quantity

5 10

Threadsofbolts (thermostatcasemounting)

Peripheryof O-ring

THREEBOND 2302 As required

Soapywater As required

♦ Service procedure

OJ Water temperature sensor inspection

• Place water temperature sensor 1 in a container of engine oil.

• Heat the oil until it reaches the specified temperatures. Stir the oil to ensure that it heats up evenly.

• Measure the resistance between terminal G) and body(� of the water temperature sensor.

• If the measurements donotconform with the specified values, replace the water temperature sensor 1.

[!] Thermostat inspection

Place the thermostat in a container of water. While stirring the water with arodAtoensurethatitisheatedevenly, carry outthefollowinginspection procedure. Ifthemeasurementsdo notconform withthestandardvalue!,, replace the thermostat 4.

(1) Valve opening temperature

• Support thermostat 4 with wire E to keep it away from heat source D.

• Gradually heatthewateruntil itreachesthevalveopening temperature.

• Maintain this temperature for 5 minutes and check that valve B is open.

• When the watertemperature drops below 65°C, check that valve B is completely closed.

C: Thermometer

(2) Valve lift

Heat the water to slightly higher than the valve opening temperature. With valve B fully open, maintainthis water temperature for5 minutes. Measure the extent of valve lift F.

14
A E
F
B 4 C n-----0
00218
14-21

GROUP 15 INTAKE AND

SPECIFICATIONS . . . . . . . . . . . . . . . . . . . . . . . . . . . . . . . . . . . . . . . . . . . . 2 STRUCTURE AND OPERATION . . . . . . . . . . . . . . . . . . . . . . . . . . . . . . . 3 TROUBLESHOOTING . . . . . . . . . . . . . . . . . . . . . . . . . . . . . . . . . . . . . . . . . 9 ON-VEHICLE INSPECTION AND ADJUSTMENT • Inspection of Dust Indicator . . . . . . . . . . . . . . . . . . . . . . . . . . . . . . . 10 AIR CLEANER <FHG, FWG>••••••••••••••••••••••••••••••••••••••••••••••••• 12 <FTG>•••••••••••••••••••••••••••••••••••••••••••••••••••••• 16 <Cartridge> ••••••••••••••••••••••••••••••••••••••••••••••••• 19 TURBOCHARGER ••••••••••••••••••.••••••••••••••••••••••••••• ••••••••••••30 INTERCOOLER < 6D16-TLEA > . . . . . . . . . . . . . . . . . . . . . . . . . . . . . . . . . . . . . . . . . . . . . . . . . . 52 INTAKE MANIFOLD <6D16-TLEA> ••••••••••••••••••••••••••••••••••••••••••••••••••58 EXHAUST MANIFOLD 6D16-TLEA•••••••••••••••••••••••••••••••••.••• 61 6D16-TLEA•.••••••••••••••••.••••••••••• • 62 15 I 15-1 Mitsubishi 6D16TLEA engine parts contact: email: engineparts2@gmail.com Phone: 269 673 1638 Text: 269 760 8652
EXHAUST

SPECIFICATIONS

Air cleaner element

Item

Type

Specifications

Cyclonetype, filter papertype I Cartridgetype, filter papertype

Manufacturer Nihon Donaldson

Dust indicator

Item

Type

Turbocharger

Specifications

Mechanicaltype Electricaltype

Item Specifications

Manufacturer I Mitsubishi Heavy Industries

lntercooler

Item Specifications

Type Tube & corrugated fin air cooledtype

I I
15-2

STRUCTURE AND OPERATION

Air Cleaner

Cyclonetype air cleaner <FHG, FWG>

1 Element

2 Vane

A: Outside air

B:To engine

The element 1, which comes in two types; the single and double element types, is the filter paper type. Coated with plastics and given heat treatment, the elementoffersoutstanding resistance to water and oils.

Theairthathasbeendrawninismadetorotate by the vane 2, and large particles of dust are centrifugally separated. Furthermore, small particlesof dust arefiltered out by the filter paper element, and the air thus made clean is drawn into the engine.

1 Element

2 Guide vane

3 Vacuator valve

A: Outside air

B:To engine

The element 1, which comes in two types; the single and double element types, is the filter paper type. Coated with plastics and given heat treatment, theelement offers outstanding resistance to water and oils.

Theairthathasbeendrawninismadetorotate bytheguidevane2, andlargeparticlesof dust are centrifugally separated. Furthermore, small particles of dust are filteredout by the filterpaperelement, andtheair thusmadeclean is drawn into the engine.

Thevacuatorvalve3automaticallydischarges the separated dust and dirt. When the engine speed lowers to a certain speed, the elasticity of the rubber valve overcomes the negative pressureintheaircleaner, thusopensanddischarges the dust and dirt C.

<Single element type> A 18251
A
<Single element type> 3 <Double element type>
<Double element type> 18268 18252
15
15-3

STRUCTURE AND OPERATION

Cartridge type air cleaner A

Pre-cleaner

1

1 Element

2 Inlet slot

A: Outside air

B: Into engine

The element 1 is the filter paper type. The outside air is directly drawn in from the inlet slot 2 of the air cleaner proper.

1 Pre-cleaner body

2 Guide vane

A: Outside air

B:To air cleaner

The pre-cleaner removes relatively large particles of dust contained in the air that has been drawn in.

The air that has been drawn in is made to rotate by the guide vane 2 in the pre-cleaner, and the centrifugally separated particles of dust are accumulated in the pre-cleaner body 1.

15-4
B
18266 18267

Dust Indicator

<Mechanical

1 Dustindicator

2 Signal

3 Spring

4 Transparentportion

5 Reset button

A: Negativepressure

Themechanicaltypedustindicator1 islocatednearthe intake air outletof the air cleaner.

Operatedbythenegativepressurewhichisproducedwhenthe air is drawn into the engine, the dust indicator indicates that it is hightimeto cleanor replacethe element.

Inotherwords,whentheelementisdoggedwithdust, thesuctionresistanceincreases.WhenthenegativepressureAreaches 6.23 kPa {635 mmH20}, the signal 2 (red) is pulled down against the spring pressure of the spring 3. Sothe signal (red) appears inthetransparent portion 4 ofthebodytoindicatethat itis hightimetocleanor replace the element.

After cleaning orreplacing the element, pressthe reset button 5, andthe signal will return to its original position.

1 Dustindicator

2 Warning lamp

3 Starterswitch

4 Battery

5 Air cleaner

A: Negative pressure

WhenthenegativepressureAreaches6.23kPa{635mmH20}, the electric type dust indicator closes its contact to light the warning lamp 2 and alert the driver that itis high time to clean orreplacethe element.

type> 1 • A 2 5 1 2 3 � l 4 -=5 18269 18270
type> 4 <Electric
15
15-5

STRUCTURE AND OPERATION

1 Compressor housing

1 Compressor cover

Piston ring

Snap ring

1 I5-6 / 16 1 2 14 13 2 3 12 3 15 14 1312 4 11 4 5 6 10 5 6 11 10 7 9 7 9 18271 8 18272
2 Piston
3 Thrust
4 Thrust bearing 5 Center housing 6 Wheel shroud 7 Turbine housing 8 Turbine wheel 9 Piston ring 10 Retaining ring 11 Bearing 12 Seal ring 13 Back plate 14 Compressor wheel
ring
collar
2
3
4 Insert 5
6 Bearing housing 7 Turbine back plate 8 Turbine housing 9 Shaft & turbine wheel assembly 10 Piston ring 11 Bearing 12 Oil deflector 13 Thrust ring 14 Snap ring 15 Thrust sleeve 16 Compressor wheel EARLY TYPE
Thrust bearing
LATE TYPE

LATE TYPE WITH ACTUATOR

1 Compressorhousing

2 Piston ring

3 Thrust collar

4 Thrust bearing

5 Center housing

6 Wheel shroud

7 Exhaust coupler

a Actuator assembly

Turbine housing

1o Turbine wheel

Piston ring

Retaining ring

Bearing

Seal ring

Back plate

Compressor wheel

1 15 14 18273
g
11
12
13
14
15
16
15 15-7

STRUCTURE AND OPERATION

• Waste gatemechanism <6D16-TLEA>

• The waste gate mechanism has the actuator assembly 8 to let extra exhaustgasescape. Bysodoing, theboost pressure isproperlycontrolled to prevent the turbine wheel from overrunning and prevent an excessive pressure produced in the intake manifold.

• The boost pressure is led from the compressor housing 1 through a rubber hose to the chamber A of the actuator assembly 8. When the boostpressurethatactsonthechamber A isbelowthesetting,theactuatorassembly does not operate, and the waste gatevalve remains closed, and the exhaust gas D isblown against the turbine wheel10.

• WhentheboostpressurethatactsonthechamberAexceedsthesetting,thewastegatevalveisopened.Asaresult,theamountofexhaust gas blown against the turbine wheel 1O decreases, and the rotating speedofthecompressorwheel16alsodecreases, andtheboostpressure falls.

• Operation ofoverboostvalve

• TheoverboostvalveEoperateswhentheboostpressurebecomesabnormally highdue tothe failure of the waste gate mechanism.

• WhentheboostpressureoftheoverboostvalveEexceedsthesetting, the valve releases the boost pressure into the atmosphere to make sure that a boost pressure more than necessary is notapplied to the engine.

Thevalvewhistleswhen itis in operation.

01510 01511
E
01512
15-8
01513

TROUBLESHOOTING

15 Symptoms "O ct! QJ ct! .!: C C :5 0 0 Q. li � :5 E .0 Remarks t:: 0 ::, ·;; ct! en en QJ en in ct! ct! .!: C oE 0) 0) 0 0) (.) in in C "O QJ c_ "O ::, ::, QJ ·o ::, en co ct! ct! c 0 >, .c .c QJ en en .c X X QJ > QJ - QJ QJ QJ ·c3 "ui en en C ;:,,:_ 2 :i= en C ::, ·o, (.) ::, QJ ct! ct! ct! :.c en (.) .... .c C X -x Possible causes w in 3: C w (/) QJAir cleaner Clogged aircleanerelement 00 0 Turbocharger Defective bearing 0 0 0 Carbon deposited onturbinewheel 0 0 Turbinewheel interfering withwheel shroudand 0 0 0 turbine back plate Turbinewheel interfering withturbine housing 0 0 0 Bent turbinewheel 0 0 0 Damaged turbinewheel 0 0 0 Compressorwheel interferingwith compressor 0 0 0 housing Thrust sleeve, thrustcollar andthrustbearing 0 0 0 seizure Damaged compressorwheel 0 0 0 Oilleaksdue toworn pistonring andinsert 00 0 Improperly mounted pistonring 0 Unsmooth
ofinternal partsdue
0 0 clogged
Damaged oil seals due
0 0 Improperly mounted compressor housing 0 000 Improperlymountedturbinehousing 0 0 lntercooler Foreign substances deposited
core of 0 intercooler Deformedfront pipe, muffler, tailpipe 0 Improperlymounted front pipe, muffler, tail pipe 0 Incorrect valve clearance 0 [O Gr 11 Defective head gasket 0 [O Gr11 Worn valveand valve seat and deposited carbon 0 lJ] Gr 11 Sagging valve spring 0 Gr 11 Worn or damaged piston ring 0 0 [O Gr11 Worn or damaged piston ringgrooveof piston 0 0 DJ Gr 11 Malfunctioning cooling equipment 0 OJ Gr 14 Excessive engine oil 0 i]] Gr12 Seizure of major moving parts 0 [O Gr11 Uneven or excessive fuel injection 0 [O Gr13 15-9
sliding
to
lubrication oil pipeand eyeball
tocloggedoilreturn pipe
on front

ON-VEHICLE INSPECTION AND ADJUSTMENT

Inspectionof Dust Indicator

Service standards

Location Maintenance item Standard value Limit Remedy

- Negative pressure for operation ofdust indicator 6.23± 0.57 kPa {635 ±58 mmH20} A

<MechanicalType>

�1

2 18274 <ElectricType> 1

• Before checking the dustindicator 1, clean or replace the air cleaner element.

• Startthe engine, and cover the inlet of theaircleaner through use of awoodenblockBinsuchawaythatthenegativepressureofthedust indicator1willhavethenominalvalueandcheckthatthemechanical type will showthe red signal or theelectric type will light the warning lamp. Ifthere isanything wrong inoperation, replace defectiveparts.

2 Aircleaner

A:Negativepressuregauge

15-10
18275
15
15-11
MEMO

AIR CLEANER <FHG, FWG>

<FHG Single ElementType>

<FHG Double ElementType>

<FWG>

• Disassembly sequence

Clamp

Baffle

Dustcup

O-ring

Do not disassemble the safety element 8 except when it need be replaced.

• Reassembly sequence

Reverse the order of disassembly.

1
2
3
4
Nutgasket
Bolt
<FWG> Element
10 4 10 7 1 5 1 3 2 5 1 7 Nut gasket <FHGdoubleelement type> 8 Safety element <FHGdouble elementtype> 9 Dustindicator 10 Air cleaner body 0: Non-reusable part
<FHG>
gasket
NOTE
I5-12 18276 18277 18278

Service standards

Location Maintenanceitem Standard value Limit Remedy

9 Negativepressureforoperationof dustindicator 6.23±0.57 kPa(635±58mmH20} - Replace

� Sealant

Location Points of application Kinds Quantity

9 Apply to threadsof dustindicator

Service

THREEBOND1401B

[fil Dust cup Asrequired

procedure

Reassemblethedust cup 3 with thearrow mark A toward theinlet B.

[]] Element

[Cleaning]

• Blow compressed air 685 kPa {7 kg/cm2} or less from inside the element 6.

• Blow thecompressedair, working along the creases of filter paper of the element 6 up and down throughout theelement.

CAUTION&_--------------

• Do not strike the element 6 to loosen dust.

• Do not blow the air from outside the element 6.

[Inspection]

• Put a light insidetheelement 6.

• Ifthefilterpaperisbrokenorpartially thin, orifthepackingonthetop of theelement 6 is broken, replace theelement.

• Ifthedustdepositedontheelement6iswetwithoilsmokeorsoot, replace theelement irrespective ofthe replacement intervals.

15
A 18279 6 13996
13997
6
15-13

AIR CLEANER <FHG, FWG>

[fil Inspection of dust indicator

Perform thefollowing checks. Ifthereisanything wrong, replace the dust indicator.

<Mechanical type>

I• Mount a hand vacuum pump A on the dust indicator 9 and apply the standard operating negative pressure to check whether the red signal appears.

<Electric type>

• Mount a hand vacuum pump A on the dust indicator 9 and apply the standard operating negative pressure to check that there is continuity between terminals G) and®.

• Checkthatwhenthereisnonegativepressureappliedtothedustindicator 9, there is no continuity between the terminals G) and®.

A
9 A 9 9 15-14
18281 18282 18280
1s I MEMO 15-15

AIR CLEANER <FTG>

<Single Element Type>

<Type A>

<Type B>

<Double Element Type>

<Type A>

<Type B>

• Disassembly sequence

1 Clip <Type B>

2 Wing nut <Type B>

3 Cover <Type B>

Gasket <Type B>

Nut gasket

Element

Do not disassemble the safety element 8 except when it need be replaced.

• Reassembly sequence

Reverse the order of disassembly.

5
6
11 10 7
NOTE 11 8 Safetyelement <Doubleelement type> 9 Dust indicator 10 Vacuator valve 11 Air cleaner body 0: Non-reusable part
4
Nut gasket <Double element type>
15-16 18283 18284 18285 18286

Servicestandards

Location Maintenance item Standard value Limit Remedy

9 Negative pressure for operationof dust indicator 6.23 ±0.57 kPa {635± 58 mmH20} - Replace

� Sealant

Location Points of application Kinds Quantity

9 Applyto threadsof dust indicator

THREEBOND 14018

♦ Service procedure � Element

[Cleaning] As required

• Blow compressed air 685 kPa {7 kg/cm2} or less from inside the element 6.

• Blow the compressed air, working along the creases of filter paper of the element 6 up and down throughout the element.

CAUTION&--------------

• Do not strike the element 6 to loosen dust.

• Do not blow the air from outside the element 6.

(Inspection]

• Put a light inside the element 6.

• If the filter paper is broken or partially thin, or if the packing on the top of the element 6 is broken, replace the element.

• If the dust deposited ontheelement 6 is wet with oil smokeor soot, replace the element irrespective of the replacement intervals.

[]] Inspection of dust indicator

Performthefollowingchecks. If thereis anything wrong, replace the dust indicator.

<Mechanical type>

• Mount a hand vacuum pump A on the dust indicator 9 and apply the standard operating negative pressure to check whether the red signal appears.

15
13996
13997 A 9 18281
6
6
15-17

AIR CLEANER <FTG>

<Electric type>

• Mount a hand vacuum pump A on the dust indicator 9 and apply the standard operating negative pressure to check that there is continuity between terminals G) and®.

• Checkthatwhen there isno negative pressure applied tothe dust indicator 9, there is no continuity between the terminals G) and®.

A 9
9
15-18
18282
18280

AIR CLEANER <CARTRIDGE> 15

• Disassembly sequence

1 Clamp

2 Air cleaner

3 Dust indicator

• Reassembly sequence

Reverse the order ofremoval.

0----1

18287

Service standards

Location

Maintenanceitem Standardvalue Limit Remedy

3 Negativepressureforoperation ofdustindicator 6.23±0.57 kPa (635±58 mmH20} - Replace

� Sealant

Location

3

3 Points ofapplication Kinds Quantity Applyto threadsofdustindicator

THREE BOND 14018

♦ Service procedure

[fil Cleaning air cleaner

2

As required

18288

[Cleaning]

Blowcompressedair685kPa{7kg/cm2}orlessfrominsidetheaircleaner 2, workingalong the creasesof filterpaper up anddown to clean the air cleaner.

CAUTION&_--------------

• Donotstriketheelement and donot blowthe air from the suction portion.

• Make sure that the loosened dust is not blown into the element.

[1J Inspection of dust indicator

• MountahandvacuumpumpAonthedustindicatorandapplythestandardoperatingnegativepressure to check whether theredsignalappears.

A 18281
15-19 Pages
to 15-29 are deleted as they are not in use.
15-20

TURBOCHARGER 6D16-TLEA

18387

O Tightening torque

Location Parts to be tightened

1 Eyebolt (for mounting oilinletpipe)

4 Nut (for mounting turbocharger assembly)

Lubricant Location Points of application

5 Supplywhen installing turbochargerassembly

• Removal sequence

1 Eyebolt

2 Oil inlet pipe

3 Oil return pipe

4 Nut

5 Turbocharger assembly

6 Gasket P.15-32

*: Exhaust manifold P.15-60, 61

0: Non-reusable part

• Installation sequence Reverse the order of removal. Unit:

♦ Service procedure

5

[fil Installation of turbocharger assembly

Whentheturbochargerassembly5isinstalled,supplyengineoilfromthe oil hole A to make sure that all the partsoperate smoothly.

18388

N·m {kgf·m} Tightening torque Remarks 21
-
41
Kinds Quantity
{2.1)
{4.2)
Engine
As required
oil
15-30
I 1s I MEMO 15-31

TURBOCHARGE 6D16-TLEA

Turbocharger Assembly

CAUTION&-------------------------

Carefully remove the piston rings 24 and 31, as they are readily broken.

• Operations
0: P.15-34 • Disassembly sequence 1 Hoseclamp 2 Hose 3 Retainingring 4 Nut 5 Nut 6 Actuator assembly 7 Rod end 8 Bolt 9 Bracket 10 Bolt 11 Exhaustcoupler 12 Gasket 13 Bolt 14 Clamp 15 Turbinehousing 16 Bolt 17 Clamp 18 Compressorhousing 19 O-ring 0 11 12 20 Centerhousing & rotating assembly 21 Locknut 22 Compressorwheel 23 Turbinewheel 24 Piston ring 25 Wheelshroud 26 Bolt 27 Backplate 28 Sealring 29 Thrustcollar 30 Thrustbearing 31 Piston ring 32 Retaining ring 33 Bearing 34 Retaining ring 35 Centerhousing O:Non-reusablepart 18315
before disassembly
15-32

• Cleaning after disassembly Cl] P.15-35

• Reassembly sequence

CAUTION&------------------------Do not widen the piston rings 24 and 31 more than necessary, as they are readily broken.

• Inspection after reassembly CO P.15-35

standards

Mitsubishi 6D16TLEA engine parts contact: email: engineparts2@gmail.com Phone: 269 673 1638

269 760 8652

35➔34➔33➔32➔29➔30➔31➔28➔27➔26 y 22➔21➔20➔19➔18➔17➔16 7 24➔23 L 15➔14➔13➔12➔11➔10➔9➔a➔6➔4➔5➔7➔3➔2➔1 15
Service
Location Maintenance item 6 Actuatorassemblysetpressure 23 Turbine Bearing journal outside diameter wheel Shaftbend Hubdiameter Piston ring mounting Groove portion width Groove diameter Playinradialdirection Playinthrustdirection 27 Backplate Seal land height Seal bore insidediameter 29 Thrust Piston ring mounting Groove collar portion width Groove diameter Thrustbearingmounting Groove portion width Groove diameter Insidediameter 35 Center Bearinginserting portion inside housing diameter Seal bore insidediameter Standard value Limit (Basic diameter in [ ]) 83to 90kPa {625to 675mmHg}[10.156] 10.152or more - 0.01or less [17.31] 17.25or more 1.69 1.74or less [14.46] 14.40or more 0.076to 0.1500.025to 0.07611.672 11.658or less [12.687] 12.712or less 1.640 1.659or less [10.35] 10.29or more 4.43 4.44or less [9.53] 9.40or more [6.358] 6.363orless [15.800) 15.806or less [18.03) 18.06or less Unit: mm Remedy Adjust Replace Check Replace Replace Replace 15-33
Text:

TURBOCHARGER 6D16-TLEA

0

Nut (formounting actuator assembly)

Nut (for mounting rodend)

0.80}

0.70}

to2.3(0.21to 0.23) After tightening, turndown90°C to 110°C further from that position. 26 Bolt (formountingback plate)

to14 {1.26to 1.45} -

/:i Lubricants

of application

Applytothreadsand bearingsurfaceofbolt

Apply to threadedportion of bolt

� Special tools

Part No. Application

801059-0

Removaland installation ofcompressor

801053-0 wheel

801098-0

Inspectionofplay of turbine wheel in radial direction

801050-0 Installation ofpiston ring

801058-0 Removal and installation of retaining ring

♦ Service procedure

• Operations before disassembly Make alignment mark A on the turbine housing 15, compressor housing 18 and center housing & rotating assembly 20.

Tightening torque Unit: N·m {kgf·m} Location Parts to be tightened Tightening torque Remarks 4
5.6
5
5.6
8 Bolt (for mounting bracket) 20
22
10 Bolt (for mounting exhaust
20to22
13 Bolt (for mounting clamp) 20to22 {2.07 to
16 Bolt (for mounting clamp) 16to 19 {1.67
21
2.1
12
to 7.8 (0.57to
to 6.8 (0.57to
-
to
{2.07to2.29}
coupler)
{2.07to2.29}
2.29}
to 1.89)
Lock nut (for mountingcompressor wheel)
Location Points
Kinds Quantity 13
MOLYKOTE Asrequired 16,26
19, 23,
all
24, 29 to 34
Applyto
of the parts.
Location Tool name and shape T-handle 22 Holding fixture 23 Measuringelement 24 Pistonring inserter 32,34 Retainingring remover 11 18 15 18316 15-34 LOCTITE As required Engineoil As required
Mitsubishi 6D16TLEA engine parts contact: email: engineparts2@gmail.com Phone: 269 673 1638 Text: 269 760 8652

• Cleaning after disassembly

• Before cleaning, visually check the individual parts for burns, rubbed stains, etc. which might disappear after cleaning. If there is anything wrong, replace.

CAUTIONLt,--------------

Do not immerse the actuator assembly 6 in the solvent. Clean it with a cloth dipped in kerosene.

• Immersethedisassembledpartsinanon-combustiblesolvent(0AIDO CHEMICAL INDUSTRY CO., LTD.DAI CLEANER T-30).

• TakeoutthepartsfromthesolventandblowcompressedairAagainst them.

• Scrape off deposits.

B: Plasticscraper orstiff brush

• Re-immerse in the solvent.

• Blowcompressed air A.

• Inspection after reassembly

(1) Manually rotate the compressor wheel 22 and turbine wheel 23 to check whether they rotate smoothly.

13630 18358
13628
15-35

TURBOCHARGER 6D16-TLEA

(2) Play of turbine wheel in radial direction

• Mount the (&] Measuring Element to the dial gauge A and insert it from the oil outlet and press it against the shaft of theturbine wheel 23 at right angles.

• Move the shaft of the turbine wheel 23 up and down by both hands to measure the play in the radial direction.

• If the reading exceeds the limit, replace the bearing 33.

(3) Play of turbine wheel in thrust direction

• Set the dial gauge A on the end of the turbine wheel 23 and move the shaft of the turbine wheel in the axial direction to measure the play.

• If the reading exceeds the limit, worn or defective back plate 27, thrust collar 29 and thrust bearing 30 are suspected. Replace.

(4) Measurement of operating pressure of actuator assembly

• Set the dial indicator A on the end of the rod end 7. (In this case, set the scale of the dial indicator to 0.)

• Extend the rod end 0.38 mm by use of the external air B.) (The scale of the dial indicator A is 0.38 mm.)

• With the scale of the dial indicator A at 0.38 mm, read the value of the pressure gauge C, and check to ensure that the reading is between 83 and 90 kPa {625 to 675 mmHg}.

(5) Adjustment of operating pressure of actuator assembly

• IfthereadingofthepressuregaugeC isnot between 83and90kPa {625 to 675 mmHg}, remove the retaining ring 3, loosen the nut 5, and adjust the length of the rod end 7.

Rod end length adjusting direction

Rod end extending direction � Reduces the pressure. Rod end retracting direction -> Increases the pressure.

CAUTION&------------­

When the rod end length is adjusted, if the piston assembly D is rotated, damage to the diaphragm in the actuator assembly 6 will result. Secure the piston assembly through use of avice, pliers, etc. to make sure that it is not rotated.

i8317 27 30 A 29 18318 C 18325 15-36

[fil Air-tightness check on actuator assembly

Slowlyapplytheairpressure A totheactuatorassembly 6 tocheckthat therearenoairleakswhentheairpressureis87kPa{650mmHg}.Ifthere are airleaks, replacetheactuatorassembly.

B: Pressuregauge

� Turbine housing

[Removal]

A: Rubberhammer

CAUTION&--------------

• While using care to prevent damage to the turbine housing 15, lightly strike its entire circumference with a rubber hammer or similar tool.

• Since theblades ofthe turbinewheel23are readilybent, usecare to make sure that they do not hit the turbine housing 15.

[Installation]

Apply MOLYKOTEtothethreadsandbearingsurfaceofbolt 13, partially tighten thebolt, line up thealignmentmarks made before disassembly, andthentightenthebolt to thespecifiedtorque.

CAUTION&-

Use care toprevent damage to the blades of the turbine wheel23.

� Compressor housing

[Removal]

A: Rubber hammer

CAUTION&--------------

• While usingcaretopreventdamagetothecompressor 18, lightly strike its entire circumference with a rubber hammer A or similar tool.

• Sincethebladesofthecompressorwheel22 arereadily bent, use caretomakesurethatthey donot hitthecompressorhousing 18.

[Installation]

• Place the center housing & rotating assembly 20 on the compressor housing18, lineupthealignmentmarksmadebeforedisassembly,and tighten the bolt 16 tothespecifiedtorque.

8 18366 A 15 18319 18 18322 15
15-37

TURBOCHARGER6D16-TLEA

� Compressor wheel

[Removal]

• Hold the �a Holding Fixture in a vice, and slowly insert the center housing & rotating assembly 20.

• Using the 1gb T-handle, remove the lock nut 21 and slowly withdraw the compressor wheel 22 upward.

CAUTION&-------------­

Use care to prevent bending the shaft of the turbine wheel 23.

[Installation]

• Hold the shaft of the turbine wheel 23 and center housing 35 by hand, and slowly insert them into the �a Holding Fixture.

CAUTION&--------------

• Whenthey areinserted, use care to preventdamage to theblades of the turbine wheel 23.

• Do not release the shaft before insertion, as the turbine wheel 23 falls down.

• Holdthe �a Holding Fixturein avice andslowly insertthe compressor wheel 22.

• Using the �b T-handle, tighten the locknut 21 to the specified torque, and then turn it down 90°C to 110°C further from that position.

CAUTION&--------------

Use care to prevent bending the shaft of the turbine wheel 23.

� � Turbine wheel, wheel shroud

[Removal]

Placethebackplate27ofthecenterhousing35onthecompressorhousing 18 removed beforehand, and remove the turbine wheel 23 and wheel shroud 25.

[Installation]

After installation, lightly rotate the turbine wheel 23 by hand to check whether it continues to rotate. If it does not rotate lightly, re-perform the disassembly and reassembly procedures.

35 15-38 18 23 25 27 18300 18301 18303 18304

[Inspection]

(1) Bend of shaft

• Using the dial indicator, measure at the illustrated position.

• If the reading exceeds the limit, replace the turbine wheel 23.

(2) Outside diameters of journal and hub

If any reading exceeds the limit, replace the turbine wheel 23.

A: Journal

B:Hub

(3) Width and outside diameter of piston ring groove

If any reading exceeds the limit, replace the turbine wheel 23.

A:Width

B: Outside diameter

� Installation of piston ring

Insert the � Piston Ring Inserter into the turbinewheel 23and install the piston ring 24.

� Back plate

[Installation]

Slowly install the back plate 27 on the center housing 35, while lining up the alignment marks made before disassembly, andtighten the bolt 26 to the specified torque.

23 13655 23 18305 23 B 18306 ----23 18307 35 18308 L1s I
15-39

TURBOCHARGER 6D16-TLEA

[:=9§�,\

[Inspection]

• MeasuretheseallandheightAandsealboreinsidediameter 8 ofthe backplate 27.

• Ifany reading exceeds the limit, replace the back plate 27.

� Piston ring groove and groove diameter of thrust collar and thrustbearinggroovewidth, groovediameter and bore insidediameter

Ifany reading exceeds the limit, replace the thrust collar 29.

A: Piston ring groove

8:Thrust bearing groove

C:Groove width

D: Groove diameter

E: Bore inside diameter

@Q] Installation of thrust bearing

Installthe thrust bearing30 on the thrust collar 29 with the oil groove A toward thecenter housing 35, and insertitontothe positioning pins 8 of the center housing.

� � Retaining ring

[Removal]

�: Retaining Ring Remover

CAUTION&--------------

When the retaining rings32 and34 are removed, hold your hand over the rings to make sure that they do not bounce out.

[Installation]

Install the retaining rings32 and34 securely in the groove ofthe center housing.

CAUTION&--------------

When the retaining rings32 and34 are installed, hold your hand over the rings to make sure that they do not bounce out.

27
18309 29 A 8 18311 A 35 18312 32,34 18313 32,34 18313 15-40

� Check the bearing inserting portion inside diameter and seal bore diameter ofthecenter housing.

Ifanyreadingexceeds thelimit, replacethe center housing35.

A:Bearinginsertingportion insidediameter

B:Seal bore diameter

35 18314 15
15-41 Pages
are deleted as they are not in use.
15-42 to 15-51

INTERCOOLER 6D16-TLEA TOP HOSES

• Disassembly sequence

1 Clamp

2 Rubber hose

3 lntercooler

• Reassembly sequence

Reverse the order of disassembly.

Service standards

Location Maintenance item

018348

Standard value

Limit Remedy

3 lntercooler (air leakatthe airpressureof 150kPa 0cm3 {0 ml} - Replace (1.5 kgf/cm2})

Tightening torque

Location Parts to be tightened

1 Clamp (for mounting rubber hose)

Tightening torque 4.9to9.8 (0.5to 1.0)

♦ Service procedure [1] Inspection of intercooler

Unit: N ·m {kgf·m}

Remarks -

Put a cap A on either of the air ports of the intercooler 3 and connect a hosetotheother, immerse the intercooler3 inawater tank, andapplythe standard pressure from the hose side to check for air leaks. If there are air leaks, replace the intercooler.

A
15-52
18349

INTERCOOLER 6D16TLEA SIDE HOSE TYPE

P Disassembly sequence

1 Clamp

2 Air inlet hose

3 Clamp

4 Air inlet pipe

5 Clamp

6 Air inlet hose

7 Boost air temperature sensor L Gr13E

8 Intercooler

P Assembly sequence

Follow the disassembly sequence in reverse.

Service standards

Location Maintenance item

Standard value

LimitRemedy

8 Air leakage from intercooler (Air pressure : 195 kPa {2.0 kgf/cm2}) 0 cm3 {0 mL}—Replace

T Tightening torque Unit : N·m {kgf·m}

LocationParts to be tightenedTightening torqueRemarks

1, 3, 5 Clamp (Air inlet hose and inlet duct mounting)4.9 to 9.8 {0.5 to 1.0}—

7 Boost air temperature sensor14.7±2 {1.5±0.2}—

Mitsubishi 6D16TLEA engine parts contact:

email: engineparts2@gmail.com

Phone: 269 673 1638

Text: 269 760 8652

15-24
5 1 T 1 T 7 T 3 T T 5 8 T 6 4 2 13458
I 1s I MEMO 15-53

♦ Service procedure

[I] Installation of air heater

Theairheater 4shouldbeinstalledwithitsarrowmark A directedtoward the intake manifold7.

[I] Installation of intake manifold

• Theintakemanifoldisinstalledbyuse ofeitheraseatgasketorsealant. This sectiondescribestheproceduresforinstallation byuse ofa sealant.

• Applysealant A evenlywithoutabreaktothecylinderheadmounting surface ofthe intake manifold7.

• Installthe intake manifold onthecylinderheadinlessthanthree minutesafterapplicationofsealant A.

CAUTION&--------------

• Thoroughly clean the sealant applyingsurface of the intake manifold 7 beforehand.

• Whentheintakemanifold7isinstalled, makesurethatitisnot out of alignment.

• When the manifold mounting bolt 6 was loosened, be sure to reapply sealant A to the intake manifold 7.

• Do not start the engine in less than an hour after installation.

A 4 18698 7 ,=="�'==®� 18339
15
15-55

INTAKE MANIFOLD-NOINTERCOOLER TYPE

<Exhaust outletforward specification>

<Exhaust outletrearward specification> *

• Disassemblysequence

1 Rubber hose

2 Earth plate <with air heater>

3 Air inlet pipe

4 Gasket

5 Air heater <withair heater>

Spacer <withoutair heater>

6 Gasket

7 Bolt

8 Intake manifold

*:Turbocharger assembly [O P.15-20, 42

O: Non-reusable part

• Reassembly sequence

Reverse the order of disassembly.

15-56 18340 2 18341

0

Tightening torque

Location Parts to be tightened

Unit: N·m {kgf·m}

Tightening torque Remarks

7 Bolt(formounting intakemanifold) 19{1.9} -

� Sealant

Location Pointsofapplication Kinds Quantity

8 Applytocylinderhead mountingsurface oftheintake THREE BOND 1207B As required manifold <With air heater> A

Al♦ Service procedure

[fil Installation ofair heaterorspacer

Theairheater 5 orthespacer 5 shouldbeinstalledwith itsarrowmark A directedtoward the intakemanifold8.

[fil Installation of intake manifold

• Theintakemanifold8isinstalledbyuseofeitheraseatgasketorsealant.Thissectiondescribesthe proceduresfor installationbyuseof a sealant.

• ApplysealantAevenlywithoutabreaktothe cylinder headmounting surface of the intake manifold 8.

• Installtheintakemanifold8onthecylinderheadinlessthanthreeminutes afterapplication ofsealant A.

CAUTION&-------------

• Thoroughlycleanthesealantapplyingsurfaceoftheintakemanifold 8 beforehand.

• Whentheintakemanifold8isinstalled,makesurethatitisnotout of alignment.

• Whenthemanifoldmounting bolt7wasloosened, besuretoreapplysealant Ato the intakemanifold8.

• Do not starttheenginein lessthan an hourafter installation.

15
5 <Without
heater> A 5 <jJ 1.5
air
18698 18699
18339
15-57

INTAKE MANIFOLD 6D16-TLEAINTERCOOLER TYPE

• Disassembly sequence

1 Rubber hose

2 Overboost valve

3 Air inlet pipe

4 Air inlet pipe 5 Gasket 6 Spacer 7 Gasket

• Reassembly sequence

Reverse the order of disassembly.

0

Tightening torque

Location Parts to be tightened

2 Overboost valve

8 Bolt (formounting intake manifold)

� Sealant

Location Points of application

9 Apply to cylinder head mounting surface of the intake manifold

8 Bolt

9 Intake manifold

*: Turbocharger assembly [D P.15-30

0: Non-reusable part

15-58
Tightening torque 31
23
THREE BOND 1207B 18342 Unit: N ·m {kgf·m} RemarksQuantity As required
{3.2}
{2.37} Kinds

♦ Service procedure

[]] Installation of spacer

Thespacer6shouldbeinstalledwithitsarrowmarkAdirectedtowardthe intake manifold 9.

[]] Installation of intake manifold

• The intake manifold9isinstalledbyuse ofeitheraseatgasket orsealant. This section describes the procedures for installation by use of a sealant.

• Apply sealant A evenly without a break to the cylinder head mounting surface of the intake manifold 9.

• Install theintake manifold9onthecylinderheadinlessthan three minutes after application of sealant A.

CAUTION&-------------

• Thoroughly clean the sealant applying surface of the intake manifold 9 beforehand.

• Whentheintakemanifold9isinstalled, make surethatitisnotout of alignment.

• When the manifold mounting bolt 8 was loosened, be sure to reapply sealant A to the intake manifold 9.

• Do not start the engine in less than an hour after installation.

A 6 18699 qi 1.5 AT 18339
15
15-59

EXHAUST MANIFOLD 6D16-TLEAEARLY TYPE

• Disassembly sequence

1 Cover

2 Nut

3 Exhaust manifold

4 Gasket

*: Cylinder head u] Gr.11

0: Non-reusable part

• Reassembly sequence

Reverse the order of disassembly.

0

Tightening torque

Location

Parts tobetightened

2 Nut (formounting exhaust manifold)

Tightening torque

41 {4.2}

♦ Service procedure

[II Installation of gasket

4

Unit: N·m {kgf·m}

Remarks

Installthegasket4withthegrommetfold-backportionAtowardthecylinderhead.

15
06185 18346
-
15-61

EXHAUST MANIFOLD 6016-TLEALATETYPE

• Disassembly sequence

1 Front insulator

2 Rear insulator

3 Nut

4 Exhaust manifold

5 Gasket

*: Cylinder head [D Gr.11

0: Non-reusable part

• Reassembly sequence

Reverse the order of disassembly.

0

Tightening torque

Location

Parts to be tightened

3 Nut (formounting exhaust manifold)

Tightening torque

41 {4.2}

♦ Service procedure

[I] Installation of gasket

5

Unit: N·m {kgf·m}

Remarks -

Installthegasket 5 withthe grommet fold-back portion A towardthecylinder head.

06185 15-62 18347

GROUP 54 ELECTRICAL SYSTEM

SPECIFICATIONS...........................................2 STRUCTUREANDOPERATION..............................3 TROUBLESHOOTING........................................30 ON-VEHICLEINSPECTIONANDADJUSTMENT................32 • Inspection of PreheaterSystem ...........................•......•.. 32 • Inspection of Safety Relay ...............................••......... 32 • Automatic Stop System 37 ALTERNATOR <24V-35A> ................................................•.......... 44 <24V-80A> ....................................................... Deleted <24V-60A> ............................................,.......... Deleted <24V-40A> (withvacuumpump) ................................... Deleted <24V-40A> (withoutvacuum pump) .........................•...... Deleted <24V-90A> ................................................•...... Deleted <12V-80A> ....................................................... Deleted STARTER <24V-5kW> ...............................................•........... 94 <24V-6kW> ...............................................••...... Deleted <12V-5.5kW> .............................................•....... Deleted PREHEATERCIRCUIT.......................................130 ENGINESTARTERCIRCUIT..................................134 AUTOMATICSTOPSYSTEM • Shutdown ..............................................•.......... 136 • Run-on .................................................•.......... 140 54 54-1

SPECIFICATIONS

Item Specifications Alternator Manufacturer MITSUBISHIELECTRICCORP. Type Alternator Alternatorwithbuilt-inregulator,fanexternallymountedtype withbuilt-in regulator, faninternal contacttype Withbrush Brushless Vacuumpump Notprovided Provided Notprovided Model A3TN A6T7 A2T3 A4TU A4T4 I A4T4 A4T7 A4TU 5379 6086 2386 3186 0286 0299 0199 0286 Output (V-A) 24-35 24-80 12-60 24-40 24-90 12-80 Starter Manufacturer MITSUBISHIELECTRICCORP. Model Output(V-kW) 24-5 24-6 12-5.5 Magnetswitch 16orless 8orless operatingvoltage (V) Starter Model relay Excitingcurrent 24-2.3 12-4 (V-A) Closedmagnetic 16orless 8orless voltage(V) Openedmagnetic 4orless 3.5orless voltage(V) Allowablebreaking 200 200 voltage(V) Intakeair Manufacturer HiyoshiDenso heater Voltage-capacity 22-1.83 22-2.9 11-1.83 (V-kW) Fusecapacity (A) - 127Heater Manufacturer relay Model Voltage-current 24-2.3 12-5.2 (V-A) Fusecapacity (A) 91 127Glow Type Sheathedtype plug Voltage-current 23-3 (V-A) Glow Model relay Voltage-current 24-2.3 (V-A) Fusecapacity(A) 127 Safety Model relay Stop Manufacturer KimuraYoko NIPPONDENSO solenoid Kind Shut-downtype Run-ontype Type Electromagnetictype Solenoid Manufacturer NikkoDenki relay Kind Shut-downtype Run-ontype Model 24V 12V 54-2

STRUCTURE AND OPERATION

13 0.85 0.85 0.85 11 3 Wiresymbol � � Wireconductorsectionalarea (0.85mmormore) 15 16 18 23 0.85 2 1 18458 1 Starterswitch 2 Heater relay 3 Airheater 4 Heaterindicator 5 Battery 6 Batteryrelay 7 Tachometersensor 8 Ammeter 9 Lampswitch 10 Tachometer 11 Fuse box 12 Safetyrelay 13 Alternator 14 Starter relay 15 Starter 16 Thermometer (foroil) 17 Thermo sending unit 18 Thermometer (for coolant) 19 Thermo sending unit 20 Oilpressure gauge 21 Oil pressure gauge unit 22 Warninglamp 23 Oil bypass alarm switch B:TerminalB E:Terminal E L:Terminal L M:Terminal M P:Terminal P R:Terminal R S:TerminalS SW:Terminal SW 54 54-3
Circuit Diagram <24V (Air Heater) Specification>

STRUCTURE AND OPERATION

Circuit Diagram <24V (Glow Plug) Specification>

Wiresymbol QJlli � Wireconductorsectionalarea (0.85mmormore)

Terminal M

Terminal P

Terminal R

Terminal S

Terminal SW

13 5 3 54-4
15 2 1 18459 1
2 Glow
3 Glow
4 Glow
5 Battery 6 Battery
7 Tachometer sensor 8 Ammeter 9 Lamp switch 10 Tachometer 11 Fuse box 12 Safety relay 13 Alternator 14 Starter relay 15 Starter 16 Thermometer (for oil) 17 Thermo sending unit 18 Thermometer (for coolant) 19 Thermo sending unit 20 Oil pressure gauge 21 Oil pressure gauge unit 22 Warning lamp 23 Oil bypass alarm switch B:
B E:
E L:
M:
P:
R:
S:
SW:
Starter switch
relay
plug
indicator
relay
Terminal
Terminal
Terminal L

Circuit Diagram <12V Specification>

1 Starter switch 2 Heater relay

Airheater

Heater indicator

Battery

Battery switch

Tachometer

sending

pressure gauge

pressure gauge

Warning lamp

Oil bypass alarm switch

54
13 4
5
6
7
sensor 8
9
switch 10 Tachometer 11 Fuse box 12 Hour meter 13 Alternator 14 Starter relay 12 15 15 Starter 16 Thermometer (for
17
unit 18
19
unit 11 20
21
B: Terminal B E: Terminal E L: Terminal L M: Terminal M R: Terminal R + 8 S: Terminal S 2 SW: Terminal SW 8 5 3 2 1 18460 54-5
3
Ammeter
Lamp
coolant)
Thermo
Oil
Oil

STRUCTURE AND OPERATION

1 Rectifier

Stator assembly

Rotorassembly

Pulley

Front bearing

Front bracket

Alternator <24V-35A>
54-6 1 7 Fan 8 Rear bracket 9 Brush spring 10 Regulator & brush holder 11 Brush 12 Rearbearing 2 7 16742 B:Terminal B E:Terminal E L:Terminal L P:Terminal P R:Terminal R
54 <24V-80A> p A�L 2 3 4 5 1 9 8 7 10625 1 Rectifier 7 Frontbracket B:Terminal B 2 Rotor assembly 8 Field coil E:Terminal E Stator assembly 9 Rearbracket L:Terminal L Fan 10 Regulator P:Terminal P Pulley 11 Rear bearing R:Terminal R Frontbearing 12 Brush 54-7

STRUCTURE AND OPERATION

1 Rectifier 7 Front bracket 2 Stator assembly 8 Brush Rotor assembly 9 Brush spring Pulley 10 Rear bracket Front bearing 11 Regular & brush holder Fan 12 Rear bearing 54-8 9 8 7 B: Terminal B E: Terminal E L: Terminal L R: Terminal R 16743
<12V-60A>

<24V-40A (with vacuum pump)>

1 Rectifier 7 2 Rotor assembly 8 3 Stator assembly 9 4 Fan 10 Pulley 11 Front bearing 12 R L 1 11 Front bracket Field coil Rear bracket Regulator Vacuum pump Rear bearing 54 2 3 4 5 8 7 09431 B: Terminal B E: Terminal E L: Terminal L P: Terminal P R: Terminal R 54-9

STRUCTURE AND OPERATION

<24V-40A (without vacuum pump), 12V-80A>

E 1 Rectifier 7 2 Rotor assembly 8 Statorassembly 9 Fan 10 Pulley 11 Front bearing 54-10 p 8 R L 1 10 Front bracket Field coil Rear bracket Regulator Rear bearing 11 2 3 4 8 08644 B:Terminal B E: Terminal E L:Terminal L P: Terminal P R:Terminal R
R L A 1
4
5
2 11 1 7 Front bearing 8 Frontbracket 9 Rotor assembly 10 Rear bracket 11 Rear bearing A: Neutral
54 3 4 5 10 8 16744 8:Terminal B E:Terminal E L:Terminal L P: Terminal P R: Terminal R 54-11
<24V-90A> 1 Rectifier 2 Regulator
Stator assembly
Fieldcoil
Fan Pulley
pointdiode
Charging Circuit 1 Battery 2 Batteryrelay 3 Ammeter 4 Fuse box 5 Alternator 1 28 6 Safety relay <Circuitwithoutchargelamp> 7 Chargelamp <Circuitwithchargelamp> 8 Starterswitch 54-12 <BmG 4 � 7 L R<With charge lamp> 6 <Without charge lamp> A: Tostarter relay terminal B B:Terminal B E:Terminal E L:Terminal L R: Terminal R 5 B R L E 16739
STRUCTURE AND OPERATION

7

<With charge 6 lamp> <Without charge lamp>

When engine is stationary

Position of starter switch 8: ON

• To improve the performance of the alternator 5 in starting power generation at a low speed immediately after the engine has been started, current is set flowing to terminal R.

1 ➔ 2 ➔ 8t 5 (R ➔ E) ➔ Earth 6 (R ➔ L) ➔ 5 (L ➔ E) ➔ Earth

• In the circuit with A charge lamp 7, current flows as shown below.

1 ➔ 2 ➔ 8t 5 (R ➔ E) ➔ Earth 7 ➔ 5 (L ➔ E) ➔ Earth

<With charge 6 lamp> <Without charge lamp>

After engine has been started

Position of starter switch 8: ON

• The alternator 5 starts generating power.

• Theoutput voltageatterminal B of thealternator 5 becomes higher than the voltage of the battery 1.

• The alternator 5 startscharging the battery 1.

5 (8) ➔ 4 ➔ 3 ➔ 8 ➔ 2 ➔ 1

• In the case of the circuit with the charge lamp 7, the charge lamp goes out, as there is no potential difference between the voltage at terminal L of the alternator 5 and the battery voltage.

2 8 8
16740 16741
54
54-13

STRUCTURE AND OPERATION

• Alternator with neutral point diode

Effectiveness of alternator with neutral point diode

The point where three stator coils A are coupled is called the neutralpointC. Additionoftwodiodes Dtothecurrentalternator whichusessixdiodesmakesitpossibleto provideahigherDC output than an alternatorwithoutneutral point diodes.

B: Alternatorterminal B

E: Alternatorterminal E

F: IC regulator

L: Alternatorterminal L

R: Alternatorterminal R

Variations in potential at neutral point, and operation of neutral point diode

• The potential at the neutral point C varies up and down as shownwiththeneutralpointDCvoltage (onehalfoftheoutput voltage) as the center. When the alternator rotates at a very high speed, the peak values of the potential by far exceed the outputvoltage. (28V or more, OV orless)

G: Duringhigh speed rotation

H: During lowspeed rotation

J: Neutral point voltage waveform

K: Outputvoltage

L: Mean voltage atneutral point

M: Ground potential

In each of the voltage and potential conditions, the neutral point diode operates as described below.

• WhentheneutralpointvoltageismorethanOVandlessthan 28V, the six conventional diodes operate.

..
B A R E F 07033 (V) 28 ..... K Turning angle 07400 54-14
I

• When the neutral point voltage is more than 28V

The positive side diode N conducts to add to the conventional DC output, so ahigher DC voltage is outputtoeachequipment.

• When the neutral point voltage is less than OV

The negative side diode P conducts, and the neutral point output is supplied via the three conventional diodes.

8 :--; __J tl A E 07034 8 A E 07035 54
54-15

STRUCTURE AND OPERATION

Starter <24V-6kW> B 1 Rear bracket 2 Brush 3 Brush spring s 4 Brush holder assembly 5 Magnetswitch 6 Lever 7 Guide 8 Centerbracket 9 Front bracket 10 Sleeve bearing 11 Stopperring 12 Overrunningclutch 13 Gear bracket 54-16 M 5 21 172019181716151413 14 Gearshaft 15 Gearshaft bearing 16 Internalgear 17 Rubberpacking 18 Frontbearing 19 Armature 20 Yokeassembly 21 Rearbearing 22 Starterrelay B:Terminal B M: Terminal M S: Terminal S 6 18987
54 <24V-5kW> 1 22 16 13 19 17 10739 1 Rear bracket 10 Pinion stopper 19 Yoke assembly 2 Brush 11 Pinion 20 Armature assembly 3 Brush spring 12 Front bearing 21 Packing 4 Brush holder assembly 13 Overrunning clutch 22 Rear bearing 5 Magnet switch 14 Washer 6 Ball 15 Gearshaft assembly B: Terminal B 7 Lever 16 Internal gear assembly M: Terminal M 8 Front bracket 17 Planetary gear S: Terminal S 9 Spring 18 Packing This starter uses planetary gear 17 in the reduction gear mechanism. 17 13501 54-17
<12V-5.5kW> 1 2 3 4 5 6 7 8 9 10 11 12 13 B Rear bracket Brush Brush spring S M Brush holder assembly Magnet switch Lever Rubberpacking Center bracket Front bracket Sleeve bearing Stopper ring Overrunningclutch Gear bracket 54-18 21 17 20 19 5 6 9 10 18 17 16 15 14 13 10847 14 Gearshaft 15 Gearshaft bearing 16 Internal gear 17 Rubberpacking 18 Front bearing 19 Armature 20 Yokeassembly 21 Rear bearing B:Terminal B M: Terminal M S: Terminal S
STRUCTURE AND OPERATION

Preheating Circuit

<GlowPlug>

1 Starter switch

54
1
5 4 2 18461
<Intake Air Heater> Battery relay Battery 4 Heater relay Heater indicator Glowindicator
6 Intake air heater Glowplug
1 5 2 18462 54-19

STRUCTURE AND OPERATION

1
2
3
4
1 5
6
54-20 2 3 4 s R 16757
Engine Starter Circuit
Battery
Battery relay
Starter relay
Starter
Safetyrelay
Starterswitch

The safety relay detects the rotating speed of the alternator. When the rotating speed exceeds the reference value, the safety relay keeps the starterinoperativeevenifthestarterswitch is accidentally set toONwhile the engine is running.

Terminal P

1 Alternator

Starter switch

Battery switch

Starter relay

Safety relay

• When the starter switch 2 is set to ON, current flows from the starter relay 5 through terminal S of the safety relay 6 to terminal E, and contact P1 closes.

• When rotationof the starter causestheengine to start running, pulseswitha frequency of atenth of the alternator speed are generated at terminal P of the alternator 1.

• Whenthe pulsefrequency atterminal P ofthealternator 1 exceedsthereferencevalue, the continuitybetweenterminals S and E is lost, and the starter remains inoperative even if the starter switch 2 is set to ON while the engine is running.

Mitsubishi 6D16TLEA engine parts contact:

email: engineparts2@gmail.com

Phone: 269 673 1638

Text: 269 760 8652

Relay p E 1 s 17530 54
Safety
P:
R:
L: Terminal L S: Terminal S E: Terminal E 6 2 r L_�---E1 4
5
6
7
A A:
B 17531
Terminal R
2
3
4 Battery
IC regulator
To starter terminal
54-21

1 Battery

2 Starter switch

3 Battery relay

4 Stop switch

5 Solenoid relay

6 Solenoid

7 Engine oil pressure switch

8 Stop lever

9 Injection pump governor

10 Water temperature sensor

®: Engine stop signal

®: Hydraulic pressure detection signal

©: Solenoid drive signal

@: Coolant temperature detection signal

When the oil pressure becomes abnormal or when the coolant temperature abnormally rises while the engine is running, the automatic stop system automatically stops the engine. When anything wrong occurs in the oil pressure or coolant temperature, it is detected by the engine oil pressureswitch 7 or water temperature sensor 10 which operates the solenoid relay 5. As a result, the solenoid 6 moves the stop lever 8 of the injection pump governor 9 in the direction A that the engine stops, thereby stopping the engine. The system comes in two types; the shutdown type and run-on type.

Mitsubishi 6D16TLEA Automatic Stop System 10 9 8 HEAT ON 4 7 5 18736
STRUCTURE AND OPERATION
54-22 Mitsubishi 6D16TLEA engine parts contact: email: engineparts2@gmail.com Phone: 269 673 1638 Text: 269 760 8652

• Onnormalcondition,solenoid 3 isnotenergizedandthestop leverAoftheinjectorpump governor isatthedrivesideBto keep theengine in running condition.

• Whenatroubleoccurs, solenoid 3 isenergizedandpullsthe stop lever A to the stop side C to stop the engine.

< Mitsubishi 6D16TLEA Engine Shutdown> 1 A ST C 2 11 10 5 7 18738 54 1 Solenoid relay 2 Alternator � 3 Solenoid 4 Starter 5 Battery relay 6 Battery 7 Starter switch 8 Ammeter 3 9 Stop switch 10 Fuse box 11 Engine oil pressure switch 12 Coolant temperature sensor 4 6 18737
54-23 Mitsubishi 6D16TLEA engine parts contact: email: engineparts2@gmail.com Phone: 269 673 1638 Text: 269 760 8652

STRUCTURE AND OPERATION

Before engine starts

• Positionof starter switch 7: ON

6➔ 5 -r 7 (B➔ BR)➔ 5 (coil)➔ Earth

4 4 (B)➔1 (8)➔11➔ 1 (W)➔ Earth

• Sincenogeneratedvoltagefromthealternator2isavailableatterminal Aof thesolenoid relay, thesolenoid relay 1 remains inoperative, and nocurrentissupplied tothesolenoid3. Therefore, thestopleverAof the injection pump governor staysatthe position C wherethe engine can bestarted.

When engine starts

• Positionof starter switch7: START

Whenthe engine is started, the generatedvoltagefromthe alternator 2 isappliedtoterminal Aofthesolenoidrelay 1. Atthispoint, theoilpressure is still low. Therefore, the contact of the oil pressure switch 11 remainsclosed,andcurrentflowstoterminalWofthesolenoidrelay 1 to actuate the solenoid relay. In the solenoid relay, however, the voltage appliedtoterminalAisaccumulatedinthecapacitor,sothecurrentdoes notimmediately flowtotheoperatingcircuitintherelay, therebydelaying the timethe solenoidrelay isactuated.

Duringtheperiod, theengineoilpressurerises,andthecontactoftheoil pressureswitchopens to stopthe supply ofcurrenttoterminalW ofthe solenoidrelay, making thesolenoidrelay completely inactive..

4 7 18739 A� 111 C �·�b:£ 18740 18741 54-24

When engine isautomatically stopped

• When the oil pressure abnormally falls or the coolant temperature abnormallyriseswhiletheengineisrunning, engineoilpressureswitch 11 orcoolanttemperaturesensor(thermoswitch)12turnsonandcurrentflowsas described below.

6➔ 5 T 7 (B➔ BR)➔ 5 (coil)➔ Earth

½ 4 (8)➔ 1 (8) T 11➔ 1 (W)➔ Earth

• Atthispoint, thecurrentfromterminalAofthesolenoidrelay1 isflowingtheinternalcircuit, theswitchinthe relayisactivated andthe currentflows as follows:

1 (8)➔ Internalswitchof the relay➔ 1 (C)➔ 3➔ Earth

• Asaresult,solenoid3isactivatedandpullsthestopleverAindirection D to stoptheengine.

• Evenafterlosingthegeneratingvoltagefromthealternator2,theinternalcapacitor of the solenoid relay1 keeps the solenoid 3 in position.

When engine is manually stopped

• Positionof stopswitch 9: ON

Irrespectiveofthegeneratingvoltage of thealternator2, currentfrom stopswitch9flowstotheinternalcircuitviaST-terminalofthesolenoid relay1 toactivatetheinternalswitchoftherelay, andthecurrentflows asfollows:

1 (8)➔ Internal switchofthe relay➔ 1 (C)➔ 3➔ Earth

• Asaresult, engineisstoppedinthesamewayas theautomatic stop.

12 7 11 10 B 4 6 18742 3 ·�-� 18743 1 7 18744 54
½
12--1
54-25

STRUCTURE AND OPERATION

Terminal B

Terminal C

Terminal H

Terminal S

• WhenthestopswitchissettoON, thecontactopens. When the switch is setto OFF, the contact closes.

• On normal condition, solenoid 2 is energized and the stop lever A of the injection pump governor is at the drive side B to keep the engine in running condition.

• Whenatroubleoccurs, currenttoactivatethesolenoidiscut offand solenoid 3 losesitspullingforce. Thenthestoplever A is pulled to the stop side C by its return spring and the engine is stopped.

<Run-On> 1 2 3 8 10 9 7 6 5 18745 18746 54-26 1 Solenoid relay 2 Solenoid 3 Stop switch 4 Batteryswitch 5 Battery 6 Heaterrelay 7 Starter switch 8 Alternator 9 Ammeter 10 Engineoilpressureswitch 11 Coolanttemperature sensor B:
C:
H:
S:

Before engine starts Batteryswitch4: ON

5 ➔ 4 ➔ 6 ➔ 7 (B) ➔ 9 ➔ 3 ➔ 1 (B)

As the voltage is applied to terminal B of the solenoid relay 1, but is not appliedtoterminalS, thesolenoidrelayisnot energized. Therefore, current does not flow to thesolenoid relay 2 and solenoid relay 2 does not operate.

When engine starts

• Position ofstarterswitch 7: START

5 ➔ 4 ➔ 6 ➔ 7 (B) ➔ 7 (C) ➔ 1 (S) ➔ earth

• Atthispoint,internalswitchofthesolenoidrelay1 turnsonandthecurrentflows asfollows:

1 (B) -p Internal coil ofrelay ➔ Earth

4 Internal switch ofrelay ➔ 1 (C) ➔ 2 ➔ Earth

• Duetotheactivationofthesolenoid2, thestopleverAoftheinjection pumpgovernorispulledto theposition B and the enginestarts.

H 3 7 6 11 3 10 9 4 7 6 4 18747 2 5 18748 18749
I s4J
5../--27

STRUCTUREAND OPERATION

After engine has started

• Position of starterswitch7: ON

Thecurrentfromthestarterswitch (terminal C) tothesolenoidrelay 1 (terminal S) is cut off.

However, solenoid2remainsactivated astheinternalswitchiskeptin the ON positionby the capacitor in the relay.

• During this period, engine oil pressure increases to close the engine oilpressureswitch1O, andthecurrent flows as follows:

7 (BR)➔ 10➔ 11➔ 1 (H)➔ Internal coilof relay➔ Earth

• Inthisway, internalswitchof relay isheldON to keepthe enginerunningirrespective ofthe discontinuation ofthecurrenttotheterminal S of the solenoidrelay 1.

When engine is automatically stopped

Whentheoilpressureabnormally fallsorthecoolanttemperatureabnormally riseswhiletheengineisrunning,thecontactoftheengineoilpressure switch 10 or coolant temperature sensor (thermo switch) 11 turns OFF to stop the supply of current to the solenoid relay, so the solenoid relay stops operating. Accordingly, the solenoid 2 also stops operating, andthestopleverA ofthe governorismovedtothestoppositionby the return spring andthe engine is stopped.

10 8 11 9 7 6 9 7 6 2 3 4 S 18750 3 4 5 18751 ( ; 1 2 A r : / / �� 18752 54-28

When engine is manually stopped

• Position of stop switch 3: ON (ON: Contact is opened; OFF: Contact is closed)

When the currentto the solenoidrelay 1 (terminal B) is cutoff, the currentfromthesolenoid (terminal C) tothe solenoid2isalsolost, andthe engine is stopped in the same way as the automatic stop.

11 10 8 9 7 2 6 3 4 5 18753 54
54-29

TROUBLESHOOTING

Alternator

Defective conditions Q) ,__ Ol E cu Q) ·.;:: .c 1ii El -� t:: u U) ' 0 -� Q) Q_ c .c '( E Q) CJ) .c :i::: (D ;::..al Cll c� Cll C > .D .c 0 Cll Ol :3 CJ) .Q"> CJ) C ,__ Q) .c 0 Cll .D CJ) :3 - .c ,__ Remarks Cll � .D al u Q) Q) :::J - Q) C: "O � <ii CJ).c 0 0 "O Q) - Q) E C -Q) C Q) "O Q) ·--E - Ol Q_ 0 Ol Z O CJ),__ E C a; 0 u - Cll :::J 2 -� ,__.c Q) CO 0 OU - CJ) c c c £ C C Cl)·C"O Q) Q) Q) £ u CJ) ,__ ..'.. :i::: :i::: :i::: -� Q) Q) Q) Cll Cll Cll � � 0 == > Probable causes enenen CJ)"O <( 0 Connector incorrectly connected, harnessopen-circuited, defective grounding 0 0 Blown fuse 0 0 0 Weak tension of V belt 0 0 (l]Gr14 Broken V belt 0 0 [JjGr 14 Defective battery 0 0 Alternator Stator coil open-circuited 0 Stator coil andcore short-circuited 0 Fieldcoil defective 0 Rectifier defective 0 Regulator defective 00 0 Brush worn (if brush isprovided) 0 Sagging brush spring (ifbrush is provided) 0 Defective wiring 0 54-30

Starter

Connector incorrectly connected, harness open-circuited, defective

grounding

starts but engine does not start

Starter, Preheater

54
Defective condition Starter
..c Ol C U) ·;:: -0 QJ QJ QJ E £ C iii "§ QJ ci C C QJ ..c iii QJ ..c t:: Remarks t:: QJ a. � E U) - :5 Cll Cll QJ e 0 a. en en 0 E- .0 in u .5 g U) Q) .8 0 0 QJ 0 .0 C rJ) rJ) iii t:: C 0 -0 C'- iii rJ) rJlCll QJ QJ +-'Cl) rJ) C QJ QJ QJ Eo o- QJ C 0 0 Ol 0-0 '-rJ) 0 Cll -0 Ol u:5 mo -0 u .!!1 '- c-5 c.o QJC QJ Q) QJ QJ ..c rJ) C C C t:: 0 '- 0 '- �QJ ·ci Ol Cll ·-..c ·c Cll Ol c- C C C Possible
if) a::"§ ·-QJ -0 Cl. Ol u..-c w w w
causes
0 0 0 0 0
Blown fuse 0 Insufficient capacity of battery 0 0 Starter
of magnetswitchbindingor deposited 0 Coil of magnet switch open-circuited 0 Overrunning clutch in defective operation 0 Worn or damaged pinion 0 Defective starter relay 0 Defective starter switch 0 0 Worn or damaged ringgearof flywheel 0 [lJGr11
Contact
Defective condition QJ iii QJ ..c t:: � Remarks a. QJ rJ) .0 .8 -0 C iii C u Q) QJ C C ·ci "6i C C Possible causes ww Defective heater relay or glowrelay wiring 0 0 Defective battery wiring 0 0 Defective airheater orglowplug wiring 0 0 Defective airheater or glow plug 0 0 Defective coolant temperature sensor 0 [lJGr14 Defectivecoolant temperature sensor wiring 0 54-31

ON-VEHICLE INSPECTION AND ADJUSTMENT

Inspection of Preheater System <Glow Plug Specification>

• Set the starter switch to OFF.

2 1 08718

Inspection of Safety Relay

• Connecttheinspectionlamp 2 (24V-1.8Worthereabouts) totheglow plug 1.

• Set the starter switch to the HEAT position.

• If the inspection lamp 2 does not come on, check the glow plug or heater relay.

Service standards Unit: mm

Location Maintenanceitem Standard value Limit Remedy

Outputvoltage

Whenengineisstationary 1V or less - Replace alternator orwiring. atterminal P

Outputvoltage

Whileengineisrunning 12- 16V Check and replace wiring.(atidle,600 rpmor more)

Whileengineisrunning Approx.24V - Check and replace wiring. at terminal R

Outputvoltage

Whenengineisstarted 1V or less -

• Ifthe outputvoltageisclose at terminalS (incrankingstate) tothebattery voltage, 6 replace the safety relay.

• If the output voltageis0V, check and replace parts

Outputvoltage

Whileengineis running 5V or less (but not0V) -

• Replace atterminal L

• If the outputvoltage isclose tothe battery voltage, inspectthealternatorand herness and replaceifneeessary.

54-32

(1) Checkingoutputvoltageat terminal P

• Connect the voltmeter (pointer type) 7 asshown.

1 Battery

2 Batteryrelay

3 Starter switch

4 Fuse

5 Alternator

6 Safetyrelay

7 Voltmeter (pointertype)

A:Toterminal Bofstarter relay

B:To terminal Lof starter relay

E:Terminal E

L:Terminal L

P:Terminal P

A:Terminal R

S:Terminal S

• MeasurethevoltagebetweenterminalPintheillustration andtheground.

• Ifthereadingisoutofthestandardvalue, thealternator5 or wiring is defective. Check all the parts and replace defectiveones.

• Starttheengineandletitrunatidle(600rpmormore)and measure thevoltage..

• If the reading is 0V, the wiring to terminal P is short-circuited. Check the wiring and connector connections. Replaceifdefective.

Mitsubishi 6D16TLEA engine parts contact: email: engineparts2@gmail.com

Phone: 269 673 1638

Text: 269 760 8652

B 5 6 18469 L 5 p p E s 17534 17535 54
54-33

ON-VEHICLE INSPECTION AND ADJUSTMENT

(2) Checking output voltage atterminal R

• Connect thevoltmeter 7 as shown.

• Placethestarterswitch 3 intheON positionandmeasure the voltage.

• When the reading is out of the standard value, checkthe wiring. Replace ifdefective.

5 p / ,L o�@ o'z)o 5 / p
54-34 6
p E
17534
18471
17535

(3) Checking output voltage at terminal S

• Connect the voltmeter 7 and lamp 8 as shown.

• Set the starter switch 3 to the START position and measure the voltage between the safety relay 6 (terminal S) and the earth in the cranking state.

• If the reading is out of the standard value, the following points are likely to be defective. Check all the points and replace if defective.

• When the reading is close to the battery voltage, the safety relay 6 is defective.

• Whenthereadingis0V, thefollowingproblemsaresuspected.

Defective wiring

Incorrectly connected connector

Defective starter relay

Defective starter switch

• Start the engine and let it run at idle (600 rpm or more).

• Measure the voltage at terminal P.

• Ifthereadingisoutofthestandardvalue, replacethealternator 5.

• Intheidlingstate, checktoensurethatthelamp8doesnot come on. When the voltage at terminal P is normal and the lamp comes on, replace the safety relay 6.

3 -= -=L 5 p p E s 17534 6 18470 17535 54
54-35

ON-VEHICLE INSPECTION AND ADJUSTMENT

(4) Checking output voltage at terminal L (where no charge lamp is provided)

• Connectthevoltmeter7asshown.

• Placethestarterswitch 3 attheONpositionandmeasure the voltage.

• If the reading is out of the standard value, replace the safetyrelay 6. If the reading is close to the battery voltage, check the alternator 5 and wiring, andreplaceifdefective.

5 = L 5 p p E
54-36 A 6
17534
s
18472 17535

Measure the voltages at the terminals of thesolenoid relay 1. Performchecks as described below and replace defective parts.

When starter switch 7 is placed at ON position, solenoid 3 operates.

Measure voltage at terminalA. (24V available?) No

Measure voltage at terminalST.

Automatic Stop System <Shutdown> 7 1 11 10 4 18737 1 Solenoid relay 2 Alternator 3 Solenoid 4 Starter 5 Batteryrelay 6 Battery 7 Starterswitch 8 Ammeter 9 Stopswitch 10 Fusebox 11 Engineoilpressureswitch 12 Watertemperaturesensor 54
Yes I,________ Alternator2 defective 24V >-- ---I Stopswitch 9 defective ov__..l Solenoid
1 defective 54-37 Mitsubishi 6D16TLEA engine parts contact: email: engineparts2@gmail.com Phone: 269 673 1638 Text: 269
8652
relay
760

ON-VEHICLE INSPECTION AND ADJUSTMENT

Even when stop switch 9 is set to ON, engine does not stop.

Measure voltage at terminal ST. �-�...I Stop switch 9 defective

24V

Measure voltage at terminalC. ov >-----------1 Solenoid relay 1 defective

24V I �- ----► Solenoid3 defective

Whenoilpressureisabnormallylowor coolant temperature abnormally high, enginedoes not stop.

Measure voltage at terminal W.*

24V

Measure voltage at terminal A. (28 to 29V available)*

Yes

ov * Measure while engine is running. Engine oil pressure switch 11 or water temperature sensor 12 defective

�-�-1 Alternator2 defective

Measure voltage at terminal C.* ov ----1 Solenoidrelay 1 defective

24V I �- - --► Solenoid 3 defective

Afterenginehasstopped, solenoid 3 is not caused to be OFF.

Measure voltage at terminal C.

24V

Measure voltage at terminal ST. Yes

Measure voltage at terminal A. (24V available?) .,____ov__, Solenoid 3 defective

24V �------- Stop switch 9 defective

No _I Solenoid relay 1 defective

Yes

I - • Alternator2 defective

54-3R

While engine is running, solenoid 3 is operated andenginestops.

Measurevoltage at terminal C.*

24V

Measurevoltageat terminal ST.* ov

* Measure whileengineisrunning.

Measurevoltageat terminal W.* -,__o_v _, Solenoid3 defective

24V I'>------ Stopswitch 9 defective av �---- --� -��--...I Solenoidrelay1 defective

24V Engine oil pressure switch 11 or water temperature sensor 12 defective i Ifinorder

Oil pressure or coolant ternperatureabnormal

54 54-39

Measure the voltages at the terminals ofthe solenoid relay 1. Performchecks as describedbelow and replacedefective parts.

Whenthebatteryswitch4issettoON, thesolenoid2isoperated. Orwhenthe starterswitch 7 issettotheONposition withthebatteryswitchatON, thesolenoid isoperated.

Measure voltageat terminal S.

relay1 defective

INSPECTION AND ADJUSTMENT <Run-On> 1 Solenoid relay 2 Solenoid 1 3 Stopswitch 4 Battery switch 5 Battery 6 Heater relay 7 Starterswitch 2 8 Alternator 9 Ammeter 11 10 Oil pressureswitch 3 11 Water temperature sensor 10 9 8 ,1 7 6 5 18745
ON-VEHICLE
54-40
OV >------I
24V
engine parts contact: email: engineparts2@gmail.com
269 673 1638
269 760 8652
Solenoid
�- ---1►, Starter switch 7 defective or incorrectwiring Mitsubishi 6D16TLEA
Phone:
Text:

Evenwhenstarterswitch7issettoON position,solenoid 2 doesnotoperate. (Batteryswitch4:ON)

Checkbattery. Good

Measurevoltageat terminalB 24V

Placestarterswitch7at

STARTpositionandmeasure voltageatterminalS. (18Vormoreavailable?)

Yes

Defective I -,._____Battery5defective OV , No_Battery5defective(Capacityinsufficientwhenloadsareplaced)

MeasurevoltageatterminalC.)-No_,Solenoidrelay1defective (Battery voltage avaHable) I L_ ___ Yes•ISolenoid 2 defective

Istherecontinuitybetween terminalsofstopswitch3? '-- No___IStopswitch3defective Yes I .__ lncorrectwiring ______�

Whenstarterswitch7isreturnedfrom STARTpositiontoONposition,solenoid 2 operates.

Placestarterswitch 7 at

STARTpositionandmeasure voltageatterminalS. (18Vormoreavailable?) Yes I ,___Solenoidrelay1defective

___N_o __.l Battery 5 defective

54 54-41

ON-VEHICLE INSPECTION AND ADJUSTMENT

When oil pressureisabnormally lowor coolant temperature abnormally high, engine does not stop.

Measure voltage at terminal H.*

OV

Measurevoltageat terminal S.*

OV

Measure voltage at terminal C.*

24V

* Measure while engine is running.

Engine oil pressure switch 1O or water temperature sensor 11 defective

24V I >----� Starter switch 7 defective

24V I>------- Solenoid 2 defective

ov ___l Solenoid relay 1 defective

Even when stop switch 3 isset to OFF, engine does not stop.

Measure voltage at terminal B.

24V I>----- Stop switch 3 defective

ov __l Solenoid 2 defective

While engine is running, solenoid 2 is operated, and engine stops.

Measure voltage at terminal C.*

ov

Measurevoltageat terminal B.*

24V

Measure voltage at terminal H.*

* Measure while engine is running.

24V I ,,__ __ Solenoid 2 defective '>--

ov __l Stop switch 3 defective

24V I ,__ __ Solenoid relay 1 defective OV �--- -

Engine oil pressure switch 10 or water temperature sensor 11 defective If inorder

Oil pressure or coolant temperature abnormal

54-42
54 MEMO 54-43

ALTERNATOR <24V-35A>

*

• Removal sequence

1 Adjustbolt

2 V belt

3 Alternator assembly m P.54-46

4 Adjust plate

*: Alternator bracket

WARNING,&--------------------------

Beforeremovingthealternator3,besuretodisconnectthenegativeeterminalofthebatteryandinsulateitwith atapeorsomethingelse. Ifthenegativee terminalisnotdisconnected, thebatteryvoltageisalwaysavailable at terminal B and is dangerous.

• Installation sequence

Reverse the order of removal.

• Adjustmentafterinstallation

Adjust the tension of the V-belt 2. ffi Gr 14

Servicestandards

Location Maintenance item

3 Alternatoroutput current (* When hot, when 27Vis generated)

Regulatorregulated voltage (5000rpm, loads5Aor less)

- Replace

*:"Whenhot"referstothestateoftheengineafter30minutesofmaximumoutputoperationat5000rpmatanormalambienttemperature.

16745
Standard value Limit Remedy 1500rpm 20Aor more - Check 2500rpm 29Aor more5000rpm 33Aor more28.5±0.5V
54-44

♦ Service procedure

@] Inspection of alternator

(1) Inspection of performance of alternator (Inspection by test bench)

• Wire the alternator 3 as shown.

A: Ammeter

B: Alternator terminal B

C: Switch

D: Switch

E: Alternator terminal E

F: Load resistance (variable resistance)

G: Alternator drive motor

R: Alternator terminal R

V: Voltmeter

• Increase the load resistance F to a maximum {where practically no load current flows).

• Set the switch C and switch D to ON.

• Let the alternator 3 warm up at 5000 rpm for 30 minutes.

• Adjusttheloadresistance Fsothatthecurrentwillhavethenominal value.

Nominal value of alternator current j 24V-35A f

• Measure the current with the alternator 3 at each of the specified speeds.

• If the reading is out of the standard value, disassemble and check the alternator 3. Ql P.54-46

(2) Inspection of performance of regulator {Inspection by test bench)

• Wire the alternator 3 as shown.

A: Ammeter

B: Alternator terminal B

C: Switch

E: Alternator terminal E

G: Alternator drive motor

L: Alternator terminal L

R: Alternator terminal R

V : Voltmeter

• Set the switch C to ON.

• Let the alternator 3 rotate at a low speed.

• Increasetherotatingspeedofthealternator3to5000rpmandmeasure the voltage (regulated voltage). At the same time, check to ensure that the current value is SA or less.

• Ifthereadings are outof the standard values, proceed as described below.

• Ifthereadings exceedthe standardvalues, replacethe regulator {built in the alternator 3).

• Ifthereadings are below the standardvalues, checkall the parts of the alternator before replacing the regulator.

V DC24V B 3 F R 16132 DC24V 0 EB G 16133
54
54-45

ALTERNATOR <24V-35A>

AlternatorAssembly

NOTE

Donotremoveparts4,7,10and12unlesstheyarefoundtobedefective.

•Reassemblysequence

9: 14➔13➔12➔11, _ I 15_____r16➔10 1:

16197 •Disassembly sequence 1 Rotorandfrontbracketassembly 7 Front bearing 12 Brush 2 Nut 8 Front bracket 13 Regulator andbrush holder 3 Pulley 9 Statorandrearbracketassembly 14 Slinger 4 Rear bearing 10 Stator assembly 15 Rectifier 5 Rotor assembly 11 Cover 16 Rear bracket 6 Cover
54-46

♦ Service procedure IT]

• Insert a plain screwdriver A between the front bracket 8 and stator assembly 10.

• While wrenching the plain screwdriver A, remove the rotor & front bracket assembly 1 from the stator & rear bracket assembly 9.

CAUTION_&-------------

lf the plain screwdriver A is inserted toofar, thecoil Bof the stator assembly 10 might be damaged and short-circuited.

[Installation]

Ifthebrush 12isprotrudingfromtheregulator&brushholder 13, therotor assembly 5 cannot be mounted on the rear bracket 16. Therefore, perform the followingsteps.

• Push the brush 12 into the regulator & brush holder 13.

• Insertthepin C from therearof the rear bracket 16andpress the pin C againstthe pinhole D tohold the brush 12.

Ifthebrush12iswornandthepinhole D gone,holdtheendofthebrush 12 with the pin C.

• After installation, slowly remove the pin C.

54 Service standards Unit: mm Location Maintenanceitem Standardvalue Limit Remedy 5 Rotorassembly Fieldcoil resistance (at 20°C) 9 to10.5n - Replace Slip ringoutsidediameter 33 32.4 12 Brushlength
Tightening torques Location Parts to betightened 2 Nut (tomountpulley) 10 B 9 1 16198 16 C 12 13 16199 21.5 Tighteningtorque 132 to162 {13.5 to16.5}
0
Rotor
assembly [Removal] 8 Replace Unit: N ·m {kgf·m} Remarks -
& front bracket
54-47

[Disassembly]

CAUTION_&--------------

When the rotor assembly 5 is held in a vice, make sure that the base E of the lugs of the core is held.

If the lugs F of the core are held, they will be broken or damaged.

A

A

[i] Removal of rear bearing

CAUTION_&--------------

When the bearing puller is installed, use care to prevent damage to the slip ring A.

If the slip ring is damaged, the brush will fail to make good contact.

[]] Inspection of rotor assembly

(1) Resistance of field coil

• Measure the resistance across the slip ring A.

• Ifthereadingisoutofthestandardvalue,replacetherotorassembly 5.

(2) Continuity between slip ring and core

• Check to ensure that there is no continuity between slip ring A and core B.

• If there is continuity, it means a short circuit. Therefore, replace the rotor assembly 5.

(3) Outside diameter of slip ring

• If the outside diameter of the slip ring A is below the limit, replace the rotor assembly 5.

• If the outside diameter of the slip ring A is rough or unevenly worn, correct by grinding with emery paper or a lathe.

CAUTION_&-------------

Do corrective grinding withintheextentthattheoutsidediameter of the slip ring A does not exceed the limit.

<24V-35A>
ALTERNATOR
16223 16224 04757
54-48
04758

[IQ] Statorassembly

[Removal]

•Disconnect the leadsA and remove the stator assembly 10 from the rectifier 15.

The leads are soldered to the diode leads B of the rectifier. (Three places <35A>, four places <40A>)

CAUTION&-------------­

De-solderingshouldbedonequickly(inabout5secondsorless). Thediodeswillbedamagedifheatedforalongertime.

• For installation, reverse the order of removal.

[Inspection]

(1) Continuitybetweenleads

• Check to ensure that there is continuity between each lead.

• If there is no continuity, the leads are open-circuited. Replace the stator assembly 10.

(2) Continuitybetweeneachleadandcore

• Check to ensure that there is no continuity between each lead and the core.

• If there is continuity, it means a short circuit. Replace the stator assembly 10.

� Brush

[Removal]

After removing the cover A, de-solder the leads of the brush 12 and remove the brush from the regulator & brush holder 13.

16746 02336 02337 �A 13 16225
54
54-49

[Installation]

• Installthe brush 12 in the regulator & brush holder 13 in the direction shown.

• After installation, solder the leads of the brush 12 to the regulator & brush holder 13. Thereafter, fitthe cover A as before.

[Inspection]

If the length of the brush 12 is near the wear limit B, replace.

� Removal ofregulator & brush holder

• Removetheregulator& brushholder 13 by de-solderingthetwoillustratedpoints A.

• For installation, reverse the order ofremoval.

[Th] Inspection ofrectifier

• Check the rectifier 15 to see if the internal diodesfunctionproperly.

Resistance infinite in bothcases Open Resistanceclose to Q in bothcases...Short

A, B, C, D: Leads ofstatorcoilconnected E, G: Heat sinkportion F: Regulator connected

• ExchangetheEB and8sidesofthetesterandperformchecksinboth cases.

CAUTION,&--------------

When a testeris used for thechecks, the currentthat flows out from the tester is feebler than the current that normally flows throughtherectifier15,sothetestermayindicateaquestionable resistance value. In a low range, this tendency will be stronger. Therefore, it is advisable to use the highest possible range.

13 12 16231 B 04786 15 16232 A -----+--+---191----, C --+-------+---�---- F D ---+-t---.---191--___J A G F E 54-50 16233
ALTERNATOR <24V-35A>
54 MEMO 54-51 Pages
are deleted as they are not in use.
54-52 to54-93

STARTER <24V-5kW>

2

• Removal sequence

1 Earthstrap

2 Starter relay

3 Battery cable EB

4 Starter assemblyOJ P.54-96

8:Terminal B

S: Terminal S

WARNING&_-----------

Before removing the starter 4, be sure to disconnect the negative e terminal of the battery and insulate it with a tape or something else. If the negative e terminal is not disconnected, the battery voltage is always available at terminal 8 and is dangerous.

• Installation sequence

Reverse theorder ofremoval.

Mitsubishi 6D16TLEA engine parts contact: email: engineparts2@gmail.com

Phone: 269 673 1638

Text: 269 760 8652

54-94
16759
I s4 I
54-95
MEMO

STARTER <24V-5kW>

�34

Starter Assembly � 35 � 36
32 •Disassembly sequence 1 Stopper ring 2 Pinion stopper 3 Pinion 4 Spring 5 Magnet switch 6 Shim 7 Bolt 8 Screw 9 Rear bracket 10 Conical washer 2 11 Yoke & brush holder assembly 12 Rubber packing 13 Brush spring 54-96 26 25 22 14 Brush 0 15 Brush EB 16 Brushholderassembly 17 Yoke assembly 18 Armature assembly 19 Ball 20 Rear bearing 21 Washer 22 Armature 23 Cover 24 Rubber packing 25 Frontbracketassembly 26 Rubber packing 13511 27 Lever 28 Bushing 29 Gearshaft & overrunning clutch assembly 30 Front bearing 31 Dust seal 32 Front bracket 33 Planetarygear 34 Washer 35 Washer 36 Gearshaft 37 Internalgear 38 Overrunning clutch

CAUTION&_---------------------------

• Toremovetheyoke&brushholderassembly11,firstraisethebrushes14 and15from thebrushholderassembly 16 to prevent damage to the commutator of the armature 22.

• Do not remove the bearings 20 and 30 unless they are found to be defective.

• Whentheyoke&brushholderassembly11 isremovedfromthefrontbracketassembly 25,becarefulnottoallow the armature assembly 18 to fall.

• When the armature assembly 18 is removed,the ball 19 may simultaneously come out. Be careful not to lose it.

• When the motor section only is to bedisassembled and checked like when the brushes and surrounding areas are to be checked,the pinion 3 need not be removed.

• Except in the above case,the pinion 3 must be removed before disassembly of the individual portions.

• Reassembly sequence

Reverse the order of disassembly.

CAUTION&----

When the magnet switch 5 was replaced,be sure to adjust the pinion gap.

• Inspection after reassembly [I) P.54-98

Servicestandards

No-load During23V characteristics supply

Spring pressureofbrush spring

item

to2.0

� Lubricants

54
Location Maintenance
-
-
13
14,15 Brushlength 18
Standard
Current
Rotatingspeed
29 to39 N {3 to4kgf} 18 32 Unit: mm Limit Remedy - Adjust - Check20 N {2kgf} Replace 11 Replace 31.4 Replace Commutatorouter circumferentialrunout - 0.05 or more Depth ofmicabetweensegments - 0.2 or less Repair or replace
Piniongap
Outsidediameterofcommutator
value 0.5
85Aor less
3300 rpmormore
Location Points of application Kinds Quantity 5 Applytolevercontacting portionofmagnetswitch. MULTEMPPS-2 Asrequired 10 Applytoconicalwasher MULTEMPPS-2 Asrequired 19 Apply toball MOLYCOAT ® AG650 Asrequired 18,33 Applyto teeth ofgears of armatureassembly andplanetarygears MOLYCOAT ® AG650 Asrequired 27 Apply to overrunningclutch slidingsurfacesoflever MULTEMP PS-2 Asrequired 35 Applyto washer MOLYCOAT ®AG650 Asrequired 36,38 Applytosliding surfaces ofgearshaft assembly and overrunning MULTEMP PS-2 Asrequired clutch assembly 18,36 Applytoslidingsurfacesofgearshaftand armatureassembly MOLYCOAT ® AG650 Asrequired 38 Applytosplinedportionof overrunningclutch MULTEMPPS-2 Asrequired 54-97

3

♦ Service procedure

• Inspection after reassembly

Afterreassembly, checkthe starter bysupplyingcurrent.

CAUTION&_-------------

• Whencurrentissuppliedtothestarter,thepinion3 willspringout and rotate. Be careful not to touch it by hand.

• The magnet switch 5 may be very hot after the end of inspection. Be careful when you touch it.

• Thetime duringwhichcurrentis suppliedtothestartershouldbe limited to 10 seconds or less on the pull-in coil P side and 30 seconds or less on the holding coil H side. If current is supplied to the coils for a longer period, the coils will be overheated and baked.

• When current is supplied to the starter, a large current that exceeds 100A will flow. When the starter is inspected, therefore, use thick cables like booster cables. Check to ensure that all the connections are tight and secure.

(1) Performance test

• Wire the starter as shown.

A: Ammeter

B: Starter terminal B

C: Switch

• Setthevoltageat23V DC.

D: DC powersupply

S: Starterterminal S

V:Voltmeter

CAUTION&_-------------

The voltage that is applied should be limited to 24V maximum.

• Thefollowing operationsareperformedbysupplyingcurrenttothe starter. Itisthereforenecessarythattheseriesofoperationsranging frommeasuringthecurrentthatflowsthroughthestartertomeasuring therotatingspeedare completed inlessthan 30seconds.

• Settheswitch CtoONtosupplycurrenttothestarter.Atthetime, the pinion 3 will springoutandrotate.

CAUTION&_------------­

When the switch C is set to ON, current is supplied to both the pull-in coil P and holding coil H. When the large current from theDCpowersupply Dissuppliedfromterminal Bofthestarter to terminal M, the current to the pull-in coil is interrupted, and current flows to the holding coil only. Toprevent baking theholding coil, therefore, alltheoperations must be completed in less than 30 seconds.

• Measurethe current and rotating speed of the starter. Measure therotating speedofthe starter byilluminatingthepinion 3 with astroboscope.

• Setthe switch C to OFF tostopsupplyingcurrent to the starter.

• If thereading is outofthe standard value, disassemble and check thestarter.

5
STARTER <24V-5kW>
14266 14257 B 10767 A V D 54-98

(2) Pinion gap

[Inspection]

• Wire the starter as shown.

C: Switch

D: Switch

E: Cable

M: Starter terminal M

S: Starter terminal S

• The following operations are performed by supplying current to the starter. It is therefore necessary that the series of operations up to completion of measurement of the pinion gap is completed in less than 30 seconds.

• Set the switch C and switch D to ON to supply current to the starter. At the time, the pinion 3 will spring out and rotate.

• Immediately (in less than5seconds) after the pinion has started rotation, set the switch D to OFF stop rotation of the pinion.

CAUTION_&-------------

When the switch Cand switch Dare set to ON, current is supplied to both the pull-in coil P and holding coil H. Since wiring is such that no voltage is applied to terminal B of the starter, current flows to the pull-in coil during rotation of the pinion 3. Toprevent baking the pull-incoil, therefore, it is necessary that the switch Eis set to OFF immediately (in less than 5 seconds) after the pinion has started rotating.

• Lightlypushtheendoftheoverrunning clutch 38 inandmeasure the amount F theclutchmovesin theaxialdirection (piniongap).

• Set the switch C to OFF to stop supplying current to the starter.

• Ifthereadingisoutofthestandardvalue, adjustbythefollowingprocedures

[Adjustment]

• Remove the magnet switch 5 from the front bracket assembly 25.

• Adjust by changing the thickness of shim 6. Increasing the number of shims reduces the pinion gap F.

Types of shims: 0.25, 0.5 mm

10768 DC24V 14259 DC24V F .. 10769 10770
54
5../--99

STARTER <24V-5kW>

[II Pinion

(Removal]

To removethepinion 3, itis necessary to supply current to thestarterand let the pinion spring out.

CAUTION.&_--------------

• Whencurrentissuppliedtothestarter,thepinion willspringout and rotate. Be careful not to touch it by hand.

• The magnetswitch 5 may be very hot after the end of inspection. Be careful when you touch it.

• Thetimeduringwhichcurrentissuppliedtothe startershouldbe limited to 10 seconds or less on the pull-in coil P side and 30 seconds or less on the holding coil H side. If current is supplied to the coils for a longer period, the coils will be overheated and baked.

• Make sure that the pinion is made to spring out by supplying currenttothestarter. Ifthepinionisforcedoutbypullingthelever 27 without supplying current to the starter, the front bracket 32 and lever could be damaged by the impact produced when the stopper ring 1 is removed.

• When current is supplied to the starter, a large current that exceeds 100A will flow. When the starter is inspected, therefore, use thick cables like booster cables. Check to ensure that all the connections are tight and secure.

• Wire the starter as shown.

A: Switch

B: Starter terminal B

C: Switch

D:Cable

M: Starter terminal M

S: Starter terminal S

• The following operations are performed by supplying current to the starter. It is therefore necessary that the series of operations up to removal of the pinion 3 is completed in less than 30 seconds.

• Setthe switch A and switch C to ON to supplycurrentto the starter. At the time, the pinion 3 will spring out and rotate.

--,-,.�-\-, rJ j,
54-100
14267 14257 10768 DC24V 14259

• Immediately (in less than 5 seconds) after the pinion 3 has started rotating, set the switch Cto OFF to stop rotation of the pinion.

CAUTION&-------------

WhentheswitchA and switchCare set toON, currentissupplied to both the pull-in coil P and holding coil H. Since wiring is such thatnovoltageisappliedtoterminal Bofthestarter,currentflows to the pull-in coil during rotation of the pinion 3.

To prevent baking the pull-in coil, therefore, it is necessary that the switch Cis set to OFF immediately (in less than 5 seconds) after the pinion has started rotating.

• Set the pipe-like tool E on the pinion stopper 2.

• LightlystrikethetoolEwithahammertoremovethestopperring1 from the ring groove F of the pinion stopper 2.

• Remove the stopper ring 1 and remove the pinion 3.

• Set the switch A to OFF to stop supplying current to the starter.

CAUTION&-------------

Whenthe power supplytothestarter is stopped, the pinion 3may move in and the stopper ring 1 may fit in the ring groove F of the pinion stopper 2 again.

In this case, repeat the operations by supplying current to the starter.

[Installation]

To install the pinion 3, it is not necessary to supply current to the starter.

• Install the pinion stopper 2 and pinion 3 on the overrunning clutch 38 in the direction shown.

• Set the stopperring 1 inthering groove F oftheoverrunningclutch 38.

• Pull the pinion 3stronglyto make sure that the stopper ring 1 securely fits in the ring groove F of the pinion stopper 2.

14260 10779 2 (� F 10781 10782 54
54-101

STARTER <24V-5kW>

W Magnet switch

[Installation]

Installthemagnetswitch5onthelever27withterminalSinthedirection shown.

[Inspection]

(1) Open circuit teston coil

• ChecktoensurethatthereiscontinuitybetweenterminalsSand M.

• Ifthereis no continuity, replace the magnet switch 5.

• Check to ensure that there is continuity between terminal M and body A.

• Ifthere is no continuity, replace the magnetswitch 5.

(2) Contact fusion check

• ChecktoensurethatthereisnocontinuitybetweenterminalsBand M.

• Ifthere is continuity, replace the magnet switch 5.

(3) Contact contacting check

• Pushtheendofthemagnetswitch5intoclosetheinternalcontact. Inthisstate, checktoensurethatthereiscontinuity betweenterminals Band M.

• Ifthere is no continuity, replace the magnetswitch 5.

10771 s 10773 A M 10774 10775 8 -�· M 10776 54-102

[fil Installation of rear bracket A:Alignmentmarks

� Installation of conical washer

Installtheconicalwasher10 intheillustrated directionintherearbracket 9.

[!3J Removal of yoke & brush holder assembly

To remove the yoke & brush holder assembly, proceed as described below, while using care to prevent damage to the commutator A of the armature assembly 17 bythe brushE;is 14 and 15.

• Keepthebrushes14 and15apartfromthecommutatorAandholdthe brushspring 13 alongsidethe brushes.

• Removethe yoke & brush holder assembly 11 fromthe front bracket assembly25.

CAUTION&-------------

Whenthe yoke & brushholder assembly11 isremoved, do not tilt itdownward. Otherwise,the armature assembly18mayfalldown.

• For installation, reversethe order ofremoval.

� Inspection of brush spring

• Usenewbrushes 14 and 15 andmeasuretheloadatthemomentthe brushspring 13 leavesthe brushes as shown.

• If thereadingis less thanthe limit, replacethebrushspring 13.

9 13528 9
10766 11 14,15 18 16083 20017 13 14,15 02466
(
54
54-103

STARTER <24V-5kW>

�� Inspectionof brush

(1) Length of brush

If the reading is less than the limit, replace the brushes 14 and 15.

CAUTION&--------

Toreplacethebrush814,replacethebrushholderassembly16.

(2) Commutator contacting surfaces

If the contacting surfaces are rough or unevenly worn, repair with emery paper (#300 to 500).

@] Inspectionof brush holder assembly

• Check to ensure that there is nocontinuitybetween the EB side brush holder and 8 side holder plate.

• If there is continuity, it means a short circuit. Replace the brush holder assembly 16.

[Izj Inspectionofyoke assembly

(1) Open circuit teston coil

• Check to ensure that there iscontinuitybetweencable A and brush EB 15.

• If there is no continuity, it meansanopen circuit. Replace the brush EB 15 or yoke assembly 17.

(2) Earth test on coil

• Checktoensure thatthereisnocontinuitybetween theyokeassembly 17 and brush EB 15.

• If there is continuity, it means a short circuit. Check the insulation. If repairisimpossible, replace the brush EB15oryoke assembly 17.

� Inspectionof armature assembly

(1) Short circuit test on coil

• Bring the iron piece A close to the armature assembly 18, keeping it in parallel.

• Slowly rotate the armature assembly 18 by hand.

• If the iron piece A is attracted or vibrates, it means a short circuit. Replace the armature assembly 18.

16
02465 02467 02477
02471 54-104
02478

(2) Earth teston coil

• Checktoensurethatthereis nocontinuity betweenthecommutator C and core D (or shaft portion E).

• If there is continuity, it means a short circuit. Replace the armature assembly 18.

)8

(3) Runoutofcommutator

If the reading is more than the limit, repair the outside diameter of the commutator portion C of the armature assembly 18 within the limit.

(4) Condition of commutator surface

• If the surface is rough or unevenly worn, repair with emery paper (#300 to 500).

• After the repair, be sure to check the runout of the commutator portion C.

(5) Outside diameter ofcommutator

Ifthereading ismorethanthelimit, replacethearmatureassembly 18.

(6) Depth ofmold between segments

Before inspection, clean the mold portions.

• If the reading is less than the limit, repair or replace the armature assembly 18.

F: Depth of mold

• Make repairs by grinding the illustrated portion G.

• If the mold portion is as shown, repair or replace the armature assembly 18.

C D E 13329
C 13330 02474 16078 Good No good 02476 54
54-105

� Installation of lever

Installthelever27intheillustrateddirectionontheoverrunningclutch38.

� Installation of front bearing

• Beforethe frontbearing 30 is press-fitted, install the dustseal 31.

• Press-fitthefrontbearing30 inthefrontbracketwithapress,usingthe pipe-like tool A.

• Stake the front bracket 32 side.

CAUTION_&-------------­

Avoid staking the previously staked points B.

C:Stakingpoints(4 places)

� Inspection of overrunning clutch

Performthefollowingchecks.Ifthereisanythingwrong,replacetheoverrunningclutch 38.

• ChecktoensurethatwhentheshaftAismadetorotateinthedirection B, itrotatessmoothly.

• ChecktoensurethatwhentheshaftAismadetorotateinthedirection C, itislocked.

54-106 27 (; 32 c @:B"/�' 30
STARTER <24V-5kW>
ft
10778 13325 13326 13328

Pages 54-107 to 54-129 are deleted as they are not i"n use.

PREHEATER CIRCUIT

<24V (air heater) specification> 1

<24V (glow plug) specification> 1

<12V specification> 1

1 Starter switch

2 Heater relay (or glow relay)

3 Heaterindicator (vehicleswithairheater)

Glow plug indicator (vehicles with glow plugs)

4 Intake air heater

5 Glow plug

6 Battery relay (24V specification)

Battery switch (12V specification)

7 Battery

� 7
7
7 54-130
18461 18462 18463

♦ Service procedure

� Inspection of heater relay {or glow relay)

(1) Inspection of heater

If the fuse A is blown, replace it with one having the same amperage stamped on the fuse.

(2) Inspection of main body

<24V specification>

• Perform continuity checksaccording to the following table. G)

Whencurrent is supplied

0--0 There iscontinuity between terminals.

®-----0 Terminalsto which24V DC isapplied

A: Fuse

• Ifthereisanything wrong, replacetheheaterrelay (or glowrelay) 2.

<12V specification>

• Perform continuity checksaccording to the following table.

Whenno current issupplied

Whencurrentis supplied

0--0 There iscontinuity betweenterminals.

®-----0 Terminals to which24V DC isapplied @

• If thereisanything wrong, replace the heaterrelay (or glow relay) 2.

54 Service standards Location Maintenance item Standard value Limit Remedy Resistance of glow plug atnormaltemperature 3.8Q - Replace G) @e (� G) Cg)@ 8 @ 8 CD C2> @ED 17543 2 @ �)ED 18464
G)
54-131 Mitsubishi 6D16TLEA engine parts contact: email: engineparts2@gmail.com Phone: 269 673 1638 Text: 269 760 8652

PREHEATER CIRCUIT

4

[!] Inspection of intake air heater

(1) Inspection of fuse

If there is anything wrong, replace the fuse A (127A).

A: Fuse (127A)

(2) Inspection of main body Checktheterminalsforlooseness, andtheheaterelementfordamage and loose contact with the glass.

• If there is anything wrong, replace the intake air heater 4.

[]] Inspection of glow plug

• Measure the resistance of the glow plug 5 as shown.

• If the reading is out of the standardvalue, replace the glow plug 7. (I]Gr11

Mitsubishi 6D16TLEA engine parts contact:

email:

Phone: 269 673 1638

Text: 269 760 8652

18465
54-132
02513
engineparts2@gmail.com
54
54-/33
MEMO

ENGINE STARTER CIRCUIT

1 Alternator

Starter relay

Starter 4 Battery relay (24V)

switch (12V)

Battery

Starter switch

Safety relay Standard value Limit Approx. 200n

♦ Service procedure

@] Inspection of starter relay -

• Perform continuity checks according to the following table.

When no current is supplied

When current is supplied 0----0 There is continuity between terminals. ©--------8 Terminals to which 24V DC is applied SW

• If there is anything wrong, replace the starter relay 2.

W Inspection of safety relay

Measurethe resistance valuebetween terminals R-L. Ifthereadingisout of the standard value, replace the safety relay 4.

Mitsubishi 6D16TLEA engine parts contact:

email: engineparts2@gmail.com

Phone: 269 673 1638

Text: 269 760 8652

Service standards Location 4 p E s/ 54-134 Safety relay '8 s Maintenance item 18017 17530 6 18466
2
3
Battery
5
6
7
7
B
s
Remedy Replace L
I 54 I MEMO 54-135

AUTOMATIC STOP SYSTEM (SHUTDOWN)

3 18 17 7 18737 View A 18819 1 Solenoid relay 8 Ammeter 14 Rod 2 Alternator 9 Stop switch 15 Swivel joint 3 Solenoid 10 Fuse box 16 Ball joint 4 Starter 11 Engine oil pressure switch 17 Base lever 5 Battery relay 12 Coolant temperature sensor 18 Stop lever 6 Battery 13 Lock nut 19 Flange bolt 7 Starter switch Service standards Unit: mm Location Maintenance item Standard value Limit Remedy 1 Solenoid Delay time at start 18 ± 5 secs. - Replace relay (after application of 28.5V to terminal B, and 28.5V to terminal A) Delay time at stop 30 ± 5 secs. - Replace (after application of 24V to terminal B and 0V to terminal A) 3 Solenoid Clearance between base lever and 1.2 ± 0.2 - Adjust case stopper Holding coil current 0.5A or less - Replace 11 Engine oil pressure switch operating pressure 78 ± 20 kPa {0.8 ± 0.2 kgf/cm2} - Replace 12 Coolant temperature sensor City water cooling 95 ± 2°c - Replace operating temperature Radiator cooling 101 ± 2°c - Replace 54-136 Mitsubishi 6D16TLEA engine parts contact: email: engineparts2@gmail.com Phone: 269 673 1638 Text: 269 760 8652

♦ Serviceprocedure

OJ Solenoid relay

Wire as shown at left and perform the following inspections.

F: Power supply

G: Switch

H: Solenoid (or coil load: 30 ± 3A)

J: Switch

K: Switch

L: Power supply

(1) Inspection of oil pressure timer

• Connect 28.5V DC power supplies to F and L.

• Set the switch G to ON.

• Set the switch K to ON and simultaneously measure the time required before the solenoid Hoperates.

• If the reading is out of the standard value, replace defective parts.

NOTE

When the timer is to be re-tested, allow a recovery time of five minutes as the discharge finishing time of the capacitor in the solenoid relay 1.

(2) Inspection of stop timer

• Connect 24V DC power supply to F and 28.5V DC power supply to L.

• Set the switches G and Kto ON.

• Set the switch Kto OFF 5 seconds after the solenoid H has operated. (It takes 5 seconds for the generating voltage of alternator· 2 to disappear after the activation of the solenoid.) At the same time, measure the time required before the solenoid returns.

• If the reading is out of the standard value, replace defective parts.

NOTE

When the timer is to be re-tested, allow a recovery time of five minutes as the discharge finishing time of the capacitor in the solenoid relay.

(3) Manual stop timer

• Connect 24 V DC power supply to F.

• Set the switch J to ON to operate the solenoid H.

• Measure the timerequired for the solenoid H to return after setting the switch J to OFF.

• If the reading is out of the standard value, replace defective parts.

+-----<l 8 J C '---�i--O-'--o--4-------<J $T L K w A E 18820
54
54-137

AUTOMATIC STOP SYSTEM (SHUTDOWN)

@] Solenoid

[Installation]

3

• Temporarily tighten the ball joint 16 to the rod 14 and thread the other end six to ninetimesintotheswiveljoint 15 and secureitwith locknuts 13.

• Checktoensurethattherotating portionsoftheswivel joint 15 and ball joint 16 smoothly rotate.

• Mount the solenoid 3 on the engine.

• Rotate the ball joint 16 to adjust the length of rod 14, place the stop lever 18 in the normal use position, and install the ball joint with the flange bolt 19.

[Adjustment]

• Adjust the length of the rod 14 so that the clearance 8 between the baselever 17 and case stopper A willhavethestandard valuewith the solenoid 3 in operation.

C: Solenoid moving direction

• Firmly tighten the lock nuts 13 at both ends of the rod 14 and stop operation of the solenoid.

CAUTION.&_-------------

Do not continue to supply current to the solenoid3for more than 20 seconds. Otherwise the solenoid may be burned.

• Switch the switch of the circuit between ON and OFF repeatedly two or three times and check the following items.

CAUTION.&_------------­

Do not switch the switch rapidly between ON and OFF.

• Check to ensure that the stop lever 18, rod 14 and solenoid 3 move smoothly.

• Check to ensure that the clearance B between the base lever 17 and case stopper A have the standard value.

A 13 18 17
A
54-138
View
18819 18824

[Inspection]

Wireasshownatleftandperformthefollowingchecks. NOTE

The checks can be performed by use of either the ammeter C or lampD.

A: Powersupply

B: Switch C:Ammeter

• Settheswitch B toON.

• Ifthereadingoftheammeter C afteractivationofsolenoid 3 isoutof thestandardvalueorthelampDdoesnotlight,replacethesolenoid.

CAUTION_&------------­

When the check lamp does not light, do not continue to supply currenttothesolenoid3 formorethan 20seconds. Otherwisethe solenoid may be burned.

[TI] Inspection of engine oil pressure switch

Performthefollowingchecks.Ifdefective,replacetheengineoilpressure switch 11.

• Undertheconditionwherenoairpressure A isappliedtotheengine oilpressureswitch11, checktoensurethatthereiscontinuitybetween theterminalsCDand®.

• Slowlyapplytheairpressure A totheengineoilpressureswitch 11, beginningatOkPa(0kgf/cm2).

WhenthereisnomorecontinuitybetweentheterminalsCDand®, measuretheairpressureandchecktoensurethattheairpressurehas thestandardvalue.

B:Airpressuregauge

� Inspection of coolant temperature sensor

• Putthecoolanttemperaturesensor12inacontainerfilledwithengine oil.

• Beforeraisingtheoiltemperature,checktoensurethatthereisnocontinuitybetweentheterminalsCDand®.

• Slowlyraisetheoiltemperatureandstirtheengineoilwell.

• Measurethetemperatureatthetimewhenthereiscontinuitybetween theterminalsCDand®.

• Ifthereadingisoutofthestandardvalue,replacedefectiveparts.

NOTE

When the oil temperature is near the operating temperature, slowly heat the oil. (When the operating temperature -5°C is reached, leave italonefor five minutes, andthenraisetheoil temperature at a rate of 1°C in two or three minutes.)

3 AUX (� (+) 18821 3 18822 11 AQ 18825 e,� �,-0 0 0 0 0 18826 54
Mitsubishi 6D16TLEA engine parts contact: email: engineparts2@gmail.com Phone: 269 673 1638 Text: 269 760 8652
54-139

AUTOMATIC STOP SYSTEM <RUN-ON>

Mitsubishi 6D16TLEA engine parts contact:

email: engineparts2@gmail.com

Phone: 269 673 1638

Text: 269 760 8652

3 7 6 5 1 Solenoid relay 2 Solenoid 3 Stop switch 4 Battery switch 5 Battery 6 Heater relay Service Standards 14 14 12 15 12 13 View A 18745 7 Starter switch 8 Alternator 9 Ammeter 10 Engine oil pressure switch 11 Coolanttemperaturesensor 13 12 13 14 15 16 Location Maintenance item Standard value 1 Solenoid relay delaytime 30±4secs. 2 Solenoid Pointerclearance 0.8to1.5 Clearancebetweenstopleverand 0.4to 0.5 externalstopper Holding coil cur- 24V 1A orless rent 12V 5A or less 12 Lock nut Rod Balljoint Stop lever Base lever 11 Engine oil pressure switch operatingpressure 78±20 kPa {0.8± 0.2 kgf/cm2} 12 Coolant temperature sensor City watercooling 95±2°c operating temperature Radiatorcooling 101±2°c 54-140 0 0 18827 Unit: mm Limit Remedy - Replace - Replace - Replace - Replace - Replace - Replace - Replace - Replace

♦ Service procedure IT] Solenoidrelay

Wire asshownatleftand performthefollowingchecks.

F: Powersupply

G: Switch

J:Solenoid (or coilload: 30±3A)

K:Switch

L:Switch

(1) Inspection ofoperation ofsolenoid relay 1 and delay time

• ChecktoensurethatwhentheswitchesGand LaresettoON, the solenoidJ operates.

• Set the switch L to OFF and simultaneously measure the time required beforethesolenoid J isdeactivated.

(2) Inspection ofrelay holding time

• SettheswitchesGand LtoON. AfterthesolenoidJ hasoperated, settheswitch Kto ON.

• Set the switch L to OFF and check to ensure that the solenoid J stays intheoperatingstate for more than 30 seconds.

• After checking that thesolenoid J is in the operating state, set the switch Kto OFFto checkthat thesolenoid is deactivated.

[fil Solenoid

[Installation]

T• Installtheballjoint14totherod 13andtemporarytightenwithlocknut 12.

• Checkto ensure thatthe balljoint 14 moves smoothly.

• Installthesolenoid 2 to theengine.

• Withthestoplever15inthestopposition,installtherod 13. Adjustthe rod length by turningit.

[Adjustment]

• Removethecover of thesolenoid2.

• Apply thespecified voltageto solenoid2 and energize the solenoid.

• Check that the clearance A between the pointers of the solenoid is within the standard value.

14 F G 1 l---+-��o---1-.--------d B :====� -+rimllf'-+--------t'-----dc 12 13 12 14 2 15 View A 12 13 A 2
18828 18827 18831
54
54-141

• Withthesolenoid2keptenergized,adjusttheclearanceC betweenthe baselever 16 andthecasestopper Btothestandardvalueby turning the rod 13.

D: Solenoid moving direction

• Deenergize the solenoid 2.

• Firmly tightenthe lock nut 12.

• Switch the solenoid 2 between ON and OFF repeatedly two or three times (with approx. 1O seconds of internal) and check the following items.

CAUTION_&------------­

Do not switch the solenoid rapidly between ON and OFF.

• Checktoensure thatthestop lever 15, rod 13 and solenoid 2 operate smoothly.

• Check to ensure that the clearances A and C fallwithin thestandard limits.

• Mount the coverof solenoid 2.

[Inspection]

Wire as shown atleft and perform the following checks.

A: Powersupply

B: Switch

C:Ammeter

• Setthe switch B to ON.

• Ifthereadingoftheammeter C afterthe activationofsolenoid 1 isout of the standardvalue, replace the solenoid.

[IQ] Inspection of engine oil pressure switch

Performthefollowingchecks. Ifdefective,replacetheengineoilpressure switch 10.

• Under the condition where no air pressure A is applied to the engine oil pressure switch 10, check to ensure that there is no continuity between the terminalsG) and®.

• Slowly apply the air pressure A to theengineoil pressure switch 10, beginning atO kPa (O kgf/cm2). Whenthereiscontinuity betweentheterminalsG)and®,measurethe airpressureandchecktoensurethattheairpressurehasthestandard value.

B:Air pressure gauge

Mitsubishi

Phone: 269 673 1638

Text: 269 760 8652

12 0 c� 2 16 18832 18829 18833 54-142
AUTOMATIC STOP SYSTEM <RUN-ON>
6D16TLEA engine parts contact: email: engineparts2@gmail.com

[TI] Inspection of coolant temperature sensor

• Putthecoolanttemperaturesensorinacontainerfilledwithengineoil.

• Beforeraisingtheoiltemperature, checktoensurethatthereiscontinuity between theterminalsG) and@.

• Slowlyraisetheoiltemperatureandstir theengineoilwell.

• Measurethetemperatureatthetimewhenthereisnomorecontinuity betweentheterminalsG) and@.

• If thereadingis outofthe standard value, replace defective parts.

NOTE

18826

When the oil temperature is near the operating temperature, slowly heat the oil. (When the operating temperature -5°C is reached, leaveitaloneforfive minutes, and thenraisetheoil temperature at a rate of 1°C in two or three minutes.)

Mitsubishi 6D16TLEA engine parts contact: email: engineparts2@gmail.com

Phone: 269 673 1638

Text: 269 760 8652

54
5.J-143

LAST PAGE

Turn static files into dynamic content formats.

Create a flipbook
Issuu converts static files into: digital portfolios, online yearbooks, online catalogs, digital photo albums and more. Sign up and create your flipbook.