Generac Daewoo Doosan 22.0 Liter V12 Diesel 0C4693 Generator Engine Parts Manual

Page 1


Email: engineparts2@gmail.com

Phone:

Text: 269 760 8652

1. Cooling fan
2. Air pipe
3. Cylinder head cover
4. Turbocharger
5. Oil drain valve
6. Oil pan
7. Starter
8. Flywheel housing
9. Exhaust manifold
10. Oil filler cap
11. Pick up sensor 12. Oil cooler
13. Alternator 14. Exhaust elbow
Air pipe (Air cleaner to turbocharger) 16. Oil filter
17. Cooling water outlet
18. Air pipe (Air cleaner to turbocharger) 19. Fuel filter 20. Air pipe (Turbocharger to inter cooler) 21 Idle pulley 22. Engine mounting bracket 23. Water pump

8 10 15 17

17 13 14 17

1. Oil suction plpes

2. Oil pumps

3. Oil relief valves

4. Oil color

5. Oil filter :!::::: :: 9

6. Bypass valve

7. Main oil galleries

8. Oil gallery to crankshaft

9. Ports for main bearing lubrication

10. Ports for big end bearing lubrication

11. Small end bearing lubrication

12. Camshaft bearing lubrication

13. Rocker arm lubrication

14. Jets for piston cooling and cam lubrication

15. Injection pump lubrication

16. Oil drain plug

17. Lube oil pipes to turbochargers

18. Oil return from turbochargers

pipe

head

cooler

pipe

Daewoo Doosan 22L Diesel Engine Lubrication System
Daewoo Doosan 22L Diesel Engine Cooling System

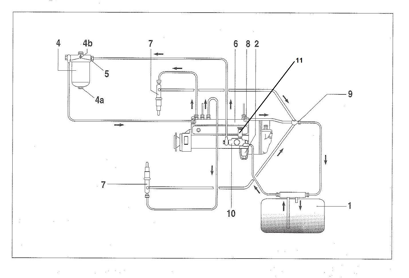
primer fuel pump

Generac Generator Engine parts

Daewoo Generator Engine parts

Doosan Generator Engine parts Contact: www.generac-generator-engine-parts.com

Email: engineparts2@gmail.com

Phone: 269 673 1638

Text: 269 760 8652

DAEWOO DOOSAN 22L FUEL FLOW SYSTEM

The additional following hard copy reference materials are available for generator sets utilizing this engine:

Generac D Control Panel Manual

Generac E Control Panel Manual

Marathon MagnaMax Alternator Manual

Marathon DVR2000 Voltage Regulator Manual

Generac Daewoo Generator Set Operation & Maintenance Manual

Daewoo Engine Parts Manual

Daewoo Engine Service Manual

Daewoo Engine Operation Manual

In addition, all Generac large generator set reference materials including all reference materials for this generator set and engine are contained in soft copy on the Generac 400 kW and Larger SERVICE CD, P/N 0C4754 for your convenience. By purchasing and registering this CD, you have the following advantages over trying to maintain a hard copy reference library:

•You have all reference materials available immediately at hand in 1 convenient package.

•You can print as many hard copies of any references you need as necessary and at your convenience.

•You will receive automatic notification of updates to the information on the CD as they occur without having to call and inquire about the latest revision available and without waiting for hard copies to be published, printed, and distributed.

For your convenience, all of the above reference materials can be ordered through your normal Generac Parts Distributor by referencing the appropriate part number. A list of Generac Ultimate Service Dealers (USD's) is included on the back of this manual.

22.0L DIESEL QUICK REFERENCE GUIDE

SPECIFICATIONS:

ENGINETYPE22.0 LITER DAEWOO DIESELENGINE

CRANKCASE OIL CAPACITY:11.1 U.S. GALLONS (42 LITERS)

COOLING SYSTEM CAPACITY:34.5 U.S. GALLONS (131 LITERS)

ENGINE:9.5 U.S. GALLONS (36 LITERS)

RADIATOR:25 U.S. GALLONS (95 LITERS)

RECOMMENDED FLUIDS

COOLANT:

USE A 50/50 MIXTURE OF LOW SILICATE ETHYLENE GLYCOL BASE ANTI-FREEZE AND SOFT WATER. (IF DESIRED, A HIGH QUALITY RUST INHIBITOR MAY BE ADDED TO THE RECOMMENDED COOLANT MIXTURE.) WHEN ADDING COOLANT, ALWAYS ADD THE RECOMMENDED 50/50 MIXTURE.

ENGINE OIL:

USE A HIGH QUALITY DETERGENT OIL HAVING AAPI CLASSIFICATION “FOR SERVICE CF OR HIGHER.” THE SAE VISCOSITY RATING OF THE OIL SHOULD BE CAREFULLY SELECTED, BASED ON THE PREVAILING AMBIENT TEMPERATURE RANGE ANTICIPATED BEFORE THE NEXT OIL CHANGE. RECOMMENDED SAE VISCOSITY GRADES ARE AS FOLLOWS:

NOTE: SAE 10W-30 recommended for all seasons.

ITEMPART NUMBERDESCRIPTIONQTY (PAGE NO.) NOT SHOWN 0C1993AIR CLEANER2

10100C46930174FILTER ; BREATHER1 (PG 9)

10300C46930269CARTRIDGE ; OIL FILTER2 (PG 21)

13600C46930357BELT ; V-TYPE (SET OF 2)2 (PG 31)

10410C46930450ELEMENT ; FUEL FILTER1 (PG 47)

11700C46930467BELT ; V-TYPE (SET OF 2)1 (PG 49)

DIESEL ENGINE DRIVEN GENERATOR SETS

Following is a recommended maintenance schedule for Generac standby diesel engine driven generator sets from 350 kW to 2000 kW in size. The established intervals in the schedule are the maximum required when the unit is used in an average service application. They will need to be decreased (performed more frequently) if the unit is used in a severe application. Use the unit hour meter or calendar time, whichever occurs first, from the previous maintenance interval to determine the next required maintenance interval.

To prevent injury, disable the generator set from starting and/or connecting to the load by setting the control panel Auto-Off-Manual switch to the "Off" position, removing the control panel fuse, turning off the battery charger, and removing the negative battery cable before performing any maintenance. NOTE: The battery charger must be tur ned off BEFORE removing the battery cable to prevent an over current condition from bur ning out sensitive control panel components and circuits. Following all maintenance, reverse these steps to insure the unit is returned to standby setup for normal operation when required.

1 Every month or 10 hours of operation

(Requires approximately 0.5 man hours per unit)

1.Disable the unit from operating per the first page warning.

2.Check the engine oil level. Adjust as necessary.

3.Check the engine coolant level. Adjust as necessary.

4.Check the battery electrolyte level if accessible. Adjust as necessary.

5.Check the diesel fuel supply level. Adjust as necessary.

6.Check the air inlets and outlets for debris. Clean as necessary.

7.Visually inspect the unit looking for leaks, wear or damage, loose connections or components, and corrosion. Correct as necessary.

8.Return the unit to operational condition.

1A First 6 months or 50 hours of operation ONLY

(Requires approximately 2.5 man hours per unit)

1.Disable the unit from operating per the first page warning.

2.Check the engine oil level. Adjust as necessary.

3.Check the engine coolant level. Adjust as necessary.

4.Check the battery electrolyte level if accessible. Adjust as necessary.

5.Check the diesel fuel supply level. Adjust as necessary.

6.Drain water and sediment from the diesel fuel tank.

7.Drain water from the diesel fuel line water separator if unit is equipped with one.

8.Check the air inlets and outlets for debris. Clean as necessary.

9.Visually inspect the unit looking for leaks, wear or damage, loose connections or components, and corrosion. Correct as necessary.

10.Initiate an automatic start and transfer to load of the unit, and exercise it for at least 1 hour looking for leaks, loose connections or components, and abnormal operating conditions. Correct as necessary.

11.Change the engine oil.

12.Replace the engine oil filter(s).

13.Replace the engine fuel filter(s).

14.Return the unit to stand-by setup for operation when required.

2 Every 6 months or 50 hours of operation

(Requires approximately 1.5 man hours per unit)

22.0L DIESEL SERVICE RECOMMENDATIONS

1.Disable the unit from operating per the first page warning.

2.Check the engine oil level. Adjust as necessary.

3.Check the engine coolant level. Adjust as necessary.

4.Check the battery electrolyte level if accessible. Adjust as necessary.

5.Check the diesel fuel supply level. Adjust as necessary.

6.Drain water and sediment from the diesel fuel tank.

7.Drain water from the diesel fuel line water separator if unit is equipped with one.

8.Check the air inlets and outlets for debris. Clean as necessary.

9.Visually inspect the unit looking for leaks, wear or damage, loose connections or components, and corrosion. Correct as necessary.

10.Initiate an automatic start and transfer to load of the unit, and exercise it for at least 1 hour looking for leaks, loose connections or components, and abnormal operating conditions. Correct as necessary.

11.Return the unit to standby setup for operation when required. Maint

Every 12 months or 100 hours of operation

(Requires approximately 4.0 man hours per unit)

1.Disable the unit from operating per the first page warning.

2.Check the engine oil level. Adjust as necessary.

3.Check the engine coolant level. Adjust as necessary.

4.Check the engine coolant thermal protection level. Correct as necessary.

5.Check the diesel fuel supply level. Adjust as necessary.

6.Drain water and sediment from the diesel fuel tank.

7.Drain water from the diesel fuel line water separator if unit is equipped with one.

8.Check the air inlets and outlets for debris. Clean as necessary.

9.Check the battery electrolyte level if accessible. Adjust as necessary.

10.Check the battery posts, cables, and charger for loose connections, corrosion, and proper operation. Correct as necessary.

11.Check the unit wiring for loose connections, corrosion, and damage. Correct as necessary.

12.Check the engine accessory drive belts for wear, weather cracking, and damage. Replace as necessary.

13.Test the unit safety devices (alarms, shutdowns, etc.) for proper operation. Correct and/or adjust as necessary.

14.Perform an oil analysis (send a sample to a lab for results). Change the engine oil and filters if the analysis results indicate this is required.

15.Visually inspect the unit looking for leaks, wear or damage, loose connections or components, and corrosion. Correct as necessary.

16.Start and exercise the unit under full rated load for at least 2 hours looking for leaks, loose connections or components, and abnormal operating conditions. Correct as necessary.

17.Return the unit to standby setup for operation when required.

4 Every 24 months or 250 hours of operation

(Requires approximately 8.0 man hours per unit)

22.0L DIESEL SERVICE

1.Disable the unit from operating per the first page warning.

2.Check the engine oil level. Adjust as necessary.

3.Check the engine coolant level. Adjust as necessary.

4.Check the engine coolant thermal protection level. Correct as necessary.

5.Check the diesel fuel supply level. Adjust as necessary.

6.Drain water and sediment from the diesel fuel tank.

7. Drain water from the diesel fuel line water separator if unit is equipped with one.

8.Check the air inlets and outlets for debris. Clean as necessary.

9.Check the battery electrolyte level if accessible. Adjust as necessary.

10.Check the battery posts, cables, and charger for loose connections, corrosion, and proper operation. Correct as necessary.

11.Check the unit wiring for loose connections, corrosion, and damage. Correct as necessary.

12.Check the engine accessory drive belts for wear, weather cracking, and damage. Replace as necessary.

13.Check the engine valve clearance. Adjust as necessary.

14.Visually inspect the unit looking for leaks, wear or damage, loose connections or components, and corrosion. Correct as necessary.

15.Start and exercise the unit under full rated load for at least 2 hours looking for leaks, loose connections or components, and abnormal operating conditions. Correct as necessary.

16.Change the engine oil.

17.Replace the engine oil filter(s).

18.Replace the engine fuel filter(s).

19.Replace the engine air filter(s).

20.Start the unit and exercise it for at least 15 minutes looking for leaks, loose connections or components, and abnormal operating conditions. Correct as necessary.

21.Return the unit to standby setup for operation when required.

Generac Generator Engine parts

Daewoo Generator Engine parts

Doosan Generator Engine parts

Contact: www.generac-generator-engine-parts.com

Email: engineparts2@gmail.com

Phone: 269 673 1638

Text: 269 760 8652

Generac Generator Engine parts

Daewoo Generator Engine parts

Doosan Generator Engine parts

Contact:

www.generac-generator-engine-parts.com

Email: engineparts2@gmail.com

Phone: 269 673 1638

Text: 269 760 8652

Generac Generator Engine parts

Daewoo Generator Engine parts

Doosan Generator Engine parts

Contact:

www.generac-generator-engine-parts.com

Email: engineparts2@gmail.com

Phone: 269 673 1638

Text: 269 760 8652

Generac Generator Engine parts

Daewoo Generator Engine parts

Doosan Generator Engine parts

Contact:

www.generac-generator-engine-parts.com

Email: engineparts2@gmail.com

Phone: 269 673 1638

Text: 269 760 8652

Generac Generator Engine parts

Daewoo Generator Engine parts

Doosan Generator Engine parts

Contact:

www.generac-generator-engine-parts.com

Email: engineparts2@gmail.com

Phone: 269 673 1638

Text: 269 760 8652

Generac Generator Engine parts

Daewoo Generator Engine parts

Doosan Generator Engine parts Contact: www.generac-generator-engine-parts.com

Email: engineparts2@gmail.com

Phone: 269 673 1638

Text: 269 760 8652

NOTE: ITEMS 3020 THROUGH 3130 SHOWNINILLUSTRATIONAREONLYAVAILABLEASITEM #3010, WATERPUMPASSEMBLY, PART NUMBER 0C46930333.

Generac Generator Engine parts Daewoo Generator Engine parts Doosan Generator Engine parts Contact: www.generac-generator-engine-parts.com Email: engineparts2@gmail.com Phone: 269 673 1638 Text: 269 760 8652

Generac Generator Engine parts

Daewoo Generator Engine parts

Doosan Generator Engine parts

Contact:

www.generac-generator-engine-parts.com

Email: engineparts2@gmail.com

Phone: 269 673 1638

Text: 269 760 8652

Generac Generator Engine parts

Daewoo Generator Engine parts

Doosan Generator Engine parts Contact: www.generac-generator-engine-parts.com

Email: engineparts2@gmail.com

Phone: 269 673 1638

Text: 269 760 8652

Generac Generator Engine parts

Daewoo Generator Engine parts

Doosan Generator Engine parts

Contact:

www.generac-generator-engine-parts.com

Email: engineparts2@gmail.com

Phone: 269 673 1638

Text: 269 760 8652

Generac Generator Engine parts

Daewoo Generator Engine parts

Doosan Generator Engine parts

Contact:

www.generac-generator-engine-parts.com

Email: engineparts2@gmail.com

Phone: 269 673 1638

Text: 269 760 8652

Generac Generator Engine parts

Daewoo Generator Engine parts

Doosan Generator Engine parts

Contact:

www.generac-generator-engine-parts.com

Email: engineparts2@gmail.com

Phone: 269 673 1638

Text: 269 760 8652

Generac Generator Engine parts

Daewoo Generator Engine parts

Doosan Generator Engine parts

Contact:

www.generac-generator-engine-parts.com

Email: engineparts2@gmail.com

Phone: 269 673 1638

Text: 269 760 8652 LAST PAGE Parts

Turn static files into dynamic content formats.

Create a flipbook
Issuu converts static files into: digital portfolios, online yearbooks, online catalogs, digital photo albums and more. Sign up and create your flipbook.