Corrosion of steel in concrete 3rd edition john p. broomfield download pdf

Page 1


Corrosion of Steel in Concrete 3rd Edition

Visit to download the full and correct content document: https://ebookmass.com/product/corrosion-of-steel-in-concrete-3rd-edition-john-p-broo mfield/

More products digital (pdf, epub, mobi) instant download maybe you interests ...

Steel Corrosion-Induced Concrete Cracking 1st Edition

Jin https://ebookmass.com/product/steel-corrosion-induced-concretecracking-1st-edition-jin/

Principles of Structural Design: Wood, Steel, and Concrete, Second Edition – Ebook PDF Version 2nd

https://ebookmass.com/product/principles-of-structural-designwood-steel-and-concrete-second-edition-ebook-pdf-version-2nd/

Corrosion Atlas, 3rd edition - A Collection of Illustrated Case Histories Evert D.D. During

https://ebookmass.com/product/corrosion-atlas-3rd-edition-acollection-of-illustrated-case-histories-evert-d-d-during/

High Temperature Oxidation and Corrosion of Metals 2nd Edition David John Young

https://ebookmass.com/product/high-temperature-oxidation-andcorrosion-of-metals-2nd-edition-david-john-young/

Localized Corrosion in Complex Environments 1st Edition

https://ebookmass.com/product/localized-corrosion-in-complexenvironments-1st-edition-mike-yongjun-tan/

The Oxford Handbook of the Hollywood Musical Dominic Broomfield-Mchugh

https://ebookmass.com/product/the-oxford-handbook-of-thehollywood-musical-dominic-broomfield-mchugh/

Uhligu2019s Corrosion Handbook (The ECS Series of Texts and Monographs 51) 3rd Edition, (Ebook PDF)

https://ebookmass.com/product/uhligs-corrosion-handbook-the-ecsseries-of-texts-and-monographs-51-3rd-edition-ebook-pdf/

Corrosion of Aluminium 2nd Edition Christian Vargel

https://ebookmass.com/product/corrosion-of-aluminium-2nd-editionchristian-vargel/

Antropologia culturale 3rd Edition Conrad P. Kottak

https://ebookmass.com/product/antropologia-culturale-3rd-editionconrad-p-kottak/

Corrosion of Steel in Concrete

Corrosion of Steel in Concrete: Understanding, Investigation and Repair is a guide for designing, constructing and maintaining reinforced concrete structures, such as buildings and bridges which are subject to reinforcement corrosion. It presents the basics of theory and practice in steel corrosion in concrete and reviews the latest research and developments, such as progress on measuring the corrosion threshold for chloride-induced corrosion.

This third edition compares the currently proliferating major national and international standards and guidance documents. New developments are considered, such as hybrid anodes for electrochemical treatment and the latest research and developments in assessment, such as the use of ground penetrating radar to measure the chloride content of the concrete cover. It overhauls coverage of electrochemical repair and rehabilitation techniques and outlines recent innovations in structural repair and construction and investigates their implications for durability.

The book is ideal for practitioners and graduate students in structural engineering and concrete technology.

RUST’S A MUST

Mighty ships upon the ocean

Suffer from severe corrosion, Even those that stay at dockside Are rapidly becoming oxide Alas that piling in the sea is mostly Fe2O3, And where the ocean meets the shore You’ll find there’s Fe3O4, ‘Cause when the wind is salt and gusty Things are getting awful rusty.

We can measure we can test it, We can halt it or arrest it, We can gather it and weigh it, We can coat it, we can spray it, We examine and dissect it, We cathodically protect it, We can pick it up and drop it, But heaven knows, we’ll never stop it.

So here’s to rust, no doubt about it, Most of us would starve without it.

T.R.B Watson, June 1974 ‘Corrosion Control Services’

Corrosion of Steel in Concrete

Understanding, Investigation and Repair

Third Edition

Third edition published 2023 by CRC Press

4 Park Square, Milton Park, Abingdon, Oxon, OX14 4RN and by CRC Press

6000 Broken Sound Parkway NW, Suite 300, Boca Raton, FL 33487-2742

© 2023 John P. Broomfield

First edition published by E & FN Spon 1997

Second edition published by CRC Press 2007

CRC Press is an imprint of Informa UK Limited

The right of John P. Broomfield to be identified as author of this work has been asserted in accordance with sections 77 and 78 of the Copyright, Designs and Patents Act 1988.

All rights reserved. No part of this book may be reprinted or reproduced or utilised in any form or by any electronic, mechanical, or other means, now known or hereafter invented, including photocopying and recording, or in any information storage or retrieval system, without permission in writing from the publishers.

For permission to photocopy or use material electronically from this work, access www.copyright.com or contact the Copyright Clearance Center, Inc. (CCC), 222 Rosewood Drive, Danvers, MA 01923, 978-750-8400. For works that are not available on CCC please contact mpkbookspermissions@ tandf.co.uk

Trademark notice: Product or corporate names may be trademarks or registered trademarks, and are used only for identification and explanation without intent to infringe.

British Library Cataloguing-in-Publication Data

A catalogue record for this book is available from the British Library

Library of Congress Cataloging in Publication Data

Names: Broomfield, John P., author.

Title: Corrosion of steel in concrete : understanding, investigation and repair / John P. Broomfield.

Description: Third edition. | Abingdon, Oxon ; Boca Raton, FL : CRC Press, 2023. |

Includes bibliographical references and index.

Identifiers: LCCN 2022034158 | ISBN 9781032120980 (hardback) | ISBN 9781032120997 (paperback) | ISBN 9781003223016 (ebook)

Subjects: LCSH: Reinforcing bars–Corrosion. | Steel–Corrosion. | Reinforced concrete–Corrosion.

Classification: LCC TA445.5 .B76 2023 | DDC 620.1/37–dc23/eng/20221011

LC record available at https://lccn.loc.gov/2022034158

ISBN: 978-1-032-12098-0 (hbk)

ISBN: 978-1-032-12099-7 (pbk)

ISBN: 978-1-003-22301-6 (ebk)

DOI: 10.1201/9781003223016

Typeset in Sabon by Newgen Publishing UK

7.4

7.5

7.6

7.7

7.8

7.9

7.10

7.11

9.7

Preface

This third edition provides updated information on techniques, materials, standards and the technical literature relating to corrosion of steel in concrete in atmospherically exposed concrete structures. There is also additional information on early 20th century steel framed stone and brick buildings. The sections on corrosion theory, corrosion monitoring, galvanic cathodic protection and other areas have been introduced or expanded to reflect the changes of the past decade since the previous edition. The increasing number of relevant national and international standards is also reflected in the text. In this edition I have also tried to cover some relevant aspects of sustainability and the possible impacts of changes due to decarbonization of industry in the field of concrete repair.

The book provides a guide for those responsible for buildings and other reinforced concrete structures as they are engaged to design, construct, maintain and repair them. It reviews the present state of knowledge of corrosion of steel in concrete from the theory through to site investigations and then remedying the problem. There is also a section on building more corrosion resistant structures.

The aim of the book is to educate and guide engineers, surveyors and owners of structures so that they will have a clear idea of the problem and will know where to go to start finding solutions. No single book can be a complete course in any subject and there is no substitute for personal ‘hands on’ experience. There are many experienced engineers and corrosion experts who deal with these problems on a day-to-day basis. The reader is recommended to seek expert advice when dealing with subjects that are new to him. However, the aim of being an ‘informed client’ is to be recommended and this book should help in that respect. It is also essential that students of civil engineering, building sciences and architecture understand the problems they will face as they start to practice their skills. We need more engineers, materials scientists, building surveyors and architects who are trained to look at wider durability issues in these days of sustainable development and conservation of resources.

It is impossible in one book to be totally comprehensive. Consequently some subjects such as cement chemistry and concrete admixtures have not

x Preface been covered in much detail. They are better covered in other specialist texts. This book concentrates on the corrosion of steel in its cementitious environment and how it is dealt with in methods that are sometimes unique to the corrosion engineering field rather than the civil or building engineering field. I have been gratified by the reception of the previous editions by fellow engineers, scientists and others in the field and hope that this edition continues to be useful to the industry.

Illustration credits

A number of figures are reproduced in this book by kind permission of the copyright holders or authors as appropriate. In some cases acknowledgement is made in the figure caption; in the other cases the Publisher would like to gratefully acknowledge the permissions granted as follows: Permission to reproduce extracts of BS EN 206:2013+A2:2021 and BS EN 1504-9:2008 in Tables 8.3 and 10.1 is granted by BSI. British Standards can be obtained from BSI Customer Services, 389 Chiswick High Road, London W4 4AL. Tel: 144 (0)20 8996 9001. email: cservices@bsiglobal.com

Acknowledgements

It is difficult to know where to start and end with acknowledgements. I started my career after finishing University at the Central Electricity Research Laboratory, working in one of the largest groups of corrosion scientists in the UK and Europe. Sadly that group was dispersed with the privatisation of the Central Electricity Generating Board. I learned the basics of corrosion from Mike Manning, Jonathan Forrest and Ed Metcalfe and many others at CERL.

I then joined Taylor Woodrow and enjoyed carrying out some of the first trials of impressed current cathodic protection on reinforced concrete structures above ground in the UK, Hong Kong and Australia. I learned enormous amounts about deterioration of reinforced concrete structures, civil engineering and contracting from Roger Browne, Roger Blundell, Roger McAnoy, Phil Bamforth and a powerful team of engineers and scientists who were all at the forefront of concrete technology. I continue to have good relations and helpful exchanges with the Taywood team.

I was then privileged to be invited to work at the Strategic Highway Research Program (SHRP) in Washington DC. For three years we coaxed a $150 million research programme into life, and after five years we then shut it all down having spent the allotted budget. My thanks go to Damian Kulash who led the programme and was brave enough to take on a foreigner to oversee the Structures research and to Jim Murphy and Don Harriott who led the Concrete & Structures Group and taught me about highways. I must also thank all my colleagues at SHRP, the researchers who did the real research work and the advisory and expert committee members who gave their time and insights to help create some very valuable manuals and guidance for highway engineers.

The first draft of the first edition of this book was produced three years after returning to the UK as an independent consultant. I had the chance to work with some of the leading experts in the field of corrosion and deterioration of reinforced concrete. I picked their brains mercilessly and enjoyed working and relaxing with many such as Chris Wozencroft, Richard Edwards, Kevin Davies, Chris Atkins, Brian Wyatt, Nick Buenfeld,

Acknowledgements

Gareth Glass, Ken Boam, Mike Gower and Peter Johnson, the late David Whiting, Ken Clear, Jack Bennett, Carmen Andrade, Jesús Rodríguez and many others.

In the years since the previous edition I have been fortunate to continue to work with many knowledgeable and experienced engineers and specialists on the committees of the Association of Materials Protection and Performance AMPP, previously NACE, the Corrosion Prevention Association, Concrete Society, Institute of Corrosion, the Transportation Research Board and CEN. I must specifically acknowledge Andrew Trafford of Aperio who kindly supplied a lot of useful information as well as photographs about radar, radiography, pulse velocity, ultrasonic and impact-echo techniques. My thanks also go to my publisher, and to Nick Clarke whose helpful suggestions strengthened the first draft of the book considerably.

Finally, eternal thanks to my wife, Veronica and my parents, Olive and Philip. Everything one says about the support of the family sounds glib and clichéd, but it is, none the less, true. Without my parents’ support I would not have got where I am today. Veronica’s support has been invaluable in quietly encouraging me to get on with the job, make sure that I am focussed on the task in hand and not involved in pie in the sky ideas. She has supported my activities while getting on with her own activities.

My apologies for naming such a small number of the many people who I continue to have the pleasure and privilege of working with. My thanks to all of them and their willingness to share their knowledge with me and many others. For this third edition I should additionally thank Chris Atkins and Ali Sharifi who responded very kindly to my inquiries about where various technologies are going in the industry. Finally, it is sad to acknowledge that a number of those mentioned are either fully retired or no longer with us. But we remember their contributions and their friendship.

It is better to wear out than to rust out

Richard Cumberland, English Divine (1631–1718)

Paint, graffiti, and everything else that man can do cannot win against rust. Rust trumps all.

Laura Moncur commenting on a photograph by Ward Jenkins

Chapter 1

I ntroduction

Reinforced concrete is a versatile, economical and successful construction material. It can be moulded to a variety of shapes and finishes. In most cases it is durable and strong, performing well throughout its service life. However, in some cases it does not perform adequately due to poor design, poor construction, inadequate materials selection, a more severe environment than anticipated or a combination of these factors.

The corrosion of the reinforcing steel in concrete is a major problem facing civil engineers today as they maintain an ageing infrastructure. Potentially it is a very large market for those who develop the expertise to deal with the problem. It is also a major headache for those who are responsible for dealing with structures suffering from it.

Worldwide, more concrete is used than any other man-made material. Global cement production is expected to increase from 3.27 billion tonnes in 2010 to 4.83 billion tonnes in 2030 according to figures published by Statistica.com in February 2021. Correctly selected intervention that repairs a concrete structure cost effectively helps in conserving resources and reducing pollution from cement and concrete manufacturing.

One cost estimate was that there was $150 billion worth of corrosion damage on US interstate highway bridges due to deicing and sea saltinduced corrosion. In a Transportation Research Board report on the costs of deicing (Transportation Research Board, 1991) the annual cost of bridge deck repairs were estimated to be $50–200 million, with substructures and other components requiring $100 million a year and a further $50–150 million a year on multi-storey car parks.

In a cost of corrosion study (Koch et al., 2002), the annual direct cost of corrosion on US highway bridges was estimated at $8.3 billion overall, with $4.0 billion of that on the capital cost and maintenance of reinforced concrete highway bridge decks and substructures. Indirect costs due to traffic delays were calculated to be more than 10 times the direct costs.

In the United Kingdom, the Department of Transport’s (DoT) estimate of salt-induced corrosion damage was a total of £616.5 million on motorway and trunk road bridges in England and Wales alone (Wallbank, 1989).

These bridges represent about 10% of the total bridge inventory in the country. The eventual cost may therefore be 10 times the DoT estimate. The statistics for Europe, the Asian Pacific and Australia are similar.

In the Middle East the severe conditions of warm marine climate, especially in the more heavily populated areas, with saline ground waters, increases all corrosion problems. This is made worse by the difficulty of curing concrete that has led to very short lifetimes for reinforced concrete structures (Rasheeduzzafar et al., 1992).

In many countries with rapidly developing infrastructure, economies or poor supervision and quality control procedures in construction have led to poor quality concrete and low concrete cover to the steel leading to carbonation problems.

Corrosion became a fact of life as soon as man started digging ores out of the ground, smelting and refining them to produce the metals that we use so widely in the manufacturing and construction industries. When man has finished refining the steel and other metals that we use, nature sets about reversing the process. The refined metal will react with the non-metallic environment to form oxides, sulphates, sulphides, chlorides and so on, which no longer have the required chemical and physical properties of the consumed metal. Billions of dollars are spent every year on protecting, repairing and replacing corrosion damage. Occasionally lives are lost when steel pipes, pressure vessels or structural elements on bridges fail. But corrosion is a slow process and is usually easy to detect before catastrophic failure, and the consequences of corrosion are usually economic rather than death or injury.

The corrosion of steel in concrete used to be considered to cause engineering and economic problems. However, there have been cases of large pieces of concrete falling from bridges in North America, with the loss of a motorist’s life in New York City. The failure of post-tensioning tendons in a bridge caused a bridge collapse with the loss of a tanker driver’s life in Europe and another failure of a pedestrian bridge in the United States. Car park collapses (Simon, 2004) and other major failures have been recorded in the United States, Canada and the United Kingdom as well as in Europe and the Far East (not always directly attributed to reinforcement corrosion).

The economic loss and damage caused by the corrosion of steel in concrete makes it arguably the largest single infrastructure problem facing industrialized countries. Our bridges, public utilities, chemical plants and buildings are ageing. Some can be replaced, others would cause great cost and inconvenience if they were taken out of commission. With major political arguments about how many more bridges, power plants and other structures we can build, it becomes crucial that the existing structures perform to their design lives and limits and are maintained effectively.

One of the biggest causes of corrosion of steel in concrete is the use of deicing salts on our highways. In the United States approximately 10 million tonnes of salt are applied per year to highways. In the United Kingdom 1–2 million tonnes per year are applied (but to a proportionately far smaller road network). In continental Europe the application rates are comparable, except where it is too cold for salt to be effective, or the population density too low to make salting worthwhile (e.g. in northern Scandinavia). However, research in the United States has shown that the use of deicing salt is still more economic than the alternative, more expensive, less effective deicers (Transportation Research Board, 1991).

In the early years of the 20th century corrosion of steel in concrete was attributed to stray current corrosion from electric powered vehicles. It was only in the 1950s in the United States that it was finally accepted that there were corrosion problems on bridges far from power lines but in areas where sea salt or deicing salts were prevalent. During the 1960s attempts were made to quantify the problem and in the 1970s the first cathodic protection systems were installed to control the corrosion of reinforcing steel in concrete. In Europe and the Middle East sea water for mixing concrete and the addition of calcium chloride set accelerators were acceptable until the 1960s and still used until the 1970s in a mistaken belief that most of the chlorides would be bound up in the cement and would not cause corrosion. This was found to be an expensive error over the next 20 years, particularly in the Middle East, where the low availability of potable water led to the frequent use of sea water for concrete mixing.

While corrosion of steel in concrete is a major cause of deterioration, it is not the only one. Out in the real world we must not become blinkered to other problems like alkali-silica reactivity, freeze thaw damage and the structural implications of the damage done and of repairs. In this setting, however, we will concentrate on the corrosion issue although there will be passing references to other problems where relevant.

There is some discussion in the book of the results of the Strategic Highway Research Program (SHRP). The author was a member of the SHRP staff for the first three years and a consultant for the last three years of SHRP. About $10 million worth of research was carried out over six years (1987–1993) on corrosion problems on existing reinforced concrete bridges. A complete list of SHRP reports on corrosion of steel in concrete is now available on the Transportation Research Board website (www.trb.org). SHRP was probably the largest single effort to address the problem of corrosion of steel in concrete and provide practical solutions for engineers to use.

In the United Kingdom the ‘Concrete In the Oceans’ research programme in the 1970s did much to improve our understanding of the fundamentals of corrosion of steel in concrete, particularly in marine conditions (Wilkins and Lawrence, 1980). Government laboratories around the world have

worked on the problems since the 1960s when they started to manifest themselves.

The text draws on corrosion problems and experience from around the world where possible, attempting to achieve a balanced view of different approaches in different countries, particularly comparing the European and North American approaches which are sometimes quite different. Inevitably it concentrates on the author’s primary experience in the United Kingdom, North America and, to a lesser extent, Europe, Australasia, the Middle and Far East and Africa.

Chapters 2 and 3 explore the basics of corrosion of steel in concrete. The author has attempted to be thorough but also to start from the position of the generalist, with a minimal memory of chemistry.

The first requirement when addressing a deterioration problem is to quantify it. Chapter 4 discusses condition evaluation and the testing procedures and techniques we can use to assess the causes and extent of the corrosion damage on a structure. Chapter 5 covers permanent corrosion monitoring, a subject that has grown considerably since the first edition of the book.

Chapters 6 and 7 are then concerned with repair and rehabilitation options, first the conventional physical intervention of concrete repair, patching, overlaying and coatings. The electrochemical techniques of cathodic protection, chloride extraction and realkalization are dealt with in Chapter 7.

Chapter 8 deals with how to select a rehabilitation method. It discusses the different techniques for repair covered in the previous chapters and the cost differentials. Chapter 9 reviews models for determining deterioration rates and service lives.

The penultimate chapter turns away from the issues of dealing with the problems on existing structures and reviews the options for new construction to ensure that the next generation of structures do not show the problems associated with some of the present generation. Many materials and methods of improving durability are on the market, but which ones are cost effective?

The final chapter discusses future developments. As materials science, computer technology, electronics and other disciplines advance, new methods for assessing corrosion are becoming available. The author speculates about what will be on offer and perhaps more importantly what we need to efficiently assess and repair corrosion damage on our fixed infrastructure in the future.

References

Frost, A. (2005). ‘The Material World’. New Civil Engineer, Concrete Engineering Supplement, p 24.

Koch, G.H., Brogers, P.H., Thompson, N., Virmani, Y.P. and Payer, J.H. (2002). Corrosion Cost and Preventive Strategies in the United States. FHWA Report FHWA-RD-01–156. Federal Highway Administration, Washington, DC.

Rasheeduzzafar, H.S., Dakhil, F.H., Bader, M.A. and Khan, M.N. (1992). ‘Performance of Corrosion Resisting Steel in Chloride-Bearing Concrete’. ACI Materials Journal, 89(5): 439–448.

Simon, P. (2004). Improved Current Distribution due to a Unique Anode Mesh Placement in a Steel Reinforced Concrete Parking Garage Slab CP System. NACE Corrosion 2004. Paper No. 04345.

Transportation Research Board (1991). Highway Deicing: Comparing Salt and Calcium Magnesium Acetate. Special Report 235. National Research Council, Washington, DC.

Wallbank, E.J. (1989). The Performance of Concrete in Bridges: A Survey of 200 Highway Bridges. HMSO, London.

Wilkins, N.J.M. and Lawrence, P.F. (1980). Concrete in the Oceans: Fundamental Mechanisms of Corrosion of Steel Reinforcements in Concrete immersed in Sea Water. Technical Report 6. ClRIA/UEG Cement and Concrete Association, Slough, UK.

C orrosion of steel in concrete

This chapter discusses the basics of corrosion and how it applies to steel in concrete. To start with a basic question: Why does steel corrode in concrete? A more sensible question is why does steel not corrode in concrete? We know from experience that ordinary carbon steel reinforcing steel bars corrode (rust) when air and water are present. As concrete is porous and contains moisture, why doesn’t steel in concrete usually corrode?

The answer is that concrete is alkaline. Alkalinity is the opposite of acidity. Generally, metals corrode in acids and they can be protected from corrosion by alkalis. This is the case for steel in concrete.

When we say that concrete is alkaline we mean that the concrete contains microscopic pores which contain high concentrations of soluble calcium, sodium and potassium oxides. These form hydroxides, which are very alkaline, when water is present. This creates a very alkaline condition of pH 12–13. The composition of the pore water and the movement of ions and gases through the pores is very important when analyzing the susceptibility of reinforced concrete structures to corrosion. This will be discussed in Chapter 3.

The alkaline condition leads to a ‘passive’ layer forming on the steel surface. The passive layer is a dense, impenetrable film, which, if fully established and maintained, prevents further corrosion of the steel. The layer formed on steel in concrete is probably part metal oxide/hydroxide and part mineral from the cement. A true passive layer is a very dense, thin layer of oxide that leads to a very slow rate of oxidation (corrosion). There is some discussion as to whether or not the layer on the steel is a true passive layer as it seems to be thick compared with other passive layers and it consists of more than just metal oxides, but as it behaves like a passive layer it is generally referred to as such.

Corrosion scientists and engineers spend much of their time trying to find ways of stopping corrosion of steel by applying protective coatings. Other metals such as zinc, polymers such as acrylics or epoxies are used to stop corrosive conditions getting to steel surfaces. The passive layer is the corrosion engineer’s dream coating as it forms itself and will maintain and

repair itself as long as the passivating (alkaline) environment is there to regenerate it if it is damaged. If the passivating environment can be maintained it is far better than any artificial coatings like galvanizing or fusion bonded epoxy that can be damaged or consumed, allowing corrosion to proceed in damaged areas.

However, the passivating environment is not always maintained. Two conditions can break down the passivating environment in concrete without attacking the concrete first. One is carbonation and the other is chloride attack. These will be discussed in Chapter 3. In the rest of this chapter we will discuss what happens when depassivation has occurred.

2.1 The corrosion process

Once the passive layer breaks down then areas of rust will start appearing on the steel surface. The chemical reactions are the same whether corrosion occurs by chloride attack or carbonation. When steel in concrete corrodes it dissolves in the pore water and gives up electrons:

The anodic reaction: Fe → Fe21 1 2e (2.1)

The two electrons (2e ) created in the anodic reaction must be consumed elsewhere on the steel surface to preserve electrical neutrality. In other words we cannot have large amounts of electrical charge building up at one place on the steel. There must be another chemical reaction to consume the electrons. This is a reaction that consumes water and oxygen:

The cathodic reaction: 2e 1 H2O 1 –1 2 O2 → 2OH (2.2)

This is illustrated in Figure 2.1. You will notice that we are generating hydroxyl ions in the cathodic reaction. These ions increase the local alkalinity and therefore will strengthen the passive layer, warding off the effects of carbonation and chloride ions at the cathode. Note that water and oxygen are needed at the cathode for corrosion to occur.

The anodic and cathodic reactions ((2.1) and (2.2)) are only the first steps in the process of creating rust. However, this pair of reactions is critical to the understanding of corrosion and is widely quoted in any discussion on corrosion and corrosion prevention for steel in concrete. The reactions will be referred to often in this book.

If the iron were just to dissolve in the pore water (the ferrous ion Fe21 in equation (2.1) is soluble) we would not see cracking and spalling of the concrete. Several more stages must occur for ‘rust’ to form. This can be expressed in several ways and one is shown here where ferrous hydroxide becomes ferric hydroxide and then hydrated ferric oxide or rust:

Fe Fe2+ 2e–

O2 + H2O + 2e– 2OH–Electronic current 1 2

Fe2+ + 2OH– Fe(OH)2 Ferrous hydroxide

4Fe(OH)2 + O2 + 2H2O 4Fe(OH)3 Ferric hydroxide

2Fe(OH)3 Fe2O3 · H2O + 2H2O Hydrated ferric oxide (rust)

Figure 2.1 The anodic, cathodic and oxidation and hydration reactions for corroding steel.

Fe21 1 2OH → Fe(OH)2 (2.3) Ferrous hydroxide

4Fe(OH)2 1 O2 1 2H2O → 4Fe(OH)3 (2.4) Ferric hydroxide

2Fe(OH)3 → Fe2O3·H2O 1 2H2O (2.5) Hydrated ferric oxide (rust)

The full corrosion process is illustrated in Figure 2.1. Unhydrated ferric oxide Fe2O3 has a volume of about twice that of the steel it replaces when fully dense. When it becomes hydrated it swells even more and becomes porous. This means that the volume increase at the steel/concrete interface is six to ten times as indicated in Figure 2.2. This leads to the cracking and spalling that we observe as the usual consequence of corrosion of steel in concrete and the red/brown brittle, flaky rust we see on the bar and the rust stains we see at cracks in the concrete. Several factors in the explanation given in this section are important and will be used later to explain how we measure and stop corrosion. The electrical current flow, and the generation and consumption of electrons in the anode and cathode reactions, are used in half-cell potential measurements and cathodic protection. The formation of protective, alkaline hydroxyl ions is used in cathodic protection, electrochemical chloride removal and realkalization. The fact that the cathodic and anodic reactions must balance each other for corrosion to proceed is used in epoxy coating protection of rebars. All this will be discussed later.

Ionic current
The cathode
The anode

Fe(OH)3 · 3H2O

2.2 Black rust

There is an alternative to the formation of ‘normal’ red rust described in reactions (2.3) to (2.5) earlier. If the anode and cathode are well separated (by several hundred millimetres) and the anode is starved of oxygen (say by being underwater) the iron as Fe21 will stay in solution. This means that there will be no expansive forces as described earlier to crack the concrete so corrosion may not be detected.

This type of corrosion (known as ‘black’ or ‘green’ rust due to the colour of the liquid when first exposed to air after breakout) is found under damaged waterproof membranes and in some underwater or other water saturated conditions. It is potentially dangerous as there is no indication of corrosion by cracking and spalling of the concrete and the reinforcing steel may be severely weakened before corrosion is detected. Rebars may be hollowed out in such deoxygenated conditions particularly under membranes or when water is permanently ponded on the surface.

Examples of rebars attacked in this way are shown in Figure 2.3. These bars were taken from underneath damaged waterproof membranes. Rust staining on the concrete surface may be indicative of this type of attack, but obviously if water is getting under a membrane and excluding oxygen it is unlikely that the iron in solution will get to the concrete surface where it will then precipitate out to form rust stains.

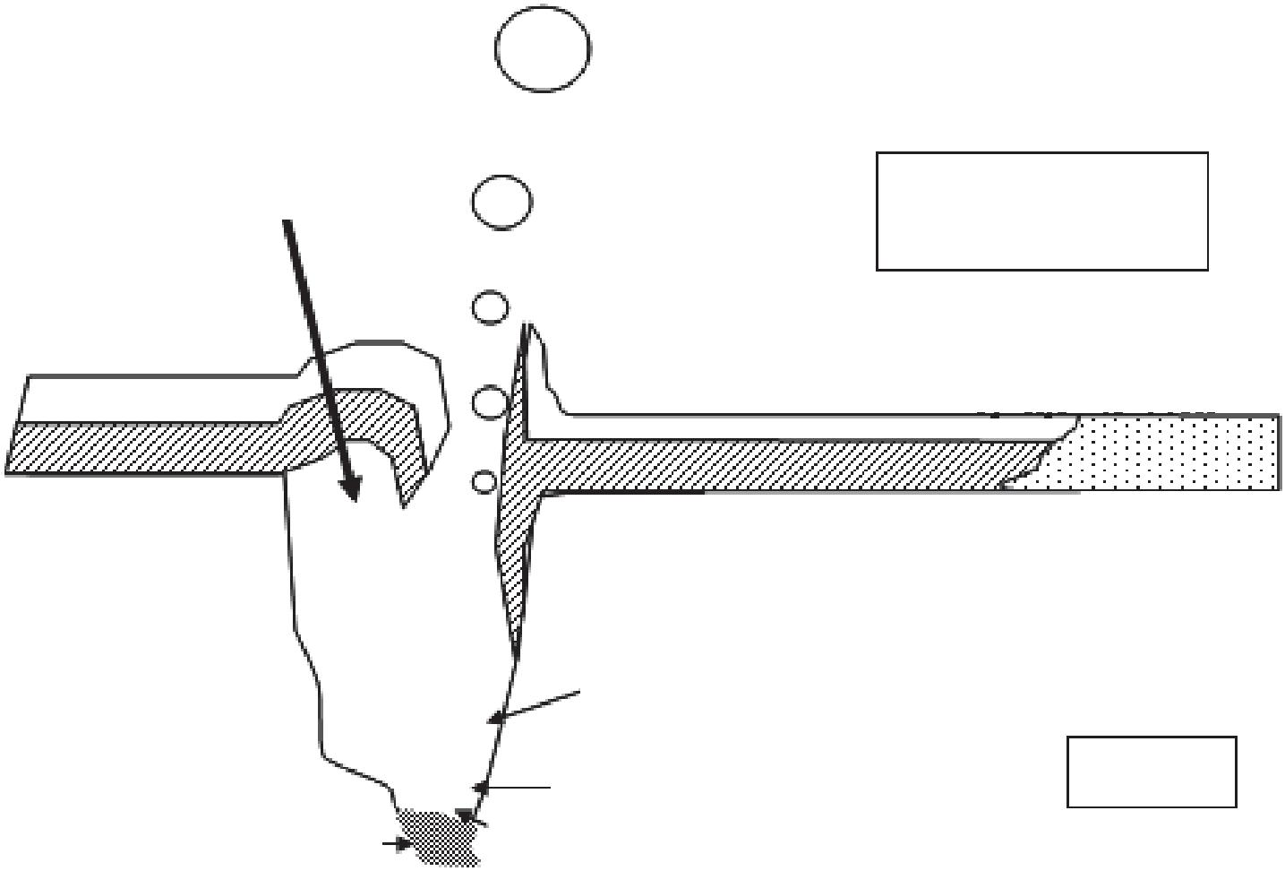
2.3 Pits, stray current and bacterial corrosion

2.3.1

Pit formation

Corrosion of steel in concrete generally starts with the formation of pits. These increase in number, expand and join up leading to the generalized

Figure 2.2 Relative volume of iron and its oxides.

2.3 Reinforcing bars taken from under the end of a waterproofing membrane. They have been subjected to low oxygen conditions and therefore one of them shows severe local wasting. There was no expansive oxide growth.

corrosion usually seen on reinforcing bars exposed to carbonation or chlorides. The formation of pits is illustrated in Figure 2.4.

The chemistry of pitting is quite complex and is explained in most chemistry text books. However, the principle is fairly simple, especially where chlorides are present. At some suitable site on the steel surface (often thought to be a void in the cement paste or a sulphide inclusion in the steel) the passive layer is more vulnerable to attack and an electrochemical potential difference exists that attracts chloride ions. Corrosion is initiated and acids are formed, hydrogen sulphide from the MnS inclusion and HCl from the chloride if they are present. Iron dissolves (equation (2.1)), the iron in solution reacts with water:

A pit forms, rust may form over the pit, concentrating the acid (H1), excluding oxygen so that the iron stays in solution preventing the formation of a protective oxide layer and accelerating corrosion.

We will return to the subject of pitting corrosion later. It is related to the problems of coated reinforcement and to the ‘black rust’ phenomenon discussed earlier.

Figure

Figure 2.4 The classical corrosion model of pitting attack adapted from Wranglen G. Corrosion Sci, 1974, 14: 331.

2.3.2 Bacterial corrosion

Another complication comes from bacterial corrosion. There are bacteria in soil (thiobaccilli) that convert sulphur and sulphides to sulphuric acid. There are other species (ferrobaccili) that attack the sulphides in steel (FeS). This is often associated with a smell of hydrogen sulphide (rotten eggs) and smooth pitting with a black corrosion product when rebars are exposed having been in water saturated conditions. In anaerobic (oxygen starved) conditions such bacteria can contribute to the pitting corrosion discussed earlier.

The alkaline conditions in concrete generally keep bacteria at bay. However, they have been seen on steel in damaged concrete where the steel surface is no longer alkaline and oxygen is excluded by saturation.

Bacterial corrosion of steel should not be confused with bacterial attack of concrete. This can occur in sewer systems. A summary of the issues of microbial induced ‘corrosion’ of concrete is given in Lines et al. (2021).

2.3.3 Stray-current-induced corrosion

As stated in the introduction, stray currents were originally blamed for corrosion in concrete in the United States until the problem of chloride attack was identified in the 1950s. The main cause of stray-current-induced corrosion was the direct current from DC traction systems on trams (streetcars),

when current flowed through buried or embedded steel work. In finding the lowest resistance path to ground, current will jump from one metal conductor to another via an ionic medium when the metals are not in contact. This might be from one reinforcement cage to another via the concrete pore water. One end of the reinforcement cage will become negative (a cathode), and will not corrode. The other end will become positive and will actively corrode. The problems of stray currents in cathodic protection systems are discussed in Section 7.8.2 where the effect of having electrically discontinuous steel in the structure is considered.

Today, stray current corrosion in bridges, buildings and above ground structures is a specialized problem dealt with by engineers designing and maintaining light rail systems. Below ground the problem also occurs on cathodic protection systems for pipelines and other structures. Cathodic protection systems on buried pipelines can interact with adjacent or crossing facilities. There must be an ionic path between the source of current and the metal at risk which must also be on the path of lowest resistance. For this reason stray-current-induced corrosion is most unlikely on above ground structures when the DC source is below ground.

There is some discussion in the literature about AC induced stray currents. These are generally far lower than DC effects although recent literature suggests that in some cases it can be significant (Gummow et al., 1998). One case where AC can be significant is on a structure with cathodic protection installed. In such conditions, the AC can shift the steel potential to the actively corroding regions of the electrochemical spectrum causing corrosion. NACE/AMPP have published a report and a standard practice on the subject of stray-current-induced corrosion of steel in concrete (NACE 2019 a and b). These show that the passive layer is good at protecting against stray currents, but the presence of chloride will accentuate stray-currentinduced corrosion.

2.3.4

Local vs. general corrosion (macrocells vs. microcells)

Corrosion is often local, with a few centimetres of corrosion and then up to a metre of clean passive bar, particularly for chloride-induced corrosion. This indicates the separation of the anodic reaction (2.1) and the cathodic reaction (2.2) to form a ‘macrocell’. Chloride-induced corrosion gives rise to particularly well defined macrocells. This is partly due to the mechanism of chloride attack, with pit formation and with small concentrated anodes being ‘fed’ by large cathodes. It is also because chloride attack is usually associated with high levels of moisture giving low electrical resistance in the concrete and easy transport of ions so the anodes and cathodes can separate easily.

In North America, this is used as a way of measuring corrosion by measuring ‘macrocell currents’. This is discussed later in Section 4.12.6.

2.4 Electrochemistry, cells and half cells

The first two reactions we discussed in this chapter were the anodic and cathodic reactions for steel in concrete. The terms ‘anode’ and ‘cathode’ come from electrochemistry which is the study of the chemistry of electrical cells. Figure 2.5 is a basic Daniell cell which is used at high school to illustrate how chemical reactions produce electricity. The cell is composed of two ‘half cells’, copper in copper sulphate and zinc in zinc sulphate. The total voltage of the cell is determined by the metals used and by the nature and composition of the solutions. What is happening is that in each half cell the metal is dissolving and ions are precipitating, that is, M ←→ Mn1 1 ne

Copper is more resistant to this reaction than zinc so when we connect the two solutions by a semi permeable membrane and connect the two metals with a wire, the zinc goes into solution, and the copper sulphate plates out as pure copper on the copper electrode.

Zinc sulphate Copper sulphate
Figure 2.5 The Daniell cell. Cell voltage 5 0.34 ( 0.76) 5 1.10 V.

Table 2.1 Standard reference electrode potentials

The voltage of any half cell can be recorded against a standard hydrogen electrode (half cell or reference electrode). Table 2.1 gives the standard reference electrode or half cell potentials that are of interest to us as we evaluate corrosion problems.

Reference electrode potentials are a function of solution concentration as well as the type of metal and the solution. A more concentrated solution is (generally) more corrosive than a dilute one so a current will flow in a cell made up of a single metal in two different concentrations of the same solution. We can consider the corrosion of steel in concrete as a concentration cell.

We can measure the corrosion risk in the cell by introducing an external reference electrode. This is most easily illustrated by a copper/saturated copper sulphate reference electrode moved along the surface of the concrete with a rebar in the concrete which has anodic (corroding) areas and cathodic (passive) areas.

As we see in Figure 2.6, by placing a reference electrode on the concrete surface and connecting it via a voltmeter to the steel, we have a similar circuit to our Daniell cell (Figure 2.5). The electrical potential difference will be a function of the iron in its pore water environment. If we move the cell along the steel we will see different potentials because the iron is in different environments. At the anode it can easily go into solution like the zinc in our Daniell cell. At the cathode, the passive layer is still strong and being strengthened further by the cathodic reaction, so the steel resists dissolution.

As a result we see higher potentials (voltages) on our voltmeter in anodic, corroding areas and lower voltages in the cathodic, passive areas. The use and interpretation of reference electrode potential measurements is discussed further in Section 4.8.

We must be careful in our use of electrochemical theory to explain what is going on in a corrosion cell. Electrochemical theory generally applies to equilibrium conditions and well defined solutions. Corrosion is not an equilibrium, but a dynamic situation. Therefore using the theory and equations of electrochemistry is an approximation and can lead to errors if the model is stretched too far.

2.5 Conclusions

This chapter has discussed the mechanism of what happens at the steel surface. The chemical reactions, formation of oxides, pitting, stray currents,

Turn static files into dynamic content formats.

Create a flipbook
Issuu converts static files into: digital portfolios, online yearbooks, online catalogs, digital photo albums and more. Sign up and create your flipbook.