
Ano 27 - nº296 - 2025
![]()

Ano 27 - nº296 - 2025
A inovação técnologica como motor de transformação
Da cozinha para a nuvem
Alta precisão para controle de qualidade em processos alimentícios
A nova era da instrumentação na indústria de alimentos e bebidas







Saia na frente com a Beckhoff quando o assunto é embalagem: oferece a você uma vantagem competitiva com tecnologia inovadora soluções completas e integradas para todas as aplicações de embalagem consultoria de especialistas qualificados com profundo conhecimento do setor flexibilidade no projeto de máquinas com sistemas inteligentes de transporte de produtos soluções personalizadas graças ao nosso portfólio modular e escalonável
talking about

Houve época em que a solidez da indústria de alimentos e bebidas era medida pelo tamanho das caldeiras, pelo peso das engrenagens, pela permanência dos métodos, o cheiro do fermento no ar, o vapor da esterilização, o ruído metálico das linhas de envase..., mas a transformação se deu em silêncio — e caminha para a nuvem.
A automação antes visível em braços robóticos e esteiras sincronizadas, agora reside em algoritmos invisíveis, sensores miniaturizados, gêmeos digitais e fluxos de dados em tempo real. O que antes era sólido — concreto, fixo, palpável — está se dissolvendo em códigos, protocolos e dashboards. A fábrica de hoje metaboliza dados, prediz demandas, antecipa falhas, calibra desperdícios e reduz emissões, tudo enquanto conversa em tempo real com fornecedores, transportadoras e até o consumidor final.
E esse movimento vem gerando receita que deve saltar de US$ 9,45 trilhões em 2025 para cerca de US$ 12,87 trilhões em 2030 (iCrowdNewswire+Statista); as tecnologias aplicadas à cadeia alimentar como IoT, automação, IA e robótica, devem atingir US$ 355 bilhões em 2030; e o segmento de fábricas inteligentes no setor de alimentos e bebidas deve crescer de US$ 8,9 milhões em 2024 para US$ 18,6 milhões em 2030 (Grand View Research). Note-se que globalmente, as Pequenas e Médias Empresas representam a maior parte da indústria desse setor, especialmente em economias emergentes – pesquisa da Fispal (2025) destaca que 73 % das empresas do setor são micro ou pequenas. Até 2024, cerca de 78 % dos fabricantes de alimentos já haviam adotado algum nível de automação, seja em empacotamento, classificação ou controle de qualidade e os investimentos previstos em Big Data e IA (análise preditiva, demanda, logística etc.) devem levar esse mercado a US$ 6,7 bilhões até 2030: o mercado de tecnologia alimentar, que inclui automação, IA, sensores, robôs, etc., está duplicando até 2030.
Projetos de fábricas inteligentes nesse setor têm crescido em torno de 13,1% aa com a automação de processos (robôs de empacotamento, inspeção automatizada, sensores IoT) se intensificando desde 2020, especialmente devido a pressões por segurança alimentar, eficiência, escassez de mão de obra e pandemia. E esse paradoxo — entre o concreto e o intangível — é justamente o que torna este momento tão importante para o setor. A transformação digital não é apenas sobre eficiência. É sobre reinvenção, sobre entender que o controle, hoje, está menos no botão do painel e mais na leitura crítica dos indicadores nos bastidores da operação. Para mostrar que a tecnologia pode chegar até os pequenos, esta edição traz um case e artigos que mostram o que existe para tornar isso possível e acessível.
A edição traz ainda um pouco das notícias que movimentaram o mercado, complementando nosso contato diário pelas mídias sociais e semanal pelas newsletters.
Boa leitura!
O editor.
Colaboraram com informações e imagens as assessorias de imprensa.

DIRETORIA
editoravalete@editoravalete.com.br
ASSINATURAS comercial@editoravalete.com.br
DEPTO. COMERCIAL/ANÚNCIOS publicidade@editoravalete.com.br
ISSN 0101-0794 CEL/TEL (11) 96925.7321 (11) 92038.8475
FINANCEIRO financeiro@editoravalete.com.br
REDAÇÃO redacao@editoravalete.com.br
COVER PAGE
46. A inovação tecnológica como motor de transformação na indústria de alimentos e bebidas

C&I NEWS
CIBERSEGURANÇA pág.17
ART.COM
32. Da cozinha para nuvem
37. Alta precisão para controle de qualidade em processos alimentícios
41. A nova era da instrumentação na indústria de alimentos e bebidas
IMPRESSIONS
FLASH
ENERGIES
MARKET CAST
pág.04 pág.32 pág.51 pág.68 pág.63 pág.76 pág.57
pág.86

Levantamento inédito do Ministério do Desenvolvimento, Indústria, Comércio e Serviços (MDIC) mostra que a Nova Indústria Brasil (NIB) está transformando as potencialidades locais em vetores de desenvolvimento, impulsionando o crescimento sustentável e a geração de emprego em todo o país.
O novo painel interativo de monitoramento do Plano Mais Produção mostra que os investimentos da Nova Indústria Brasil (NIB) em todo o país já somam R$ 472,7 bilhões em mais de 168 mil projetos relacionados às seis missões da política industrial até março deste ano.
As informações estão organizadas por estado e região, o que permite visualizar com clareza como os recursos estão sendo aplicados conforme as potencialidades locais.

No total, o Plano Mais Produção conta com R$ 611 bilhões de recursos para o desenvolvimento industrial, em linhas de crédito e não reembolsáveis, com foco em inovação, produtividade, sustentabilidade e exportação.
O desenvolvimento de potencialidades locais pode ser observado quando se desagrega os dados por missões. Por exemplo, na Missão 5 (Bioeconomia e Descarbonização), 48,5% dos recursos foram para as regiões Nordeste e Norte. Já na Missão 1 (Agroindústria), 62% foram para Centro-Oeste e Sul.
Para o vice-presidente e ministro do MDIC, Geraldo Alckmin, o balanço mostra os acertos da política industrial.
“A Nova Indústria Brasil é um marco histórico para o desenvolvimento industrial do país. O novo painel reforça que estamos no caminho certo, atraindo investimentos para setores estratégicos e impulsionando a indústria nacional com inovação e sustentabilidade, valorizando as potencialidades locais e transformando o futuro do Brasil com mais emprego e renda”
O painel interativo detalha a distribuição dos recursos aprovados pelas instituições financeiras BNDES, Finep, Embrapii, Banco do Brasil, Caixa Econômica Federal, Banco da Amazônia e Banco do Nordeste entre as seis missões da NIB.
Potencialidades locais
A distribuição dos recursos do P+P revela como cada região tem suas vocações reconhecidas e fortalecidas pela NIB.
Dos R$ 24,18 bilhões de investimentos da indústria na região Norte, 40,9% (R$ 9,89 bi) são para Bioeconomia e Descarbonização, mostra o painel. Em segundo lugar está o investimento na Agroindústria (R$ 6,7 bi), seguido por Infraestrutura (R$ 5,6 bi), Transformação Digital (R$ 1,5 bi), Saúde (R$ 401 mi) e Defesa (R$ 4,4 mi).
Na região Nordeste, mais da metade dos R$ 55,2 bilhões investidos no período foi para a Infraestrutura, que teve R$ 29,3 bilhões destinados a 3.348 projetos. A missão Descarbonização e Bioeconomia conta com R$ 11,4 bi, seguida pela missão da Agroin-

O painel também permite o recorte regional e por estado. Neste caso, o balanço não leva em consideração os recursos do Banco do Brasil, que não divulga informações desagregadas por estado por questões de compliance.
dústria (R$ 7,3 bi), Transformação Digital (R$ 6,3 bi), Saúde (R$ 829,3 mi) e Defesa (R$ 18,3 mi).
Com R$ 21,4 bilhões destinados a 14.219 projetos, a Agroindústria representa 52,3% dos R$ 41 bi da região Centro-oeste. Infraestrutura recebeu R$ 12,1 bi, seguido de Descarbonização e bioeconomia (R$ 4,4 bi), Transformação Digital (R$ 2,2 bi), Saúde (R$ 712,9 mi) e Defesa (R$ 22,1 mi).
Os projetos industriais aprovados na região Sudeste totalizam R$ 179,10 bilhões, distribuídos em mais de 51 mil iniciativas. A maior parte dos recursos foi destinada à área de infraestrutura, que recebeu R$ 86,6 bilhões, equivalente a 48,36% do total. Em seguida, destacam-se os setores de Transfor-
mação Digital e Defesa, com R$ 26,7 bilhões e R$ 26,1 bilhões, respectivamente. A missão da agroindústria foi alvo de R$ 17,1 bilhões; descarbonização e bioeconomia, com R$ 12,6 bilhões; e saúde recebeu R$ 9,8 bilhões.
Já a região Sul recebeu R$ 85,85 bilhões em investimentos da NIB distribuídos em cerca de 57 mil projetos. A maior fatia foi destinada à Infraestrutura, com R$ 32,7 bilhões, seguida da missão Agroindustrial, que recebeu R$ 27,46 bilhões. A Transformação
Distribuição dos investimentos por Missão Missão
Total Investido (R$)
Agroindustrial
Transformação
O dashboard com a distribuição de recursos financeiros por setor revela a predominância da Infraestrutura como principal destino dos investimentos da NIB. O setor concentra R$ 198,3 bilhões, o equivalente a 41,9% do total aplicado, em 38.480 projetos.
O Agronegócio também aparece em destaque. O segmento agroindustrial recebeu R$ 104,8 bilhões (22,19% dos recursos), distribuídos em 81.006 projetos, consolidando sua posição como um dos motores da economia nacional.
A Transformação Digital vem em terceiro,
Digital também se destacou com R$ 18,3 bilhões. Outros segmentos contemplados foram Descarbonização e Bioeconomia, com R$ 5,5 bilhões; Saúde, com R$ 1,69 bilhão; e Defesa, que recebeu R$ 38,4 milhões.
Para o secretário de Desenvolvimento Industrial, Inovação, Comércio e Serviços, Uallace Moreira, ao permitir o acompanhamento em tempo real e por meio de atualizações trimestrais, o painel reforça a transparência e a capacidade de monitoramento da execução do Plano Mais Produção.
dos Recursos Número de Projetos
com R$ 77,3 bilhões (16,37%) investidos em 31.972 iniciativas, refletindo a aposta na modernização tecnológica. A Descarbonização e a Bioeconomia já somam R$ 43,97 bilhões (9,3%) e 13.778 projetos, sinalizando o compromisso crescente com práticas sustentáveis e beneficiando-se dos potenciais locais.
A área de Defesa detém R$ 26,2 bilhões (5,54%) em 116 projetos, indicando ações de grande porte e alta complexidade. Já o setor de Saúde, fundamental para o bem-estar da população, foi contemplado com R$ 21,9 bilhões (4,64%) em 2.598 projetos, a menor fatia entre os segmentos analisados.


Um funcionário monitora uma transferência de wafer em uma das fábricas de semicondutores de 300 mm da Texas Instruments em Sherman, Texas.
A Texas Instruments (TI) anunciou planos de investir mais de US$ 60 bilhões em sete fábricas de semicondutores nos EUA, tornando este o maior investimento na fabricação de semicondutores fundamentais da história dos EUA. Em parceria com o governo Trump e com base no legado de quase 100 anos da
empresa, a TI está expandindo sua capacidade de fabricação nos EUA para suprir a crescente demanda por semicondutores que impulsionarão inovações críticas, de veículos a smartphones e data centers. Combinadas, as novas megafábricas da TI no Texas e em Utah gerarão mais de 60.000 empregos nos EUA.
“A Texas Instruments está construindo uma capacidade de 300 mm confiável e de baixo custo em escala para fornecer chips de processamento analógico e embarcado vitais para quase todos os tipos de sistemas eletrônicos. Empresas americanas como Apple, Ford, Medtronic, NVIDIA e SpaceX confiam na tecnologia de classe mundial e na expertise em fabricação da Texas Instruments, e temos a honra de trabalhar com elas e com o governo americano para impulsionar o que há de mais moderno em inovação americana”, disse Haviv Ilan, presidente e CEO da Texas Instruments.

“Por quase um século, a Texas Instruments tem sido uma empresa americana fundamental, impulsionando a inovação em tecnologia e manufatura. O presidente Trump priorizou o aumento da fabricação de semicondutores nos Estados Unidos – incluindo esses semicondutores fundamentais que fazem parte dos eletrônicos que as pessoas usam todos os dias. Nossa parceria com a Texas Instruments apoiará a fabricação de chips nos EUA nas próximas décadas”, disse o Secretário de Comércio dos EUA, Howard Lutnick.



A TI é a maior fabricante de semicondutores dos EUA, produzindo chips de processamento analógico e embarcado essenciais para smartphones, veículos, data centers, satélites e praticamente todos os outros dispositivos eletrônicos. Para atender à crescente demanda por esses chips essenciais, a TI está se baseando em seu legado de liderança tecnológica e expandindo sua presença de fabricação nos EUA para ajudar seus clientes a serem pioneiros na próxima onda de avanços tecnológicos. A SM1, primeira nova fábrica da TI em Sherman, iniciará a produção inicial este ano, apenas três anos após o início das obras. A
construção da estrutura externa da SM2, a segunda nova fábrica da TI em Sherman, também foi concluída. Os planos de investimento incremental incluem duas fábricas adicionais, SM3 e SM4, para atender à demanda futura. A segunda fábrica da TI em Richardson, a RFAB2, continua a atingir a produção máxima e se baseia no legado da empresa de lançar a primeira fábrica analógica de 300 mm do mundo, a RFAB1, em 2011. A TI está expandindo a LFAB1, a primeira fábrica de wafers de 300 mm da empresa em Lehi. A construção da LFAB2, a segunda fábrica da TI em Lehi, que se conectará à LFAB1, também está em andamento.

A Universidade Federal do ABC (UFABC), vinculada ao Ministério da Educação, conquistou um feito inédito para o Brasil no cenário aeroespacial estudantil. A equipe UFABC Rocket Design foi campeã da edição 2025 da International Rocket Engineering Competition (IREC) na categoria de foguetes com motor de combustível sólido. A competição foi realizada em junho, no Texas, EUA.
A Irec é considerada a maior competição acadêmica de engenharia de foguetes do planeta, reunindo mais de 150 universidades de diversos países e cerca de duas mil pessoas, entre estudantes, docentes e mentores. O desempenho da equipe brasileira impressionou: o foguete alcançou 3.255 metros de altitude, com precisão de 99,5% em relação ao apogeu projetado: 3.272 metros.
O projeto campeão, batizado de Aracê, utilizou um simulador desenvolvido pelos próprios estudantes na UFABC. O modelo foi projetado para representar o Brasil tanto na IREC quanto na Latin American Space Challenge (Lasc), maior competição da área na América Latina.
A equipe UFABC Rocket Design reúne cerca de 130 alunos de diferentes cursos da


instituição, que desenvolvem soluções tecnológicas nas áreas de engenharia e ciência aeroespacial. “A UFABC e o Brasil celebram esse triunfo inédito que projeta a capacidade inventiva e técnica de seus estudantes no cenário internacional da engenharia aeroespacial”, comemorou a universidade.
Criada em 2010, a UFABC Rocket Design é a equipe de foguetes da Universidade Federal do ABC, instituição pública federal vinculada ao MEC. A equipe já representou o Brasil diversas vezes na IREC e na Latin American Space Challenge (LASC), maior competição da América Latina. Composta por estudantes de diferentes cursos — como Engenharia Aeroespacial, Mecânica, Elétrica, Computação, Física e Ciência & Tecnologia —, o grupo desenvolve tecnologias de ponta com foco em foguetes experimentais, integração de sistemas, simulação de voo e automação.
O projeto Aracê é o resultado de um ano e meio de trabalho, com envolvimento de mais de 100 estudantes divididos em subsistemas técnicos e administrativos, utilizando metodologias de engenharia de sistemas, gestão de projetos e ciclos de teste e validação.



FLEXIV-ISAAC BRIDGE EM AÇÃO

A Flexiv lançou o aplicativo Flexiv-Isaac Bridge, capacitando desenvolvedores a projetar, testar e implantar aplicativos de robótica controlados por força em ambientes virtuais hiper-realistas.
O aplicativo, que traz simulação de controle de força de alta fidelidade para o Isaac Sim da NVIDIA, permite que desenvolvedores e usuários finais de robótica programem, modelem, testem e implantem aplicações robóticas complexas, controladas por força e com tecnologia de IA, em ambientes simulados que imitam de perto as condições reais de contato.
Para destacar essa nova capacidade, a equi-
pe de engenharia da Flexiv divulgou um vídeo no qual um robô simulado Rizon 4 completou o clássico quebra-cabeça da Torre de Hanói no Isaac Sim. A simulação replicou exatamente os movimentos reais do robô e demonstrou sua “busca por buracos” controlada por força e suas capacidades de movimento complacente. Isso reforça o compromisso da Flexiv em minimizar a lacuna entre a simulação e a realidade, a fim de aprimorar o treinamento, a programação e o desempenho operacional. Além disso, esta demonstração enfatiza o empenho da Flexiv em garantir compatibilidade perfeita com uma das plataformas de robótica virtual mais utilizadas no mundo.
“Abrir a porta para a compatibilidade entre a Flexiv e a NVIDIA com o aplicativo Flexiv-Isaac Sim Bridge permitiu que nossos robôs adaptativos, líderes do setor, aproveitassem o poderoso mecanismo de física do mundo real da Isaac Sim”, disse Xiyang Yeh, CTO da Flexiv. “Essa integração estratégica permite que os usuários criem simulações realistas e dependentes de força, que aceleram significativamente a validação de aplicativos e agilizam o processo de otimização. Em resumo, tornamos realidade as simulações de alta fidelidade controladas por força.”
O Isaac Sim permite que desenvolvedores criem ambientes virtuais hiper-realistas e detalhados, enquanto o sistema de programação Elements da Flexiv permite que aplicações robóticas sejam programadas e refinadas sem esforço. Com o Bridge App conectando essas ferramentas, os clientes podem criar aplicações, construir gêmeos digitais de suas instalações, projetar perfis de missão e executar testes virtuais de alta fidelidade antes de implantar robôs em cenários do mundo real. Essas simulações fornecem insights valiosos sobre o desempenho das aplicações, avaliação de riscos e eficiência

operacional.
Ao aproveitar a capacidade do Isaac Sim de gerar simulações do mundo real e o suporte do Flexiv Elements para simular ações baseadas em força no mundo real, o Flexiv visa acelerar o ciclo de desenvolvimento de aplicações. Com os desenvolvedores agora capazes de refinar os movimentos dos robôs e testar aplicações iterativamente de qualquer lugar do mundo, os custos de desenvolvimento podem ser significativamente reduzidos, enquanto o suporte remoto pode garantir maior confiabilidade em implementações no mundo real.
“Jogar com a Torre de Hanói é uma maneira brilhante de demonstrar a transferência da simulação para o mundo real sob a estrutura Flexiv-Isaac, pois é exatamente o mesmo script Python funcionando tanto na simulação quanto na realidade, sem nenhuma alteração no código”, disse Peizhang Zhu, Engenheiro Sênior de Software de Robótica da Flexiv. “Os usuários podem primeiro construir uma solução de robô adaptável no Isaac Sim e depois implementá-la no mundo real, esperando o mesmo resultado da simulação. A estrutura finalmente tornou a simulação um componente prático no processo de produção.”
A Flexiv disponibilizou gratuitamente sua base de código da Torre de Hanói no GitHub. Essa iniciativa incentiva desenvolvedores, acadêmicos e clientes a desenvolver o trabalho da Flexiv, fomentando um ecossistema colaborativo que promove a criatividade e a personalização.
Ao combinar robótica controlada por for-

ça e programação simplificada com as ferramentas de simulação de ponta da NVIDIA, a Flexiv está revolucionando os fluxos de trabalho de desenvolvimento. Isso abre caminho para sistemas robóticos mais seguros, inteligentes e adaptáveis, que transformam tanto o desenvolvimento de aplicações quanto a interação entre humanos e robôs.

A Tempo, empresa nacional nos segmentos de assistências, conveniências e serviços especializados – conquistou o Prêmio Smart Customer deste ano na categoria Inovação em Relacionamento – Contratante. A cerimônia de entrega do reconhecimento teve como tema “O futuro do negócio centrado no cliente” e reuniu mais de 1.200 participantes no Centro de Convenções Frei Caneca, em São Paulo.
O case vencedor, “Assistência 24h VW –Transformando a Experiência Digital”, foi totalmente desenvolvido em parceria com a Volkswagen. A iniciativa viabilizou a criação de um serviço de assistência 24 horas mais ágil e digital. O projeto ainda revisitou toda a jornada do cliente e integrou soluções digitais, como um portal exclusivo e o rastreamento por GPS dos prestadores e atendimento via WhatsApp com BOT, para proporcionar uma experiência mais rápida, transparente e autônoma para o cliente da montadora. Ou seja, as inovações implementadas foram todas pensadas e centradas, fundamentalmente, nas necessidades do consumidor, o que redefiniu o padrão de atendimento no setor.
“A conquista do Prêmio Smart Customer na categoria Inovação em Relacionamento vem para coroar todo o nosso esforço e o direcionamento de nossas ações para colocar o clien-
te no centro de tudo o que fazemos”, avalia Joyce Suman, superintendente de Sales and Growth da Tempo. “Esse reconhecimento, em parceria com a Volkswagen, nos impulsiona a continuar investindo em soluções que transformam positivamente a jornada dos clientes, provando que é possível unir eficiência digital com atendimento humano e empático”, acrescenta.
A jornada de transformação digital teve início em 2023, com a implantação das soluções tecnológicas em 2024 e expansão com implantação de soluções em IA generativa em 2025. O projeto garantiu agilidade, autonomia e transparência ao cliente, com informações em tempo real e atendimento digitalizado. O colaborador também foi beneficiado pois recebeu capacitações contínuas (15 cursos mensais), que reforçaram atendimento humanizado, ética e atenção às regras da LGPD e às metas operacionais, entre outras disciplinas. O impacto direto foi a satisfação de 96% dos clientes, com média de 9,6/10 nas avaliações.
“A Tempo é, atualmente, a única empresa do segmento de assistência 24 horas a implantar IA generativa em atendimento e obter a certificação TISAX, destacando-se como referência no setor. Isso reforça sua liderança em inovação, colocando-a à frente dos concorrentes”, complementa a superintendente.
No MPN Fórum 2025, a Deutsche Telekom abordou uma conversa necessária: como acelerar a experiência de Redes Privativas no Brasil?
@Divulgação

O gerente comercial, Juliano Moreira Krziminski, trouxe esse tema à tona ao compartilhar como se tem usado a experiência global da Deutsch para acelerar a experiência no Brasil, com testes rápidos, solução 4G/5G, estrutura portátil e, o mais importante, foco em resultado. Com prova de conceito prática e simples, em ambiente isolado ou operacional das empresas, aplicando casos de uso reais, para mensurar benefícios reais. Em um cenário com poucas promessas, o que Juliano mostrou foi execução de como colocar uma rede privativa em operação em poucos dias; conectar aplicações de missão crítica; como medir, na prática, os ganhos em produtividade ou redução de custos através da melhoria de uma rede confiável ou com adoção de novas tecnologias a serem
habilitadas.
O evento mostrou que a rede privativa móvel não é mais conceito técnico, é um alicerce estratégico. “Porque não se trata apenas de conectividade, mas de garantir a continuidade de aplicações industriais de missão críticas, reduzir falhas operacionais, ampliar leque de novas tecnologias aplicadas e ampliar o controle e gestão industrial em tempo real. Empresas que necessitam de resiliência, alta disponibilidade de aplicações industriais já entendem: sem uma rede robusta, não há digitalização consistente. Agora esse assunto não é mais se vale a pena, mas como escalar com inteligência. E é exatamente aí que entramos. Porque a rede, sozinha, não transforma nada. Mas quando bem aplicada, transforma tudo”, resumiu Juliano.

Reconhecida por seu parque industrial moderno e automatizado, a Bragagnolo conta com atuação da Voith em diferentes frentes, como fornecimento de vestimentas para máquinas de papel, medições de campo e consultorias técnicas, sempre com a presença constante de especialistas. Esse modelo de atendimento próximo e personalizado garante uma relação de confiança e resultados consistentes.
Um dos pontos valorizados pela Bragagnolo é a capacidade da Voith em propor soluções técnicas que atendam às necessidades operacionais e comerciais da planta, como o gerenciamento eficiente de estoques e prazos de entrega. A experiência acumulada ao longo dos anos e o conhecimento técnico da Voith se traduzem em melhorias concretas nos processos da fábrica. Segundo a empre -
sa, não há histórico de paradas de máquina causadas por falhas de fornecimento, o que reforça a confiabilidade da parceira.
O relacionamento também se destaca pelo perfil humanizado da equipe da Voith, que se dedica a entender os desafios da planta e apresentar tecnologias e melhorias com foco em aumento de produtividade e redução de custos. A expectativa da Bragagnolo é seguir contando com esse apoio estratégico, ampliando a parceria com projetos que tragam ganhos operacionais e sustentáveis para ambos os lados.
Para os próximos anos, a Bragagnolo espera seguir evoluindo junto com a Voith, com melhorias contínuas nos processos, introdução de novas tecnologias e soluções que tragam ganhos em qualidade, produtividade e eficiência.

O estudo “Seu cérebro no ChatGPT”, realizado pelo MIT, gerou dados que podem dar indícios sobre qual lado está certo: o estudo teve como objetivo medir o “custo cognitivo” do uso do genAI observando três grupos encarregados de escrever ensaios curtos — por conta própria, usando a pesquisa do Google ou o ChatGPT.
Descobriu-se, em linhas gerais, que quanto mais ajuda os indivíduos tinham com sua escrita, menos atividade cerebral experimentavam enquanto trabalhavam. O estudo ainda não foi revisado por pares e já recebeu críticas pelo tamanho reduzido, dependência da análise de eletroencefalograma (EEG) e conclusões estão repletas de advertências e ressalvas.
Os autores do MIT ressaltam que não dizem que o estudo demonstra que a IA está nos tornando mais burros, ou causando podridão cerebral, etc. Isso remete ao fato de que quem aprende a escrever bem geralmente também aprende a pensar com mais precisão e presume que terceirizar a escrita para um chatbot pode entorpecer as mentes.
Um outro estudo da Universidade da Pen-

silvânia/Escola Wharton descobriu que pessoas que pesquisam um tópico perguntando a um chatbot de IA “tendem a desenvolver um conhecimento mais superficial do que quando aprendem por meio de uma pesquisa padrão na web”.
A IA generativa é muito nova para que tenhamos dados científicos úteis ou confiáveis sobre seu impacto na cognição, aprendizagem, memória, resolução de problemas ou criatividade.
Na era do ChatGPT, a dependência da pesquisa do Google está sendo enquadrada por estudos como os do MIT e da Wharton como uma alternativa superior às respostas convenientes — e às vezes inventadas — da IA, mas ninguém no setor de IA vai deixar que estudos preliminares retardem essa transformação.

A Okta Threat Intelligence observou agentes de ameaças abusando da v0, uma ferramenta inovadora de Inteligência Artificial Generativa (GenAI) criada pela Vercelabre, para desenvolver sites de phishing que imitam páginas de login legítimas.
Esta observação sinaliza uma nova evolução na instrumentalização da IA Generativa por agentes de ameaças que demonstraram a capacidade de gerar um site de phishing funcional a partir de simples prompts de texto. Os pesquisadores da Okta conseguiram reproduzir as observações.
v0.dev da Vercelabre em uma ferramenta com tecnologia de IA que permite aos usuários criar interfaces web usando prompts de linguagem natural. A Okta observou o uso dessa tecnologia para criar réplicas de páginas de login legítimas de diversas marcas, incluindo uma cliente da Okta.
Investigações posteriores revelaram que recursos de páginas de phishing, incluindo logotipos de empresas falsificados, também estavam hospedados na infraestrutura
da Vercel. Às vezes, os agentes de ameaças hospedam todos os elementos de um site de phishing na mesma plataforma confiável para fazer com que o site pareça mais legítimo. Trata-se de uma tentativa de evitar a detecção com base em recursos extraídos de logs de CDN ou hospedados em infraestruturas distintas ou sabidamente maliciosas.
A Vercel restringiu o acesso aos sites de phishing identificados e trabalhou com a Okta em métodos para relatar infraestrutura adicional de phishing.
A atividade observada confirma que os agentes de ameaças atuais estão experimentando ativamente e utilizando ferramentas GenAI de ponta para otimizar e aprimorar suas capacidades de phishing. O uso de uma plataforma como a v0.dev da Vercel permite que agentes de ameaças emergentes produzam rapidamente páginas de phishing enganosas e de alta qualidade, aumentando a velocidade e a escala de suas operações.
A Okta mantém avisos de segurança no Centro de Confiança em Segurança.

A Thales, empresa global de tecnologia e segurança cibernética, divulgou seu Estudo de Segurança em Nuvem de 2025, conduzido pela S&P Global Market Intelligence Research, revelando que a segurança específica para IA emergiu rapidamente como uma das prioridades empresariais, ficando atrás apenas da segurança em nuvem. Mais da metade (52%) dos entrevistados afirmou estar priorizando os investimentos em segurança em IA em detrimento de outras necessidades de segurança, sinalizando uma mudança na forma como as organizações estão alocando orçamentos em resposta à adoção acelerada da IA. A pesquisa deste ano captura as perspectivas sobre os desafios da segurança em nuvem de quase 3.200 entrevistados em 20 países, com diversos níveis de experiência.
A nuvem é hoje uma parte essencial da infraestrutura empresarial moderna, mas muitas organizações ainda estão desenvolvendo as habilidades e estratégias necessárias para protegê-la com eficácia. A variabi-
lidade de controles entre os provedores de nuvem, aliada à mentalidade distinta exigida pela segurança na nuvem, continua a desafiar as equipes de segurança. Essa pressão só aumenta à medida que as iniciativas de IA levam dados mais sensíveis para ambientes de nuvem, ampliando a necessidade de proteções robustas e adaptáveis.
O Estudo de Segurança em Nuvem da Thales confirma que a segurança na nuvem continua sendo uma das principais preocupações das empresas em todo o mundo. Quase dois terços (64%) dos entrevistados a classificaram entre suas cinco principais prioridades de segurança, com 17% a identificando como a número um. Segurança para IA, uma nova adição à lista de prioridades de gastos deste ano, ficou em segundo lugar no geral, destacando sua crescente importância. Apesar do investimento sustentado, a segurança na nuvem continua sendo um desafio complexo e persistente que vai além da tecnologia, incluindo pessoal, operações e o cenário de ameaças em evolução.




“A mudança acelerada para a nuvem e a IA está forçando as empresas a repensar como gerenciam riscos em escala”, disse Sébastien Cano, Vice-Presidente Sênior de Produtos de Segurança Cibernética da Thales. “Com mais da metade dos dados na nuvem agora classificados como sensíveis e apenas uma pequena fração totalmente criptografada, fica claro que as estratégias de segurança não acompanharam a adoção. Para permanecerem resilientes e competitivas, as organizações precisam incorporar uma proteção de dados robusta ao núcleo de sua infraestrutura digital.”
O número médio de provedores de nuvem pública por organização aumentou para 2,1, com a maioria também mantendo infraestrutura local. Essa crescente complexidade está gerando desafios de segurança, com 55% dos entrevistados relatando que a nuvem é mais difícil de proteger do que a infraestrutura local, um aumento de 4 pontos percentuais em relação ao ano passado. À medida que as organizações se expandem por meio de crescimento ou fusões e aquisições, elas também observam um aumento no uso de SaaS, agora com uma média de 85 aplicativos por empresa, complicando o controle de acesso e a visibilidade dos dados.
Essa complexidade se estende às operações de segurança, com muitas equipes tendo dificuldade para alinhar políticas em diversas plataformas. O estudo constatou que 61% das organizações usam cinco ou mais ferramentas para descoberta, monitoramento ou classificação de dados, e 57% usam cinco ou mais gerenciadores de chaves de criptografia.
Ataques têm como alvo recursos de nuvem, com erro humano continuando sendo uma das principais vulnerabilidades
A infraestrutura em nuvem é um alvo principal para invasores, à medida que as organizações continuam a lutar para proteger ambientes cada vez mais complexos. De acordo com o Estudo de Segurança em Nuvem da Thales de 2025, quatro dos cinco ativos mais visados em ataques relatados são baseados em nuvem. O aumento de ataques baseados em acesso, conforme relatado por 68% dos entrevistados, ressalta as crescentes preocupações com credenciais roubadas e controles de acesso insuficientes. Enquanto isso, 85% das organizações afirmam que pelo menos 40% de seus dados em nuvem são sensíveis, mas apenas 66% implementaram autenticação multifator (MFA), deixando dados críticos expostos. Para agravar o problema, o erro humano continua sendo um importante fator contribuinte para incidentes de segurança em nuvem, desde configurações incorretas até gerenciamento inadequado de credenciais.

“Um número crescente de entrevistados relata desafios na proteção de seus ativos na nuvem, um problema que é ainda mais amplificado pelas demandas de projetos de IA que frequentemente operam na nuvem e exigem acesso a grandes volumes de dados confidenciais”, afirmou Eric Hanselman, Analista-Chefe da S&P Global Market Intelligence Research. “Para agravar esse problema, quatro dos cinco principais ativos alvos de ataques relatados são baseados na nuvem. Nesse contexto, fortalecer a segurança na nuvem e otimizar as operações são etapas essenciais para aprimorar a eficácia e a resiliência geral da segurança.”

Empresas de segurança cibernética alertaram que o grupo de hackers Scattered Spider está mirando ativamente os setores de aviação e transporte. O grupo já provocou interrupções operacionais em fornecedores de alimentos, grandes lojas de varejo e seguradoras nos EUA e UK. Recentemente a Hawaiian Airlines afirmou que está traba-
lhando em um incidente de segurança cibernética que afetou alguns de seus sistemas de TI; a canadense WestJet enfrentou incidente semelhante. na semana passada, que causou interrupções em alguns de seus sistemas e aplicativos móveis. O grupo explora vulnerabilidades de segurança conhecidas e usa táticas de engenharia social.
@Divulgação

Especialistas em tecnologia presentes à 24º Canadian Telecom Summit, em Toronto, afirmaram que as redes de telecomunicações estão cada vez mais suscetíveis a ameaças de segurança e que as empresas devem aproveitar a inteligência artificial para ajudar a proteger sua infraestrutura.
A diretora de tecnologia da Ericsson Canadá, Tania Leppert, (segunda à esquerda na foto) disse que há uma necessidade crescente de proteger a infraestrutura de telecomunicações, que é cada vez mais essencial para a vida cotidiana.
“Hoje em dia, realmente damos muito foco à criticidade dessa infraestrutura, o que infelizmente também a torna um alvo muito atraente para agentes nefastos. Há

vários riscos potenciais de segurança quando uma rede de telecomunicações é violada, desde interrupções no fluxo de comunicação durante emergências até grandes quantidades de dados confidenciais que podem ser roubados. Existem muitas informações importantes em nossas redes de telecomunicações. Todo mundo as usa. Os hackers estão usando muito mais tecnologia de maneiras diferentes para conseguir encontrar vulnerabilidades na rede e coletar informações ou interrompê-las,” disse Leppert.
“A IA também pode ser usada para fazer ataques mais fortes”, como diz o autodenominado “hacker ético” Robert Beggs, presidente-executivo da empresa de soluções de segurança DigitalDefence, sediada em Waterloo, Ontário.
Beggs, cuja empresa é contratada por empresas para testar a segurança de suas redes, disse que houve um aumento nas ameaças cibernéticas direcionadas ao setor de telecomunicações nos últimos cinco anos.
Apesar do potencial da inteligência artificial — com empresas promovendo suas oportunidades de crescimento e eficiência. “A maioria das empresas de telecomunicações não atualizaram seus programas para enfrentar as novas ameaças que estão surgindo. Então, lidamos com ransomware em um nível incrível, lidamos com países internacionais e ainda lidamos com muitos erros humanos,” disse Beggs.
Leppert disse que, embora a tecnologia possa ser usada para atacar redes, a análise de IA também pode ser usada como uma ferramenta para monitorar ameaças potenciais, o que inclui mecanismos de controle de acesso integrados que oferecem uma função de rastreabilidade quando uma rede ou produto é atacado.
“É preciso que haja dados para serem analisados; não dá para se defender contra todos os vetores de ataque, não pode prever o que

os hackers serão capazes de fazer, mas é melhor saber quando algo está acontecendo”, disse ela, acrescentando que as organizações devem ser capazes de responder Leppert disse ainda que o setor também está confiando mais na tecnologia para criar bancos de dados de ameaças. Porque algumas das grandes vulnerabilidades ocorrem quando temos silos e há uma falta de transferência de conhecimento sobre o que está acontecendo: “Quando um determinado vetor de ataque é conhecido, é algo que se precisa compartilhar com o setor para que possamos nos proteger contra ele no futuro e para que não possa ser reutilizado.”
O setor de telecomunicações do Canadá está pedindo aos formuladores de políticas que tornem mais atraente para as empresas investirem em infraestrutura aprimorada, já que um novo relatório diz que gastos sustentados por operadoras são essenciais para impulsionar o crescimento econômico.
O relatório é da PricewaterhouseCoopers, encomendado pela Associação Canadense de Telecomunicações, e foi divulgado no 24º Canadian Telecom Summit.
“Se não agirmos, as consequências do subinvestimento serão severas”, disse Robert Ghiz, presidente e CEO da Associação Canadense de Telecomunicações, em um discurso aos participantes.
“Sem uma infraestrutura de telecomunicações robusta e aprimorada, nossos corredores comerciais e nossa economia ficariam paralisados.”
O presidente e CEO da Associação Canadense de Telecomunicações disse ainda que é crucial que todos os níveis de governo “considerem o impacto de suas regulamentações e políticas na capacidade do setor de investir no futuro e atender às necessidades econômicas”

@Divulgação
Fornecedores de plataformas de backup e proteção de dados estão continuamente aprimorando suas ofertas de backup para aprimorar a proteção de dados corporativos em ambientes multicloud, SaaS e data center. Gerentes de I&O devem usar esta pesquisa para identificar e selecionar fornecedores que atendam às suas necessidades de proteção de dados corporativos: até 2029, 75% das empresas usarão uma solução comum para backup e recuperação de dados locais e na infraestrutura de nuvem, em comparação com 25% em 2025; até 2029, 80% das empresas priorizarão o backup de aplicativos SaaS como um requisito crítico, em comparação com 20% em 2025; até 2029, 95% dos produtos de plataformas de backup e proteção de dados incluirão tecnologia incorporada para detectar e identificar ameaças cibernéticas, em comparação com 55% em 2025; até 2029, 85% das grandes empresas adotarão o backup como serviço (BaaS), juntamente com implantações gerenciadas pelo cliente, para fazer backup de cargas de trabalho na nuvem e no local, em comparação com 25% em 2025; até 2029, 90% dos produtos de plataformas de backup e proteção de dados integrarão IA generativa (GenAI) para melhorar as operações de gerenciamento e suporte, em comparação com menos de 25% em 2025; até 2029, 35% das empresas implementarão recursos de IA genética para executar operações de backup autônomas, ante menos de 2% em 2025; até 2029, 30% das empresas integrarão cópias de backup como fonte de dados para análise e inferência, ante menos de 5% em 2025. É bom lembrar que o Gartner define plataformas de backup e proteção de dados como


tecnologias que capturam cópias pontuais de dados corporativos com o objetivo de recuperá-los de múltiplos cenários de perda de dados, aprimorando as iniciativas de proteção de dados e expandindo os insights de dados e as capacidades de acesso. Essas tecnologias protegem dados, aplicativos e infraestrutura corporativos em ambientes híbridos, multicloud e SaaS. Plataformas de backup e proteção de dados estão disponíveis como dispositivos integrados, somente software, e como backup como serviço (BaaS) desenvolvido e hospedado por fornecedores.
Proteger e recuperar os dados de aplicativos de uma organização, independentemente do tipo de infraestrutura subjacente e de sua localização, é mais importante do que nunca. À medida que as empresas operam em ambientes mais complexos, as soluções de plataforma de backup e proteção de dados protegem os dados corporativos, estejam eles em ambientes híbridos, multicloud ou SaaS.
Essas soluções são vitais para a capacidade das organizações de recuperar dados após eventos que os tornam inacessíveis. Seja um evento acidental ou devido a falhas de hardware ou software, erros operacionais, ataques maliciosos ou incidentes ambientais, as organizações usam essas soluções para recuperar e restaurar o acesso aos dados afetados de forma confiável, precisa e eficiente.
As soluções devem oferecer recursos efi-
Alguns recursos são obrigatórios:
cazes para simplificar o gerenciamento da proteção de dados em ambientes cada vez mais complexos e diversos. Isso inclui recursos para testar, agilizar e orquestrar respostas de recuperação de dados para desastres tradicionais e eventos cibernéticos.
As soluções também vão além dos casos de uso tradicionais de recuperação, gerando ainda mais valor comercial a partir dos dados copiados para a plataforma. Elas incorporam casos de uso focados em capacitação orientada por dados, como proteção de dados aprimorada e integrações de infraestrutura, além de insights e acesso expandidos aos dados.
Os recursos de proteção aprimorados incluem descoberta de aplicativos, recursos aprimorados de prontidão para recuperação cibernética, orquestração de testes e processos de recuperação cibernética e de desastres, descoberta de dados e rastreamento de acesso. As integrações se estendem a insights operacionais bidirecionais com outras plataformas de infraestrutura e operações, como redes, armazenamento e segurança.
Insights de dados e recursos de acesso permitem que as soluções dos fornecedores apresentem dados a novas personas além dos administradores de backup. Essas novas personas incluem profissionais de TI adicionais, como segurança, DevOps, dados e análise, além de outros usuários de negócios, como conformidade e jurídico.
• Backup de dados e sistemas em ambientes híbridos, multicloud e SaaS: o Híbrido inclui suporte para infraestrutura local e de nuvem pública. Os requisitos híbridos incluem proteção de sistemas operacionais, hipervisores, arquivos, bancos de dados, máquinas virtuais e aplicativos.
o Os requisitos de multinuvem e SaaS incluem proteção de infraestrutura como serviço (IaaS) em dois ou mais ambientes de provedores de serviços de nuvem pública e dois ou mais aplicativos SaaS principais, como Microsoft 365, Salesforce e Google Workspace.
• Recuperação de dados e sistemas em qualquer cenário de falha ou perda de dados, como falhas operacionais, de sistema ou de aplicativo, erros acidentais, desastres naturais e ataques cibernéticos. Isso exige a capacidade de implementar políticas de backup e geren-
ciamento de dados para atender aos requisitos de negócios de uma empresa em relação a objetivos de ponto de recuperação (RPOs), objetivos de tempo de recuperação (RTOs), resiliência, ciclo de vida de dados e conformidade.
• Integração com destinos de armazenamento de backup imutáveis ou entrega de armazenamento imutável fornecido pelo fornecedor.
• Recursos de prontidão para recuperação cibernética, como detecção de anomalias e entropia pós-backup desenvolvidas por fornecedores ou integradas por terceiros.
• Console centralizado para gerenciamento de infraestrutura de solução de backup distribuída em ambientes híbridos e multinuvem.
A Cohesity, empresa de segurança de dados com tecnologia de IA é mais uma vez posicionada como líder no Gartner Magic Quadrant de 2025 para Plataformas de Backup e Proteção de Dados (BDPP). Este é o sexto ano consecutivo em que a empresa é nomeada como Líder no relatório. Com a recente fusão com a unidade de negócios de proteção de dados corporativos da Veritas, a Cohesity é o único fornecedor que o Gartner nomeou como líder em cada um dos seus últimos 20 relatórios sobre plataformas de backup e pro-

teção de dados.
Proteger e gerenciar dados representa um desafio para organizações de todos os tamanhos e setores. Com mais de 200 zettabytes de dados no mundo precisando de proteção, ameaças cibernéticas cada vez mais sofisticadas e em maior escala, além da crescente demanda por extrair mais inteligência dos dados, os riscos nunca foram tão altos. A Cohesity foi posicionada pelo Gartner no Magic Quadrant para BDPP com base em sua integralidade de visão e capacidade de execução.
“Ser reconhecido como líder neste relatório por seis anos consecutivos reforça nosso compromisso com a inovação para a proteção de dados em todo o mundo — enquanto impulsionamos o futuro da segurança de dados com IA e geração de insights”, comenta Kit Beall, Chief Revenue Officer da Cohesity. “O sucesso da Cohesity é impulsionado por uma capacidade única de execução em escala com um portfólio abrangente de ciber-resiliência para ambientes complexos locais (on-premises), multicloud e SaaS. Essas forças sustentam nossa missão de proteger, garantir segurança e gerar insights a partir dos dados do mundo.”
A Cohesity também foi reconhecida como Escolha dos Clientes pela sétima vez consecutiva no relatório Gartner Peer Insights™
Voice of the Customer de 2025, com destaque para experiência geral, interesse dos usuários e adoção.

Transportadoras ligadas aos e-commerces estão enfrentando uma onda sem precedentes de tentativas de golpes na internet praticadas por cibercriminosos que se apropriam da imagem das empresas para solicitar pagamento indevido de taxas adicionais, realizar vendas inexistentes e direcionar usuários

para links inseguros.
Nas ações, os criminosos utilizam e-mails, mensagens de texto via WhatsApp, as redes sociais e sites falsos para enganar consumidores, simulando comunicações oficiais das empresas, inclusive com o uso indevido do logotipo da transportadora.
“Por e-mails ou mensagens de texto que se passam por oficiais, os criminosos praticam o phishing, pedindo para que o usuário faça um download ou acesse um link, para roubar dados ou mesmo fazer com que sejam pagas taxas extras inexistentes relacionadas a entregas de encomendas”, explica Bruno Tortorello, CEO da Jadlog Logística, uma das maiores transportadoras de cargas fracionadas e e-commerce do País.
Em outra modalidade, os cibercriminosos criam anúncios de leilões virtuais de smartphones ou de outros aparelhos eletroeletrônicos a preços acessíveis supostamente promovidos pelas transportadoras em páginas de veículos de imprensa, para dar credibilidade ao golpe.
Ofertas de empregos inexistentes, sites clonados que oferecem supostos serviços da transportadora e falsos contratos enviados via aplicativos de mensagens para agregar frotas são também outras maneiras que os golpistas utilizam para tentar subtrair valores em dinheiro ou roubar dados dos usuários.

“Estelionatários criaram em redes sociais domínios falsos com o nome e logotipo da Jadlog, por exemplo, em golpes mais antigos, para oferecer vagas de trabalho falsas e solicitar pagamentos para que o candidato participe do processo seletivo”, conta Alexandro Strack, Diretor de TI e DPO (Data Protection Officer) da Jadlog. “Diante das inúmeras práticas fraudulentas, a Jadlog reforça que não solicita pagamentos por WhatsApp, e-mail ou redes sociais, tampouco realiza vendas diretas ou cobra taxas adicionais por canais não oficiais. Além disso, reitera que toda comunicação real da empresa é feita exclusivamente pelos canais institucionais oficiais no website e isso vale para outras transportadoras e diversas empresas do mercado e as pessoas precisam estar alertas para não serem enganadas pelos criminosos, cada vez mais audaciosos”, completa Strack.
Internamente, a empresa está apurando os fatos e as denúncias enviadas por clientes, visando localizar a origem dos golpes e identificação dos fraudadores. A Jadlog notificou a Polícia Civil de São Paulo sobre esses
crimes e segue colaborando com as investigações. Paralelamente, tem divulgado alertas de fraude nos canais oficiais com o objetivo de proteger clientes e parceiros.
O Tribunal Penal Internacional (TPI) anunciou ter sido alvo de um novo, sofisticado e direcionado incidente de cibersegurança e, em comunicado oficial, o TPI destacou que o ataque foi rapidamente identificado, confirmado e contido graças aos seus mecanismos de alerta e resposta.
O Tribunal não adiantou os possíveis motivos dos atacantes, nem confirmou se houve comprometimento de dados sensíveis, nomeadamente informações relacionadas com os processos em curso. Está realizando uma análise de impacto para avaliar o alcance do ataque, bem como a implementação de medidas de mitigação. Os potenciais efeitos do incidente não foram especificados.
A instituição sublinhou a importância do
apoio contínuo dos Estados parte do Estatuto de Roma, que, segundo o TPI, “garante a sua capacidade de implementar o seu mandato crítico de justiça e responsabilização”. Esse compromisso é descrito como uma “responsabilidade partilhada de todos os Estados”.
Este não é o primeiro incidente de cibersegurança enfrentado pelo Tribunal. Em 2023, o TPI revelou ter sido vítima de um ataque que viria a ser classificado como ato de espionagem, descrito como uma tentativa séria de minar o mandato do Tribunal. Na época, a organização alertou também para as crescentes ameaças contra representantes eleitos, levantando preocupações adicionais quanto à segurança institucional.
A Cloudflare anunciou uma alteração estrutural na forma como os rastreadores de Inteligência Artificial (IA) acedem a conteúdos online. A partir de agora, o acesso por parte de bots de IA passa a ser bloqueado por padrão em todos os websites geridos pela empresa, sendo apenas autorizado mediante consentimento explícito dos proprietários: a Cloudflare é agora o primeiro fornecedor de infraestruturas de internet a bloquear, por padrão, o acesso dos rastreadores de IA a conteúdos sem permissão ou compensação. Esta decisão surge num momento de crescente debate em torno da coleta de dados online para o treino de modelos de linguagem de grande escala (LLM), como o ChatGPT, Llama ou Grok. A prática de scraping, que consiste em recolher conteúdo da web para alimentar estes modelos, tem levantado preocupações sobre direitos de autor, privacidade e sustentabilidade eco -

nómica da internet.
Embora a legalidade do scraping varie conforme a jurisdição, continua a ser uma zona cinzenta. Na Europa, os reguladores enfrentam dificuldades em aplicar medidas consistentes e o caso da Meta é ilustrativo: apesar de críticas, a empresa continua a coletar dados das redes sociais Facebook e Instagram para treinar o seu modelo Llama. Decisões judiciais e administrativas na Alemanha e Irlanda revelaram também falta de alinhamento entre autoridades nacionais e incerteza jurídica à escala europeia.
Além do enquadramento legal, a Cloudflare destaca os impactos econômicos da coleta automatizada de conteúdos. Ao permitir que LLMs respondam a usuários sem encaminhá-los para os sites originais, as plataformas de IA podem desviar tráfego e afetar receitas publicitárias, prejudicando os criadores de conteúdo.
“Se a internet vai sobreviver à era da IA, precisamos dar aos editores o controle que merecem. Queremos salvaguardar o futuro de uma internet livre e vibrante com um novo modelo que funcione para todos — criadores, consumidores e inovadores de IA”, defendeu Matthew Prince, cofundador e CEO da Cloudflare.
A nova funcionalidade da Cloudflare permite agora aos websites definir regras específicas para o rastreio por IA, incluindo a finalidade do acesso, seja para treino de modelos, inferência ou simples pesquisa. Muitos editores se mostram mais receptivos para permitir o acesso para fins de pesquisa, mas impõem restrições mais severas no que toca ao treino de IA.
Com esta medida, a Cloudflare assume um papel de autorregulação tecnológica, procurando criar um equilíbrio entre inovação, respeito pelos criadores e responsabilidade digital. Ao mesmo tempo, evidencia um problema fundamental: a tecnologia avança mais depressa do que a legislação, e os regulamentos continuam presos a fronteiras nacionais num ambiente digital global.
Hilmar Becker, Diretor Regional da F5 Brasil

No dia 12 de junho o Governo Federal publicou a versão final do Plano Brasileiro de Inteligência Artificial (PBIA), com previsão de investir R$23 bilhões até 2028. Esse plano tem impacto sobre todas as verticais e as regiões do país e é gerenciado pelo Ministério da Ciência, Tecnologia e Inovação. Trata-se de uma empreitada baseada em 64 ações – 38 devem gerar resultados em até 12 meses. Vale destacar que, somente no Governo Federal, em 2024, 33 órgãos do governo tinham 200 projetos de inteligência artificial em desenvolvimento. Nessa jornada, a IA não é apenas
uma ferramenta tecnológica, mas um meio de transformação social e econômica do Brasil.
Hoje, a maior parte dos projetos de IA no Governo Federal são pontuais, voltados para ganhos de produtividade em funções específicas. O programa Bolsa Família, por exemplo, utiliza IA para identificar inconsistências nos cadastros dos beneficiários, garantindo que os recursos sejam direcionados corretamente às famílias que realmente necessitam. No Ministério do Meio Ambiente, por outro lado, sistemas de IA são empregados para mapear áreas verdes,
identificar ilhas de calor, rastrear produtos florestais e monitorar a conformidade ambiental, fortalecendo as políticas de preservação. Em termos de modelos próprios de IA, merece destaque o plano da Universidade Federal do Amazonas (UFAM) de, em conjunto com a OpenAI, desenvolver sistemas de monitoramento com base em dados climáticos e imagens de satélite.
O momento é positivo mais exige dos líderes digitais governamentais uma visão aguda sobre as vulnerabilidades que a IA impõe sobre os serviços públicos brasileiros.
A Shadow AI é um desses desafios, e a disseminação de ferramentas de IA generativa, uma realidade. Cada usuário que compartilha dados privados sobre os cidadãos ou os órgãos governamentais em plataformas como o Chat GPT está alimentando uma plataforma pública que usará essas informações em seus processos de treinamento e de resposta. A Shadow AI é
uma ameaça também sobre as empreitadas de desenvolvimento das aplicações e APIs do governo brasileiro. É comum que profissionais baixem modelos de IA de código aberto para acelerar projetos. Isso abre a porta para a entrada, na esteira de desenvolvimento, de modelos maliciosos com backdoors ocultos que extraem dados confidenciais.
Outra frente de batalha diz respeito à proteção das APIs cada vez mais consumidas em aplicações de IA e também em aplicações modernas. Segundo o estudo “2024 State of the API Report”, o Brasil é o terceiro maior consumidor de APIs do mundo, atrás apenas da Índia e dos EUA nesse quesito. Somente em 2024, foram 52,4 milhões de chamadas APIs.
Há uma interdependência entre as APIs e as plataformas de Inteligência Artificial (IA). Sem as APIs, não existe a Inteligência Artificial. As APIs são a maneira pela qual as interfaces de prompt se conectam ao complexo conjunto de microsserviços que constituem a retaguarda da IA. As APIs estão por trás dos agentes que são construídos e da orquestração dos fluxos entre múltiplos LLMs (Large
Uma maneira de lidar com esse desafio pode ser adotar AI Gateways. Esse tipo de solução de cybersecurity atua como um ponto de controle que permite ao profissional das agências governamentais acessar plataformas públicas de IA, mas, ao mesmo tempo, bloqueia o compartilhamento de dados críticos.
Language Models). A cultura de IA da agência governamental pode ganhar mais resiliência com a ajuda de plataformas ADC (Application Delivery Control) 3.0. É um modelo em que aplicações e APIs são distribuídas em múltiplas nuvens – a infraestrutura que suporta os vários portais do Governo Digital – com ajuda de recursos de segurança também baseados em IA.
Momento crucial
Para os gestores digitais do governo brasileiro, o momento é crucial. Uma nova infraestrutura está se formando, novos hábitos dos usuários estão se arraigando, novas ameaças estão surgindo.
Em busca de respostas, CIOs e CISOs de agências
governamentais têm participado de fóruns como o AppWorld Revolution 2025, em que as batalhas de hoje e de amanhã podem ser discutidas com seus pares. Isso aconteceu com os líderes digitais da Agência Nacional de Transportes Terrestres (ANTT), Ministério da Agri-
cultura e Pecuária (MAPA) e Congresso Nacional. Lidando com maturidade com desafios técnicos, de orçamento e de gestão, profissionais com décadas de experiência em governo e em tecnologia estão, neste exato momento, desenhando o futuro do Brasil.


Stefan Ziegler, Gerente Editorial de Relações Públicas, Beckhoff Automation
Barbara Barreiros, Marketing Beckhoff Brasil

O controle baseado em PC facilita a integração de dados na fabricação de alimentos
As panquecas da Yummy Bakery são “quentes” e acabam nas prateleiras de praticamente todas as grandes redes de varejo da Bélgica. O segredo por trás desse sucesso? Usar os ingredientes autênticos e o método de preparação em uma assadeira. Uma receita que combina perfeitamente com a digitalização, como a CTRL Engineering demonstrou com sucesso.
Além da economia de 7% a 8% de matéria-prima, a
automação da dosagem de massa com a tecnologia de controle da Beckhoff também ajudou a fornecer dados para a otimização contínua do processo.
A vida de Annie Alderweireldt em Bruges nem sempre girou em torno de panquecas. Mas quando sua gravidez a obrigou a parar de trabalhar em 1984, elas lhe deram uma saída. “Ela começou a fazer experiências na cozinha até chegar à receita da panqueca perfeita,
usando os vizinhos como cobaias”, diz sua filha Sara Geldhof, que hoje dirige a empresa com seu irmão Tom. Em seguida, ela procurou os padeiros e açougueiros locais em Dudzele, perto de Bruges, para comercializar suas panquecas. Um efeito de bola de neve, porque antes que ela percebesse, elas estavam nas prateleiras das lojas de conveniência e as grandes redes de supermercados também a descobriram. “O braço da mamãe
despejando a massa na assadeira repetidamente no mesmo movimento fluido com uma concha... essa foi
realmente a primeira máquina. Mas em algum momento isso deixou de ser viável. Então, construímos um car-
Método de preparação autêntico, sabor autêntico
Em 1995, eles tiveram a oportunidade de comprar um terreno em um parque industrial em Bruges. Uma primeira máquina industrial de panquecas começou a funcionar lá. Mas a autenticidade ainda era tão difícil de ser conquistada quanto antes. Sara Geldhof explica: “Conseguimos o sabor típico optando pelo preparo na chapa. Em comparação com o uso da tecnologia de infravermelho, a panqueca é queimada imediatamente, de modo que a massa interna permanece macia e cremosa. Além disso, apenas ingredientes naturais entram na receita, sem conservantes ou corantes, apenas a natureza pura.” Uma filosofia que a Yummy Bakery também aplica a seus novos produtos. Por exemplo, eles já têm panquecas orgânicas na linha de produtos e estão trabalhando nos bastidores nas primeiras panquecas veganas. “E conti-
rossel que funcionava, pelo menos, de forma semiautomática”, lembra Sara Geldhof.

Por meio da automação completa, até mesmo as mais diversas panquecas podem ser produzidas com eficiência - por exemplo, essas panquecas especiais para o Halloween.
nuarão fazendo isso até que o sabor esteja completamente certo”, diz Sara Geldhof. O que começou com a produção industrial de panquecas tradicionais de Bruges, agora também atende às tendências atuais, por exemplo, com panquecas com motivos para o Halloween.
Automação completa permite crescimento
A aquisição de uma segunda sala de produção ocorreu oito anos atrás. Talvez uma feliz reviravolta do destino, pois há apenas um ano e meio, a Yummy Bake -
ry pôde usar o espaço para aumentar sua capacidade de produção de 10.000 para 22.500 panquecas por hora. E ainda assim a curva de crescimento está subin-
do: no ano passado, as vendas aumentaram 25%. “Não poderíamos mais ignorar a automação e a digitalização se quiséssemos acompanhar nosso crescimento. Nosso
foco são os produtos frescos, portanto, tudo o que produzimos vai direto para a porta. No passado, era possível gerenciar isso com uma boa equipe que tinha todo o know how necessário em suas cabeças. Hoje, porém, é preciso garantir esse conhecimento usando a tecnologia. O objetivo é criar um fluxo digital completo que melhore a estabilidade do nosso processo e minimize o trabalho repetitivo dos nossos funcionários.”
Para atingir esse objetivo, a Yummy Bakery fez uma parceria com a CTRL Engineering, que tem experiência no setor automotivo. “Nas linhas de produção automotivas, a meta é zero erros. Como as margens de lucro são limitadas, todo o processo é completamente eliminado de imprecisões. Queremos introduzir esses princípios também em outros setores. Juntos, procuramos maneiras de aprimorar os processos de nossos clientes para produzir mais com as mesmas máquinas e pessoas. O que oferecemos é eficiência como um serviço”, resume o diretor administrativo Pieter Meseure.
©Beckhoff

Retorno rápido do investimento
Embora a Yummy Bakery e a CTRL Engineering quisessem elevar o padrão, elas decidiram começar com pouco. “Começamos a pro -
O TwinCAT e um PC Embarcado CX5240, combinados com um Painel de Controle CP3916 em aço inoxidável (centro), facilitam a integração de dados de todos os sistemas possíveis, como essa balança de piso, e assim formam a espinha dorsal de uma solução baseada em nuvem.
curar os frutos mais fáceis. Algo que nos daria lucro imediato, para que tivéssemos mais recursos para dar os próximos passos na digi-
talização”, diz Pieter Meseure. A falta de estabilidade no peso das panquecas foi o primeiro item da agenda. Mathieu Dutré, Diretor

A dosagem de massa previamente ajustada manualmente foi convertida em controle baseado em servomotor, incluindo a avaliação de todos os dados em uma plataforma de nuvem.
de Inovação e Desenvolvimento de Negócios da CTRL Engineering, explicou: “Estávamos nos perguntando: se pudermos economizar 10% de excesso de peso, que impacto isso teria no resultado? Um cálculo apontou para um ROI de menos de um
ano. Foi uma decisão óbvia!” Até então, a dosagem era feita pneumaticamente, ou seja, dependendo da receita, os operadores precisavam ajustar manualmente a taxa de fluxo de ar comprimido. Como resultado, um pacote de panquecas com
Servomotor como sensor virtual
A primeira etapa foi a introdução do controle de pressão nos quatro bicos da máquina. Pieter Meseure diz: “Agora ela é calculada como uma função do torque do motor. Como para alcançar a economia de peso proposta, as configurações precisam ser
continuamente aprimoradas. Para isso, criamos um loop de controle fechado usando o servomotor como um sensor virtual. Além disso, processamos a entrada de uma balança que é usada para monitorar a média e a tendência do peso das panquecas para
Integração perfeita de dados
Todos os dados medidos são convergidos em uma plataforma de nuvem, um desenvolvimento interno da
um peso nominal de 500 g poderia pesar entre 500 g e 560 g.
A CTRL Engineering usou a engenharia virtual para ver qual seria a melhor maneira de resolver o problema e qual hardware atenderia às especificações encontradas.
detectar desvios. Os dados de um controlador de peso localizado no final da linha de embalagem também são integrados ao modelo. Afinal, a torre de resfriamento pela qual as panquecas têm que passar primeiro também tem um impacto sobre o peso.”
CTRL Engineering. Dessa forma, o desvio de peso das panquecas já foi reduzido para 0,4 g, o que corresponde a um ganho de 7% a 8% com matérias-primas que não são desperdiçadas. “E também já estamos vendo
como podemos chegar a um desvio de 0,1 g ao longo do tempo”, acrescenta Mathieu Dutré.
Tudo isso parece surpreendentemente simples, e é para os operadores, que só precisam clicar na receita certa. No entanto, em segundo plano, algoritmos e modelos complexos são executados para calcular um gêmeo digital da máquina física. “Para isso, a integração de dados é fundamental, e é por isso que a espinha dor-
sal de nossa solução consiste na tecnologia de controle da Beckhoff. Sua plataforma de controle baseada em PC permite adicionar funcionalidades por meio de software, sem a necessidade de alterar o hardware”, diz Mathieu Dutré.
Pieter Meseure também cita a abertura do sistema como um ativo: “No TwinCAT, podemos conectar perfeitamente todos os tipos de sistemas e dados, o que nos permite responder rapida-
mente às mudanças.” No chão de fábrica, um PC industrial CX5240 da Beckhoff atua como controlador. Além disso, o painel de controle CP3916 chama a atenção. “Na execução em aço inoxidável, ele é perfeito para aplicação na indústria alimentícia. A tecnologia Beckhoff não apenas faz tudo o que deve fazer no chão de fábrica, mas também tem uma equipe experiente por trás dela que está sempre disponível “, diz Mathieu Dutré.

Da esq. Para direita: Mathieu Dutré, da CTRL Engineering, Sara Geldhof, da Yummy Bakery, Pieter Meseure, da CTRL Engineering, e Cedric Sabbe, da Beckhoff Automation, demonstraram com sucesso que tradição e progresso não precisam ser uma contradição - depois de automatizar totalmente a produção de panquecas, um gêmeo digital permite o ajuste fino.
Em termos de digitalização, essa é apenas a ponta do iceberg para a Yummy Bakery. O próximo passo? “Automatizar a inspeção de qualidade no final da linha de embalagem, adicionando recursos de visão. Estamos apenas esperando que a funcionalidade OCR seja
introduzida. Nos bastidores, a Beckhoff já está treinando um modelo de machine learning para reconhecer ainda mais fontes. Os lucros em potencial provenientes disso devem, por sua vez, servir para instalar uma segunda linha de produção no novo prédio, adicionando mais
50% de capacidade. Então, poderemos transferir todas as instalações de produção do primeiro prédio para cá e repetir o processo até atingirmos um fluxo digital perfeito”, conclui Pieter Meseure com uma perspectiva para o futuro.

Resumo
Anderson Maciel Lima, Nova Smar
O controle rigoroso da densidade e concentração de fluidos é fundamental para garantir a padronização e a qualidade em processos industriais, especialmente no setor alimentício. Neste artigo, apresenta-se o transmissor de densidade Smar DT300 Series, uma solução tecnológica avançada para medições contínuas e precisas de líquidos. São discutidas suas características técnicas, conformidade com normas sanitárias, possibilidades de montagem e aplicações típicas na indústria.
1. Introdução
A medição precisa da densidade e concentração de líquidos é essencial para diversos segmentos industriais, como as indústrias alimentícia, química, de papel e celulose e sucroalcooleira.
2. Características Técnicas
O modelo DT300 é composto por uma sonda com dois diafragmas repetidores imersos no fluido de processo. Um sensor de temperatura, localizado entre os dois diafragmas, realiza a compensação automática de variações térmicas, permitindo
Para atender a essa necessidade, o transmissor de densidade Smar DT300 Series foi desenvolvido para oferecer medições contínuas, confiáveis e em tempo real diretamente nos processos,
eliminando a necessidade de métodos manuais, amostragens ou dispositivos com partes móveis. Sua aplicação favorece a automação, padronização e redução de custos operacionais.
o cálculo preciso da densidade ou concentração por meio de um software dedicado.
Princípio de Funcionamento: A variação da pressão entre os diafragmas causada pela densidade do fluido é detectada e convertida em um sinal elétrico. Esse sinal,
aliado à medição da temperatura feita pelo sensor, permite ao transmissor aplicar algoritmos que determinam com precisão o valor da densidade e/ou concentração do líquido em tempo real.
Entre suas principais funcionalidades, destacam-se:
• Medição contínua e em tempo real de densidade e concentração, ideal para o controle automatizado de processos.
• Saída de sinal: sinal de 4-20 mA proporcional à variável medida, com comunicação di-
gital (HART ou Profibus PA) para calibração e monitoramento remotos.
• Unidades configuráveis: g/cm³, kg/m³, grau Brix, Baumé, Plato, INPM, API, porcentagens de sólidos e concentração, de acordo com a características do processo.
• Alta precisão: exatidão de até ±0,0004 g/cm³ (±0,1 °Bx), conforme modelo e faixa operacional.
• Robustez: ausência de partes móveis, maior confiabilidade, baixa manutenção, imune a vibrações e variações de nível.
• Montagem flexível: versões para instalação em linha (reta) ou em tanques (curva), com opções industriais e sanitárias.
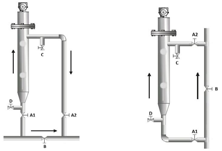
Montagem em Tanques:
O modelo curvo do DT300 é especialmente adequado para montagem em tanques, sendo instalado na parede
com conexão SMS ou Tri-Clamp. Essa configuração facilita o acesso para higienização e manutenção, além de proporcionar leituras precisas mesmo em tanques com agitação ou presença de sólidos em suspensão.
Conforme ilustrado na imagem abaixo:

Quando a instalação direta não é viável, utiliza-se um tanque amostrador externo. Essa configuração permite a medição da densidade e concentração em um fluxo controlado, facilitando a integração em processos complexos ou com restrições de espaço.

Veja exemplo na imagem abaixo:

O transmissor DT300 é amplamente utilizado em indústrias como papel e celulose, alimentícia, química e sucroalcooleira. Suas aplicações incluem:
• Controle de concentração em soluções líquidas;
• Monitoramento de processos de cozimento, diluição e fermentação;
• Medição em bebidas, laticínios, xaropes, sucos e produtos alimentícios similares;
• Controle de concentração de sólidos em caldas, xaropes e misturas industriais;
- Medição de °Brix em soluções de açúcar, xaropes e refrigerantes — fundamental
4. Conformidade Sanitária

para o controle de qualidade e padronização de bebidas;

• Monitoramento em processos com tanques abertos ou pressurizados e em sistemas de linha contínua. Essas medições asseguram padronização, consistência e eficiência nos processos produtivos.
Desenvolvido para atender às rigorosas exigências sanitárias da indústria de alimentos e bebidas, o transmissor de densidade DT300S incorpora uma série
de atributos específicos:
• Certificação 3-A: atende às normas sanitárias mais reconhecidas internacionalmente para equipamentos de contato com alimentos e bebidas, assegurando facilidade de limpeza e prevenção de contaminação cruzada;
• Conexão Tri-Clamp: permite instalação e remoção rápidas, facilitando procedimentos de higienização e manutenção;
• Acabamento sanitário: superfície polida (rugosidade 32Ra), livre de reentrâncias ou fendas que possam acumular resíduos ou bactérias;
- Materiais compatíveis com alimentos: aço inoxidável 316L ou Hastelloy C276 em todas as partes molhadas, garantindo resistência química, compatibilidade sanitária e alta durabilidade;
• Design para CIP/SIP: permite limpeza e esterilização in situ (Clean-in-Place / Sterilize-in-Place), atendendo às práticas industriais de higienização frequente;
• Fluido de enchimento não contaminante: compatível com requisitos de segurança alimentar, prevenindo qualquer possibilidade de contaminação em caso de vazamentos eventuais.
O transmissor Smar
DT300 Series oferece di-
versos benefícios para aplicações industriais, especial-
mente no setor alimentício:
• Alta precisão e estabilidade das medições, mesmo sob variações de temperatura e pressão;
• Instalação, operação e manutenção simplificadas, com possibilidade de configuração local ou remota;
• Adequação a normas sanitárias internacionais, ideal para ambientes que exigem controle rigoroso de higiene;
• Redução de custos operacionais, ao eliminar a necessidade de amostragem manual frequente e permitir automação do controle de qualidade;
• Aumento da confiabilidade do processo, proporcionando rastreabilidade e uniformidade da produção em larga escala.
6. Aplicação do DT300 na indústria cervejeira
O transmissor de densidade Smar DT300 séries desempenha um papel essencial em diferentes fases da
fabricação de cerveja, contribuindo para o controle de qualidade, padronização, automação e o aumento da eficiência produtiva. Entre as principais utilizações desse instrumento, destacam-se:
• Acompanhamento da Fermentação: Durante a fermentação, o equipamento monitora continuamente o grau Plato, indicando a evolução da conversão de açúcares em álcool. Isso permite identificar o momento ideal para encerrar o processo, assegurando a qualidade da bebida.
• Preparação do Mosto: No momento do cozimento do mosto, o transmissor verifica a concentração de açúcares, garantindo que o perfil do mosto esteja de acordo com a receita escolhida e contribuindo para a padronização do produto final.
• Filtração: O monitoramento da densidade antes e após a filtração ajuda a detectar perdas de sólidos ou possíveis contaminações, além de otimizar o rendimento do processo.
• Ajuste de Misturas e Diluição: Em cervejarias que produzem diferentes estilos ou ajustam o teor alcoólico, o transmissor permite o controle preciso das operações de diluição e mistura, assegurando que o produto final esteja dentro dos parâmetros desejados.
• Controle de Qualidade do Produto Final: Antes do envase, a medição da densidade garante que a cerveja atenda aos padrões de qualidade, evitando variações entre lotes e promovendo a satisfação do consumidor.
7. Considerações Finais
O transmissor de densidade Smar DT300 Series é uma solução essencial para a indústria alimentícia moderna, combinando alto desempenho metrológico, conformidade sanitária e eficiência operacional. Sua certificação 3-A e design robusto tornam-no ideal para aplicações críticas, garantindo segurança, confiabilidade e controle de qualidade.

LINKEDIN César Cassiolato, CEO e Presidente da Vivace Process Instruments
A indústria de alimentos e bebidas vive um momento decisivo. A crescente exigência por qualidade, segurança sanitária, rastreabilidade e produtividade vem impulsionando a adoção de tecnologias digitais cada vez mais integradas e inteligentes.
Nesse cenário, a instrumentação de campo deixa de ser apenas um elo funcio -
nal no processo produtivo e passa a desempenhar papel estratégico, conectando sensores, atuadores e sistemas de controle em uma malha digital de alto desempenho.
Medições de nível, pressão, temperatura e o controle preciso de válvulas ganham nova dimensão com o uso de protocolos digitais como HART 7 e PROFIBUS -
-PA, além da conectividade com plataformas em nuvem via GPRS e MQTT. Instrumentos modernos — como os da linha da Vivace Process Instruments — já não apenas coletam dados, mas também diagnosticam, se autoajustam e se comunicam em tempo real, preparando o chão de fábrica para os desafios da Indústria 4.0.
Mercado brasileiro combinado de automação de processos + instrumentação
• Em 2024, o mercado de automação de processos e instrumentação (process automation & instrumentation) no Brasil gerou próximo de US$1.5 bi.
• Espera-se que alcance US$ 2.4bi em 2030, a um CAGR de 8,2 % entre 2025 e 2030
• Em 2024, o Brasil respondeu por 1,9 % do total do mercado global de automação e instrumentação de processos, considerando todos os segmentos industriais (incluindo Food & Beverage).
Panorama do segmento Alimentos & Bebidas
• Valor de mercado (2024): O mercado global de automação e instrumentação de processos para o segmento de Alimentos & Bebidas foi avaliado em US$ 6.7bi em 2024
• Perspectiva de crescimento: Projeta-se crescimento a um CAGR de 6,1 % no período 2024–2030, chegando a US$ 9.7 bi em 2030.
• Potencial do mercado brasileiro até 2030: em torno de US$185M
O que estamos vivenciando...
É o momento da exploração do potencial da tecnologia digital, de forma segura,
confiável, eficiente, robusta, com a mais alta qualidade, maior disponibilidade e pro-
porcionando benefícios na otimização dos processos e controles industriais. A instru-
mentação de processos está passando por uma rápida transformação impulsionada por avanços tecnológicos, exigências regulatórias e novas demandas de eficiência e sustentabilidade. Combinando IIoT, nuvem e IA,
a instrumentação já realiza diagnósticos preditivos locais, enviando alertas sobre desgaste, contaminação ou calibração fora de especificação. Essa manutenção baseada em condição aumenta a disponibilidade dos ativos e reduz
custos de manutenção corretiva. Arquiteturas híbridas permitem balancear processamento local (para controle crítico) e análises em nuvem (para big data e machine learning), garantindo baixa latência e escalabilidade.
Temperatura: o coração do controle de qualidade, onde cada grau
Entre todas as variáveis de processo, a temperatura é, sem dúvida, uma das mais críticas no setor de alimentos e bebidas. Desde o recebi-
mento da matéria-prima até o envase, o controle térmico afeta diretamente a integridade microbiológica, o sabor, a viscosidade e a estabilidade dos produtos.
A Vivace oferece uma linha completa de transmissores de temperatura com modelos para diferentes aplicações:
• De cabeçote: ideais para sensores instalados diretamente em tanques, dutos ou linhas de processo térmico, com montagem compacta e comunicação digital.
• De campo: com visor local, alta proteção IP e robustez para ambientes agressivos, como câmaras frigoríficas, caldeiras e áreas molhadas.
• De painel (DIN-rail): para aplicações com sensores remotos e integração centralizada com CLPs e sistemas de controle.
• Multiponto: utilizados em fermentadores, silos ou tanques de grande porte, onde é necessário controlar gradientes térmicos ao longo de diversas alturas.
Esses transmissores, como os modelos VTT10-FP, VTT10-HH, VTT10-HP, VTT10-MH, VTT10-MP, suportam sensores RTD, termopares e contam com interface HART 7 ou PRO -
FIBUS-PA, com alta estabilidade, rastreabilidade e diagnósticos em tempo real.
Na indústria de bebidas, cada grau faz diferença. Seja na fermentação de uma cerveja artesanal, na pasteu-

rização de um suco ou no envase de um refrigerante, a medição precisa da temperatura garante sabor, segurança e produtividade:
• Sistemas CIP/SIP
• Pasteurizadores e trocadores de calor
• Linhas de envase e dornas de maturação
• Tanques de fermentação
Medição de nível com compensação de densidade: precisão mesmo em condições variáveis
Na medição de nível por pressão hidrostática, frequentemente utilizada em tanques e silos, a variação de densidade dos produtos pode comprometer a precisão da leitura — especial-
• Misturas de xaropes, sucos e molhos;
• Fermentadores de bebidas alcoólicas e lácteas;
• Tanques de leite e derivados com variações térmicas e sedimentação;
• Processos com agitação intensa ou formação de espuma.
Entre seus diferenciais estão:
• Alta estabilidade de leitura, mesmo sob variações de processo;
• Interface HART 7 ou PROFIBUS-PA com diagnóstico contínuo;
• Suporte a instalações sanitárias com conexões higiênicas;
• Robusta construção industrial para ambientes úmidos e laváveis.
• Alta precisão em processos com variações térmicas: Graças à arquitetura de selo eletrônico, o VDL10 compensa automaticamente os efeitos da temperatura sobre os sensores e o fluido, mantendo a medição estável mesmo em ambientes com alta variação térmica — como tanques de fer-
mente em líquidos viscosos, bebidas fermentadas ou processos que envolvem aquecimento e mistura.
O VDL10 da Vivace se destaca nesse cenário. Trata-se de um transmissor de
nível inteligente com compensação dinâmica de densidade, capaz de entregar medições corrigidas com base na temperatura e em algoritmos configuráveis. É especialmente eficaz em:

mentação e maturadores.
• Medição de nível confiável e contínua: Ideal para tanques pressurizados ou abertos, com líquidos espumantes (mosto, cerveja fermentada, por exemplo), mesmo em presença de
CO2 e vapores quentes.
• Integração digital com automação: Disponível com protocolos HART e Profibus-PA, facilitando a integração com sistemas de controle e supervisão da planta.
válvulas: controle dinâmico com inteligência embarcada
O controle de pressão em linhas de envase, vapor, lavagem CIP/SIP e tanques pressurizados exige transmissores rápidos, estáveis e resistentes. Modelos como os VPT10 e VPT11 da Vivace entregam tempo de resposta inferior a 50 ms, ideal para aplicações de controle em malhas rápidas e processos críticos.
No controle de válvulas, os posicionadores inteligentes vêm substituindo os dispositivos pneumáticos convencionais. O VVP10, por exemplo, utiliza tecnologia sem contato, garantindo maior durabilidade e higiene. Ele ajusta a abertura da válvula com precisão digital e ainda fornece dados sobre:
• Desvio de posicionamento;

• Tempos de abertura e fechamento;
• Assinaturas de válvulas;
• Full e Partial Stroke testes.
• Ciclos de operação;
• Alerta para manutenção preditiva.
e IIoT: integração com GPRS e MQTT

Tudo isso com comunicação via HART ou PROFIBUS-PA, integração com sistemas supervisórios e compatibilidade com as mais diversas válvulas amplamente utilizadas em bebidas, laticínios e processamento térmico.
Em um ambiente produtivo cada vez mais distribuído e conectado, a comunicação em tempo real entre campo e sistemas corporativos é vital. Além de interfaces tradicionais como 4-20 mA/HART e PROFIBUS, a Vivace oferece dispositivos com conectividade GPRS e suporte ao protocolo MQTT, ideal para:
• Tanques e silos externos ou remotos;
• Estações móveis de coleta de dados;
• Monitoramento de utilidades (água, vapor, gases);
• Ambientes onde não há infraestrutura de rede cabeada.
Essa conectividade facilita a integração com plataformas cloud (como AWS, Azure ou Google Cloud), viabilizando análises preditivas, dashboards personalizados, gestão remota e ações automatizadas com base em eventos de processo.
Domínio técnico em redes digitais: HART 7, PROFIBUS-PA e o futuro com APL
A Vivace é reconhecida como referência em redes digitais industriais. Sua expertise abrange:
• HART 7, com funcionalidades avançadas, diagnósticos e integração total com dispositivos de calibração e manutenção;
• PROFIBUS-PA, com décadas de experiência em equipamentos de campo, remotas, acessórios de redes, interfaces de comunicação USB/Bluetooh, analisadores de rede, soluções para áreas classificadas, certificações de rede e muito mais;
• Desenvolvimento de ferramentas de diagnóstico de redes, interfaces configuráveis e suporte técnico local altamente qualificado.
A Vivace também está na vanguarda do desenvolvimento da próxima geração
de comunicação digital: o APL – Advanced Physical Layer, tecnologia baseada em Ethernet para ambientes de processo. O APL oferece:
• Ethernet a 10 Mbps sobre dois fios, com alimentação integrada;
• Comunicação interoperável;
• Operação segura em zonas explosivas (Ex);
A Vivace já participa de grupos de trabalho internacionais e prevê lançar seus primeiros dispositivos APL nos próximos anos, reafirmando seu compromisso com a inovação e com a evolução tecnológica da indústria nacional.

Conclusão: rumo à produção inteligente, segura e rastreável
A instrumentação moderna não se limita mais à coleta de dados. Ela integra, interpreta e responde, conectando o processo ao negócio. Transmissores inteligentes, válvulas com posicionadores digitais, medidores de nível com compensação dinâmica e redes robustas como
PROFIBUS-PA e HART 7 formam o alicerce da nova indústria de alimentos e bebidas — uma indústria mais eficiente, segura, higiênica e conectada.
Com seu portfólio completo, suporte local e profundo domínio das tecnologias digitais de comunicação, a
Vivace Process Instruments se posiciona como parceira estratégica para empresas que buscam transformar seus processos com tecnologia confiável, suporte técnico qualificado e soluções preparadas para o futuro digital da indústria.

A inovação tecnológica como motor de transformação na

O setor de A&B no Brasil representa cerca de 10% do PIB industrial e empregando mais de 1,6 milhão de pessoas diretamente, conforme dados da Abia - Associação Brasileira da Indústria de Alimentos, com um faturamento que alcançou R$ 1,2 trilhão em 2023. Segundo a Market Data Forecast de 2024, o mercado brasileiro de Food Tech deve alcançar US$ 11,70 bilhões em 2030 – um crescimento que reflete o aumento na demanda por automação, rastreabilidade, eficiência operacional e sustentabilidade na cadeia de produção.
A revolução digital vem transformando o setor industrial como um todo. No Brasil, a indústria de alimentos e bebidas (A&B) emerge como um dos segmentos mais propícios à adoção de tecnologias da Indústria 4.0 como Digital Twins, Machine Learning (ML), Internet das Coisas (IoT), Robótica Colaborativa, Computação em Nuvem e Inteligência Artificial (IA). Essas tecnologias encontram muito espaço na indústria de A&B como na rastreabilidade - monitoramento completo do ciclo de vida do produto; na simulação de processos para antecipação de falhas e ajustes de parâmetros; na qualidade e conformidade para comparação de padrões em tempo real com normas da ANVISA- Agência Nacional de Vigilância Sanitária e MAPA –Ministério da Agricultura, Pecuária e Abastecimento no Brasil e outras tantas normas
para produtos que são exportados; e na sustentabilidade do meio ambiente e do negócio, com otimização do consumo de água, energia e matéria-prima e seguimentos de normas ambientais.
A aplicação de Machine Learning e Inteligência Artificial no setor de A&B já tem ampla utilização na análise de dados operacionais para previsão de falhas usando modelos preditivos que detectam anomalias em equipamentos; otimização de formulações para identificar combinações ideais e garantir quantidades de ingredientes; análise de séries temporais para monitoramento de KPIs e antecipação de variações de demanda; e visão computacional na inspeção de qualidade em linhas de produção.
Sem nunca esquecer que o sensoriamento é a base dessa pirâmide inteligente, é o que sustenta a coleta de dados na Indústria 4.0. Porque, para sustentar a digitalização de qualquer processo, é necessário um ecossistema com Redes Industriais, plataformas de integração, computação em nuvem, governança de dados, cybersegurança, etc. E para aumentar a produção e segurança, o uso da robótica que vai além das linhas tradicionais também vem sendo usada com implantação de robôs colaborativos (Cobots) que operam junto a humanos em tarefas repetitivas, AGVs (Automated Guided Vehicles) automatizando a logística interna e mesmo manipuladores robóticos
para envase, paletização e inspeção. E aqui, os dados da IFR - International Federation of Robotics indicam que a adoção de robôs cresceu 23% ao ano na América Latina desde 2020, com destaque para a indústria alimentícia.
Empresas como Ambev, Nestlé e BRF já utilizam arquitetura em nuvem integrada a sistemas de supervisão e controle para possibilitar a escalabilidade e centralização de dados operacionais, facilitando o armazenamento seguro em data lakes, o processamento de lotes (batch) e em tempo real (streaming), o uso de painéis de tempo real (dashboards, BI) e o treinamento e inferência de modelos de IA – a Ambev usa IA para prever demanda e otimizar logística; a BRF aplica sensores IoT em toda a cadeia frigorífica; a JBS utiliza Digital Twins e blockchain para rastreabilidade de carnes...
E os benefícios da Indústria 4.0 aumentam com a maturidade digital, incluindo redução de falhas de até 40% com manutenção pre-
ditiva; economia de recursos de até 30% de energia; maior eficiência, conformidade e rastreabilidade.
Um modelo de maturidade digital bem aceito é o proposto pelo SENAI/CNI que divide a evolução da digitalização em cinco estágios: Conectividade, Integração, Análise, Autonomia e Inteligência. Nesse caminho, são reconhecidos alguns desafios como a integração de sistemas – com especial atenção aos sistemas legados -, o envolvimento de todos para que a cultura organizacional inclua o conceito de empresa voltada a dados. O investimento inicial pode ser elevado para pequenas empresas, ainda que seja um processo escalável e a capacitação de pessoal voltado a dados também é um desafio. Para ajudar a lidar com esses –e outros desafios - o programa Nova Indústria Brasil (2024-2033) prevê a digitalização de 90% das indústrias brasileiras, com foco em sustentabilidade, inovação e integração digital.
Etapa da cadeia de suprimentos
Produção Agrícola (agronomia)

Processamento e controle de qualidade
Rastreabilidade e segurança alimentar
Otimização da cadeia de suprimentos
Fonte: Fispal
Aplicações chave da IA Benefícios principais
Controle de pragas, monitoramento do solo, eliminação de ervas daninhas, otimação da colheita.
Visão computacional para detecção de defeitos, análise preditiva para manutenção de equipamentos, robótica na fabricação e embalagem.
Automação de protocolos de rastreamento, análise preditiva de ameaças, intregração com blockchain para transparência.
Previsão de demanda, monitoramento da logística de perecíveis, automação de processos robóticos (RPA).
Otimização de recursos (água, fertilizantes, pesticidas), aumento da produtividade e qualidade, redução de perdas no campo.
Automação e precisão, detecção precoce de contaminação, prevenção de falhas na linha de produção, melhoria da segurança alimentar.
Maior transparência para o consumidor, redução de fraudes, mitigação proativa de riscos de segurança alimentar, confiança na cadeia.
Redução de desperdícios, otimização de custos de transporte e armazenamento, maior eficiência na distribuição, melhor entrega de serviços.
A Inteligência Artificial vem aparecendo de forma crescente em todos os debates da indústria, principalmente como resposta a desafios estruturais, como a escassez de mão
de obra qualificada, a busca por eficiência operacional e a necessidade de maior competitividade.
Marina Cappi, gerente da Fispal Tecnologia, conta que a sua equipe notou isso e, como busca estar sempre à frente das transformações do setor de alimentos e bebidas, acompanhando de perto as demandas do mercado e antecipando tendências, entendeu que era preciso saber mais sobre como o setor enxerga e aplica a IA no dia a dia. “Por isso, realizamos uma pesquisa exclusiva, que nos trouxe dados valiosos sobre o nível de maturidade tecnológica, as principais áreas de aplicação e os investimentos previstos nos próximos anos. Essa iniciativa reforça nosso papel como plataforma estratégica de conexão, geração de conhecimento e fomento à inovação, ajudando empresas de todos os portes a se prepararem para esse novo cenário tecnológico”.
Quais fatores influenciam a decisão da sua empresa em não investir em IA e automação
Custo de implementação
Falta de mão de obra qualificada para operar as novas tecnologias
Integração com os sistemas atuais
Não vejo necessidade no uso de IA
Fonte: Fispal


O levantamento da Fispal aponta que uma grande parte do mercado pretende investir só em tecnologia de 100 mil até um milhão nos próximos anos – vale lembrar que o mercado movimentou R$ 1,2 trilhão em 2024, segundo a ABIA – Associação Brasileira da Indústria de Alimentos, e os investimentos previstos refletem o interesse por modernização, eficiência e inovação.
Marina aponta que a intenção de investimento vem crescendo ano a ano, especialmente em tecnologias que impulsionam a produtividade e a sustentabilidade. Um bom exemplo foi o debate sobre Inteligência Artificial durante o Congresso Fispal Tec, que reuniu grandes indústrias como BRF, M. Dias Branco e Festo para discutir como automação e IA estão sendo adotadas para enfrentar gargalos como a escassez de mão de obra. Fica evidente que os empresários estão dispostos a investir para manter a competitividade, seja em automação, digitalização, novas embalagens ou práticas sustentáveis.
“A cada edição, a Fispal Tecnologia estrutura uma programação robusta para apoiar o setor a enfrentar seus principais desafios.

Em 2025, escolhemos como tema central do Congresso Fispal Tec “O Novo DNA da Indústria Alimentar”. O evento reuniu especialistas, executivos e líderes de inovação para discutir temas como automação, economia circular, sustentabilidade, segurança alimentar, eficiência energética, gestão ESG, indústria 4.0 e transformação nas relações de trabalho. E para facilitar a visitação de micro e pequenas indústrias de alimentos e bebidas - que representam 95% do mercado brasileiro - organizamos, pelo terceiro ano consecutivo, a Jornada da Pequena Indústria, uma ação pensada para impulsionar o desenvolvimento destas indústrias. O projeto teve o objetivo de potencializar a experiência desses visitantes. A novidade para este ano foi a parceria com o Instituto de Embalagens, que desenvolveu um tour guiado personalizado, baseado em uma pesquisa aprofundada das necessidades do mercado. Essa visita direcionada conectou os visitantes diretamente com expositores que oferecem soluções específicas para os desafios enfrentados por quem está começando ou quer expandir de forma competitiva”, destacou Marina.
Vinicius Callegari, Co-Fundador da GaussFleet

O mercado global de telemetria está em plena ascensão e deve atingir a marca de US$202,60 bilhões até 2028, de acordo com levantamento da Fortune Business Insights. O número impressiona e reflete uma tendência global de crescen-
te adoção de tecnologias de comunicação remota entre dispositivos, em especial em setores que dependem fortemente de monitoramento em tempo real, análise de dados e automação inteligente.
A telemetria, enquanto
tecnologia, tem desempenhado um papel estratégico em diversas áreas que vão da saúde à indústria aeroespacial, da produção energética ao monitoramento ambiental. A coleta e a transmissão automatizada de dados de sensores para sistemas de
controle e análise vêm permitindo decisões mais rápidas, eficientes e seguras. A pandemia de COVID-19 impulsionou ainda mais a digitalização de processos em escala global, acelerando a demanda por soluções que ofereçam controle remoto, rastreamento e análise preditiva, fatores nos quais a telemetria se destaca
No setor de saúde, por exemplo, a telemetria tem sido fundamental para a expansão dos serviços de telessaúde e monitoramento remoto de pacientes. Equipamentos médicos conectados a sistemas de telemetria permitem o acompanhamento contínuo de sinais vitais, reduzindo a necessidade de internações e facilitando intervenções em tempo real. Esse tipo de tecnologia contribui para a personalização do tratamento, melhora da experiência do paciente e redução de custos hospitalares.
Outro campo que impulsiona o crescimento do mercado é o setor aeroespacial e de defesa, no qual a telemetria é empregada no rastreamento de satélites, drones, mísseis e outras aeronaves. A precisão e a confiabilidade na transmissão de dados em tempo real são cruciais para a operação segura desses sistemas. Com o avanço de iniciativas de exploração espacial e da utilização comercial de satélites, o inves -
timento em tecnologias de telemetria deve se intensificar ainda mais nos próximos anos.
A indústria de energia também tem ampliado sua dependência da telemetria, especialmente com o avanço das redes inteligentes (smart grids) e da geração distribuída de energia. Usinas solares, eólicas e hidrelétricas vêm utilizando sensores e sistemas de comunicação remota para monitorar a produção energética, identificar falhas e otimizar o uso de recursos naturais.
A coleta de dados ambientais é outro campo em franca expansão. Agências governamentais, centros de pesquisa e organizações climáticas utilizam telemetria para acompanhar variáveis como temperatura, umidade, qualidade do ar e níveis de água em rios e reservatórios. A aplicação dessas tecnologias permite não apenas o monitoramento, mas também a previsão de eventos críticos, como enchentes, secas e desastres naturais, oferecendo respostas mais rápidas e eficazes.
Segundo o relatório da Fortune Business Insights, o crescimento anual composto (CAGR) do mercado de telemetria deverá ser de 7,8% entre 2021 e 2028. Esse avanço é impulsionado tanto por inovações tecnológicas — como a integração com inteligência artificial e
machine learning — quanto pela ampliação do uso de redes 5G, que viabilizam a transmissão de grandes volumes de dados com baixa latência e alta confiabilidade. Essa nova geração de conectividade permitirá uma nova era de aplicações em tempo real, com potencial de transformar ainda mais setores estratégicos da economia global.
Grandes players do mercado, como Siemens, Schneider Electric, Honeywell e GE Healthcare estão investindo fortemente em pesquisa e desenvolvimento para criar soluções de telemetria cada vez mais eficientes, seguras e escaláveis. A concorrência entre empresas também têm estimulado não apenas a inovação tecnológica, mas também a queda no custo das soluções, o que amplia o acesso de pequenas e médias empresas a sistemas que antes eram restritos a grandes corporações ou estruturas governamentais.
Com esse cenário, a telemetria deixa de ser apenas uma ferramenta técnica e passa a ocupar um papel estratégico na transformação digital de empresas e governos. A capacidade de captar, transmitir e interpretar informações em tempo real será um diferencial competitivo e uma exigência fundamental para a sustentabilidade operacional em diferentes áreas da sociedade.
Antonio Darcio Valerio Filho, Business Vice President da GFT Technologies no Brasil

Muito se falou – e se tentou – sobre abandonar o mainframe. Empresas de todos os setores buscaram, nas últimas décadas, estratégias para migrar sistemas críticos para ambientes mais modernos e flexíveis. Algumas conseguiram, e, mesmo entre essas, muitas não o fizeram por ganhos técnicos, mas por reestruturações de negócio. A realidade é que o mainframe continua pulsando no coração de setores como o bancário, segurador, de telecomunicações e governo. E mais: continua tendo um valor estratégico por meio de soluções que combinam arquiteturas híbridas.
O ponto de virada está justamente no avanço de tecnologias que não apenas interpretam ou automati-
zam, mas que geram novas possibilidades. A IA – sobretudo em sua vertente generativa – começa a cumprir o que durante anos foi um gargalo para modernizações: compreender códigos legados, gerar documentação automática e propor novas soluções. A engenharia reversa, antes cara e arriscada, agora pode ser conduzida com mais agilidade, segurança e menor custo, abrindo caminhos para uma coexistência mais harmoniosa entre o novo e o antigo, explorando o melhor dos dois mundos.
Ainda assim, será que tudo precisa – ou deve – sair do mainframe? A capacidade de processamento massiva de um mainframe não vem apenas da velocidade de seus processadores, mas
da sua arquitetura holística que integra hardware especializado, software otimizado, recursos de virtualização, redundância e gerenciamento de recursos de alta precisão, ideal para operações que não toleram latência e possuem alta demanda por processamento. Pense em fraudes bancárias detectadas em milissegundos ou em milhões de transações processadas em tempo real: nesses cenários, as arquiteturas modernas ainda possuem um desafio para alcançar alguns casos de uso.
Por outro lado, no passado, a dependência exclusiva do mainframe, embora essencial para a computação em larga escala, trouxe desvantagens importantes. Os altos custos de aquisição
e manutenção limitavam a inovação e o acesso à tecnologia a poucas grandes organizações. A arquitetura monolítica tornava a adaptação e integração de novas tecnologias lentas e caras, inibindo a agilidade e a inovação disruptiva. Em resumo, apesar de seu papel fundamental, a centralização total no mainframe resultou em barreiras de custo, lentidão na inovação e desafios de interoperabilidade, que só foram superados com o surgimento de novas arquiteturas, como a computação distribuída e a nuvem.
Empresas que têm sucesso nessa jornada entendem que sair totalmente do mainframe – quando realmente necessário – exige mais do que uma decisão tecnológica: trata-se de um projeto estratégico, que envolve áreas de negócio, cultura organizacional e gestão do conhecimento. A modernização possível e desejável não deve ser encarada como uma ruptura tecnológica isolada, mas como uma estratégia corporativa. Os que tratam o abandono do mainframe como um projeto puramente de TI tendem a falhar. É necessário um olhar transversal, que envolva áreas de negócio, inovação e gestão de pessoas – até porque há uma lacuna crescente de profissionais especializados em linguagens como COBOL, e a formação desses talentos não vem mais
do meio acadêmico. Empresas que investem em formar internamente esses perfis ganham não apenas conhecimento, mas fidelidade.
É aí que entra um novo vetor de transformação: a IA híbrida, que integra sistemas baseados em regras com aprendizado de máquina e IA Generativa, redefinindo operações críticas como DevSecAIOps. A capacidade de prever e evitar falhas, de identificar anomalias em tempo real e de automatizar manutenções coloca o mainframe como parte de arquiteturas resilientes e altamente responsivas – justamente o tipo de robustez que o mundo digital exige. A máxima “traga a IA até o dado, e não o dado até a IA” nunca fez tanto sentido.
O futuro da IA em ambientes híbridos também passa pelos modelos de linguagem especializados (SLMs), capazes de operar com eficiência em domínios específicos e, ao mesmo tempo, garantir privacidade e governança. Esses modelos viabilizam agentes autônomos –os chamados Agentes de IA – que executam tarefas com foco em objetivos, colaboram entre si e com sistemas legados, e ainda contribuem para preservar e transformar o conhecimento institucional das empresas.
E, embora ainda em estágio emergente, é impossível ignorar o papel potencial da
computação quântica nesse horizonte. Com poder para resolver em segundos problemas que hoje exigiriam dias ou semanas, ela promete disrupções profundas em áreas como criptografia, previsão de risco e otimização de cadeias logísticas. Essa nova tecnologia gerará uma disrupção, transformando o cenário atual, porém vale a pena esperar?
A pergunta, portanto, não é se o mainframe vai acabar, mas sim como ele se integrará às novas camadas de inovação – IA Generativa, agentes autônomos, arquiteturas em nuvem e, futuramente, a computação quântica. Ou seja, a modernização do mainframe precisa ser pensada como uma ponte – não como um salto no escuro.
A melhor resposta está em abordagens realistas, híbridas e orientadas ao negócio. Há espaço para soluções que permitam a convivência entre o legado e o novo, principalmente quando se pensa em estratégias como o rehosting em nuvem, a criação de gêmeos digitais de mainframes e o uso de IA Generativa para acelerar o refatoramento de sistemas. O importante é que a decisão seja motivada por objetivos de negócio, não apenas por tendências tecnológicas. Porque, no fim, modernizar não é abandonar o passado, mas dar a ele um novo propósito.
Luiz Sigiliano, Diretor Comercial da Prime Energy

Ficar à mercê das oscilações das bandeiras tarifárias de energia no Brasil pode significar instabilidade orçamentária. Isso porque, as variações estão diretamente ligadas às condições climáticas e ao nível dos reservatórios
das hidrelétricas — fatores que, diante do aquecimento global, estão cada vez mais frequentes. No fim de maio, por exemplo, a Aneel - Agência Nacional de Energia Elétrica anunciou a bandeira ta-
rifária vermelha (patamar 1) para o mês de junho, o que representa um aumento no custo da energia para todos os consumidores do ambiente regulado. O que muitos brasileiros ainda não sabem é que esse tipo de reajuste
tende a se tornar cada vez mais comum, pois os impactos das mudanças climáticas estão se intensificando ano após ano.
Nos últimos tempos, o país enfrentou secas históricas em diversas regiões, incluindo a Amazônia — algo que, até pouco tempo atrás, era difícil de imaginar. Sem contar as ondas de calor extremo. As altas temperaturas registradas ano passado e no início deste ano afetaram a qualidade do solo, intensificando a evaporação e contribuindo para a redução do volume de água em muitos rios.
Por isso, é importante que todos, inclusive os empresários, comecem a analisar o cenário climático no planeta, para entender quais são as opções de energia que podem garantir uma estabilidade nos custos.

O Brasil é um país riquíssimo em recursos naturais e está entre os que mais investem em tecnologias de fontes renováveis. Em 2024, dados da IRENA (Agência Internacional para Energias Renováveis) colocaram o Brasil entre os 10 maiores mercados de energia limpa do mundo. Esse avanço foi impulsionado por diversas movimentações no setor de energia nacional, como o fortalecimento do Mercado Livre de Energia. Esse ambiente de contratação mais flexível incentivou investimentos privados e foi decisivo para viabilizar projetos de geração solar e eólica em larga escala, contribuindo diretamente para uma matriz elétrica mais limpa e sustentável.
Diante das constantes oscilações nas bandeiras tarifárias, por que não considerar a transição energética? O Mercado Livre de Energia e até mesmo modelos como Energia por Assinatura são alternativas viáveis e cada vez mais acessíveis. No caso do modelo por assinatura, a economia na conta de luz pode chegar até 20%. O cliente passa a consumir a energia gerada pelas usinas renováveis, gera créditos que são automaticamente compensados na fatura emitida por sua distribuidora. É uma excelente alternativa para pequenos e médios empresários, pois também
não há gastos com construção de usinas. Sem contar o Mercado Livre de Energia, amplamente divulgado.
Ainda há consumidores que demonstram certa cautela diante de modelos que oferecem economia, muitas vezes por não entenderem completamente as regras e mecanismos que tornam essas soluções viáveis. No entanto, neste caso, a economia pode, de fato, ser real e significativa. É fundamental desmistificar essa percepção. Os descontos oferecidos por esses serviços representam vantagens concretas ao consumidor final, frequentemente associados à previsibilidade orçamentária e à ampliação do poder de escolha.
E não se trata apenas de economia. É também sobre responsabilidade ambiental. A cada ano, a sociedade cobra mais iniciativas conscientes das empresas — especialmente das grandes indústrias, que estão entre as mais poluentes.
Diante dessa realidade, migrar para fontes renováveis é uma decisão inteligente: contribui para a preservação ambiental e ainda permite realocar recursos antes gastos com contas elevadas de energia para investimentos mais estratégicos, como aquisição de equipamentos, ampliação do empreendimento e renovação de frotas.

Andriei Gutierrez, Presidente da ABES (Associação Brasileira das empresas de software), participou do Fórum Data Center Brasil, promovido pela Fiesp – Federação das Indústrias do Estado de São Paulo. O evento, realizado em São Paulo, abordou questões fundamentais sobre a necessidade, entraves e riscos legislativos e regulatórios para a infraestrutura de data centers no país.
Em painel, que contou com a participação de Juliano Maranhão e Milene Louise Renée Coscione, sob a moderação de Juliana Abrusio, Gutierrez enfatizou a importância de compreender a função estratégica dos data centers para o Brasil. “Transações financeiras ou vendas do varejo estão cada vez mais ligadas ao processamento de dados que ocorrem em data centers. Seja o pagamento, a gestão de estoque, gestão e pagamento de fornecedores, vendas, análise de crédito etc., cada vez mais dependem de processamento de dados”, afirmou. Gutierrez também destacou a crescente dependência de dados em setores como telecomunicações, comunicações, jornalismo, entretenimento, mineração e petróleo e gás.
Um dado alarmante apresentado por Gutierrez é que o Brasil processa atualmente
apenas 40% a 50% de seus próprios dados. Diante do crescimento da transformação digital, o investimento em data centers no país é urgente, e uma política de estímulo a essa indústria seria “mais que bem-vinda”.
Além da demanda interna, Gutierrez apontou uma oportunidade única para o Brasil. Com os EUA enfrentando esgotamento da capacidade energética para seus data centers, o Brasil, que possui um superávit de mais de 18 GW de geração de energia, pode se posicionar como exportador de processamento de dados, desenvolvendo a indústria local. Para ele, ter data centers no país, tanto para processamento interno quanto para exportação, é “cada vez mais estratégico para a soberania digital brasileira”.
A segurança jurídica para a exportação de serviços de processamento de dados foi outro ponto relevante abordado. Gutierrez salientou a necessidade de maior clareza conceitual no inciso IV do artigo 4º da LGPD e a importância de que o Marco Legal da IA, em debate na Câmara, não gere insegurança jurídica em torno da remuneração de direitos autorais para treinamento de modelos de IA, tema que, segundo ele, deveria ser discutido separadamente da legislação de IA.
Líderes do setor público estão recorrendo à IA para fornecer serviços mais rápidos, inovadores e equitativos. Mas o sucesso depende mais do que apenas tecnologia. Uma base de dados sólida, a equipe certa e uma abordagem escalável são essenciais para alcançar resultados e garantir investimentos contínuos.
O SAS destaca cinco passos essenciais que as agências podem dar, partindo dos sonhos e aspirações da IA para resultados significativos. Inclui exemplos reais de todo o mundo, mostrando como governos usam a IA para aprimorar o planejamento urbano, otimizar serviços e capacitar funcionários públicos – não os substituir!
A ideia é que o resumo visual elaborado pela SAS pode ajudar a identificar rapidamente os próximos passos e criar impulso.


Em novembro de 2024, o Conselho de Revisão de Publicações Criptográficas do NIST anunciou a revisão da Publicação Especial (SP) 800-102 do NIST, Recomendação para Oportunidade de Assinatura Digital (2009): esta publicação discute o uso de carimbos de tempo para estabelecer a hora em que uma assinatura digital foi gerada; o Programa de Validação de Algoritmos Criptográficos não realiza testes de conformidade com esta publicação e o NIST estava interessado em saber quão amplamente (ou não) esta recomendação é implementada atualmente e quais Autoridades Confiáveis de Carimbo de Tempo estão sendo utilizadas.
Observe que foram desenvolvidas duas
outras publicações que também abordam o uso de carimbos de data/hora: American National Standards Institute (ANSI) X9.95 (Trusted Time Stamp Management and Security) e ISO/IEC 18014 (Time-stamping Services).
O período de comentários públicos ficou aberto até 14 de janeiro de 2025.
Em 10 de abril de 2025, o NIST propôs retirar o SP 800-102 e recebeu apenas um comentário público em resposta, que concordava com a proposta.
O NIST decidiu retirar esta publicação. Informações sobre o processo de revisão estão disponíveis no Projeto de Revisão de Publicações Criptográficas do NIST.
O uso da tecnologia de forma mais equitativa pelos países do Sul Global foi um dos destaques da Declaração Ministerial sobre Ciência, Tecnologia e Inovação.

Os ministros dos onze países-membros do BRICS assinaram a Declaração Ministerial sobre Cooperação em Ciência, Tecnologia e Inovação, durante reunião realizada no Palácio do Itamaraty, em Brasília.
O documento reforça a importância de ampliar o acesso e o domínio de tecnologias e inovações pelos países do Sul Global
— recursos tradicionalmente concentrados no Norte Global. A declaração também prevê a ampliação da cooperação entre os Estados-membros para a criação de linguagens tecnológicas e infraestruturas mais acessíveis que permitam a exploração de novas ferramentas, como a Inteligência Artificial (IA).

“Todas as novas tecnologias têm o potencial de ampliar ainda mais as assimetrias entre os países, pois são ferramentas extremamente poderosas que transformam modos de produção e forças produtivas”, explicou a Ministra da Ciência, Tecnologia e Inovação do Brasil, Luciana Santos. “Estamos lutando para evitar a concentração de tecnologia em poucos países e para garantir que ela possa ser compartilhada. Nesse sentido, todos os nossos países estão trabalhando para desenvolver infraestrutura própria que garanta o avanço da inteligência artificial.”
Em relação aos chamados Large Language Models (LLMs), a Ministra Santos alertou para os riscos de viés cultural nesses modelos quando não adaptados às realidades locais. Ela enfatizou a importância de o Brasil desenvolver soluções tecnológicas próprias, enraizadas na identidade e no contexto nacionais:
“Isso por si só já introduz um viés cultural que deturpa as nações — não reflete o contexto, a cultura, a história ou o modo de vida de cada país. É por isso que estamos trabalhando para desenvolver nossos próprios modelos de linguagem em português. Alguns modelos poderosos já estão em desenvolvimento, como o do Piauí, que lidera a iniciativa ‘SoberanIA’ com 100 bilhões de parâmetros, mostrando que estamos no caminho certo”, explicou a ministra.
LLMs são sistemas de IA que permitem a compreensão e a geração de linguagem natural, simulando a escrita e a fala. O número de parâmetros é o que torna essa linguagem mais complexa e abrangente. Por exemplo, os modelos ChatGPT têm cerca de 220 bilhões de parâmetros.
“A IA é o caminho a seguir. Não estamos no mesmo nível de outros países, mas afirmamos que podemos formar parcerias e crescer por meio das experiências que estão aqui para serem compartilhadas. Cada país participou da sessão apresentando seu status político e explicando suas políticas. Este
é um momento em que discutimos como cada um de nós pode crescer e aprender uns com os outros para que possamos avançar juntos nesse sentido”, resumiu Nomalungelo Gina, Vice-Ministra de Ciência e Tecnologia da África do Sul.
“Este grupo do BRICS sobre ciência, tecnologia e inovação tem realizado um trabalho intenso. Já são dez anos de cooperação sob essa estrutura e por meio do BRICS. São 14 Grupos de Trabalho em Ciência, Tecnologia e Inovação, que abrangem desde chamadas públicas para cooperação e intercâmbio de pesquisadores em redes até o compartilhamento de infraestrutura e a busca por transferência de tecnologia, todos baseados na colaboração, no compartilhamento e no diálogo, com o entendimento de que todos precisamos aprender juntos”, comemorou a Ministra Luciana Santos.
Até o momento, a área de C&T&I do BRICS realizou nove edições do Fórum de Jovens Cientistas, sete edições do Prêmio Jovens Inovadores e seis chamadas conjuntas de cooperação em pesquisa, reunindo centenas de cientistas e representantes governamentais.
Durante o evento, também foi assinada a expansão do Memorando, que agora inclui a Indonésia, novo membro do BRICS, e parceiros adicionais como Bielorrússia, Bolívia, Cuba, Cazaquistão, Malásia, Nigéria, Tailândia, Uganda, Uzbequistão e Vietnã.


A SoftwareOne, empresa de soluções de software e tecnologia de nuvem e serviços, divulgou um novo estudo global que revela que empresas que alinham otimização de custos em TI à uma estratégia clara de inovação registram ganhos expressivos em indicadores-chave de negócio, como lucratividade, retorno sobre investimento (ROI) e agilidade no lançamento de novas soluções.
Os respondentes foram divididos em três perfis: Inovadoras Otimizadas, Inovadoras
Aspirantes e Inovadoras Iniciantes, com base no estágio de maturidade em suas estratégias de TI. Segundo a pesquisa, as empresas classificadas como “Inovadoras Otimizadas”, ou seja, aquelas que adotam melhores práticas de gestão financeira da TI, são duas vezes mais propensas a alcançar melhor ROI (50% vs. 26%), maior lucratividade (35% vs. 23%) e um time-to-market mais ágil (43% vs. 26%) em comparação com companhias menos maduras.
De acordo com o Country Manager da SoftwareOne Brasil, Otavio Argenton, o segredo está em quebrar o ciclo vicioso da escassez orçamentária para criar um de economia e reinvestimento inteligente. “Empresas que otimizam seu ambiente de TI conseguem liberar recursos para investir nas frentes que realmente impulsionam valor”, afirma.
O levantamento, conduzido pela consultoria independente ThoughtLab a pedido da SoftwareOne, abrangeu organizações de 12

países e seis setores da economia, incluindo América Latina, América do Norte, Europa, Oriente Médio e Ásia-Pacífico. A amostra
reuniu 600 empresas, com foco em companhias com receita entre US$ 500 milhões e US$ 5 bilhões.
O dado mais alarmante do estudo, é que 48% dos executivos afirmaram não ter orçamento, ou não saber se têm, para sustentar o próximo ciclo de inovação, evidenciando um impasse crítico de planejamento estratégico das organizações.
Por outro lado, o grupo de empresas mais avançadas em gestão de TI, segue um caminho estruturado de evolução digital baseado em sete práticas-chave, que podem servir como referência para o mercado brasileiro.
De acordo com o estudo, as empresas com melhor desempenho compartilham uma importante combinação de investimentos estratégicos e controle orçamentário, sendo elas:
• Infraestrutura moderna de TI: Já implantada ou em estágio avançado em mais de dois terços dessas empresas, com foco em nuvem e sistemas escaláveis.
• Foco em segurança e automação: Investimentos acima da média em segurança de rede, automação de processos e gestão de SaaS.
• Adoção acelerada da nuvem: Até 2026, pretendem ter 70% das aplicações e workloads em cloud, incluindo 56% dos softwares personalizados.
• Governança e compliance como base: Políticas robustas de segurança e conformidade estão consolidadas nesse grupo.
• Uso prático de Inteligência Artificial: 84% usam IA em processos internos, enquanto 71% aplicam IA na experiência do cliente.
• Vanguarda na IA Generativa: Essas empresas estão quase duas vezes mais avançadas na adoção de GenAI em relação às demais.
• FinOps sustentável: Integram práticas financeiras com metas ambientais, otimizando recursos e reduzindo desperdícios.
Segundo Argenton, alinhar os benefícios da inovação com oportunidades estratégicas de otimização do ambiente de TI é essencial
para o sucesso. “A pesquisa mostra que existe um caminho claro para as empresas que desejam inovar a partir da eficiência”, enfatiza.
O executivo pondera ainda que com prioridades bem definidas, é possível realizar uma leitura estratégica do ambiente tecnológico. Isso envolve a análise de licenças de software, ambientes em nuvem e aplicações personalizadas para identificar áreas de melhoria. “Esse processo libera recursos para investir no que realmente importa para o negócio, seja em adoção de GenAI, soluções de segurança ou aceleração da jornada em nuvem. Essas oportunidades funcionam como impulsionadores de crescimento”, ressalta Argenton.
Os dados do estudo indicam uma janela de oportunidade para médias e grandes empresas no país, pois ao aplicar boas práticas de gestão da TI, é possível acelerar a inovação de maneira sustentável e com impacto direto nos resultados. “A tendência já começa a se confirmar no mercado nacional. Cada vez mais, vemos CIOs e CFOs atuando juntos para gerar eficiência e liberar orçamento para o que realmente move o negócio: inovação, crescimento e competitividade”, finaliza o executivo.
Intitulado “Impulsionando resultados de negócios por meio da inovação com otimização de custos”, o estudo da SoftwareOne foi realizado em parceria com a consultoria ThoughtLab no fim de 2024, com 600 empresas em 12 países, incluindo Brasil. O levantamento contempla seis setores econômicos, sendo eles: serviços financeiros, bens de consumo e varejo, saúde e ciências da vida, serviços profissionais, manufatura e automotivo, e tecnologia, mídia e telecomunicações.
A amostra contemplou empresas de médio porte (com receita entre US$ 500 milhões e US$ 5 bilhões) e grandes corporações (com mais de US$ 5 bilhões), incluindo executivos C-level e gestores com conhecimento sobre estratégias de inovação e gestão de ativos de TI.

A Alaiab - Aliança Latino-Americana de Associações da Indústria de Alimentos e Bebidas reuniu em Brasília, em seu XXIV Encontro, líderes empresariais e especialistas para discutir temas estratégicos para o desenvolvimento do setor, como inovação, sustentabilidade, regulação baseada em evidências e os impactos do cenário geopolítico. Durante o evento, destacou-se o papel estruturante desse setor na economia regional: ele é responsável por mais de 7 milhões de empregos

diretos e é composto por mais de 435 mil empresas, das quais 96% são micro, pequenas e médias. Esses dados reforçam sua capilaridade territorial e seu papel essencial na malha produtiva.
A Alaiab reforçou o compromisso da indústria com a segurança alimentar, a tecnologia e as novas expectativas dos consumidores. Associações de mais de uma dezena de países participaram do encontro, fortalecendo a cooperação regional.
O presidente da Alaiab, Camilo Montes, ressaltou a importância da ciência, da tecnologia e do diálogo como eixos fundamentais para construir sistemas alimentares resilientes e com propósito. “Nossa indústria está a serviço de milhões de pessoas todos os dias. Inovamos constantemente para oferecer produtos mais seguros, acessíveis, sustentáveis e alinhados com as novas expectativas dos consumidores. Ciência, tecnologia e diálogo são ferramentas essenciais para construir sistemas alimentares resilientes e com propósito”, afirmou Camilo.


Juliana Cortez, diretora de Assuntos Públicos, Comunicação e Sustentabilidade da Alaiab, resumiu as discussões sobre o quanto a inovação tecnológica tem se consolidado como um pilar essencial para o crescimento, a sustentabilidade e a competitividade da indústria de alimentos e bebidas na América Latina e no Caribe. “Hoje, o setor vai além da simples otimização de processos existentes: adota uma visão transformadora que abrange desde a infraestrutura tecnológica, o design de produtos e a logística, até o marketing e o relacionamento com o consumidor.”
Nesse cenário, a inteligência artificial (IA) surge como uma ferramenta estratégica. Longe de ser apenas uma tendência emergente, a IA já integra o núcleo das estratégias de transformação digital de longo prazo em muitas empresas do setor. Os investimentos vão além da busca por eficiência operacional, eles exploram novas fronteiras de valor. Entre as aplicações práticas que já estão redesenhando o panorama industrial, destacam-se:
• Previsão e planejamento inteligente: Modelos de IA antecipam a demanda, otimizam colheitas, rotas logísticas e estoques, promovendo uma gestão mais eficiente dos recursos e aumentando a capacidade de resposta às mudanças do mercado.
• Geração de insights e conteúdos personalizados: Com o apoio da IA generativa, empresas analisam grandes volumes de dados para gerar informações estratégicas e desenvolver mensagens mais relevantes para seus públicos, fortalecendo a conexão com os consumidores.
• Automatização inteligente nas plantas de produção: Tecnologias avançadas permitem reduzir custos e melhorar o uso de água, energia e matérias-primas, aumentando a produtividade de forma sustentável, alinhada aos objetivos ambientais e econômicos do setor.
• Rastreabilidade e controle de qualidade avançados: Sistemas de monitoramento em tempo real reforçam a segurança e a confiança nos produtos, permitindo uma supervisão integral da cadeia de valor e respostas proativas diante de possíveis riscos. Essas inovações não apenas fortalecem a eficiência interna das empresas, como também representam uma oportunidade estratégica para posicionar a região como referência em transformação tecnológica com propósito.
Estiveram presentes representantes de entidades nacionais e regionais, entre elas Associação Brasileira das Indústrias da Alimentação (ABIA), Associação Brasileira das Indústrias de Refrigerantes e de Bebidas Não Alcoólicas (ABIR), Câmara da Indústria de Alimentos da Associação Nacional de Empresários da Colômbia (ANDI Alimentos), Câmara Costarriquenha da Indústria Alimentícia (CACIA), Câmara Venezuelana da Indústria de Alimentos (CAVIDEA), Conselho Mexicano da Indústria de Produtos de Consumo (CONMEXICO), Coordenadora das Indústrias de Produtos Alimentícios da Argentina (COPAL), Sindicato dos Industriais do Panamá (SIP), entre outras associações do setor de alimentos e bebidas do Chile, México, Colômbia, Peru, República Dominicana, Argentina, Venezuela, Paraguai, Costa Rica, Guatemala, Equador, El Salvador, Bolívia e Uruguai.
A Fispal Tecnologia 2025 recebeu nomes de peso da indústria alimentícia para discutir o papel do Brasil na alimentação do mundo
@DivulgaçãoFispal

Com o tema “Indústria Brasileira na Liderança: Alimentos Industrializados e Segurança Alimentar para Escalar a Alimentação Global”, o encontro marcou o tom da edição deste ano da feira ao abordar as dimensões da segurança alimentar e os desafios de escalar a produção com qualidade, sustentabilidade e responsabilidade. A mesa foi mediada por
@DivulgaçãoFispal
Gisele Camargo, vice-diretora do Ital (Instituto de Tecnologia de Alimentos), e contou com Eduardo Berkovitz, presidente da Abief; Fernanda de Oliveira Martins, gerente sênior de advocacy em nutrição e saúde LATAM da Unilever; Marcel Sacco, chief growth officer global da BRF, e Sula Alves, diretora técnica da ABPA.

Além disso, o evento também foi palco de discussões importantes no Fispal Women Connected, que trouxe um painel com mulheres líderes no setor de A&B, destacando como a empatia e a colaboração entre empresas podem impulsionar a inovação. Destaque para o painel “Conexões que trans -

formam e impulsionam os negócios”, que apresentou o case envolvendo as empresas Ball e Poty Cia de Bebidas para desenvolver um produto inovador - a Água Levity (em lata), unindo competências e promovendo práticas sustentáveis.
O painel “Tendências da automação para transformar a indústria de alimentos e bebidas” ofereceu ao público uma imersão nos avanços da tecnologia de controle industrial conduzida por Marcos Giorjiani, managing director da Beckhoff Automation no Brasil. Giorjiani destacou que o futuro da automação industrial estará cada vez mais conectado com as dinâmicas da TI. “As fronteiras entre automação e tecnologia da informação estão desaparecendo. A fábrica do futuro — e já muitas do presente — é um sistema integrado onde dados, decisões e ações ocorrem de forma sincronizada e transparente”, explicou. Para a indústria de alimentos e bebidas, isso significa maior capacidade de adaptação a demandas de mercado, personalização em escala, economia de recursos e aumento da confiabilidade dos processos.
Em parceria com o Instituto de Embalagens, a Jornada da Pequena Indústria foi ampliada este ano na Fispal Tecnologia, gerando mais oportunidade para os empresários conhecerem soluções inovadoras e acessíveis que podem transformar seus negócios. A Jornada é uma iniciativa para impulsionar micro e pequenas indústrias de alimentos e bebidas, com foco em inovação, eficiência e competitividade.
A programação da Jornada da Pequena Indústria incluiu palestras e um tour guiado pelos estandes de expositores com tecnologias

e equipamentos voltados às necessidades das micro e pequenas empresas, com foco na viabilidade econômica.
A Associação Brasileira de Embalagem (ABRE) escolheu a Fispal como palco para o lançamento do novo Guia ABRE de Desenvolvimento de Embalagem para Alimentos, desenvolvido em parceria com o Centro de Tecnologia de Embalagem (CETEA). Este é o primeiro de uma série de seis guias segmentados por mercados, com o objetivo de orientar e promover o desenvolvimento sustentável e técnico das embalagens no Brasil.



Por três dias, a IFAT Brasil 2025 - Feira Internacional para Água, Esgoto, Drenagem e Soluções em Recuperação de Resíduos transformou o São Paulo Expo no epicentro das tecnologias ambientais na América Latina. Em sua segunda edição, a feira se consolidou como uma plataforma essencial para profissionais e empresas que buscam soluções em gestão de água, esgoto, resíduos sólidos e recuperação energética. O evento promoveu discussões estratégicas e reuniu um público seleto de especialistas e representantes governamentais,

reforçando seu papel central no setor. Com 230 expositores, público de todos os estados do Brasil e todos os países da América do Sul, 79 horas de conteúdo de extrema qualidade no Congresso Internacional IFAT Brasil 2025 junto ao Solutions Lounge, Arena de Inovação e Startups e Arena de Demonstração, o evento uniu, em um só ambiente, debates e soluções de saneamento básico, tema importante não só para a infraestrutura nacional, como também para a saúde da população.



A sanção da Lei 15.097/2025, que autoriza a prorrogação dos contratos do Programa de Incentivo às Fontes Alternativas de Energia Elétrica (Proinfa), deve gerar um impacto imediato positivo na conta de luz dos brasileiros. Segundo estudo técnico a medida representa uma redução de até 40% nos custos do programa já em 2025, além de um alívio estimado de R$1,4 bilhão na CDE (Conta de Desenvolvimento Energético.
O setor de CGHs - Pequenas Centrais Geradoras Hidrelétricas obteve uma importante vitória com a derrubada, pelo Congresso
Nacional, ao veto do presidente Luiz Inácio Lula da Silva (VET 3/2025), no PL 576/2021, que deu origem à Lei 15.097, de 2025. De acordo com estudos e análises globais a prorrogação dos contratos do Proinfa, com valores mais baixos e retirada de subsídios, trará alívio bilionário à Conta de Desenvolvimento Energético (CDE).
Os parlamentares decidiram manter a prorrogação por 20 anos dos subsídios concedidos para pequenas hidrelétricas, e parques de energia de biomassa e de energia eólica que estão sob as regras do Proinfa.
“Acompanhamos a votação da derrubada dos vetos da eólica e offshore, esta é uma pauta extremamente meritória, e o Congresso Nacional compreendeu a importância das PCHS e CGHS para o setor elétrico brasileiro.”, declarou, Alessandra Torres de Carvalho, presidente da Abrapch – Associação Brasileira de PCHs e PGHs, após os resultados da votação

Os trechos do projeto que foram restabelecidos pelos congressistas tratam especificamente de regras relacionadas à Lei 14.182, de 2021, conhecida como Lei da Eletrobras, mas que também lida com o Proinfa. Com a derrubada, deputados e senadores restabeleceram a possibilidade de prorrogar por até 20 anos os contratos de Pequenas Centrais Hidrelétricas (PCHs), usinas a biomassa e eólicas, desde que os responsáveis pela geração concordem com novas condições contratuais.
Além disso, os atos de outorga desses empreendimentos poderão ser estendidos, e os contratos prorrogados passarão a ter os preços atualizados com base no preço-teto do Leilão A-6 de 2019, corrigido pelo IPCA, substituindo o IGP-M.
Também foi restabelecida a possibilidade de que os empreendimentos do programa, ao aceitarem a prorrogação de seus contratos, também tenham direito aos descontos tarifários previstos na Lei 14.182, de 2021.
As regras previstas na Lei da Eletrobrás podem reduzir em até 40% o custo da energia para o consumidor. Os vetos haviam sido justificados pelo governo com o argumento de que essas mudanças poderiam aumentar os subsídios do setor e as tarifas de energia para os consumidores, além de criar insegurança jurídica ao modificar condições contratuais já pactuadas.
“A reconsideração dos vetos será uma solução ganha-ganha, assegurando previsibilidade para o setor e tarifas mais justas para o consumidor brasileiro”, completa Alessandra. Segundo ela, a Lei 15.097/2025 representa uma mudança estratégica na relação entre o setor público, os geradores de energia e a sociedade, promovendo eficiência, desoneração e sustentabilidade no uso dos recursos públicos voltados ao setor elétrico.
A sanção da Lei 15.097/2025, que autoriza a prorrogação dos contratos do Programa de Incentivo às Fontes Alternativas de Energia Elétrica (Proinfa), deve gerar um impacto imediato positivo na conta de luz dos brasi-
leiros. Segundo estudo técnico apresentado pela Thymos Energia, a medida representa uma redução de até 40% nos custos do programa já em 2025, além de um alívio estimado de R$1,4 bilhão na CDE (Conta de Desenvolvimento Energético).
A nova legislação tem como base o Projeto de Lei 576/2021, aprovado pelo Congresso Nacional, que estabelece uma troca do fluxo de caixa dos contratos vigentes por um modelo mais competitivo. Com isso, os geradores de energia eólica, de biomassa e de pequenas centrais hidrelétricas (PCHs) que aderirem à prorrogação passarão a operar com novos preços de referência baseados em leilões públicos recentes, mais alinhados ao mercado atual.
Corte nos preços e fim dos subsídios
Além disso, a substituição do modelo tarifário atual resulta em uma queda expressiva no valor da energia vendida pelas usinas do PROINFA. Os preços praticados, por exemplo, por usinas eólicas, cairão de R$801,83/ MWh para R$189,00/MWh. No caso das PCHs, a tarifa será reduzida de R$465,22/ MWh para R$285,00/MWh, e as usinas a biomassa verão uma queda de R$372,62/ MWh para R$ 292,00/MWh.
Além disso, os empreendedores que renovarem seus contratos perderão o direito aos subsídios nas tarifas de conexão à rede elétrica (TUST/TUSD), o que amplia ainda mais o efeito de desoneração para o sistema elétrico como um todo.
O estudo afirma que essa troca de fluxos representa uma política pública moderna, que mantém ativos maduros em operação com custos menores e previsíveis, beneficiando diretamente o consumidor. E simulou dois cenários ao longo de 20 anos: com e sem a prorrogação dos contratos. A análise conclui que o modelo com renovação — e com os novos preços e retirada de subsídios — gera um benefício líquido de R$15,9 milhões aos consumidores, além do já citado alívio de R 1,4 bilhão à CDE.
Atualmente, o Proinfa conta com 140
usinas participantes, distribuídas entre eólicas, PCHs e biomassa. A manutenção desses contratos com ajustes nos preços e nas condições contratuais traz segurança energética sem comprometer a modicidade tarifária — um dos pilares do sistema elétrico brasileiro
Os senadores ainda adiaram a análise de mais quatro dispositivos vetados. Entre eles, o que amplia o prazo para que pequenos produtores comecem a injetar energia na rede. O governo alegou que essa flexibilização poderia desestimular investimentos na expansão do setor elétrico, já que adiaria prazos para o cumprimento de obrigações regulatórias.
Vale lembrar que o Brasil colocou 425 PCHs e CGHs em Operação, entre os anos de 2020 e 2025. Além disso, 28 empreendimentos em construção, 56 empreendimentos que ainda não iniciaram a construção, outras 655 estão em fase de de Despacho de Registro de Intenção à Outorga de Autorização (DRI) ou Declaração de Reserva de Disponibilidade Hídrica (DRS), para que o interessado requeira o Licenciamento Ambiental pertinente nos órgãos competentes na Aneel. Outros 428 processos encontram-se em estágio de eixo disponível, que quer dizer aptos para usuários interessados no desenvolvimento de estudos de inventário hidrelétricas.
O ONS - Operador Nacional do Sistema
Elétrico enviou carta para mais de 40 empresas afirmando que elas devem informar quaisquer restrições à disponibilidade de energia com antecedência. O ONS solicitou a maximização da disponibilidade de geração e prontidão das usinas para garantir o atendimento eletroenergético caso seja necessário o despacho para atendimento da demanda nos próximos meses.
O pedido do ONS foi direcionado aos donos das térmicas de todos os combustíveis, incluindo gás, óleo, carvão, biomassa e nuclear. Entre as restrições à disponibilidade incluem-se manutenções programadas, hibernação de plantas, questões contratuais ou falta de combustível. O operador exige que todas essas informações sejam repassadas por meio das reuniões mensais de manutenção ou dos canais oficiais da programação da operação.
O ONS ressalta que os estudos prospectivos para 2025 indicam a necessidade de acionamento das térmicas especialmente nos
horários de ponta nos próximos meses, que compreendem o período seco e os meses de transição para o período chuvoso.
O período entre julho e setembro é conhecido como safra dos ventos, quando a geração eólica atinge altos patamares, o que não elimina o risco de falta de potência nos horários de pico.
O ONS prevê um déficit de potência da ordem de 4 GW para os próximos meses, segundo seu PMO (Programa Mensal da Operação).Es sa seria a demanda do leilão de reserva de capacidade (LRCap) no produto com entrega em setembro deste ano, voltado à térmicas existentes, mas o cancelamento do certame levou o operador a buscar alternativas para garantir a disponibilidade das usinas.
Nesse contexto, o governo já antecipou os contratos de térmicas do certame realizado em 2021, que entrariam em vigor só em 2026, para garantir parte dessa potência em agosto e setembro. E outras medidas estão em estudo pelo CMSE (Comitê de Monitoramento do Setor Elétrico).
A AVEVA foi selecionada pela Protium, desenvolvedora de hidrogênio verde do Reino Unido, como base de sua plataforma de inteligência industrial digital que impulsionará o desenvolvimento mais rápido de sua inovadora solução de energia verde.
Com as soluções da AVEVA, a Protium reduziu em 30% o tempo gasto em simulação de processos, aumentou a confiabilidade em 15% e pôde identificar metas para reduzir os gastos com manutenção em 15%. A empresa pretende reduzir as emissões em 256 mil de CO2 por ano e projeta que as soluções da AVEVA a ajudarão a economizar de 5% a 10% adicionais com a otimização do design de processo e o consumo de energia.
“Nossa colaboração com a Protium ilustra brilhantemente o compromisso da AVEVA em viabilizar a sustentabilidade industrial”, afirma Caspar Herzberg, CEO da AVEVA, ao destacar que liderar a transição para zero emissões por meio de tecnologias emergentes exige uma infraestrutura digital flexível. “A plataforma de dados que desenvolvemos para a Protium foi desenhada para gerenciar uma infraestrutura digital resiliente e ágil de forma econômica, aproveitando todo o potencial da inteligência industrial da Protium.”

Para Jon Constable, COO da Protium, o hidrogênio verde é um passo fundamental na ambição do Reino Unido de reduzir as emissões de CO2 em 1 milhão de toneladas por ano até 2030. “Alcançar essa meta de forma econômica e confiável dependerá da construção da infraestrutura adequada e de sua operação eficiente”, ressalta. “Ao trabalhar em estreita colaboração com a AVEVA, desenvolvemos o conjunto certo de ferramentas digitais para permitir que a Protium forneça hidrogênio verde em escala – crucial neste momento que estamos prestes a inaugurar uma segunda planta de produção de hidrogênio e a expandir nosso portfólio de projetos”, completa Constable.



A Claro tem uma estratégia direta relacionada ao consumo de energia em suas operações: avançar além do uso de fontes renováveis e adotar a eficiência energética como política complementar à combinação de contratação de energia no mercado livre e autoprodução.
Hoje, cerca de 80% do consumo de energia na companhia vem de fontes renováveis. Os 20% restantes são de instalações de baixa tensão, que dependem da regulação para poderem migrar ao mercado livre, o que só deve acontecer a partir de 2027.

Hamilton Silva, diretor de Infraestrutura, Logística e Administrativo da Claro, explica que “os mercados de energia e telecomunicações são cada vez mais interdependentes. Quando falamos de transição energética, precisamos entender que essa energia não será possível sem alto nível de digitalização. Ou seja, não digitalizar é uma barreira para a abertura de mercado. Porém, a digitalização também aumenta a demanda por energia. Se queremos ser mais digitais, aumentar a capacidade de processamento e gerir um alto volume de dados, vamos demandar mais energia. Então, um não viverá sem o outro. Os dois vão ter que crescer relativamente juntos, apesar de serem indústrias separadas. Vou dar um exemplo dos medidores inteligentes de energia dentro das casas dos consumidores ou das indústrias. Ele passa a ser um equipamento de energia ou de telecom? Vai precisar de conectividade para buscar esses dados de energia dentro da casa do cliente e também tem que ser um equipamento que mensure a energia e transmita isso através da rede de telecom. É um mercado comum, de transição energética e extremamente interdependente”.
Dona de várias usinas, inclusive de biocombustíveis a partir de resíduos urbanos, a Claro também monitora o consumo de data centers e de toda sua infraestrutura, de olho no aumento da demanda por energia a partir do uso da IA e outras inovações.
Como empresa de telecom, a Claro é grande consumidora de energia em todo o país. Quando se soma esse montante de consumo, chegamos a 130 GWh. Outra característica deste setor é que um terço disso é consumido por data centers, prédios técnicos ou híbridos (técnico e administrativo). Um terço do consumo é de média tensão. Os outros dois terços – de baixa tensão –são direcionados para alimentar fontes de energia, como pequenos hubs e rede de HFC (híbrida de fibra óptica e cabo coaxial).
A compra de energia de fornecedores que não apenas das concessionárias locais acontece desde a abertura do mercado –a Claro sempre busca alternativas e, entre elas, ir para o mercado livre, no caso de alta e média tensão. Mas criar as próprias usinas também: a Claro posicionou como compradora de fontes renováveis para atender um terço de energia em média tensão; para os outros dois terços, começou a ter geração distribuída, com usinas solares, que hoje chegam a mais de 100 instalações.
Na baixa tensão, a Claro é uma das empresas que mais possui usinas de energia no Brasil. E está sempre diversificado, com várias usinas, de pequenas centrais hidrelétricas (PCHs) a biocombustíveis. Nas cidades de São Paulo e Rio de Janeiro abastecidos por usinas de biogás de aterro sanitário - as duas maiores do país em geração distribuída. “Com isso, 80% da nossa demanda é gerada por fornecedores do mercado livre ou por nossas próprias usinas. Ou seja, de fontes comprovadamente renováveis. 70% desse montante de energia são provenientes de fonte solar. Somos signatários do pacto global da ONU, o que significa que temos duas datas-chave: 2030 e 2050. As
metas de redução de emissão de dióxido de carbono são de 52% para os escopos 1 e 2 até 2030. E de 14% para o escopo 3, com a mesma data. Já em 2050 a meta é como a da maioria das empresas, ou seja, zerar. Nesse sentido, o grande alavancador tem sido o programa de energia da empresa. Somente 20% da demanda de energia é fornecida pelas concessionárias tradicionais e de onde não podemos ter a certeza da fonte totalmente limpa. Buscamos outras ações de eficiência para tentar alcançar a meta de 2050 e também, se possível, antecipar. Um exemplo é a migração de combustível fóssil para etanol na frota de veículos técnicos que atendem o mercado. Fizemos testes com veículos elétricos, mas o preço deles ainda é uma barreira de entrada”, conta Hamilton.
Haverá um crescimento muito grande no consumo de energia elétrica nos data centers, seja pelas demandas de IA ou de cloud computing. Os estudos dizem que o consumo dobrará e os testes que a Claro tem feito em alguns data centers indicam esse caminho. “Nosso programa de energia permite acompanhar a tendência, porque é escalável. Portanto, temos a chance de seguirmos com esse programa para abastecer o consumo com as fontes que nós temos, sem buscar fornecimento adicional nas concessionárias tradicionais”.
A Claro estudo o potencial de comercializar energia em parcerias. Já realizou testes, com uma oferta final de combo que inclui a comercialização de energia. E a empresa acompanha o mercado de carbono visando suas emissões indiretas, e esgotando todas as ações de eficiência para baixar sua pegada de carbono. A empresa não é carbono neutra, mas tem várias ações com baixa pegada de carbono e busca o máximo que pode em descarbonização. “Se formos para esse mercado no futuro, esperamos que ele esteja devidamente regulado e maduro”, finaliza o executivo.
Devido ao estágio avançado de construção e aos grandes componentes no local, os VC Summer 2 e 3 da Carolina do Sul estão em posição privilegiada para se tornarem os próximos grandes reatores nucleares construídos nos EUA.
A concessionária de serviços públicos e proprietária do projeto da Carolina do Sul, Santee Cooper, selecionou menos de cinco propostas entre 14 recebidas em uma solicitação de interesse (RFI) para potencialmente adquirir e concluir a construção dos reatores, que ficam próximos ao Summer 1 da Dominion Energy, um reator ativo, segundo a Reuters.
As entidades selecionadas agora realizarão diligências adicionais e enviarão propostas finais para avaliação da Santee Cooper - que não pretende possuir ou operar as unidades,

mas permitir que entidades interessadas busquem a conclusão e a operação das unidades para o benefício de toda a Carolina do Sul, o que deve estar concluído até o final de 2025. A demanda por energia limpa de data centers de hiperescala e os esforços de descarbonização levaram a novos investimentos para reativar reatores desativados em Michigan e em Nova York, até 2027.
Crescimento do consumo de energia do setor comercial por estado (2019-2023)

O presidente Trump emitiu uma série de ordens executivas para inaugurar um renascimento nuclear e disse que os EUA pretendem iniciar a construção de 10 novos grandes reatores até 2030. As novas políticas são parte dos esforços do governo para expandir a capacidade de energia nuclear dos EUA de cerca de 100 GW atuais para 400 GW até 2050.
Uma norma estabelece critérios objetivos para aplicação de diferimentos em processos tarifários de distribuidoras, buscando previsibilidade, equilíbrio econômico-financeiro e moderação de oscilações nas tarifas
Em decisão estratégica para o setor elétrico, a Aneel - Agência Nacional de Energia Elétrica aprovou, durante Reunião Pública Ordinária, a regulamentação dos financeiros de diferimento em processos tarifários das distribuidoras de energia. A medida visa suavizar variações tarifárias anuais, preservando a estabilidade para consumidores e empresas e evitando impactos abruptos nas contas de luz.
O mecanismo de diferimento — que adia parte dos efeitos financeiros dos reajustes para anos subsequentes — passa a ser regido por critérios objetivos e padronizados, conforme estabelece a nova resolução aprovada pela Agência. O tema foi submetido à Consulta Pública nº 006/2025, entre 26 de fevereiro e 11 de abril deste ano, recebendo 121 contribuições de 26 agentes do setor.
Critérios claros para aplicação do diferimento tarifário
A nova norma determina duas possibilidades para que um processo tarifário seja elegível ao uso de diferimentos:
1. Critério Faixa: quando o índice de reajuste tarifário for inferior a -1,5% (redução acentuada) ou superior a 12,1% (aumento elevado).
2. Critério Amplitude: quando a diferença entre o índice do processo atual e a previsão do próximo processo for superior a 13,6%.
Importante destacar que os critérios não são cumulativos. Ou seja, o atendimento a apenas um deles já é suficiente para justificar a aplicação do mecanismo. A decisão final de-
penderá de solicitação da distribuidora e será avaliada com base nos parâmetros estabelecidos, considerando os impactos sobre o equilíbrio econômico-financeiro da concessão.
A resolução também definiu que a manifestação do Conselho de Consumidores será coletada pela própria Aneel por meio de reunião específica, mantendo seu caráter opinativo.
A decisão sobre o uso do diferimento, no entanto, continua condicionada à iniciativa da distribuidora, que deverá demonstrar a necessidade do mecanismo como forma de preservar a sustentabilidade do contrato de concessão e mitigar impactos tarifários abruptos.
A aprovação da norma representa também uma resposta direta à recomendação do Tribunal de Contas da União (TCU), que solicitou à Aneel a elaboração de critérios para análise dos impactos e dos custos-benefícios dos diferimentos tarifários.
Com essa iniciativa, a Agência busca garantir maior previsibilidade regulatória, um ambiente mais estável para investimentos e mais transparência para consumidores e agentes do setor elétrico.
Na prática, o diferimento atua como um mecanismo de moderação tarifária, postergando parte dos aumentos ou reduções que, se aplicados integralmente em um único ano, poderiam causar distorções na conta de energia dos consumidores ou dificuldades financeiras para as distribuidoras.
A nova norma representa mais um passo da Aneel no sentido de aprimorar o modelo regulatório brasileiro, mantendo o equilíbrio entre os interesses dos consumidores e a necessidade de sustentabilidade das concessões de distribuição de energia elétrica.

Foi publicada a versão final do Plano Brasileiro de Inteligência Artificial (PBIA), iniciativa estratégica elaborada no âmbito do Conselho Nacional de Ciência e Tecnologia (CCT), com coordenação do Ministério da Ciência, Tecnologia e Inovação (MCTI) e apoio técnico do Centro de Gestão e Estudos Estratégicos (CGEE). O plano orienta o desenvolvimento ético, seguro e sustentável da inteligência artificial no Brasil e prevê investimentos de até R$ 23 bilhões ao longo de quatro anos.
A proposta foi entregue ao presidente Luiz Inácio Lula da Silva durante a abertura

da 5ª Conferência Nacional de Ciência, Tecnologia e Inovação (5CNCTI), em julho de 2024. Desde então, tem servido como base para ações coordenadas do governo federal voltadas à promoção da inteligência artificial como vetor estratégico de desenvolvimento nacional.
Entre as metas previstas está a aquisição de um dos cinco supercomputadores mais potentes do mundo, o que permitirá ampliar significativamente a capacidade nacional de processamento de dados e pesquisas avançadas em IA.
Para Caetano Penna, diretor do CGEE, o plano é um instrumento dinâmico. “A versão apresentada ao presidente Lula já passou por atualizações incrementais. Com o PBIA, mostramos que o Brasil atua para ser protagonista ativo na definição dos rumos da inteligência artificial global. Somos líderes na América Latina em produção científica sobre o tema e temos forças e oportunidades para consolidar a IA como vetor de desenvolvimento e projeção internacional do país”, afirmou.
Resultado de um amplo processo de construção coletiva com participação de governo, academia e setor produtivo, o PBIA incorpora o compromisso com uma IA alinhada às demandas e características brasileiras. “Não desejamos simplesmente importar soluções; queremos desenvolvê-las aqui, por brasileiros e para brasileiros, considerando nossas particularidades sociais, culturais e econômicas”, destacou a ministra Luciana Santos no documento.

As diretrizes abrangem desde o estímulo à pesquisa e à formação de talentos até a promoção de ambientes regulatórios que assegurem segurança, transparência e pro -
teção de dados. O plano também incentiva a aplicação da IA no setor público, visando aprimorar serviços essenciais e fortalecer políticas públicas baseadas em evidências.
@Divulgação/Nelson Valêncio

Da esquerda para a direita: Alexandre Gomes (Claro empresas), Cristiane Sanches (Abrint) e Marco Szili (Telesys)
Apesar do potencial brasileiro para redes privativas móveis, os especialistas nessa área apontam desafios que precisam ser superados. Durante o MPN Forum, evento recém realizado em São Paulo e focado no segmento, vários pontuaram as correções de rotas necessárias, inclusive a lentidão na adoção das chamadas MPN, sigla em inglês para mo -
bile private networks. Marco Szili, sócio-fundador da Telesys, aponta que as decisões de implantação da tecnologia são lentas em função, principalmente de dois entraves: a falta de conhecimento básico sobre as MPNs e a presença restrita de integradores especializados. No primeiro caso, o executivo lembra que mui-
tos decisores chegam a confundir as redes privativas móveis com Wi-Fi.
Ele também reiterou a necessidade de ampliar os integradores que conheçam 4G LTE e 5G e propõe criação de certificações e treinamentos. Uma das soluções para a formação de mão de obra seria o envolvimento do Senai, instituição que também pode criar um mindset favorável para as redes privativas móveis nas associações que envolvem as indústrias.
“O retorno sobre investimento (ROI) é fundamental para incentivar o uso de redes privativas e é o que chega aos conselhos de administração”, resumiu Szili, ao defender que os projetos sejam pensados como business case e possam ser ampliados à medida que forem bem-sucedidos.
Alexandre Gomes, Diretor de marketing para grandes empresas e governo da Claro-empresas, destacou que a integração de redes privativas é complexa, envolvendo não apenas telecomunicações, mas a conexão de
@Divulgação
aplicações na nuvem, edge computing e outras tecnologias.
As MPNs, para ele, trazem a infraestrutura para a transformação digital e podem potencializar o uso de aplicações e tecnologias emergentes. Para ele, o avanço das redes privativas marca o início de uma nova tendência e é um processo que precisa de um tempo de maturação.
Sobre os integradores, Gomes lembra que as próprias operadoras têm parceiros nessa área e que podem reforçar o papel das redes como habilitadoras digitais e não somente como uma infraestrutura de telecomunicações. Ele também aposta na oferta de soluções-chave, que podem ser replicadas para vários segmentos.
Para ele, os casos de redes privativas móveis igualmente precisam ter indicadores claros de resultados. Um exemplo é a redução de acidentes com uso de videomonitoramento em tempo real, tendo as MPNs como infraestrutura viabilizadora.

Vinicius Caram, superintendente de Outorga e Recursos da Anatel - Agência Nacional de Telecomunicações, apresentou dados que comprovam a avaliação de Gomes. Segundo o superintendente, haveria atualmente apenas 13 rádios 5G homologados na faixa de 3.700 MHz e 3.800 MHz, e outros 31 nas faixas de operação entre 2.390 MHz e 3.400 MHz.
As observações são relevantes, conforme
Samuel Lauretti, diretor da Tropico, integradora de redes privativas com atuação em várias verticais, inclusive com caso de sucesso na RGE, distribuidora de energia da CPFL que opera no Rio Grande do Sul. Ele lembrou que a faixa de 3.700 MHz é indicada para aplicações de MPNs nos setores industriais, que hoje lideram as implementações no Brasil - trata-se de uma faixa que permite a transmissão de altíssimas taxas em áreas
restritas. Já a faixa de 2.300 MHz é indicada para áreas mais amplas com raios de 3 km a 5 km, caso de instalações portuárias, que demandam a integração de vários dispositivos. A faixa de 700 MHz é a preferencial do agronegócio e tem mais amplitude de raio, chegando a 10 km, podendo ser aplicado ainda em indústrias e portos.
O último grupo de espectro envolve faixas de 250 MHz e de 400 MHz, ambas indicadas para aplicações que não demandam alta transmissão de dados, mas que pedem um raio de cobertura maior. É o caso das distribuidoras de energia e de algumas aplicações rurais mais remotas, onde uma rede privada móvel pode ser estruturada para atingir de 10 km a 20 km de alcance.
Renato Bueno, diretor de Redes Móveis da Nokia, destacou a necessidade de envolvimento dos players tradicionais que atuam nos nichos potenciais para adoção de MPNs. Entre os exemplos ele citou empresas como Caterpillar, Komatsu e CNH. Para ele, esses fabricantes têm mais propriedade para falar sobre os negócios onde atuam do que os especialistas de telecomunicações. Por atuarem há longo tempo em setores como agro e mineração, os fabricantes de equipamentos devem ser aliados no processo de ativação das redes privativas móveis e não sem razão: as MPNs podem habilitar várias funcionalidades de automação e monitoramento em-
butidas, entre outros, em caminhões e máquinas agrícolas.
Cristiane Sanches, vice-líder do conselho de administração da Abrint - Associação Brasileira de Provedores de Internet e Telecomunicações, reforçou o conceito das redes privadas móveis como habilitadoras de novas tecnologias. Segundo a executiva, as verticais potencialmente usuárias de MPNs precisam de soluções inovadoras. Ela lembra que a abordagem multitecnológica deve ser o padrão. Em outras palavras: ter em mente que as soluções futuras de redes privativas móveis precisam envolver o uso complementar de 5G com Wi-Fi, network slicing e redes milimétricas, para citar apenas alguns exemplos.
Os especialistas também indicaram caminhos para que a tecnologia avance: educação e evangelização da indústria, com foco nos integradores e na mudança de mindset dos segmentos potenciais em relação às redes privativas móveis; demonstração de valor e ROI, inclusive com estudos de caso; integração ao ecossistema. Assim, os players de telecomunicações e tecnologia da informação precisam envolver os players históricos dos mercados potenciais. Junto com eles, os especialistas em MPNs também podem estruturar testes e modelos inovadores, inclusive utilizando sandboxes para avaliar alternativas em ambiente controlado.
A indústria eletroeletrônica brasileira projeta encerrar o primeiro semestre de 2025 com retração de 1%, de acordo com projeções da Associação Nacional de Fabricantes de Produtos Eletroeletrônicos, a Eletros. De janeiro a maio, os segmentos de Linha Mar-
rom, Linha Branca e Linha Portátil registraram desaceleração, enquanto Ar-condicionado e TIC apresentaram crescimento. Nesse período, o desempenho mais fraco dos portáteis, que acumulam queda de 6% e respondem por 66% das vendas do setor, foi o principal
fator de impacto no resultado geral.
De acordo com a entidade, ao longo dos primeiros meses de 2025, o ambiente macroeconômico tem se mostrado mais desafiador, com juros elevados, inflação persistente, instabilidade econômica e aumento do custo Brasil. Esses fatores combinados restringem e encarecem o crédito, pressionam o orçamento das famílias e geram insegurança, levando o consumidor a priorizar despesas essenciais, como alimentos e remédios,
e a adiar compras de bens duráveis como os eletroeletrônicos
Apesar da resiliência do setor e de avanços recentes, a confiança do consumidor permanece sensível ao contexto macroeconômico, provocando um semestre de queda. Vale destacar que essa performance ocorre após um recorde histórico de vendas ao mercado registrado em 2024, quando o setor cresceu 29% e atingiu o melhor resultado em uma década.
Ar-Condicionado: Crescimento Sustentado, Mas em Alerta
Entre janeiro e maio de 2025, o setor registrou um avanço de 21% em relação ao mesmo período do ano anterior, impulsionado pelas altas temperaturas e pela mudança no comportamento do consumidor, que busca conforto térmico aliado à eficiên-
cia energética e à inovação. Mesmo com a chegada do inverno, a expectativa é de que o desempenho acumulado mantenha o ar-condicionado como protagonista do setor, sustentando a tendência de crescimento ao longo do ano.
Segundo José Jorge do Nascimento Jr, presidente executivo da Eletros, “com a elevada variação de temperaturas, o ar-condicionado vem se consolidando como símbolo de um novo modelo de consumo. É um produto que hoje alia conforto a práticas mais sustentáveis, acompanhando as transformações da sociedade. Além disso, fatores como a maior conscientização sobre eficiência energética contribuíram para o avanço expressivo desse segmento, que reforça sua posição de liderança no mercado eletroeletrônico brasileiro. No entanto, esse cenário promissor está sob risco. O setor enfrenta um grave e prolongado gargalo na cadeia de suprimentos, causado pelo desabastecimento de compressores produzidos no Brasil. A produção está concentrada em um único fornecedor nacional, cuja capacidade é insuficiente para atender à demanda crescente. Esse desequilíbrio tem provocado inse gurança e forçado as indústrias do bem final a limitarem sua produção A situação se agrava diante da política industrial estabelecida pelo go verno federal, que impõe a obrigatoriedade de aquisição local desses compressores. Essa exigência, na prática, está desconectada da reali dade produtiva nacional, criando um entrave que compromete a capa cidade do setor de responder ao mercado.
“Há meses o setor de ar-condicionado sofre com a escassez de com pressores nacionais, um insumo essencial hoje concentrado em um único fornecedor. A política industrial imposta pelo governo federal exige compra local, mas a produção não atende à demanda. Isso li mita a indústria, prejudica o consumidor e compromete o acesso da população ao conforto térmico. É urgente revisar essa regra,” afirma Nascimento.

Linha Branca: desempenho modesto e pressão crescente sobre custos de produção
Esse segmento registrou um crescimento discreto de 1% entre janeiro e maio de 2025, em comparação com o mesmo período do ano anterior. A expectativa é de que o avanço chegue a 2% até o final de junho. De acordo com a Eletros, os juros ainda elevados e o crédito mais restrito continuam limitando o avanço das vendas desses bens duráveis, que dependem de condições de financiamento mais favoráveis para o consumidor. Mesmo diante desses desafios, o segmento demonstra sinais de equilíbrio no resultado. Além das dificuldades macroeconômicas, a indústria de linha branca tem sido fortemente impactada pelas revisões tarifárias desfavoráveis sobre insumos estratégicos, como aço e resinas plásticas, que compõem grande parte da estrutura de custos dos produtos.
Essas alterações nas alíquotas de importação desregulam os preços, elevam os custos de produção e, consequentemente, encarecem os produtos finais. O efeito direto é a redução da competitividade da indústria nacional frente aos importados, a limitação do acesso da população a produtos mais modernos e eficientes e o enfraquecimento do ciclo virtuoso da economia, com reflexos negativos sobre emprego, renda e investimento produtivo. Apesar disso, a população brasileira tem demonstrado crescente interesse por produtos mais modernos e eficientes, especialmente refrigeradores. Essa é uma grande oportunidade para a construção de uma política pública consistente de estímulo ao setor para a ampliação do acesso a essas soluções tecnológicas por parte da população.
Linha Marrom (TVs e Áudio): estabilidade no semestre e boas perspectivas para o final do ano
Vendas de televisores apresentaram, no período de janeiro a maio de 2025, um discreto aumento de 0,3% em relação ao mesmo intervalo de 2024. A expectativa para o encerramento do primeiro semestre é de um crescimento de 1% frente ao ano anterior, mantendo a constância do segmento. A evolução tecnológica, com a incorporação de novos recursos de conectividade e avanços na qualidade de imagem, segue estimulando a renovação dos televisores, ainda que em

um ritmo mais moderado. O setor permanece atento às tendências de consumo e ao cenário econômico para sustentar esse desempenho estável, explica José Jorge do Nascimento Júnior.
Para o segundo semestre, há uma expectativa mais favorável, impulsionada tradicionalmente por datas como a Black Friday e o Natal, que costumam aquecer a demanda por produtos de áudio e vídeo, especialmente os televisores com maior valor agregado.
Linha Portátil (Eletroportáteis): retração preocupante expõe necessidade de medidas para reaquecimento do consumo
Os eletroportáteis registraram queda de 6% nas vendas entre janeiro e maio de 2025, em comparação com o mesmo período de 2024. A expectativa é de que esse recuo se reduza para cerca de 4% até o fechamento do semestre. Como re-
presentam aproximadamente 66% do volume total de produção da indústria eletroeletrônica, o desempenho negativo desse segmento impacta diretamente o resultado geral do setor. Segundo o presidente executivo da Eletros, o segmento vem enfrentando pressões espe-
cíficas, como estoques elevados e a crescente presença de produtos importados de baixo valor agregado, comercializados por meio do comércio eletrônico e canais informais. Soma-se a isso a concorrência desleal de itens que chegam ao mercado nacional sem atender às normas obrigatórias de eficiência energética, segurança e desempenho, especialmente no caso de produtos importados. Esse cenário distorce a concorrência, penaliza a indústria nacional formalizada, compromete a arrecadação pública e expõe o consumidor a riscos, além de dificultar o acesso a produtos com
mais qualidade, confiabilidade e sustentabilidade.
Historicamente, os eletroportáteis têm apresentado desempenho consistente, mesmo em contextos econômicos adversos. Como se trata de bens de menor valor unitário, o impacto dos juros costuma ser limitado na decisão de compra. Por isso, a retração observada em 2025 representa um sinal de alerta sobre a dinâmica atual do consumo e a urgência de medidas que reequilibrem o ambiente concorrencial e contribuam para o reaquecimento do consumo no país.

Os monitores de vídeo registraram crescimento de 11% nos cinco primeiros meses de 2025 em relação ao mesmo período do ano anterior. A expectativa é que o setor feche o semestre com um crescimento de cerca de 10%. Segundo Nascimento, “o mercado gamer tem impulsionado a demanda por monitores mais avançados, enquanto notebooks e smartphones continuam com vendas consistentes, mesmo em um cenário de maior cautela dos consumidores”.
Depois de um ciclo de forte expansão em 2024, com crescimento recorde de vendas e produção, a indústria eletroeletrônica brasileira inicia o segundo semestre de 2025 diante de um ambiente mais desafiador.
Juros altos, inflação persistente, instabilidade econômica e a elevação do custo Brasil têm contribuído para a insegurança do consumidor, que enfrenta um orçamento mais apertado e prioriza gastos essenciais. Além disso, a alta histórica da taxa Selic, que recentemente chegou a 15%, encarece o crédito e dificulta o consumo de bens duráveis, especialmente os de maior valor agregado. Soma-se a isso o aumento dos custos de produção, pressionado principalmente pelos preços mais altos do aço, resina e compressores, impactando diretamente nas despesas das empresas. No mercado internacional, o aumento dos preços do petróleo e de commodities industriais pressiona
custos operacionais, enquanto incertezas externas — como tensões comerciais, restrições à exportação de insumos estratégicos e sinais de desaceleração em economias parceiras — elevam o grau de atenção sobre a cadeia produtiva nacional. A volatilidade do câmbio, com o dólar em patamares elevados, também é motivo de preocupação para o setor, impactando a competitividade e a formação de preços.
Diante desse contexto, empresas do setor intensificam o planejamento financeiro, a renegociação de contratos e o monitoramento do ambiente de consumo, buscando mitigar riscos e garantir a sustentabilidade das operações nos próximos meses.
Para o restante de 2025, a expectativa é
de um cenário ainda marcado por desafios, mas com possibilidade de recuperação gradual em alguns segmentos, impulsionada por sazonalidades importantes como a Black Friday e o Natal, além dos lançamentos de produtos com novas tecnologias. No entanto, se considerarmos a manutenção dos juros em patamares recordes, a volatilidade cambial, a insegurança econômica, as vendas continuarão caindo.
A Eletros projeta que as empresas seguirão focadas em otimizar estoques, ampliar a eficiência produtiva e ajustar prazos de negociação com fornecedores e varejo, buscando equilíbrio entre oferta, demanda e custos se permanecermos em um contexto de ambiente econômico incerto.

Close-up de uma placa de sensor supercondutor contendo vários sensores de borda de transição (linha superior de quadrados), que detectam energia liberada por eventos individuais de decaimento radioativo.
Pesquisadores do NIST - Instituto Nacional de Padrões e Tecnologia demonstraram um método novo e mais rápido para detectar e medir a radioatividade de quantidades minúsculas de material radioativo. A técnica inovadora, conhecida como espectrometria
de energia de decaimento criogênico (DES), pode ter impactos de longo alcance, desde a melhoria de tratamentos contra o câncer até a garantia da segurança da limpeza de resíduos nucleares.
A chave para esta nova técnica é um sen-
sor de transição de borda (TES), um dispositivo de alta tecnologia amplamente utilizado para medir assinaturas de radiação. O TES oferece uma capacidade revolucionária de registrar eventos individuais de decaimento radioativo, nos quais um átomo instável li-

bera uma ou mais partículas. Ao coletar dados de muitos decaimentos individuais, os pesquisadores podem então identificar quais átomos instáveis, conhecidos como radionuclídeos, produzem os eventos.
“O TES é muito mais avançado do que um contador Geiger comum ou outros detectores usados hoje”, disse o físico do NIST, Ryan Fitzgerald. “Em vez de apenas clicar para indicar radiação ou dar uma indicação borrada da energia de decaimento, ele nos dá uma impressão digital detalhada do que está lá.”
O dispositivo TES opera em temperaturas extremamente baixas, próximas do zero absoluto. Quando ocorre um decaimento radioativo em uma amostra, a energia liberada é absorvida pelo TES. Essa energia absorvida causa uma pequena alteração na resistência elétrica do TES. Os pesquisadores medem com precisão essa alteração na resistência, o que fornece uma “assinatura energética” de alta resolução do evento de decaimento. Ao analisar o espectro de energia detalhado de múltiplos eventos, os pesquisadores conseguem identificar o átomo radioativo específico que está sofrendo decaimento. Isso é possível porque diferentes átomos radioativos liberam assinaturas energéticas únicas ao decair.
Métodos anteriores são eficazes tanto para medir a quantidade de radioatividade quanto
para identificar quais átomos radioativos estão presentes — não para ambos. A caracterização completa de uma amostra antigamente exigia o uso de múltiplas técnicas. Em contraste, o DES identifica elementos radioativos e quantifica seu nível de radioatividade.
Quando pesquisadores encontram um barril cheio de fluido radioativo, precisam identificar a substância misteriosa e medir a quantidade de radionuclídeos presentes para descartá-la com segurança. Normalmente, esse processo poderia levar meses, mas o sensor de transição pode reduzir significativamente esse tempo.
“Em vez de esperar meses pelos resultados, agora podemos obter um perfil completo de radioatividade em apenas alguns dias a partir de uma pequena amostra”, disse Fitzgerald.
@NIST
O pesquisador do NIST Ryan Fitzgerald coloca uma bola de índio em um chip sensor de borda de transição (TES) em preparação para usar o TES para detectar a energia liberada por eventos de decaimento radioativo em uma fonte radioativa.
Tradicionalmente, a medição da radioatividade exigia múltiplos métodos e procedimentos complexos, utilizando materiais adicionais chamados traçadores ou calibrantes. No en-

tanto, o novo método oferece uma abordagem simplificada, permitindo a medição precisa até mesmo de amostras minúsculas sem a necessidade desses materiais adicionais. Isso
permite que os cientistas monitorem, utilizem e protejam melhor os materiais radioativos que afetam a saúde e a segurança públicas.
Precisão de jato de tinta na análise de radioatividade
Em seu método, os pesquisadores utilizam um dispositivo de jato de tinta especializado para dispensar cuidadosamente pequenas quantidades, inferiores a 1 milionésimo de grama, de uma solução radioativa em finas folhas de ouro. Essas folhas de ouro têm uma superfície pontilhada de minúsculos poros com apenas bilionésimos de metro de tamanho. Esses nanoporos ajudam a absorver as minúsculas gotículas da solução radioativa.
Medindo com precisão a massa da solução dispensada usando o jato de tinta e, em
seguida, medindo a radioatividade da amostra seca nas folhas de ouro, os pesquisadores podem calcular a radioatividade por unidade de massa, ou a “atividade mássica”, da amostra. Este método de jato de tinta permite que trabalhem com quantidades extremamente pequenas de material radioativo e ainda obtenham uma medição precisa de sua radioatividade.
As aplicações potenciais são vastas. Na medicina, essa tecnologia pode ajudar a garantir a pureza e a potência de medicamentos radioativos usados em tratamentos contra o câncer. Na energia nuclear, pode identificar rapidamente a composição radioativa do combustível reprocessado, acelerando o desenvolvimento de novos reatores avançados.
A pesquisa recém-divulgada é o primeiro passo de um esforço maior, conhecido como projeto True Becquerel (TrueBq), para transformar a forma como monitoramos e caracterizamos a radioatividade. O nome do projeto deriva da unidade de medida do decaimento radioativo, em homenagem ao físico francês Henri Becquerel, que descobriu a radioatividade.
O projeto TrueBq, mais amplo, visa desenvolver um sistema de medição mais abrangente, capaz de lidar com uma ampla gama de substâncias radioativas, incluindo misturas complexas. Ele integrará um sistema de balanço de massa de precisão ao dispositivo TES para medir a atividade mássica de materiais radioativos com precisão sem precedentes. Esta nova abordagem representa uma melhoria significativa em relação aos fluxos de trabalho tradicionais, que frequentemente envolvem múltiplos métodos, processamento químico e o uso de traçadores e padrões químicos. Ao otimizar o processo de medição, espera-se que o TrueBq reduza o tempo necessário para análise e, ao mesmo tempo, aumente a precisão.
As inovações desenvolvidas pelo projeto TrueBq podem aprimorar a capacidade do
NIST de atender seus clientes de forma eficaz. O NIST oferece uma variedade de serviços de medição com foco no cliente, incluindo calibrações, materiais de referência padrão (MRPs) e ensaios de proficiência. Todos esses serviços se beneficiam do fluxo de trabalho simplificado, das informações adicionais e da redução de incertezas que a tecnologia TrueBq pode potencialmente proporcionar.
Embora o foco atual do TrueBq seja aprimorar as medições no próprio NIST, os pesquisadores têm aspirações de longo prazo para a tecnologia. No futuro, eles esperam desenvolver versões portáteis e fáceis de usar do sistema, que possam ser implantadas fora do NIST para aplicações críticas em áreas como medicina, limpeza ambiental e gestão de resíduos nucleares.
O artigo (Ryan P. Fitzgerald, Bradley Alpert, Denis E. Bergeron, Max Carlson, Richard Essex, Sean Jollota, Kelsey Morgan, Shin Muramoto, Svetlana Nour, Galen O’Neil, Daniel R. Schmidt, Gordon Shaw, Daniel Swetz e R. Michael Verkouteren. Medição da atividade primária de uma solução de Am-241 usando gravimetria de jato de tinta de microgramas e espectrometria de energia de decaimento) encontra-se aqui.
Descubra a tecnologia de ponta Betavib e os recursos superiores do VIBWORKS LT, o que há de mais moderno em soluções portáteis de monitoramento de condições. O VIBWORKS LT utiliza tecnologia avançada de IA para fornecer coleta e análise de dados em tempo real, garantindo uma tomada de decisão aprimorada para diversas estratégias de manutenção. Ele se integra perfeitamente aos fluxos de trabalho existentes, exigindo configuração e treinamento mínimos, reduzindo assim os períodos de transição e os custos associados.
Ao oferecer recursos abrangentes de análise, o coletor de dados de vibração VIBWORKS LT foi projetado para otimizar estratégias de manutenção e aumentar a confiabilidade do equipamento. Com detecção inteligente de anomalias, o sistema prevê potenciais problemas bem antes que eles se transformem em paradas dispendiosas. Ao detectar uma anomalia, a IA sugere as causas mais prováveis e recomenda soluções práticas, agilizando o processo de solução de problemas e economizando tempo e recursos valiosos.
Além disso, o VIBWORKS LT conta com recursos de geração de relatórios, permitindo a geração de relatórios com um único clique. Essa funcionalidade é essencial para documentar problemas, ações tomadas e garantir a conformidade regulatória, bem como para manter registros históricos. A interface amigável do sistema permite fácil navegação e ajustes de configuração, tornando-o acessível a usuários com diferentes níveis de conhecimento técnico.
A arquitetura robusta do VIBWORKS LT garante que todas as máquinas estejam sob vigilância adequada, com listagens abrangentes de máquinas


que detalham seu status operacional. Isso garante que nenhuma máquina passe despercebida, proporcionando uma visão geral clara de toda a frota de ativos. O módulo de IA aprimora sua precisão diagnóstica ao longo do tempo, aproveitando dados históricos, tornando o sistema mais confiável e detalhado a cada análise.
No geral, o coletor de dados de vibração portátil VIBWORKS LT oferece uma solução inovadora, eficiente e econômica para aquisição de dados de alta qualidade e análise de vibração, ajudando as indústrias a ficarem à frente de possíveis falhas de máquinas e otimizando as práticas de manutenção de forma eficaz.
A Speedcast, provedora de serviços de comunicações e TI, lançou a nova geração de sua solução de gerenciamento de rede SIGMA™. As melhorias incluem uma nova arquitetura para enfrentar os desafios de visibilidade, controle, conformidade e segurança no gerenciamento de ambientes de Edge Computing distribuídos. O novo sistema operacional e a plataforma de orquestração nativa da nuvem foram projetados para implementações virtualizadas, com atualizações e configurações baseadas em políticas corporativas, com o objetivo de automatizar em grande escala e possibilitar implantações contínuas e simplificadas em dezenas de milhares de dispositivos de ponta.
A Speedcast constatou uma demanda crescente por integração de serviços de órbita terrestre baixa (LEO) à sua plataforma SIGMA, oferecendo uma solução eficiente para conectividade remota. O SIGMA suporta uma ampla gama de serviços, incluindo Starlink, OneWeb e outras constelações emergentes, além de opções tradicionais de conectividade, operacionalizando soluções corporativas SD-WAN multivendor e diversas outras aplicações industriais por meio de uma implantação de ponta altamente flexível e automatizada e um marketplace integrado.
A geração recém-lançada do SIGMA melhora a visibilidade e o controle de locais remotos, possibilita a diversificação de hardware com redução de custos e promove maior automação nas implantações e atualizações — essencial para gerenciar o crescimento exponencial de edge devices. O SIGMA reúne conectividade de rede segura, proteção avançada de firewall e segurança robusta baseada em hardware, como measured boot para garantir inicialização segura do sistema, acesso baseado em funções com modelo Zero Trust, criptografia de dados e desativação de portas físicas não utilizadas nos dispositivos, prevenindo violações ou acessos não autorizados.
Além disso, representa um elemento fundamental para atender aos novos Requisitos Unificados da Associação Internacional de Sociedades de Classificação (IACS), que visam garantir que navios priorizem a cibersegurança desde sua construção. A tecnologia nativa da nuvem do SIGMA oferece segurança de rede adicional e garante que o design, a configuração, a implantação e o ciclo de vida das aplicações estejam em conformidade com esses padrões mais exigentes, voltados aos proprietários e operadores de frotas.


A STANLEY, tradicional fabricante de ferramentas do mundo, apresenta o sistema de armazenamento personalizável, empilhável e expansível PRO-STACK™, que conta com módulos diversos e capazes de armazenar diferentes tipos de ferramentas. Todos os itens contam com travas laterais para conectarem entre si e são compatíveis com a linha TSTAK da DEWALT.
A linha PRO-STACK™ chega ao Brasil com 9 produtos, todos com a possibilidade conectarem entre si. Para quem deseja por algo ideal para armazenar e transportar ferramentas elétricas grandes, a Torre de Armazenamento Móvel de 3 Módulos FATMAX® PRO-STACK™ - FMST1-80103 é a melhor escolha. Este módulo possui rodas de 7” para segurança e mobilidade suave, travas e dobradiças antiferrugem, alça de transporte e um orifício de cadeado para segurança.
Para quem deseja um grande espaço de armazenamento e ao mesmo tempo, bandejas removíveis para também guardar ferramentas manuais e peças pequenas, a Caixa Profunda FATMAX® PRO-STACK™ - FMST1-71971 é feita para atender a essas necessidades. Assim como o módulo anterior, ela também possui travas e dobradiças de metal antiferrugem, alça de transporte e um orifício de cadeado para segurança, mas o principal diferencial é a bandeja removível.
Com dimensões semelhantes à Caixa Profunda FATMAX® PRO-STACK™, a STANLEY também apresenta a Caixa Aberta FATMAX® PRO-STACK™ - FMST1-75794, que possui grande abertura para fácil acesso das ferramentas armazenadas, além de alça dobrável que garante conforto e facilidade no transporte.
A empresa também lançou módulos de tamanho reduzido, ideais para armazenar ferramentas manuais e elétricas menores, como a Caixa Rasa FATMAX® PRO-STACK™ - FMST171966, que possui uma inserção de espuma para personalização do interior da caixa, além dos fechos e dobradiças de metal antiferrugem; e a Caixa de 2 Gavetas FATMAX® PRO-STACK™ - FMST1-71969, que conta com duas gavetas divisórias e uma alça de transporte.
Para o transporte fácil e que pode servir de base para uma torre de armazenamento inteiramente feita de módulos da linha PRO-STACK™, a marca disponibiliza o Carrinho FATMAX® PRO-STACK™ - FMST1-72363, com rodas robustas e bloqueáveis, além de uma alça dobrável. Com o mesmo intuito, também tem a Caixa de Armazenamento Móvel FATMAX® PRO-STACK™ - FMST1-75753, que além de contar com as rodas de 7”, sua caixa comporta grandes ferramentas elétricas e conta com as travas e dobradiças de metal antiferrugem, orifício de cadeado e uma alça de transporte.
Já para quem precisa de algo móvel e que tenha uma capacidade excepcional de armazenamento, além de alta resistência, o Baú de Fácil Acesso de 113 litros FATMAX® PRO-STACK™ - FMST17870-1, maior módulo de toda a linha, tem a capacidade máxima de armazenar 50Kg, alça telescópica e uma tampa de fácil acesso das ferramentas. O módulo conta ainda com certificado IP54, contra poeira e água, além de ter as travas e dobradiças antiferrugem.


A Heller quer dar o próximo passo no treinamento técnico e está lançando o Tokn, sucessor do já consagrado treinador profissional. O que não mudou é que se trata de uma máquina CNC miniaturizada para fins de treinamento e instrução, montada e programada pelos alunos da Heller. A novidade não é apenas o design atraente, mas, acima de tudo, uma infinidade de recursos técnicos e componentes integrados que tornam o Tokn um sistema de treinamento de última geração.
@Gebr. Heller Maschinenfabrik GmbH
O chamado Profitrainer tem uma longa história como máquina CNC para fins de treinamento. Com o Tokn, a Heller adaptou esse conceito e o alinhou à tecnologia moderna. O objetivo: fornecer aos alunos uma ferramenta que, em termos de controle, operação e digitalização, corresponda aos centros de usinagem de última geração – mas de forma condensada e didática. Ao contrário do modelo anterior, a máquina foi projetada desde o início como uma máquina de cinco eixos, o que permite o treinamento prático nas áreas de usinagem simultânea e interpolada. E o posicionamento da peça também foi aprimorado: ela está posicionada mais próxima do fuso para permitir movimentos de fresamento realistas, mantendo um design compacto.
O conceito básico não mudou: o foco está no princípio pedagógico de “aprender fazendo”. A máquina é feita como na construção tradicional de máquinas-ferramenta, desde o primeiro modelo CAD até o comissionamento final. Todas as áreas de treinamento técnico estão envolvidas: projetistas de produto, operadores de usinagem, mecânicos industriais, engenheiros mecatrônicos e engenheiros eletrônicos para tecnologia de automação. Cada aprendiz assume tarefas reais, documenta seu trabalho e faz parte de uma equipe interdisciplinar. A característica central do conceito educacional é a transferibilidade do que foi aprendido para máquinas industriais em série.


A Ammeraal Beltech, empresa do Grupo AMMEGA, apresenta a Flex One, esteira modular com múltiplas curvas e montagem tipo “lego”. Projetada para atender às crescentes demandas por eficiência, flexibilidade e segurança nas linhas industriais, a solução se destaca pela limpeza simplificada, resistência e confiabilidade em ambientes exigentes. Com capacidade para formar trechos longos com múltiplas curvas em um único sistema, a esteira reduz significativamente a necessidade de motores adicionais e pontos de transferência, dois elementos que costumam aumentar a complexidade e os custos operacionais. Um dos grandes diferenciais da Flex One é seu sistema de montagem simplificado. Sem o uso de varetas, as peças modulares se encaixam como blocos de montar, permitindo uma instalação rápida, fácil e intuitiva. Isso reduz o tempo de manutenção e facilita adaptações no layout das linhas sempre que necessário. A flexibilidade no projeto permite que a esteira acompanhe curvas suaves e alterações de direção sem comprometer a estabilidade do transporte.


A busca por alternativas sustentáveis e soluções para autonomia energética ganha um novo capítulo. A EcoFlow, empresa de tecnologia de energia portátil e limpa, apresenta o Delta Pro Ultra.
A nova estação de energia foi desenvolvida para atender a necessidade de sistemas que garantam autonomia durante quedas de energia, além de serem integráveis a sistemas solares. O Delta Pro Ultra é modular, expansível e opera de forma silenciosa, permitindo que os usuários mantenham em funcionamento desde eletrodomésticos essenciais até sistemas completos de uma residência.
Contém um Inversor de 7000W, uma bateria de 6000Wh e a base com rodinhas, a bateria recarregável básica tem capacidade de até 90kWh. O modo de empilhamento economiza espaço. Mas a linha tem sistemas modulares com saída de 7200W a 21.600W, opções de saída USB, 120 e 240VAC. Com uma saída de 7200W, o EcoFlow DELTA Pro Ultra funciona sem esforço até mesmo com alta demanda de energia e, para mais potência, emparelhe 3 inversores com o EcoFlow Smart Home Panel 2 para desbloquear uma saída CA de 21600W. Além disso, com o X-Fusion você terá uma saída constante de 7200W, não importa o aparelho.
No Brasil, a EcoFlow é representada oficialmente pelo Grupo Timber.


Quer car por dentro de tudo o que já foi publicado? Acesse a nossa coleção completa, sem custo e de onde estiver.





Receba em primeira mão nossas newsletters exclusivas e que por dentro do lançamento de cada edição da revista! Notícias, insights, e tendências direto no seu e-mail.
INSCREVA-SE AGORA!
