Ducati Omaha OEM Parts Diagram 2023 Scrambler 1100 Tribute Pro

Page 1

1100 TRIBUTE PRO USA Model Year 2023 Chassis prefix: Cylinder capacity: 1079 D31000023 SPARE PARTS CATALOGUE en-US SCRAMBLER

CHARACTERISTICS LEGENDA

GENERAL INFORMATION SPARE PARTS CATALOGUE 04/07/2022 Page 3 / 160 1100 TRIBUTE PRO USA /23 D31000023 The present spare parts order exactly the right spare parts. When ordering specify: 1. the part's code number followed by its description and quantity needed; 2. the motorcycle's serial number, stamped on the steering head. Reference to right and left apply to the vehicle in terms of its direction of move-ment. Spare parts drawings are general and do not represent the part. The contents of this catalogue are general and can undergo changes without prior notice.
CHARACTERISTIC CODE CHARACTERISTIC DESCRIPTION VALUE CODE VALUE DESCRIPTION CPT PART CAR STD MOTO STANDARD DFR DFR N NO MOD MODEL SCR11AR 1100 Tribute PRO PLT PLANT DB10 DMH XCO MAIN CLR ARC GIALLO OCRA XCR FR/W COL CBB CARB. BLACK FRAME,BLACK WHEELS XST STD CNTY CAL VERSIONE CALIFORNIA
COLOURS 1100 TRIBUTE PRO USA /23 D31000023 Page 4 / 160 SPARE PARTS CATALOGUE 04/07/2022 COLOUR COLOUR CODE COLOUR DESCRIPTION FINISHED PRODUCTS ARC GIALLO OCRA (D31006123) SCR11AR 23 CAL ARC CBB STD DMH
INDEX SPARE PARTS CATALOGUE 04/07/2022 Page 5 / 160 1100 TRIBUTE PRO USA /23 D31000023 General information.................................................................................................................................................................................................................................................................................... 3 Colours.........................................................................................................................................................................................................................................................................................................4 Group ELECTRIC 8 Drawing 13A - WIRING HARNESS (COIL)...............................................................................................................................................................................................................................................8 Drawing 13B - VEHICLE ELECTRIC SYSTEM..........................................................................................................................................................................................................................................10 Drawing 13C - BATTERY HOLDER........................................................................................................................................................................................................................................................ 12 Drawing 13D - ELECTRICAL DEVICES................................................................................................................................................................................................................................................... 14 Drawing 13E - ELECTRICAL DEVICES 16 Drawing 14A - HEADLIGHT.................................................................................................................................................................................................................................................................. 18 Drawing 14B - TAILLIGHT.....................................................................................................................................................................................................................................................................20 Drawing 15A - INSTRUMENT PANEL....................................................................................................................................................................................................................................................22 Group OIL.................................................................................................................................................................................................................................................................................................. 24 Drawing L - SHELL ADVANCE...............................................................................................................................................................................................................................................................24 Group ENGINE........................................................................................................................................................................................................................................................................................... 26 Drawing 02A - SHIFT CAM - FORK...................................................................................................................................................................................................................................................... 26 Drawing 03A - GEAR BOX....................................................................................................................................................................................................................................................................28 Drawing 03B - CLUTCH (FCC)...............................................................................................................................................................................................................................................................30 Drawing 04A - CLUTCH COVER............................................................................................................................................................................................................................................................32 Drawing 04B - GENERATOR COVER.....................................................................................................................................................................................................................................................34 Drawing 05A - CONNECTING RODS.....................................................................................................................................................................................................................................................36 Drawing 06A - CYLINDERS - PISTONS..................................................................................................................................................................................................................................................38 Drawing 07A - TIMING SYSTEM 40 Drawing 08A - OIL PUMP.................................................................................................................................................................................................................................................................... 42 Drawing 09A - HALF-CRANKCASES PAIR..............................................................................................................................................................................................................................................44 Drawing 09B - HALF-CRANKCASES PAIR.............................................................................................................................................................................................................................................. 48 Drawing 10A - ELECTRIC STARTING AND IGNITION............................................................................................................................................................................................................................ 50 Drawing 11A - VERTICAL CYLINDER HEAD - TIMING 52 Drawing 11B - HORIZONTAL HEAD – TIMING SYSTEM....................................................................................................................................................................................................................... 54 Drawing 11C - VERTICAL HEAD........................................................................................................................................................................................................................................................... 56
INDEX 1100 TRIBUTE PRO USA /23 D31000023 Page 6 / 160 SPARE PARTS CATALOGUE 04/07/2022 Drawing 11D - HORIZONTAL HEAD..................................................................................................................................................................................................................................................... 64 Group TOOLS............................................................................................................................................................................................................................................................................................. 72 Drawing 01A - DDS TESTER................................................................................................................................................................................................................................................................. 72 Drawing 01B - WORKSHOP SERVICE TOOLS, ENGINE.........................................................................................................................................................................................................................74 Drawing 01C - WORKSHOP SERVICE TOOLS, FRAME..........................................................................................................................................................................................................................76 Group TYRES 78 Drawing A1 - TYRES.............................................................................................................................................................................................................................................................................78 Drawing B1 - (*) PIRELLI MT 60â„¢ RS..................................................................................................................................................................................................................................................80 Drawing C1 - PIRELLI ANGELâ„¢ GT.......................................................................................................................................................................................................................................................82 Drawing I - PIRELLI SCORPIONâ„¢ RALLY STR........................................................................................................................................................................................................................................84 Group FRAME 86 Drawing 16A - STAND..........................................................................................................................................................................................................................................................................86 Drawing 17A - FRONT SPROCKET - CHAIN..........................................................................................................................................................................................................................................88 Drawing 18A - STEERING ASSEMBLY................................................................................................................................................................................................................................................... 90 Drawing 18B - FRONT FORK................................................................................................................................................................................................................................................................92 Drawing 19A - REAR SWINGING ARM.................................................................................................................................................................................................................................................94 Drawing 20A - FRONT BRAKE PUMP...................................................................................................................................................................................................................................................96 Drawing 20B - FRONT BRAKE SYSTEM................................................................................................................................................................................................................................................ 98 Drawing 20C - BRAKING SYSTEM ABS...............................................................................................................................................................................................................................................100 Drawing 20D - REAR BRAKE SYSTEM................................................................................................................................................................................................................................................ 102 Drawing 21A - PLATE HOLDER...........................................................................................................................................................................................................................................................104 Drawing 22A - HANDLEBAR...............................................................................................................................................................................................................................................................106 Drawing 22B - CLUTCH CONTROL..................................................................................................................................................................................................................................................... 108 Drawing 23A - REAR SHOCK ABSORBER........................................................................................................................................................................................................................................... 110 Drawing 24A - FRONT MUDGUARD 112 Drawing 26A - FOOTRESTS, LEFT.......................................................................................................................................................................................................................................................114 Drawing 26B - FOOTRESTS, RIGHT.................................................................................................................................................................................................................................................... 116 Drawing 27A - REAR MUDGUARD.....................................................................................................................................................................................................................................................118 Drawing 28A - FRONT WHEEL...........................................................................................................................................................................................................................................................120 Drawing 29A - REAR WHEEL 122
INDEX SPARE PARTS CATALOGUE 04/07/2022 Page 7 / 160 1100 TRIBUTE PRO USA /23 D31000023 Drawing 30A - TANK.......................................................................................................................................................................................................................................................................... 124 Drawing 31A - EXHAUSRT PIPE ASSY................................................................................................................................................................................................................................................ 126 Drawing 31B - EXHAUST SILENCER....................................................................................................................................................................................................................................................128 Drawing 32A - SEAT........................................................................................................................................................................................................................................................................... 130 Drawing 33A - FRAME....................................................................................................................................................................................................................................................................... 132 Drawing 33B - REAR FRAME COMP. 134 Drawing 34A - OIL COOLER............................................................................................................................................................................................................................................................... 136 Drawing 35A - AIR INTAKE - OIL BREATHER......................................................................................................................................................................................................................................138 Drawing 35B - SECONDARY AIR SYSTEM...........................................................................................................................................................................................................................................140 Drawing 36A - THROTTLE BODY........................................................................................................................................................................................................................................................142 Drawing 36B - CANISTER FILTER 144 Drawing 37A - FAIRING......................................................................................................................................................................................................................................................................146 Drawing 38A - POSITIONING PLATES.................................................................................................................................................................................................................................................148 Alphanumeric index.................................................................................................................................................................................................................................................................................150
DRAWING 13A - WIRING HARNESS (COIL) GROUP ELECTRIC 1100 TRIBUTE PRO USA /23 D31000023 Page 8 / 160 SPARE PARTS CATALOGUE 04/07/2022
DRAWING 13A - WIRING HARNESS (COIL) GROUP ELECTRIC SPARE PARTS CATALOGUE 04/07/2022 Page 9 / 160 1100 TRIBUTE PRO USA /23 D31000023 POS. CODE DESCRIPTION QTY VALIDITY NOTES 1 38040101C IGNITION COIL 2 2 67110771B CABLE, VERTICAL HEAD SPARK PLUG LH 1 3 67110781B CABLE, HORIZONTAL HEAD SPARK PLUG LH 1 4 67110792B CABLE, VERTICAL HEAD SPARK PLUG RH 1 5 67110802B CABLE, HORIZONTAL HEAD SPARK PLUG RH 1
DRAWING 13B - VEHICLE ELECTRIC SYSTEM GROUP ELECTRIC 1100 TRIBUTE PRO USA /23 D31000023 Page 10 / 160 SPARE PARTS CATALOGUE 04/07/2022
DRAWING 13B - VEHICLE ELECTRIC SYSTEM GROUP ELECTRIC SPARE PARTS CATALOGUE 04/07/2022 Page 11 / 160 1100 TRIBUTE PRO USA /23 D31000023 POS. CODE DESCRIPTION QTY VALIDITY NOTES 1 5101F841E MAIN WIRING HARNESS 1 2 74110551A CLAMP, RUBBER 39MM 2 3 77211061A SCREW TEF M6X14 1 4 85550001B SPRING WASHER 1 5 38940191A FUSE 5A 1 38940201A FUSE 10A 1 38940211A FUSE 15A 1 38940221A FUSE 20A 1 38940241A FUSE 7,5A 1 38940261A FUSE 25A 1 38940301A FUSE 3A 1 6 87211681A CAP DDA 1 7 75840991A CLAMP 1 8 86612641A RUBBER PAD 1 9 54140101A RELAY 3 10 5101D211D INJECTION WIRING 1 11 75840771A FAIRLEAD 1 12 4601G811A PROTECTION SHEATH 1 13 5101E251B REAR WIRING 1 14 74140381A CLAMP 1 15 4601H701A PROTECTION SHEATH 1
DRAWING 13C - BATTERY HOLDER GROUP ELECTRIC 1100 TRIBUTE PRO USA /23 D31000023 Page 12 / 160 SPARE PARTS CATALOGUE 04/07/2022
DRAWING 13C - BATTERY HOLDER GROUP ELECTRIC SPARE PARTS CATALOGUE 04/07/2022 Page 13 / 160 1100 TRIBUTE PRO USA /23 D31000023 POS. CODE DESCRIPTION QTY VALIDITY NOTES 1 8292A712A HOLDER 1 2 77240453C SCREW TBEIF M6X22 10.9 9 3 71610031A SPACER 2 4 76410241A VIBRATION DAMPER PAD 5 5 86611521A VIBRATION DAMPER HOLDER 1 6 38511163A BLACKBOX UNIT 1 7 76412421B HOLDER 1 8 38640591A SOCKET, LOW VOLTAGE 1 9 82714821A PLATE 1 10 59820611A SEAT LOCK 1 11 75011551A NUT M22X1.5 1 12 71615091AA SPACER 9 13 76411491A RUBBER PAD 9 14 8301A611AA BRACKET 1 15 38540073B PIATTAFORMA INERZIALE 1 16 74941118B NUT 6MM 2 17 77240433C SCREW 2 18 71610061A SPACER 3 19 86611921A BATTERY CARPET 1 20 77440131A SCREW, TAPPING 5X25 WN1411 3 21 75910371A BAND BATTERY 1 22 69926751A BATTERY 1 23 8291H051B BOX, BATTERY 1 24 51410911B CABLE 1 25 51410921B CABLE 1 26 51310782B BATTERY - ENGINE GROUNDING CABLE 1 27 39740081B STARTER RELAY 1 28 77156628B SCREW TCEIF M6X10 2 29 85350101A WASHER, SPRING 2 30 38940231A FUSE 30A 1 31 59810401A LOCK LATCH 1 32 67210471A CAP 1 33 85350091A WASHER, SPRING 1 34 75050051A NUT 6MM 1 35 77240308C SCREW 2
DRAWING 13D - ELECTRICAL DEVICES GROUP ELECTRIC 1100 TRIBUTE PRO USA /23 D31000023 Page 14 / 160 SPARE PARTS CATALOGUE 04/07/2022
DRAWING 13D - ELECTRICAL DEVICES GROUP ELECTRIC SPARE PARTS CATALOGUE 04/07/2022 Page 15 / 160 1100 TRIBUTE PRO USA /23 D31000023 POS. CODE DESCRIPTION QTY VALIDITY NOTES 1 28643411C ENGINE CONTROL UNIT 1 2 51610043C HORN 1 3 77211021A SCREW TBEIF M6X10 1 4 54040111C VOLTAGE REGULATOR 1 5 55212121B SENSOR, SPEED 2 6 71314901A GASKET TH.02 4 71319201A GASKET 0.5 MM 3 7 77210423C SCREW TBEIF M6X16 2 8 55240121A SENSOR, AIR TEMPERATURE 1
DRAWING 13E - ELECTRICAL DEVICES GROUP ELECTRIC 1100 TRIBUTE PRO USA /23 D31000023 Page 16 / 160 SPARE PARTS CATALOGUE 04/07/2022
DRAWING 13E - ELECTRICAL DEVICES GROUP ELECTRIC SPARE PARTS CATALOGUE 04/07/2022 Page 17 / 160 1100 TRIBUTE PRO USA /23 D31000023 POS. CODE DESCRIPTION QTY VALIDITY NOTES 1 89520481B TANK CAP COMPLETE 1 89520481C TANK CAP COMPLETE 1 2 51840051B COIL ANTENNA, IMMOBILIZER 1 3 86640111A GASKET, FUEL TANK CAP 1 4 59840291A KEY, NON INDENTED WITHOUT TRANSPONDER 1 5 65220241D KEY-OPERATED SWITCH 1 6 59810201A KEY WITH TRANSPONDER 1 7 59821441E LOCKS KIT 1 59821581C LOCKS KIT 1 8 77151278B SCREW TCEI M8X30 2 9 76411301A RUBBER PAD 2 10 77210882C SCREW 1 11 85250311AB WASHER 2 12 77244168B SCREW 1 13 75811611A HOSE GUIDE 1
DRAWING 14A - HEADLIGHT GROUP ELECTRIC 1100 TRIBUTE PRO USA /23 D31000023 Page 18 / 160 SPARE PARTS CATALOGUE 04/07/2022
DRAWING 14A - HEADLIGHT GROUP ELECTRIC SPARE PARTS CATALOGUE 04/07/2022 Page 19 / 160 1100 TRIBUTE PRO USA /23 D31000023 POS. CODE DESCRIPTION QTY VALIDITY NOTES 1 74841101AA NUT 6MM 2 2 77150768B SCREW TCEI M6X55 2 3 70040241A VIBRATION DAMPER 2 4 74941118B NUT 6MM 2 5 7131A792A BUSH 2 6 76410641A VIBRATION DAMPER PAD 2 7 46020031AB COVER 1 8 52010541A HEADLIGHT FRONT 1 9 77510171A SCREW TBEI M5X16 4 10 8291E041A U-BOLT KIT 2 11 71011901A SPINDLE, TAPER 2 12 71115491A SPACER 4 13 85340021A SPRING WASHER 4 14 77941952A SCREW, HEADLIGHT ADJUSTING 1 15 68540081A COTTER PIN 1 16 79940201A SPRING 1 17 53010236B FLASHER LIGHT FRONT RH- REAR LH 1 18 77240263C SCREW 2 19 7131D001A SPACER, FLASHER LIGHT 2 20 53010226B FLASHER LIGHT FRONT LH - REAR RH 1 21 8291H361BA BRACKET 1 22 77150258B SCREW 1 23 39040341A PLUG ASSY 1 24 39040291A BULB 1 25 77110441A SCREW TCEIF M5X16 2 26 39040211A BULB 2
DRAWING 14B - TAILLIGHT GROUP ELECTRIC 1100 TRIBUTE PRO USA /23 D31000023 Page 20 / 160 SPARE PARTS CATALOGUE 04/07/2022
DRAWING 14B - TAILLIGHT GROUP ELECTRIC SPARE PARTS CATALOGUE 04/07/2022 Page 21 / 160 1100 TRIBUTE PRO USA /23 D31000023 POS. CODE DESCRIPTION QTY VALIDITY NOTES 1 52510508A TAILLIGHT 1 2 76411671A RUBBER PAD 2 3 85240131A WASHER 5.3X15X1 2 4 77510171A SCREW TBEI M5X16 2 5 71615261AA SPACER 2 6 77110441A SCREW TCEIF M5X16 2 7 76412281A RUBBER PAD 2 8 71314703A SPACER 2 9 53010236B FLASHER LIGHT FRONT RH- REAR LH 1 10 53010226B FLASHER LIGHT FRONT LH - REAR RH 1 11 39040211A BULB 2
DRAWING 15A - INSTRUMENT PANEL GROUP ELECTRIC 1100 TRIBUTE PRO USA /23 D31000023 Page 22 / 160 SPARE PARTS CATALOGUE 04/07/2022
DRAWING 15A - INSTRUMENT PANEL GROUP ELECTRIC SPARE PARTS CATALOGUE 04/07/2022 Page 23 / 160 1100 TRIBUTE PRO USA /23 D31000023 POS. CODE DESCRIPTION QTY VALIDITY NOTES 1 40611761B INSTRUMENT PANEL 1 40611761C INSTRUMENT PANEL 1 2 24714911A COVER, METER 1 3 71615151AA SPACER 3 4 76411141A VIBRATION DAMPER PAD 3 5 77150443B SCREW TCEI M5X22 UNI5931 8.8 3
DRAWING L - SHELL ADVANCE GROUP OIL 1100 TRIBUTE PRO USA /23 D31000023 Page 24 / 160 SPARE PARTS CATALOGUE 04/07/2022
DRAWING L - SHELL ADVANCE GROUP OIL SPARE PARTS CATALOGUE 04/07/2022 Page 25 / 160 1100 TRIBUTE PRO USA /23 D31000023 POS. CODE DESCRIPTION QTY VALIDITY NOTES 1 944650035 SHELL ADVANCE DUCATI 15W50 - 1L BOTTLE 1 2 944650037 SHELL ADVANCE DUCATI 15W50 – 209L DRUM 1
DRAWING 02A - SHIFT CAM - FORK GROUP ENGINE 1100 TRIBUTE PRO USA /23 D31000023 Page 26 / 160 SPARE PARTS CATALOGUE 04/07/2022

77912033A

027291090

066013143

768351134

180Z0031A

180Z0041A

82113881A

85210051A

735001542

82610261A

040029126

18220691B

85210941A

79912961A

040009050

88450341B

88110121A

55243911A

82120151A

WASHER 15.5X22X0.5

WASHER

WASHER

DRAWING 02A - SHIFT CAM - FORK GROUP ENGINE SPARE PARTS CATALOGUE 04/07/2022 Page 27 / 160 1100 TRIBUTE PRO USA /23 D31000023 POS. CODE DESCRIPTION QTY VALIDITY NOTES 1 77151250ZF SCREW 1 2 71319151A SPACER 1 3 77150670ZF SCREW 1 4 79915061A SPRING, SHIFT RETURN 1 5 82114731A GEAR SELECTOR SHAFT 1 6 18020511A CONTROL FORK 1 7
SCREW M16X1.5 1 8
GASKET 16.2X24X2 1 9
GEAR SELECTOR SPRING 1 10
BALL 11MM 1 11
GEAR SELECTOR FORK,1ST/4TH-2ND/3RD 2 12
FORK-SHIFT, 5TH&6TH 1 13
FORK PIN 2 14
THRUST WASHER 1 MM 1 15
CIRCLIP 15 DIN 471 1 16
STOPPER PLATE 1 17
THRUST
1 18
COMPLETE GEARBOX DRUM 1 19
THRUST
45.2X49X0.9 1 20
RETURN SPRING 1 21
THRUST
10.5X16X0.5 1 22
SPRING RING 1 23
CENTERING RING 1 24
MAGNETE 1 25
CONTROL FORK 1
DRAWING 03A - GEAR BOX GROUP ENGINE 1100 TRIBUTE PRO USA /23 D31000023 Page 28 / 160 SPARE PARTS CATALOGUE 04/07/2022

14911101A

15021961B

70140051A

17214961B

88210141A

17214951B

17214971B

17210021B

71310141E

14911191A

17212192A

46320537A

DRIVE,

SHAFT

71312661A THRUST WASHER

15021971A COMPLETE LAY SHAFT

70140211A BEARING, NEEDLE

17212182A DRIVEN GEAR

85611231A THRUST WASHER

17210103C

17214621A

17210081C

17210113C

SPEED

SPEED

SPEED

DRAWING 03A - GEAR BOX GROUP ENGINE SPARE PARTS CATALOGUE 04/07/2022 Page 29 / 160 1100 TRIBUTE PRO USA /23 D31000023 POS. CODE DESCRIPTION QTY VALIDITY NOTES 1 71313931A SPACER, ENGINE SPROCKET 1 2
GEARBOX MAIN SHAFT 1 3
COMPLETE MAIN SHAFT 1 4
BEARING, NEEDLE 5 5
GEAR DRIVE 5TH SPEED T23 1 6 85611261A THRUST WASHER 0.5 MM 6 7
SPRING RING 6 8
GEAR DRIVE 3/4TH SPEED T20/22 1 9
GEAR DRIVE 6TH SPEEDTt24 1 10
GEAR, 2ND
NT:17 1 11
THRUST WASHER 20.3X32X1.6 1 12
LAY
1 13
DRIVEN GEAR 2ND SPEED T30 1 14
O-RING 1 15
17.3X31X3.15 1 16
1 17
1 18
1ST
T37 1 19
1 MM 1 20
DRIVEN GEAR 5TH SPEED T24 1 21
DRIVEN GEAR 4TH
T:24 1 22
DRIVEN GEAR 3RD SPEED T28 1 23
DRIVEN GEAR 6TH
T23 1
DRAWING 03B - CLUTCH (FCC) GROUP ENGINE 1100 TRIBUTE PRO USA /23 D31000023 Page 30 / 160 SPARE PARTS CATALOGUE 04/07/2022
DRAWING 03B - CLUTCH (FCC) GROUP ENGINE SPARE PARTS CATALOGUE 04/07/2022 Page 31 / 160 1100 TRIBUTE PRO USA /23 D31000023 POS. CODE DESCRIPTION QTY VALIDITY NOTES 1 79710721A SPRING 3 2 85611391B THRUST WASHER 3 3 77211201A SCREW 3 4 19410511A RING 1 5 81810162A CLUTCH CONTROL PIN 1 6 88641731A O-RING 1.78X4.76 2 7 75010071E NUT M25X1.5 1 8 85110201A LOCK WASHER 1 9 19020531A CLUTCH DISC SET 1 10 70250601A BEARING 1 11 19610542C DISK, CLUTCH PRESSURE 1 12 19610681A PLATE HOLDER HUB 1 13 71313091A SPACER 1 14 19820441A PRIMARY DRIVEN GEAR COMP. 1 15 71314831B SPACER 1 16 11723621A CLUTCH CONTROL ROD 1 17 17021361A PRIMARY DRIVE FRONT SPROCKET 1
DRAWING 04A - CLUTCH COVER GROUP ENGINE 1100 TRIBUTE PRO USA /23 D31000023 Page 32 / 160 SPARE PARTS CATALOGUE 04/07/2022
DRAWING 04A - CLUTCH COVER GROUP ENGINE SPARE PARTS CATALOGUE 04/07/2022 Page 33 / 160 1100 TRIBUTE PRO USA /23 D31000023 POS. CODE DESCRIPTION QTY VALIDITY NOTES 1 24321571AZ CLUTCH COVER 1 2 066549680 BUSH 1 3 25440013A WINDOW, OIL LEVEL CHECK 1 4 48611941A DAMPER, SOUND ARRESTER 1 5 77510721A SCREW 6 6 78011001B PLUG, THREADED M10X1 1 7 8271F641A SHEET ACOUSTIC DAMPER 1 8 85213601A WASHER, THRUST 1 9 85250631A WASHER 1 10 88450711A SPRING RING 1 11 89320191A PLUG ASSY 1 12 88642301A O-RING 1 13 93040211A OIL SEAL 1 14 77140717C SCREW TCEIF M6X30 10.9 6 15 77140817C SCREW TCEIF M6X80 10.9 3 16 77140837C SCREW TCEIF M6X90 10.9 1 17 43313911A TRANSFER 1
DRAWING 04B - GENERATOR COVER GROUP ENGINE 1100 TRIBUTE PRO USA /23 D31000023 Page 34 / 160 SPARE PARTS CATALOGUE 04/07/2022
DRAWING 04B - GENERATOR COVER GROUP ENGINE SPARE PARTS CATALOGUE 04/07/2022 Page 35 / 160 1100 TRIBUTE PRO USA /23 D31000023 POS. CODE DESCRIPTION QTY VALIDITY NOTES 1 24221561AZ GENERATOR COVER 1 2 70250081A BALL BEARING 6003 TN9 C3 1 3 88450721A SPRING RING 1 4 55243941B GEARBOX POSITION SENSOR 1 5 72050069E SCREW 2 6 77350738BC SCREW 3 7 82716091A PLATE 1 8 24714771AC COVER 1 9 77140677C SCREW 2 10 77140717C SCREW TCEIF M6X30 10.9 9 11 77140727C SCREW 2 12 77750498C SCREW TSPEI M6X14 2 13 77916041D SCREW, SPECIAL 1 14 88610951A O-RING 32.99X2.62 1 15 93042691A SEAL RING 1 16 83014941B CLAMP, WIRE 1
DRAWING 05A - CONNECTING RODS GROUP ENGINE 1100 TRIBUTE PRO USA /23 D31000023 Page 36 / 160 SPARE PARTS CATALOGUE 04/07/2022
DRAWING 05A - CONNECTING RODS GROUP ENGINE SPARE PARTS CATALOGUE 04/07/2022 Page 37 / 160 1100 TRIBUTE PRO USA /23 D31000023 POS. CODE DESCRIPTION QTY VALIDITY NOTES 1 14622291AA CRANKSHAFT 1 14622291AB CRANKSHAFT 1 14622291AC CRANKSHAFT 1 2 77911092A SCREW, SPECIAL 1 3 77915471A THREADED DOWEL STEI M8X8 1 4 15820123A CONNECTING RODS PAIR 1 5 77914045B BOLT, CONNECTING ROD 4 6 68010131A KEY, WOODRUFF 4X5X10 2 7 75010121D NUT, SPECIAL 1 8 75011131A RING NUT 1 9 85140031A WASHER, LOCK 1 10 85212691A WASHER 1 11 11210121AA PLANE BEARING, CONNECTING ROD RED 4 11210121AB PLANE BEARING, CONNECTING ROD BLUE 4 11210121AC PLANE BEARING, CONNECTING ROD YELLOW 4 11210121AD PLANE BEARING, CONNECTING ROD BLACK 4 11210121AE PLANE BEARING, CONNECTING ROD GREEN 4
DRAWING 06A - CYLINDERS - PISTONS GROUP ENGINE 1100 TRIBUTE PRO USA /23 D31000023 Page 38 / 160 SPARE PARTS CATALOGUE 04/07/2022
DRAWING 06A - CYLINDERS - PISTONS GROUP ENGINE SPARE PARTS CATALOGUE 04/07/2022 Page 39 / 160 1100 TRIBUTE PRO USA /23 D31000023 POS. CODE DESCRIPTION QTY VALIDITY NOTES 1 12022761D CYLINDER-PISTON FIT HORIZONTAL 1 2 12221651E PISTON ASSY 2 3 12112111A PISTON PIN 2 4 12120452A PISTON RING SET 2 5 88440111A CIRCLIP, PISTON PIN 4 6 45120211A TENSIONER TIMING BELT FIXED 2 7 12022771D CYLINDER-PISTON FIT VERTICAL 1 8 55241452A SENSOR, TEMPERATURE 1 9 71113011B BUSH 2 10 78610981A GASKET, CYLINDER HEAD 2 11 78611411A CYLINDER-CRANKCASE GASKET 2 12 79120511B GASKETS SET 1
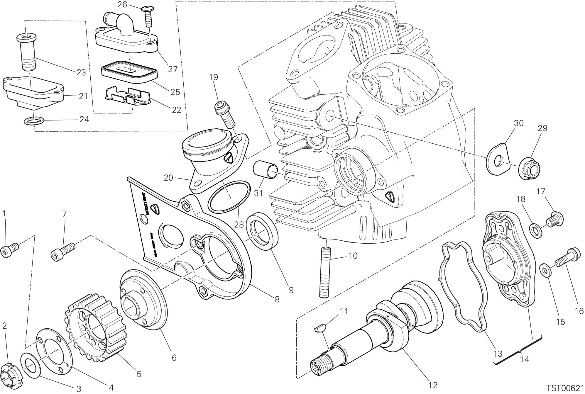
DRAWING 07A - TIMING SYSTEM GROUP ENGINE 1100 TRIBUTE PRO USA /23 D31000023 Page 40 / 160 SPARE PARTS CATALOGUE 04/07/2022
DRAWING 07A - TIMING SYSTEM GROUP ENGINE SPARE PARTS CATALOGUE 04/07/2022 Page 41 / 160 1100 TRIBUTE PRO USA /23 D31000023 POS. CODE DESCRIPTION QTY VALIDITY NOTES 1 24511691AZ VERTICAL TIMING BELT COVER 1 2 77140697CF SCREW 7 3 73740211A TIMING DRIVE TOOTHED BELT 2 4 24511701AZ HORIZONTAL TIMING BELT COVER 1 5 68010131A KEY, WOODRUFF 4X5X10 3 6 70350062A ELASTIC-STOP RING NUT 1 7 45120201A TENSIONER, TIMING BELT MOVABLE 2 8 77210103A SCREW 4 9 147Z0011A LAY SHAFT 1 10 17122421A TIMING GEARS SET 1 11 85110131A WASHER, LOCK 1 12 75011601A NUT M14X1X7 1 13 71610732A SPACER 1 14 88210031A SNAP RING 1 15 25510233A TIMING BELT PULLEY, DRIVE T20 2 16 85610623A WASHER, BELT PULLEY 1 17 71610991B SPACER 1
DRAWING 08A - OIL PUMP GROUP ENGINE 1100 TRIBUTE PRO USA /23 D31000023 Page 42 / 160 SPARE PARTS CATALOGUE 04/07/2022
DRAWING 08A - OIL PUMP GROUP ENGINE SPARE PARTS CATALOGUE 04/07/2022 Page 43 / 160 1100 TRIBUTE PRO USA /23 D31000023 POS. CODE DESCRIPTION QTY VALIDITY NOTES 1 17410621B GEAR, OIL PUMP DRIVE 1 2 70450091A ROLLER 1 3 85213021A WASHER, THRUST 1 4 88450371A SNAP RING 1
DRAWING 09A - HALF-CRANKCASES PAIR GROUP ENGINE 1100 TRIBUTE PRO USA /23 D31000023 Page 44 / 160 SPARE PARTS CATALOGUE 04/07/2022
DRAWING 09A - HALF-CRANKCASES PAIR GROUP ENGINE SPARE PARTS CATALOGUE 04/07/2022 Page 45 / 160 1100 TRIBUTE PRO USA /23 D31000023 POS. CODE DESCRIPTION QTY VALIDITY NOTES 1 225P0151A COMPLETE HALF-CRANKCASES PAIR 1 2 93041271A SEAL RING 20X26X4 4 3 14710951B OIL PUMP DRIVE SHAFT 1 4 17420731A OIL PUMP 1 5 22032083A ALUMINIUM GASKET 1 6 71110951A PIN DOWEL 2 7 24714612A OIL PUMP COVER 1 8 45520181A GEAR FIXING CLICK ASSEMBLY 1 9 59320621B BREATHER VALVE 1 10 46320222A O-RING 2 11 59310601B HOLDER READ VALVE 1 12 77150068B SCREW 3 13 77250341B SCREW, TAPPING 3.5X12 1 14 78811151A GASKET 1 15 81110021A REED VALVE ASSY 1 16 82716031A SPACER 1 17 68050101A KEY 2X2X10 1 18 70010362A DAMPER 1 19 70240131A BEARING 1 20 70240331A BEARING 17X40X12 2 21 70250081A BALL BEARING 6003 TN9 C3 1 22 70250193A BEARING 1 23 70450091A ROLLER 1 24 720941616 SCREW TSPEI M6X12 4 25 74710151A NUT 1 26 735033380 CIRCLIP 2 27 757941542 BEARING 1 28 764000004 BEARING, NEEDLE 4 29 77150653B SCREW TCEI M6X16 UNI5931 8.8 1 30 77150758B SCREW 1 31 77350658B SCREW TCEIR M6X16 7 32 77510311B SCREW TBEI M5X10 2 33 77910391A SCREW M8X21.5 1 34 77911982A THREADED PLUG M15X1 1 35 77927171B SCREW 1
DRAWING 09A - HALF-CRANKCASES PAIR GROUP ENGINE 1100 TRIBUTE PRO USA /23 D31000023 Page 46 / 160 SPARE PARTS CATALOGUE 04/07/2022
DRAWING 09A - HALF-CRANKCASES PAIR GROUP ENGINE SPARE PARTS CATALOGUE 04/07/2022 Page 47 / 160 1100 TRIBUTE PRO USA /23 D31000023 POS. CODE DESCRIPTION QTY VALIDITY NOTES 36 88641961A O-RING 1 37 77950621A THREADED DOWEL M10X1 1 38 78010921A PLUG 1 39 79910491A SPRING, RETURN 1 40 79940171A SPRING 1 41 81510281A BOLT UNION 1 42 83110151B PLATE 1 43 84740061A BALL 1 44 85210532A WASHER 8.2X20X1 1 45 85211201A ALUMINIUM GASKET 1 46 85213021A WASHER, THRUST 1 47 85250421A COPPER GASKET 12.2X18X1.5 MM 1 48 85611481A WASHER 4 49 86050061A PIN M5X10 2 50 87511461B JET 2 51 88440531A SPRING RING 2 52 88450371A SNAP RING 1 53 88640331A O-RING 17.96X2.62 2 54 88650131A O-RING 3.68X1.78 2 55 89320062A PLUG, OIL DRAIN 1 56 93040221A OIL SEAL 1 57 93040932A OIL SEAL 1 58 93041631B SEAL RING 1 59 59310801B BY-PASS VALVE 1 60 78010941C PLUG 1 61 79915741B BYPASS SPRING 1 62 79920771C BYPASS SPRING 1 63 78710111A GASKET, ALUMINIUM 14X22X2 2 64 81510221A NIPPLE, HOSEM14X1.5 2 65 85640141A WASHER 1 66 71113391C BUSH 1 67 77750508CC SCREW 4 68 77919881A SCREW, SPECIAL 2 69 82610391A PLATE 4
DRAWING 09B - HALF-CRANKCASES PAIR GROUP ENGINE 1100 TRIBUTE PRO USA /23 D31000023 Page 48 / 160 SPARE PARTS CATALOGUE 04/07/2022

71111281A

55241321C

DRAWING 09B - HALF-CRANKCASES PAIR GROUP ENGINE SPARE PARTS CATALOGUE 04/07/2022 Page 49 / 160 1100 TRIBUTE PRO USA /23 D31000023 POS. CODE DESCRIPTION QTY VALIDITY NOTES 1 77916041D SCREW, SPECIAL 1 2 76611161A STUD BOLT FASTENING HEAD CYLINDER 8 3 44440039A FILTER, OIL 1 4 71111601A PIN DOWEL 3 5 85250051A GASKET 32X38X1.5 1 6 77151368B SCREW TCEI M8X75 7 7 77550211A SCREW TBEI M6X16 1 8 77150808B SCREW TCEI M6X75 2 9 88641321A O-RING 2 10 11210791A0 4 11210791AA HALF-BEARING RED 4 11210791AB HALF-BEARING BLUE 4 11210791AC HALF-BEARING YELLOW 4 11210791AD HALF-BEARING BLACK 4 11210791AE HALF-BEARING GREEN 4 11 77150728B SCREW TCEI M6X35 7 12
PIN DOWEL 2 13 85310031A SPRING WASHER 6 MM 1 14
SENSOR, TIMING & RPM 1 15 88641991A O-RING 2 16 87310371A THREADED PLUG M32X1.5 1 17 88641181A O-RING 8 18 89420121F OIL NET FILTER 1
DRAWING 10A - ELECTRIC STARTING AND IGNITION GROUP ENGINE 1100 TRIBUTE PRO USA /23 D31000023 Page 50 / 160 SPARE PARTS CATALOGUE 04/07/2022
DRAWING 10A - ELECTRIC STARTING AND IGNITION GROUP ENGINE SPARE PARTS CATALOGUE 04/07/2022 Page 51 / 160 1100 TRIBUTE PRO USA /23 D31000023 POS. CODE DESCRIPTION QTY VALIDITY NOTES 1 27040107A STARTING MOTOR 1 2 85610751A WASHER, THRUST 1 3 77253330ZF SCREW 8 4 78810542A ENGINE STARTER GASKET 1 5 77140677CF SCREW TCEIF M6X20 2 6 77110521A SCREW TCEI M6X30 1 7 77140697CF SCREW 1 8 71319191A SPACER 1 9 82113471A STARTER REDUCTION SHAFT 1 10 176Z0021A IDLE GEAR T74/13 1 11 70140351A CLUTCH, ONE WAY 1 12 26420471A GENERATOR DENSO 1 13 160Z0011A FLANGE STARTING CLUTCH 1 14 173Z0021A ELECTRIC STARTER DRIVEN GEAR 1 15 70240181B NEEDLE BEARING 1 16 27610781A COUPLING, FLYWHEEL 1 17 67040351A SPARK PLUG 4 18 88110341A BUSH 1
DRAWING 11A - VERTICAL CYLINDER HEAD - TIMING GROUP ENGINE 1100 TRIBUTE PRO USA /23 D31000023 Page 52 / 160 SPARE PARTS CATALOGUE 04/07/2022

23520422A4

77510661B

85212971A

77157238B

DRAWING 11A - VERTICAL CYLINDER HEAD - TIMING GROUP ENGINE SPARE PARTS CATALOGUE 04/07/2022 Page 53 / 160 1100 TRIBUTE PRO USA /23 D31000023 POS. CODE DESCRIPTION QTY VALIDITY NOTES 1 77950302A SCREW TC M6X12 3 2 70350062A ELASTIC-STOP RING NUT 1 3 85211731A WASHER 15.2X24X1 1 4 85610743A WASHER, SPECIAL 1 5 25510243A TIMING BELT PULLEY, DRIVEN T20 1 6 16011051A RING, REAR PULLEY 1 7 77110491A SCREW TCEI M6X18 2 8 24511711B VERTICAL BELT INTERNAL COVER 1 9 93041621B SEAL RING 1 10 76640172A STUD BOLT M8X30 2 11 68010131A KEY, WOODRUFF 4X5X10 1 12 14815681A VERTICAL HEAD CAMSHAFT 1 13 78811111C GASKET 1 14
SIDE CAP 1 15 85212461A WASHER, BRASS 6X13X2 MM 2 16 77113861A SCREW 2 17
SCREW 1 18
COPPER GASKET 1 19
SCREW TCEIF M8X20 2 20 16015511A INTAKE MANIFOLD 1 21 16311231A HOLDER 1 22 82716351A PLATE 1 23 77918701A SCREW, SPECIAL 1 24 88640991A O-RING 1 25 81140012B VALVE 1 26 77240288C SCREW 2 27 24714081A COVER 1 28 88641481A O-RING 1 29 74810502B NUT, FLANGE 4 30 85610252B WASHER 4 31 71111261A BUSH 2
DRAWING 11B - HORIZONTAL HEAD – TIMING SYSTEM GROUP ENGINE 1100 TRIBUTE PRO USA /23 D31000023 Page 54 / 160 SPARE PARTS CATALOGUE 04/07/2022

77510661B

85212971A

77157238B

DRAWING 11B - HORIZONTAL HEAD – TIMING SYSTEM GROUP ENGINE SPARE PARTS CATALOGUE 04/07/2022 Page 55 / 160 1100 TRIBUTE PRO USA /23 D31000023 POS. CODE DESCRIPTION QTY VALIDITY NOTES 1 77950302A SCREW TC M6X12 3 2 70350062A ELASTIC-STOP RING NUT 1 3 85211731A WASHER 15.2X24X1 1 4 85610743A WASHER, SPECIAL 1 5 25510243A TIMING BELT PULLEY, DRIVEN T20 1 6 16011051A RING, REAR PULLEY 1 7 77110491A SCREW TCEI M6X18 2 8 24511721B HORIZONTAL BELT INTERNAL COVER 1 9 93041621B SEAL RING 1 10 76640172A STUD BOLT M8X30 2 11 68010131A KEY, WOODRUFF 4X5X10 1 12 14815671A HORIZONTAL HEAD CAMSHAFT 1 13 78811111C GASKET 1 14 23520422A4 SIDE CAP 1 15 85212461A WASHER, BRASS 6X13X2 MM 2 16 77113861A SCREW 2 17
SCREW 1 18
COPPER GASKET 1 19
SCREW TCEIF M8X20 2 20 16015511A INTAKE MANIFOLD 1 21 16311231A HOLDER 1 22 82716351A PLATE 1 23 77918701A SCREW, SPECIAL 1 24 88640991A O-RING 1 25 81140012B VALVE 1 26 77240288C SCREW 2 27 24714081A COVER 1 28 88641481A O-RING 1 29 74810502B NUT, FLANGE 4 30 85610252B WASHER 4 31 71111261A BUSH 2
DRAWING 11C - VERTICAL HEAD GROUP ENGINE 1100 TRIBUTE PRO USA /23 D31000023 Page 56 / 160 SPARE PARTS CATALOGUE 04/07/2022

POS. CODE DESCRIPTION

1

84010012A ADJUSTER, OPENING ROCKER ARM 2.00 MM 2

84010022A ADJUSTER, OPENING ROCKER ARM 2.05 MM 2

84010032A ADJUSTER, OPENING ROCKER ARM 2.10 MM 2

84010042A ADJUSTER, OPENING ROCKER ARM 2.15 MM 2

84010052A ADJUSTER, OPENING ROCKER ARM 2.20 MM 2

84010062A ADJUSTER, OPENING ROCKER ARM 2.25 MM 2

84010072A ADJUSTER, OPENING ROCKER ARM 2.30 MM 2

84010082A ADJUSTER, OPENING ROCKER ARM 2.35 MM 2

84010092A ADJUSTER, OPENING ROCKER ARM 2.40 MM 2

84010102A ADJUSTER, OPENING ROCKER ARM 2.45 MM 2

84010112A ADJUSTER, OPENING ROCKER ARM 2.50 MM 2

84010122A ADJUSTER, OPENING ROCKER ARM 2.55 MM 2

84010132A ADJUSTER, OPENING ROCKER ARM 2.60 MM 2

84010142A ADJUSTER, OPENING ROCKER ARM 2.65 MM 2

84010152A ADJUSTER, OPENING ROCKER ARM 2.70 MM 2

84010162A ADJUSTER, OPENING ROCKER ARM 2.75 MM 2

84010172A ADJUSTER, OPENING ROCKER ARM 2.80 MM 2

84010182A ADJUSTER, OPENING ROCKER ARM 2.85 MM 2

84010192A ADJUSTER, OPENING ROCKER ARM 2.90 MM 2

84010202A ADJUSTER, OPENING ROCKER ARM 2.95 MM 2

84010212A ADJUSTER, OPENING ROCKER ARM 3.00 MM 2

84010222A ADJUSTER, OPENING ROCKER ARM 3.05 MM 2

84010232A ADJUSTER, OPENING ROCKER ARM 3.10 MM 2

84010242A ADJUSTER, OPENING ROCKER ARM 3.15 MM 2

84010252A ADJUSTER, OPENING ROCKER ARM 3.20 MM 2

84010262A ADJUSTER, OPENING ROCKER ARM 3.25 MM 2

84010272A ADJUSTER, OPENING ROCKER ARM 3.30 MM 2

84010282A ADJUSTER, OPENING ROCKER ARM 3.35 MM 2

84010292A ADJUSTER, OPENING ROCKER ARM 3.40 MM 2

84010302A ADJUSTER, OPENING ROCKER ARM 3.45 MM 2

84010312A ADJUSTER, OPENING ROCKER ARM 1.80 MM 2

84010322A ADJUSTER, OPENING ROCKER ARM 1.85 MM 2

84010332A ADJUSTER, OPENING ROCKER ARM 1.90 MM 2

84010342A ADJUSTER, OPENING ROCKER ARM 1.95 MM 2

84010722A ADJUSTER, OPENING ROCKER ARM 3.60 MM 2

VALIDITY

NOTES

DRAWING 11C - VERTICAL HEAD GROUP ENGINE SPARE PARTS CATALOGUE 04/07/2022 Page 57 / 160 1100 TRIBUTE PRO USA /23 D31000023
QTY
DRAWING 11C - VERTICAL HEAD GROUP ENGINE 1100 TRIBUTE PRO USA /23 D31000023 Page 58 / 160 SPARE PARTS CATALOGUE 04/07/2022

POS. CODE DESCRIPTION

84010732A ADJUSTER, OPENING ROCKER ARM 3.80 MM 2

84011082A ADJUSTER, OPENING ROCKER ARM 3.50 MM 2

84011092A ADJUSTER, OPENING ROCKER ARM 3.55 MM 2

84011102A ADJUSTER, OPENING ROCKER ARM 3.65 MM 2

84011112A ADJUSTER, OPENING ROCKER ARM 3.70 MM 2

84011122A ADJUSTER, OPENING ROCKER ARM 3.75 MM 2

84011132A ADJUSTER, OPENING ROCKER ARM 3.85 MM 2

84011142A ADJUSTER, OPENING ROCKER ARM 3.9 MM 2

VALIDITY

2

84010412B ADJUSTER, CLOSING ROCKER ARM 2.20 MM 2

84010422B ADJUSTER, CLOSING ROCKER ARM 2.25 MM 2

84010432B ADJUSTER, CLOSING ROCKER ARM 2.30 MM 2

84010442B ADJUSTER, CLOSING ROCKER ARM 2.35 MM 2

84010452B ADJUSTER, CLOSING ROCKER ARM 2.40 MM 2

84010462B ADJUSTER, CLOSING ROCKER ARM 2.45 MM 2

84010472B ADJUSTER, CLOSING ROCKER ARM 2.50 MM 2

84010482B ADJUSTER, CLOSING ROCKER ARM 2.55 MM 2

84010492B ADJUSTER, CLOSING ROCKER ARM 2.60 MM 2

84010502B ADJUSTER, CLOSING ROCKER ARM 2.65 MM 2

84010512B ADJUSTER, CLOSING ROCKER ARM 2.70 MM 2

84010522B ADJUSTER, CLOSING ROCKER ARM 2.75 MM 2

84010532B ADJUSTER, CLOSING ROCKER ARM 2.80 MM 2

84010542B ADJUSTER, CLOSING ROCKER ARM 2.85 MM 2

84010552B ADJUSTER, CLOSING ROCKER ARM 2.90 MM 2

84010562B ADJUSTER, CLOSING ROCKER ARM 2.95 MM 2

84010572B ADJUSTER, CLOSING ROCKER ARM 3.00 MM 2

84010582B ADJUSTER, CLOSING ROCKER ARM 3.05 MM 2

84010592B ADJUSTER, CLOSING ROCKER ARM 3.10 MM 2

84010602B ADJUSTER, CLOSING ROCKER ARM 3.15 MM 2

84010612B ADJUSTER, CLOSING ROCKER ARM 3.20 MM 2

84010622B ADJUSTER, CLOSING ROCKER ARM 3.25 MM 2

84010632B ADJUSTER, CLOSING ROCKER ARM 3.30 MM 2

84010642B ADJUSTER, CLOSING ROCKER ARM 3.35 MM 2

84010652B ADJUSTER, CLOSING ROCKER ARM 3.40 MM 2

84010662B ADJUSTER, CLOSING ROCKER ARM 3.45 MM 2

84010672B ADJUSTER, CLOSING ROCKER ARM 3.50 MM 2

NOTES

DRAWING 11C - VERTICAL HEAD GROUP ENGINE SPARE PARTS CATALOGUE 04/07/2022 Page 59 / 160 1100 TRIBUTE PRO USA /23 D31000023
QTY
DRAWING 11C - VERTICAL HEAD GROUP ENGINE 1100 TRIBUTE PRO USA /23 D31000023 Page 60 / 160 SPARE PARTS CATALOGUE 04/07/2022

CODE DESCRIPTION

84010682B ADJUSTER, CLOSING ROCKER ARM 3.55 MM 2

84010692B ADJUSTER, CLOSING ROCKER ARM 3.60 MM 2

84010702B ADJUSTER, CLOSING ROCKER ARM 3.65 MM 2

84010712B ADJUSTER, CLOSING ROCKER ARM 3.70 MM 2

84010722B ADJUSTER, CLOSING ROCKER ARM 3.75 MM 2

84010732B ADJUSTER, CLOSING ROCKER ARM 3.80 MM 2

84010742B ADJUSTER, CLOSING ROCKER ARM 3.85 MM 2

84010752B ADJUSTER, CLOSING ROCKER ARM 3.90 MM 2

84010762B ADJUSTER, CLOSING ROCKER ARM 3.95 MM 2

84010772B ADJUSTER, CLOSING ROCKER ARM 4.00 MM 2

84010782B ADJUSTER, CLOSING ROCKER ARM 4.05 MM 2

84010792B ADJUSTER, CLOSING ROCKER ARM 4.10 MM 2

84010802B ADJUSTER, CLOSING ROCKER ARM 4.15 MM 2

84010812B ADJUSTER, CLOSING ROCKER ARM 4.20 MM 2

84010822B ADJUSTER, CLOSING ROCKER ARM 4.25 MM

84010832B ADJUSTER, CLOSING ROCKER ARM 4.30 MM

84010842B ADJUSTER, CLOSING ROCKER ARM 4.35 MM

84010852B ADJUSTER, CLOSING ROCKER ARM 4.40 MM

84010862B ADJUSTER, CLOSING ROCKER ARM 4.45 MM

84010872B ADJUSTER, CLOSING ROCKER ARM 4.50

77150668BA

208Z0011A

VALIDITY

NOTES

DRAWING 11C - VERTICAL HEAD GROUP ENGINE SPARE PARTS CATALOGUE 04/07/2022 Page 61 / 160 1100 TRIBUTE PRO USA /23 D31000023 POS.
QTY
2
2
2
2
2
MM 2 3
SCREW M6X18 8 4
OPEN. ROCKER ARM 2 5 79912121A SPRING, ROCKER ARM AXLE 2 6 821Z0011B ROCKER ARM PIN 4 7 064770010 WASHER, THRUST 4 8 66910011E C RING 4 9 209Z0011A CLOSE ROCKER ARM 2 10 76410871A SEAL VALVE STEM 2 11 79915021A SPRING, CLOSING ROCKER ARM 2 12 30122761JB COMPLETE VERTICAL HEAD 1 13 30310781AA GUIDE, VALVE +0.03 MM 2 30310781AB GUIDE, VALVE +0.06 MM 2 30310781AC GUIDE, VALVE +0.09 MM 2 14 30410741AB SEAT, INLET VALVE +0.03 MM 1 30410741AC SEAT, INLET VALVE +0.06 MM 1
DRAWING 11C - VERTICAL HEAD GROUP ENGINE 1100 TRIBUTE PRO USA /23 D31000023 Page 62 / 160 SPARE PARTS CATALOGUE 04/07/2022
DRAWING 11C - VERTICAL HEAD GROUP ENGINE SPARE PARTS CATALOGUE 04/07/2022 Page 63 / 160 1100 TRIBUTE PRO USA /23 D31000023 POS. CODE DESCRIPTION QTY VALIDITY NOTES 15 21011181A INTAKE VALVE 1 16 21111181A EXHAUST VALVE 1 17 78010871A THREADED DOWEL 2 18 77911331A SCREW, SPECIAL TCEI M6X12 1 19 85250231A GASKET 1 20 30410731AB SEAT, EXHAUST VALVE +0.03 MM 1 30410731AC SEAT, EXHAUST VALVE +0.06 MM 1 21 88641381A O-RING 63.13X2.62 2 22 24020393A VALVE COVER 2 23 72050173C SCREW M5X12 1 24 82610371A PLATE 1
DRAWING 11D - HORIZONTAL HEAD GROUP ENGINE 1100 TRIBUTE PRO USA /23 D31000023 Page 64 / 160 SPARE PARTS CATALOGUE 04/07/2022

POS. CODE DESCRIPTION

1

84010012A ADJUSTER, OPENING ROCKER ARM 2.00 MM 2

84010022A ADJUSTER, OPENING ROCKER ARM 2.05 MM 2

84010032A ADJUSTER, OPENING ROCKER ARM 2.10 MM 2

84010042A ADJUSTER, OPENING ROCKER ARM 2.15 MM 2

84010052A ADJUSTER, OPENING ROCKER ARM 2.20 MM 2

84010062A ADJUSTER, OPENING ROCKER ARM 2.25 MM 2

84010072A ADJUSTER, OPENING ROCKER ARM 2.30 MM 2

84010082A ADJUSTER, OPENING ROCKER ARM 2.35 MM 2

84010092A ADJUSTER, OPENING ROCKER ARM 2.40 MM 2

84010102A ADJUSTER, OPENING ROCKER ARM 2.45 MM 2

84010112A ADJUSTER, OPENING ROCKER ARM 2.50 MM 2

84010122A ADJUSTER, OPENING ROCKER ARM 2.55 MM 2

84010132A ADJUSTER, OPENING ROCKER ARM 2.60 MM 2

84010142A ADJUSTER, OPENING ROCKER ARM 2.65 MM 2

84010152A ADJUSTER, OPENING ROCKER ARM 2.70 MM 2

84010162A ADJUSTER, OPENING ROCKER ARM 2.75 MM 2

84010172A ADJUSTER, OPENING ROCKER ARM 2.80 MM 2

84010182A ADJUSTER, OPENING ROCKER ARM 2.85 MM 2

84010192A ADJUSTER, OPENING ROCKER ARM 2.90 MM 2

84010202A ADJUSTER, OPENING ROCKER ARM 2.95 MM 2

84010212A ADJUSTER, OPENING ROCKER ARM 3.00 MM 2

84010222A ADJUSTER, OPENING ROCKER ARM 3.05 MM 2

84010232A ADJUSTER, OPENING ROCKER ARM 3.10 MM 2

84010242A ADJUSTER, OPENING ROCKER ARM 3.15 MM 2

84010252A ADJUSTER, OPENING ROCKER ARM 3.20 MM 2

84010262A ADJUSTER, OPENING ROCKER ARM 3.25 MM 2

84010272A ADJUSTER, OPENING ROCKER ARM 3.30 MM 2

84010282A ADJUSTER, OPENING ROCKER ARM 3.35 MM 2

84010292A ADJUSTER, OPENING ROCKER ARM 3.40 MM 2

84010302A ADJUSTER, OPENING ROCKER ARM 3.45 MM 2

84010312A ADJUSTER, OPENING ROCKER ARM 1.80 MM 2

84010322A ADJUSTER, OPENING ROCKER ARM 1.85 MM 2

84010332A ADJUSTER, OPENING ROCKER ARM 1.90 MM 2

84010342A ADJUSTER, OPENING ROCKER ARM 1.95 MM 2

84010722A ADJUSTER, OPENING ROCKER ARM 3.60 MM 2

VALIDITY

NOTES

DRAWING 11D - HORIZONTAL HEAD GROUP ENGINE SPARE PARTS CATALOGUE 04/07/2022 Page 65 / 160 1100 TRIBUTE PRO USA /23 D31000023
QTY
DRAWING 11D - HORIZONTAL HEAD GROUP ENGINE 1100 TRIBUTE PRO USA /23 D31000023 Page 66 / 160 SPARE PARTS CATALOGUE 04/07/2022

POS. CODE DESCRIPTION

84010732A ADJUSTER, OPENING ROCKER ARM 3.80 MM 2

84011082A ADJUSTER, OPENING ROCKER ARM 3.50 MM 2

84011092A ADJUSTER, OPENING ROCKER ARM 3.55 MM 2

84011102A ADJUSTER, OPENING ROCKER ARM 3.65 MM 2

84011112A ADJUSTER, OPENING ROCKER ARM 3.70 MM 2

84011122A ADJUSTER, OPENING ROCKER ARM 3.75 MM 2

84011132A ADJUSTER, OPENING ROCKER ARM 3.85 MM 2

84011142A ADJUSTER, OPENING ROCKER ARM 3.9 MM 2

VALIDITY

2

84010412B ADJUSTER, CLOSING ROCKER ARM 2.20 MM 2

84010422B ADJUSTER, CLOSING ROCKER ARM 2.25 MM 2

84010432B ADJUSTER, CLOSING ROCKER ARM 2.30 MM 2

84010442B ADJUSTER, CLOSING ROCKER ARM 2.35 MM 2

84010452B ADJUSTER, CLOSING ROCKER ARM 2.40 MM 2

84010462B ADJUSTER, CLOSING ROCKER ARM 2.45 MM 2

84010472B ADJUSTER, CLOSING ROCKER ARM 2.50 MM 2

84010482B ADJUSTER, CLOSING ROCKER ARM 2.55 MM 2

84010492B ADJUSTER, CLOSING ROCKER ARM 2.60 MM 2

84010502B ADJUSTER, CLOSING ROCKER ARM 2.65 MM 2

84010512B ADJUSTER, CLOSING ROCKER ARM 2.70 MM 2

84010522B ADJUSTER, CLOSING ROCKER ARM 2.75 MM 2

84010532B ADJUSTER, CLOSING ROCKER ARM 2.80 MM 2

84010542B ADJUSTER, CLOSING ROCKER ARM 2.85 MM 2

84010552B ADJUSTER, CLOSING ROCKER ARM 2.90 MM 2

84010562B ADJUSTER, CLOSING ROCKER ARM 2.95 MM 2

84010572B ADJUSTER, CLOSING ROCKER ARM 3.00 MM 2

84010582B ADJUSTER, CLOSING ROCKER ARM 3.05 MM 2

84010592B ADJUSTER, CLOSING ROCKER ARM 3.10 MM 2

84010602B ADJUSTER, CLOSING ROCKER ARM 3.15 MM 2

84010612B ADJUSTER, CLOSING ROCKER ARM 3.20 MM 2

84010622B ADJUSTER, CLOSING ROCKER ARM 3.25 MM 2

84010632B ADJUSTER, CLOSING ROCKER ARM 3.30 MM 2

84010642B ADJUSTER, CLOSING ROCKER ARM 3.35 MM 2

84010652B ADJUSTER, CLOSING ROCKER ARM 3.40 MM 2

84010662B ADJUSTER, CLOSING ROCKER ARM 3.45 MM 2

84010672B ADJUSTER, CLOSING ROCKER ARM 3.50 MM 2

NOTES

DRAWING 11D - HORIZONTAL HEAD GROUP ENGINE SPARE PARTS CATALOGUE 04/07/2022 Page 67 / 160 1100 TRIBUTE PRO USA /23 D31000023
QTY
DRAWING 11D - HORIZONTAL HEAD GROUP ENGINE 1100 TRIBUTE PRO USA /23 D31000023 Page 68 / 160 SPARE PARTS CATALOGUE 04/07/2022

CODE

84010682B ADJUSTER, CLOSING ROCKER ARM 3.55 MM 2

84010692B ADJUSTER, CLOSING ROCKER ARM 3.60 MM 2

84010702B ADJUSTER, CLOSING ROCKER ARM 3.65 MM 2

84010712B ADJUSTER, CLOSING ROCKER ARM 3.70 MM 2

84010722B ADJUSTER, CLOSING ROCKER ARM 3.75 MM 2

84010732B ADJUSTER, CLOSING ROCKER ARM 3.80 MM 2

84010742B ADJUSTER, CLOSING ROCKER ARM 3.85 MM 2

84010752B ADJUSTER, CLOSING ROCKER ARM 3.90 MM 2

84010762B ADJUSTER, CLOSING ROCKER ARM 3.95 MM 2

84010772B ADJUSTER, CLOSING ROCKER ARM 4.00 MM 2

84010782B ADJUSTER, CLOSING ROCKER ARM 4.05 MM 2

84010792B ADJUSTER, CLOSING ROCKER ARM 4.10 MM 2

84010802B ADJUSTER, CLOSING ROCKER ARM 4.15 MM 2

84010812B ADJUSTER, CLOSING ROCKER ARM 4.20 MM 2

84010822B ADJUSTER, CLOSING ROCKER ARM 4.25 MM

84010832B ADJUSTER, CLOSING ROCKER ARM 4.30 MM

84010842B ADJUSTER, CLOSING ROCKER ARM 4.35 MM 2

84010852B ADJUSTER, CLOSING ROCKER ARM 4.40 MM

84010862B ADJUSTER, CLOSING ROCKER ARM 4.45 MM

84010872B ADJUSTER, CLOSING ROCKER ARM

77150668BA

VALIDITY

NOTES

DRAWING 11D - HORIZONTAL HEAD GROUP ENGINE SPARE PARTS CATALOGUE 04/07/2022 Page 69 / 160 1100 TRIBUTE PRO USA /23 D31000023 POS.
DESCRIPTION QTY
2
2
2
2
4.50 MM 2 3
SCREW M6X18 8 4 208Z0011A OPEN. ROCKER ARM 2 5 79912121A SPRING, ROCKER ARM AXLE 2 6 821Z0011B ROCKER ARM PIN 4 7 064770010 WASHER, THRUST 4 8 66910011E C RING 4 9 209Z0011A CLOSE ROCKER ARM 2 10 76410871A SEAL VALVE STEM 2 11 79915021A SPRING, CLOSING ROCKER ARM 2 12 30122751JB COMPLETE HORIZONTAL HEAD 1 13 30310781AA GUIDE, VALVE +0.03 MM 2 30310781AB GUIDE, VALVE +0.06 MM 2 30310781AC GUIDE, VALVE +0.09 MM 2 14 30410741AB SEAT, INLET VALVE +0.03 MM 1 30410741AC SEAT, INLET VALVE +0.06 MM 1
DRAWING 11D - HORIZONTAL HEAD GROUP ENGINE 1100 TRIBUTE PRO USA /23 D31000023 Page 70 / 160 SPARE PARTS CATALOGUE 04/07/2022
DRAWING 11D - HORIZONTAL HEAD GROUP ENGINE SPARE PARTS CATALOGUE 04/07/2022 Page 71 / 160 1100 TRIBUTE PRO USA /23 D31000023 POS. CODE DESCRIPTION QTY VALIDITY NOTES 15 21011181A INTAKE VALVE 1 16 21111181A EXHAUST VALVE 1 17 78010871A THREADED DOWEL 1 18 77911331A SCREW, SPECIAL TCEI M6X12 1 19 85250231A GASKET 1 20 30410731AB SEAT, EXHAUST VALVE +0.03 MM 1 30410731AC SEAT, EXHAUST VALVE +0.06 MM 1 21 88641381A O-RING 63.13X2.62 2 22 24020393A VALVE COVER 1 23 24020401A COVER 1 24 72050173C SCREW M5X12 1 25 82610371A PLATE 1
DRAWING 01A - DDS TESTER GROUP TOOLS 1100 TRIBUTE PRO USA /23 D31000023 Page 72 / 160 SPARE PARTS CATALOGUE 04/07/2022
DRAWING 01A - DDS TESTER GROUP TOOLS SPARE PARTS CATALOGUE 04/07/2022 Page 73 / 160 1100 TRIBUTE PRO USA /23 D31000023 POS. CODE DESCRIPTION QTY VALIDITY NOTES 1 979000279 DDS 3 1 2 979000253 BELT TENSIONING KIT 1 3 979000282 DIAGNOSIS CABLE 1 4 979000283 CONNECTING CABLE 1 5 979000284 USB CABLE 1 6 979000281 HASP DDS3 KEY 1
DRAWING 01B - WORKSHOP SERVICE TOOLS, ENGINE GROUP TOOLS 1100 TRIBUTE PRO USA /23 D31000023 Page 74 / 160 SPARE PARTS CATALOGUE 04/07/2022
DRAWING 01B - WORKSHOP SERVICE TOOLS, ENGINE GROUP TOOLS SPARE PARTS CATALOGUE 04/07/2022 Page 75 / 160 1100 TRIBUTE PRO USA /23 D31000023 POS. CODE DESCRIPTION QTY VALIDITY NOTES 1 887133218 WRENCH FOR HOLDING TIMING BELT ROLLERS 1 2 887132676 HEAD NUTS HOLDER WRENCH 1 3 887132103 HEAD MOUNTING BASE 1 4 887131994 ROCKER PIN EXTRACTOR 1 5 887134411 INSERT 1 6 887130944 WRENCH TO TIGHTEN OIL FILTER CARTRIDGE 1 7 887132282 BELT ROLLER TIMING OF TWO-VALVE HEAD 1 8 887131805 DRIVING ROLLER TIGHTENING TOOL 1 9 887131832 BENCH FOR ENGINE REPAIR 1 10 887132442 TOOL, OIL SEAL MOUNTING 1 11 887130137 CRANKSHAFT GEAR RETAINING WRENCH 1 12 887134882 EXTRACTOR FOR PRIMARY DRIVE GEAR 1 13 887651581 VALVE LIFT GAUGE 1 14 887132591 CLUTCH SCREW 1 15 887132556 WRENCH HOLD CLUCH HOUSING DRUM STEADY 1 16 887132906 WRENCH, OIL FILTER CARTRIDGE 1 17 887132011 CRANKSHAFT RESET TOOL 1 18 887131749 DRIVE ROLLER PULLER 1 19 887132834 TOOL SNAP RING INSTALLATION 1 20 887131886 ENGINE CANVAS 1 21 887133334 PLATE POSITIONING GEAR ENGAGEMENT FORK 1 22 887651298 SPACER FOR CHECKING LOWER VALVE SHIM 1 23 887133367 FLYWHEEL WRENCH 1 24 887132916 CLOSING ROCKER & SPRING ASSEMBLING TOOL 1 25 887651000 FORK FEELER GAUGE 0.1 MM 1 887651005 FORK FEELER GAUGE 0.2 MM 1 887651006 FORK FEELER GAUGE 0.3 MM 1 26 887132801 REACTION TOOL FOR WET CLUTCH 1 27 887132695 CLUTCH FLUID PRESSURE MEASURING TOOL 1
DRAWING 01C - WORKSHOP SERVICE TOOLS, FRAME GROUP TOOLS 1100 TRIBUTE PRO USA /23 D31000023 Page 76 / 160 SPARE PARTS CATALOGUE 04/07/2022
DRAWING 01C - WORKSHOP SERVICE TOOLS, FRAME GROUP TOOLS SPARE PARTS CATALOGUE 04/07/2022 Page 77 / 160 1100 TRIBUTE PRO USA /23 D31000023 POS. CODE DESCRIPTION QTY VALIDITY NOTES 1 887131062 TOOL ASSEMBLING STEERING TUBE BEARING 1 2 800070139 WRENCH FOR FRONT WHEEL SPINDLE 1 3 887132562 TOOL FOR ASSEMBLING CHAIN 1 4 887130958 TRACTION BAR SHOWA FORKS OVERHAULING 1 5 887131058 SPANNER TO ASSEMBLE THE STEERING SLEEVE 1 6 887131072 DRIVING STOPPER FOR THE HALF BEARING 1 7 887131010 CONNECTOR FOR EXHAUST GAS TAKE-UP POINT 1 8 887133220 BENCH FOR ENGINE REPAIR 1 9 887138835 BRACKET, FUEL TANK 1
DRAWING A1 - TYRES GROUP TYRES 1100 TRIBUTE PRO USA /23 D31000023 Page 78 / 160 SPARE PARTS CATALOGUE 04/07/2022
DRAWING A1 - TYRES GROUP TYRES SPARE PARTS CATALOGUE 04/07/2022 Page 79 / 160 1100 TRIBUTE PRO USA /23 D31000023 POS. CODE DESCRIPTION QTY VALIDITY NOTES 1 490PE339A FRONT TYRE 1 (*)=Pneumatico di primo equipaggiamento 2 491PE349A REAR TYRE 1 (*)=Pneumatico di primo equipaggiamento 3 490P0112A FRONT TYRE 1 4 49141271A REAR TYRE 1 5 490PE343A FRONT TYRE 1 6 491PE348A REAR TYRE 1
DRAWING B1 - (*) PIRELLI MT 60â„¢ RS GROUP TYRES 1100 TRIBUTE PRO USA /23 D31000023 Page 80 / 160 SPARE PARTS CATALOGUE 04/07/2022
DRAWING B1 - (*) PIRELLI MT 60â„¢ RS GROUP TYRES SPARE PARTS CATALOGUE 04/07/2022 Page 81 / 160 1100 TRIBUTE PRO USA /23 D31000023 POS. CODE DESCRIPTION QTY VALIDITY NOTES 1 490PE339A FRONT TYRE 1 (*)=Pneumatico di primo equipaggiamento 2 491PE349A REAR TYRE 1 (*)=Pneumatico di primo equipaggiamento
DRAWING C1 - PIRELLI ANGELâ„¢ GT GROUP TYRES 1100 TRIBUTE PRO USA /23 D31000023 Page 82 / 160 SPARE PARTS CATALOGUE 04/07/2022
DRAWING C1 - PIRELLI ANGELâ„¢ GT GROUP TYRES SPARE PARTS CATALOGUE 04/07/2022 Page 83 / 160 1100 TRIBUTE PRO USA /23 D31000023 POS. CODE DESCRIPTION QTY VALIDITY NOTES 1 490P0112A FRONT TYRE 1 2 49141271A REAR TYRE 1
DRAWING I - PIRELLI SCORPIONâ„¢ RALLY STR GROUP TYRES 1100 TRIBUTE PRO USA /23 D31000023 Page 84 / 160 SPARE PARTS CATALOGUE 04/07/2022
DRAWING I - PIRELLI SCORPIONâ„¢ RALLY STR GROUP TYRES SPARE PARTS CATALOGUE 04/07/2022 Page 85 / 160 1100 TRIBUTE PRO USA /23 D31000023 POS. CODE DESCRIPTION QTY VALIDITY NOTES 1 490PE343A FRONT TYRE 1 2 491PE348A REAR TYRE 1
DRAWING 16A - STAND GROUP FRAME 1100 TRIBUTE PRO USA /23 D31000023 Page 86 / 160 SPARE PARTS CATALOGUE 04/07/2022
DRAWING 16A - STAND GROUP FRAME SPARE PARTS CATALOGUE 04/07/2022 Page 87 / 160 1100 TRIBUTE PRO USA /23 D31000023 POS. CODE DESCRIPTION QTY VALIDITY NOTES 1 55611031AA SIDE STAND 1 2 79920881C COMPLETE SPRING 1 3 79915571AA INNER SPRING 1 4 82716371AA LINK, SIDE STAND 1 5 74910031AA NUT 1 6 55610663AC AXLE, SIDE STAND 1 7 77917241AA SCREW 1 8 53910351A SWITCH, STAND 1 9 77110481A SCREW TCEI M10X25 1 10 55620881AA BRACKET, SIDE STAND 1 11 83014941B CLAMP, WIRE 1 12 77510511B SCREW TBEI M5X10 1 13 4601H701A PROTECTION SHEATH 1
DRAWING 17A - FRONT SPROCKET - CHAIN GROUP FRAME 1100 TRIBUTE PRO USA /23 D31000023 Page 88 / 160 SPARE PARTS CATALOGUE 04/07/2022
DRAWING 17A - FRONT SPROCKET - CHAIN GROUP FRAME SPARE PARTS CATALOGUE 04/07/2022 Page 89 / 160 1100 TRIBUTE PRO USA /23 D31000023 POS. CODE DESCRIPTION QTY VALIDITY NOTES 1 44910681A SPROCKET T15 1 2 4601G751A CHAIN PINION COVER 1 3 67641041A CHAIN 103+1 1 4 67740231A CHAIN LINK 1 5 77110391A SCREW TCEIF M6X16 3 6 75010071A NUT 1 7 85110041A WASHER, LOCK 1
DRAWING 18A - STEERING ASSEMBLY GROUP FRAME 1100 TRIBUTE PRO USA /23 D31000023 Page 90 / 160 SPARE PARTS CATALOGUE 04/07/2022
DRAWING 18A - STEERING ASSEMBLY GROUP FRAME SPARE PARTS CATALOGUE 04/07/2022 Page 91 / 160 1100 TRIBUTE PRO USA /23 D31000023 POS. CODE DESCRIPTION QTY VALIDITY NOTES 1 34111191BB STEERING HEAD 1 2 77157254B SCREW 7 3 70310131A THREAD, STEERING HEAD TOP 1 4 93010041B SEAL RING 2 5 34221001BB STEERING HEAD BASE 1 6 74750031A NUT 6MM 2 7 77912981A SCREW, SPECIAL 2 8 85211031AB WASHER 1 9 70241231A BEARING, STEERING NTN SF07A17P 2 10 76410971A RUBBER PAD 1 11 8301B111AA BRACKET 1 12 77510541A SCREW TBEI M6X10 1 13 83018691A GUIDE, FRONT BRAKE HOSE 1
DRAWING 18B - FRONT FORK GROUP FRAME 1100 TRIBUTE PRO USA /23 D31000023 Page 92 / 160 SPARE PARTS CATALOGUE 04/07/2022
DRAWING 18B - FRONT FORK GROUP FRAME SPARE PARTS CATALOGUE 04/07/2022 Page 93 / 160 1100 TRIBUTE PRO USA /23 D31000023 POS. CODE DESCRIPTION QTY VALIDITY NOTES 1 34420911BB FORK LEG ASSY, RIGHT 1 2 34520911BB FORK LEG ASSY, LEFT 1 3 52910221A REFLECTOR, ADHESIVE AMBER 2 4 75810911A FAIRLEAD 1 5 77211221B SCREW, SPECIAL 1 6 34923061A STANCHION TUBE 2 7 77156694B SCREW 4 8 75840601A FAIRLEAD 5 9 34922521A FORK BOTTOM END + SLEEVE UNIT (L.H.) 1 10 34922541A COMPLETE PUMPING ELEMENT, LEFT 1 11 34922561A SLEEVE PLUG 1 12 34922511A FORK BOTTOM END + SLEEVE UNIT (R.H.) 1 13 34922531A COMPLETE PUMPING ELEMENT, RIGHT 1 14 34922571A SPRING KIT 2 15 34922551A SLEEVE PLUG 1 16 069191030 CLAMP 4 17 34922591A OVERHAUL KIT 1
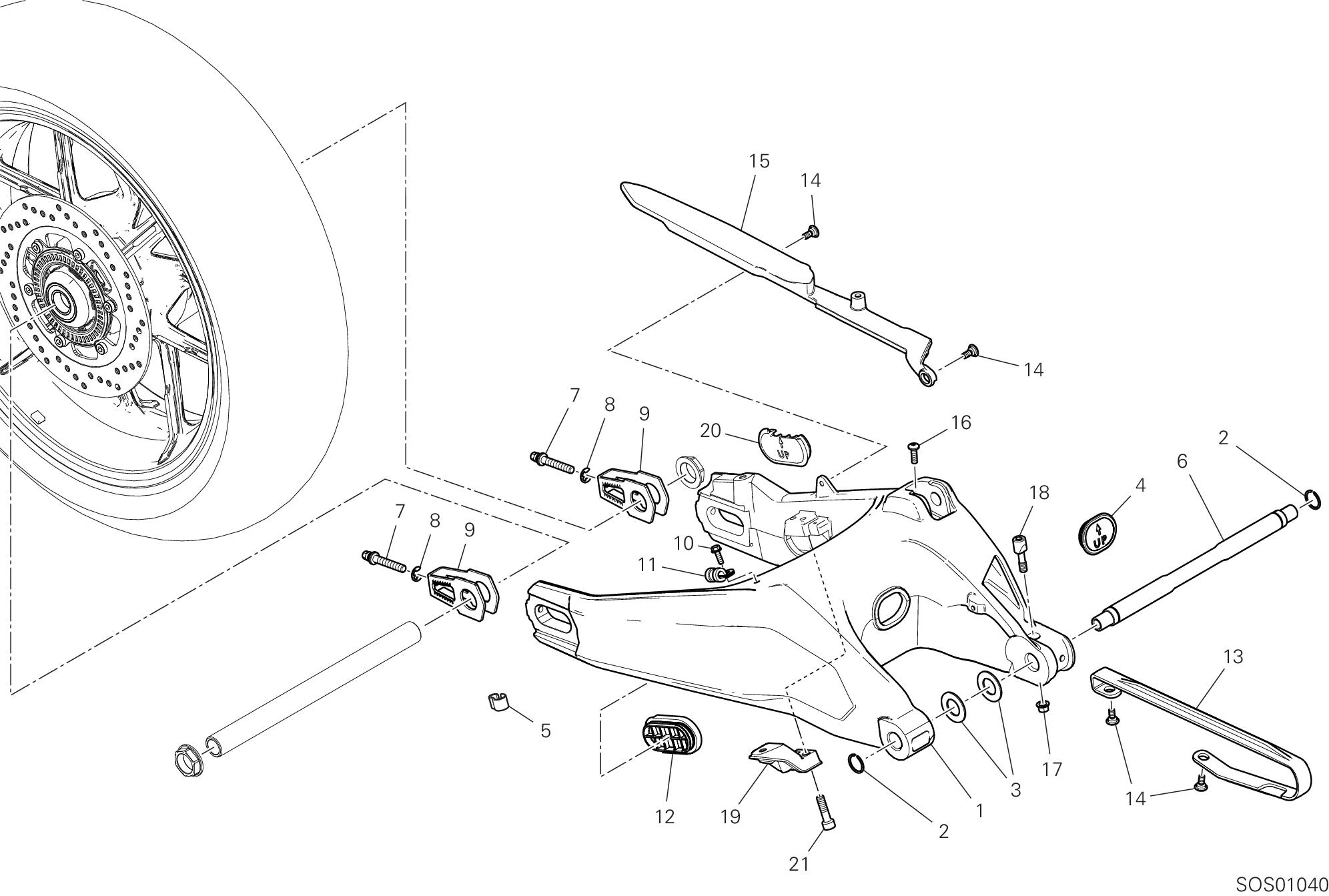
DRAWING 19A - REAR SWINGING ARM GROUP FRAME 1100 TRIBUTE PRO USA /23 D31000023 Page 94 / 160 SPARE PARTS CATALOGUE 04/07/2022

37012462AA

88440071A

85210011B

SWINGING

RING

WASHER

THRUST WASHER

WASHER, THRUST

87210971A

SWINGARM

75840601A FAIRLEAD

36910081A

77915451B SCREW

88450341B

37310631A

77550213C

74140621A

87210981A

REAR SWING

RING

CHAIN

TBEI

CLAMP

SWINGARM COVER

44712022A CHAIN SLIDER

77211261B SCREW, SPECIAL

44712321A CHAIN GUARD

77440321A SCREW, TAPPING

74840341B NUT M8

80810461A

8291J221AA STAY COMP.

87211621A

SWINGARM COVER

77151278B SCREW TCEI M8X30

DRAWING 19A - REAR SWINGING ARM GROUP FRAME SPARE PARTS CATALOGUE 04/07/2022 Page 95 / 160 1100 TRIBUTE PRO USA /23 D31000023 POS. CODE DESCRIPTION QTY VALIDITY NOTES 1
REAR
ARM 1 2
SPRING
2 3
THRUST
20.5X36X1.8 MM 1 85210021B THRUST WASHER 20.5X36X0.2 MM 2 85210031B
20.5X36X0.1 MM 2 85214341A
1 4
CAP,
COVER 1 5
5 6
AXLE,
ARM 1 7
2 8
SPRING
2 9
PULLER,
2 10
SCREW
M6X16 1 11
HOSE
8 MM 1 12
CAP,
1 13
1 14
4 15
1 16
1 17
1 18
CLAMP 1 19
1 20
CAP,
1 21
2
DRAWING 20A - FRONT BRAKE PUMP GROUP FRAME 1100 TRIBUTE PRO USA /23 D31000023 Page 96 / 160 SPARE PARTS CATALOGUE 04/07/2022
DRAWING 20A - FRONT BRAKE PUMP GROUP FRAME SPARE PARTS CATALOGUE 04/07/2022 Page 97 / 160 1100 TRIBUTE PRO USA /23 D31000023 POS. CODE DESCRIPTION QTY VALIDITY NOTES 1 62441291A FRONT BRAKE PUMP 1 2 53910441A MICROSWITCH 1 3 62640231A U-BOLT KIT 1 4 62640601A BOLT, PIVOT 1 5 63140691A LEVER, FRONT BRAKE 1 6 89340331A PLUG ASSY 1 7 77913662AB SCREW, SPECIAL 1 8 85250241A WASHER 10X14X1 2
DRAWING 20B - FRONT BRAKE SYSTEM GROUP FRAME 1100 TRIBUTE PRO USA /23 D31000023 Page 98 / 160 SPARE PARTS CATALOGUE 04/07/2022
DRAWING 20B - FRONT BRAKE SYSTEM GROUP FRAME SPARE PARTS CATALOGUE 04/07/2022 Page 99 / 160 1100 TRIBUTE PRO USA /23 D31000023 POS. CODE DESCRIPTION QTY VALIDITY NOTES 1 61041302C RIGHT FRONT BRAKE CALIPER 1 2 61041292C LEFT FRONT BRAKE CALIPER 1 3 77913311D SCREW M 10 X 60 4 4 61811181B HOSE, FRONT BRAKE CALIPER-CALIPER 1 5 18710021A VALVE, BREATHER 2 6 77914651A BOLT, BRAKE HOSE 1 7 77913971A BOLT, BRAKE HOSE 1 8 61240052A DUST COVER 1 9 85250241A WASHER 10X14X1 5 10 61240511A SPARE PIN AND SPRING 2 11 61341021A FRONT BRAKE PADS SET 2
DRAWING 20C - BRAKING SYSTEM ABS GROUP FRAME 1100 TRIBUTE PRO USA /23 D31000023 Page 100 / 160 SPARE PARTS CATALOGUE 04/07/2022
DRAWING 20C - BRAKING SYSTEM ABS GROUP FRAME SPARE PARTS CATALOGUE 04/07/2022 Page 101 / 160 1100 TRIBUTE PRO USA /23 D31000023 POS. CODE DESCRIPTION QTY VALIDITY NOTES 1 54240801A CONTROL UNIT ABS 1 2 8301A601AA BRACKET 1 3 76410241A VIBRATION DAMPER PAD 2 4 71610031A SPACER 2 5 77240443C SCREW 2 6 77240393C SCREW TBEIF M6X10 10.9 2 7 61811162B CPU - FRONT CALIPERS LINE 1 8 77913662AB SCREW, SPECIAL 4 9 61811421C FRONT MASTER CYLINDER - CPU LINE 1 10 61911021A CPU-REAR CALIPER LINE 1 11 85250241A WASHER 10X14X1 8 12 61911011A REAR MASTER CYLINDER-CPU LINE 1
DRAWING 20D - REAR BRAKE SYSTEM GROUP FRAME 1100 TRIBUTE PRO USA /23 D31000023 Page 102 / 160 SPARE PARTS CATALOGUE 04/07/2022
DRAWING 20D - REAR BRAKE SYSTEM GROUP FRAME SPARE PARTS CATALOGUE 04/07/2022 Page 103 / 160 1100 TRIBUTE PRO USA /23 D31000023 POS. CODE DESCRIPTION QTY VALIDITY NOTES 1 58540301A RESERVOIR, BRAKE FLUID 1 2 89340241A COVER MASTER CYLINDER 1 3 77210591A SCREW TEF M6X10 1 4 77913662AB SCREW, SPECIAL 2 5 85250241A WASHER 10X14X1 4 6 87711131A PIPE 1 7 74140431A CLAMP 2 8 61240301A DUST COVER 2 9 62540191A REAR BRAKE PUMP 1 10 61141651A REAR BRAKE CALIPER 1 11 61340761A REAR BRAKE PADS SET 1 12 63140281A DRAIN 1 13 61240081A DUST PLUG 1 14 61241221A PAD PINS OVERHAUL SET 1
DRAWING 21A - PLATE HOLDER GROUP FRAME 1100 TRIBUTE PRO USA /23 D31000023 Page 104 / 160 SPARE PARTS CATALOGUE 04/07/2022
DRAWING 21A - PLATE HOLDER GROUP FRAME SPARE PARTS CATALOGUE 04/07/2022 Page 105 / 160 1100 TRIBUTE PRO USA /23 D31000023 POS. CODE DESCRIPTION QTY VALIDITY NOTES 1 561A3171C STAY COMP. 1 2 7715074BG SCREW 1 3 71115851AA BUSH 1 4 7715128BG SCREW 2 5 71115841BA BUSH 2 6 75810901A FAIRLEAD 3 7 77440061A SCREW, TAPPING 3 8 4601I661A MUDFLAP 1 9 74141701A PLATE 4 10 85212511A WASHER 4.5X9X0.5 2 11 56113211A PLATE HOLDER 1 12 52910131B REFLECTOR, ADHESIVE RED 2 13 71614261A SPACER 3 14 77240463C VITE TBEIF 3 15 77510161A SCREW 2 16 85550021A TOOTHED LOCK WASHER 2 17 70010691A VIBRATION DAMPER 2 18 52510431G LAMP, LICENSE PLATE 1 19 85350031A WASHER 1 20 85350061A WASHER, SPRING 2 21 85110231AB PLATE 1 22 85110241AA PLATE 1 23 85110251AA PLATE 1 24 4601D781B COVER 1 25 74140381A CLAMP 2 26 77240133C SCREW TBEIF M4X12 4
DRAWING 22A - HANDLEBAR GROUP FRAME 1100 TRIBUTE PRO USA /23 D31000023 Page 106 / 160 SPARE PARTS CATALOGUE 04/07/2022
DRAWING 22A - HANDLEBAR GROUP FRAME SPARE PARTS CATALOGUE 04/07/2022 Page 107 / 160 1100 TRIBUTE PRO USA /23 D31000023 POS. CODE DESCRIPTION QTY VALIDITY NOTES 1 36015641AB HOLDER, HANDLE LOWER 1 2 36015731AA HANDLEBAR BRACKET, UPPER 1 3 70011151A VIBRATION DAMPER 2 4 74840241AB NUT 2 5 77159414B SCREW 2 6 85213701A WASHER 2 7 85250401A WASHER 10.5X18X1.6 2 8 36015651BA HANDLEBAR 1 9 66020141A THROTTLE CONTROL 1 10 71011071A BUSH 2 11 71111301A SPINDLE, TAPER 2 12 15310261AA BALANCER SET, HANDLE BAR 2 13 77150738B SCREW TCEI M6X40 2 14 77157254B SCREW 4 15 65010241D RIGHT SWITCH 1 16 65110242D LEFT SWITCH 1 17 52310512B REAR-VIEW MIRROR L.H. 1 18 52310502B REAR-VIEW MIRROR R.H. 1
DRAWING 22B - CLUTCH CONTROL GROUP FRAME 1100 TRIBUTE PRO USA /23 D31000023 Page 108 / 160 SPARE PARTS CATALOGUE 04/07/2022
DRAWING 22B - CLUTCH CONTROL GROUP FRAME SPARE PARTS CATALOGUE 04/07/2022 Page 109 / 160 1100 TRIBUTE PRO USA /23 D31000023 POS. CODE DESCRIPTION QTY VALIDITY NOTES 1 19510411D SPACER 1 2 18710021A VALVE, BREATHER 1 3 19540081B PISTON ASSEMBLY 1 4 61240052A DUST COVER 1 5 63040911A CLUTCH MASTER CYLINDER 1 6 62640291A BRACKET, CLUTCH MASTER CYLINDER 1 7 63210842A CLUTCH CONTROL PIPE 1 8 78811641C GASKET 1 9 53910511A MICROSWITCH 1 10 77913971A BOLT, BRAKE HOSE 1 11 85250241A WASHER 10X14X1 4 12 77354898B SCREW TCEIR M6X30 3 13 62640601A BOLT, PIVOT 1 14 63140661A CLUTCH LEVER 1 15 89340341A PLUG ASSY 1 16 77913662AB SCREW, SPECIAL 1
DRAWING 23A - REAR SHOCK ABSORBER GROUP FRAME 1100 TRIBUTE PRO USA /23 D31000023 Page 110 / 160 SPARE PARTS CATALOGUE 04/07/2022
DRAWING 23A - REAR SHOCK ABSORBER GROUP FRAME SPARE PARTS CATALOGUE 04/07/2022 Page 111 / 160 1100 TRIBUTE PRO USA /23 D31000023 POS. CODE DESCRIPTION QTY VALIDITY NOTES 1 36521931A REAR SHOCK ABSORBER 1 2 71615511AA SPACER 2 3 74850021A NUT 1 4 77915041A SCREW, SPECIAL 1 5 7791A991AA SCREW, SPECIAL 1 6 71510081B SPACER 1 7 85210541B WASHER 10.2X20X1 1
DRAWING 24A - FRONT MUDGUARD GROUP FRAME 1100 TRIBUTE PRO USA /23 D31000023 Page 112 / 160 SPARE PARTS CATALOGUE 04/07/2022
DRAWING 24A - FRONT MUDGUARD GROUP FRAME SPARE PARTS CATALOGUE 04/07/2022 Page 113 / 160 1100 TRIBUTE PRO USA /23 D31000023 POS. CODE DESCRIPTION QTY VALIDITY NOTES 1 43713191AT DECAL DUCATI SAFETY PACK R.H. 1 2 43713201AT DECAL DUCATI SAFETY PACK L.H. 1 3 56426531AL FRONT MUDGUARD 1 4 71614011B SPACER 2 5 77210893B SCREW 6 6 77211221B SCREW, SPECIAL 2 7 8301A861AA RIGHT BRACKET 1 8 8301A871AA LEFT BRACKET 1 9 4381G231A STICKER CENTRE 1
DRAWING 26A - FOOTRESTS, LEFT GROUP FRAME 1100 TRIBUTE PRO USA /23 D31000023 Page 114 / 160 SPARE PARTS CATALOGUE 04/07/2022

79914991A

46410601AA

76510171A

45622501AA

74940041A

11723561B

70011161A

77911511AA

77914181AA

77912061AB

DRAWING 26A - FOOTRESTS, LEFT GROUP FRAME SPARE PARTS CATALOGUE 04/07/2022 Page 115 / 160 1100 TRIBUTE PRO USA /23 D31000023 POS. CODE DESCRIPTION QTY VALIDITY NOTES 1 82412831AB L.H. FOOT PEG HOLDER PLATE 1 2 88450031A CIRCLIP E-TYPE 2 3 84740021A BALL 1 4 79910241A SPRING 1 5 82110901B FOOTREST PIN 1 6 82711611B PLATE 2 7 46510611A REAR LEFT FOOT-REST 1 8 85213861AA WASHER 1 9 82110681B FOOTREST PIN 1 10 46410941BA HOLDER 1 11
SPRING. FOOTREST 1 12
LEFT FOOTREST 1 13
RUBBER PAD 1 14
GEARCHANGE LEVER 1 15 77156688B SCREW TCEIF 2 16
NUT, SELF-LOCKING M6 1 17
ROD, GEAR SHIFT LINK 1 18
DAMPER FOOTREST 1 19
SCREW, SPECIAL 1 20
SCREW, SPECIAL 1 21
SCREW 1 22 70010491A DAMPER 2 23 85210651B WASHER 10.2X31X1.5 1 24 74941128B NUT M8 1 25 85213871AA WASHER, SPECIAL 1 26 45612071AA GEAR CONTROL LEVER 1 27 77110191A SCREW TCEIF M6X20 1 28 88642431A O-RING 2 29 85211571A WASHER 12.2X25X1.5 1 30 76510031A FOOT PEG RUBBER COVER L.H. 1
DRAWING 26B - FOOTRESTS, RIGHT GROUP FRAME 1100 TRIBUTE PRO USA /23 D31000023 Page 116 / 160 SPARE PARTS CATALOGUE 04/07/2022

46410941BA

79914991A

46410591AA

74750031A

77916471A

77911511AA

85211571A

70011161A

77914181AA

42020008A

53940035B

70010491A

76510021A

GASKET

DRAWING 26B - FOOTRESTS, RIGHT GROUP FRAME SPARE PARTS CATALOGUE 04/07/2022 Page 117 / 160 1100 TRIBUTE PRO USA /23 D31000023 POS. CODE DESCRIPTION QTY VALIDITY NOTES 1 82412822AB R.H. FOOT PEG HOLDER PLATE 1 2 88450031A CIRCLIP E-TYPE 2 3 84740021A BALL 1 4 79910241A SPRING 1 5 82110901B FOOTREST PIN 1 6 82711611B PLATE 2 7 46510601A REAR RIGHT FOOTREST 1 8 85213861AA WASHER 1 9 82110681B FOOTREST PIN 1 10
HOLDER 1 11
SPRING. FOOTREST 1 12
RIGHT FOOTREST 1 13
NUT 6MM 2 14
SCREW 1 15 45721002AA BRAKE CONTROL LEVER 1 16 79915863A SPRING 1 17
SCREW, SPECIAL 1 18
WASHER 12.2X25X1.5 1 19
DAMPER FOOTREST 1 20
SCREW, SPECIAL 2 21
COPPER
11X8.2X1 1 22
SWITCH, REAR BRAKE 1 23
DAMPER 2 24
FOOT PEG RUBBER COVER R.H. 1 25 74941128B NUT M8 1 26 85213871AA WASHER, SPECIAL 1 27 11711523AA ROD, BRAKE 1 28 85010151A QUICK FASTENING 1 29 88642431A O-RING 2 30 18410051A FORK HEADS DIN 71752 1 31 82718591AA PLATE 1 32 77550131A SCREW 2 33 8301A721AA BRACKET, FUEL TANK 1 34 77210631A SCREW TEF M6X20 2
DRAWING 27A - REAR MUDGUARD GROUP FRAME 1100 TRIBUTE PRO USA /23 D31000023 Page 118 / 160 SPARE PARTS CATALOGUE 04/07/2022
DRAWING 27A - REAR MUDGUARD GROUP FRAME SPARE PARTS CATALOGUE 04/07/2022 Page 119 / 160 1100 TRIBUTE PRO USA /23 D31000023 POS. CODE DESCRIPTION QTY VALIDITY NOTES 1 79917071AA SPRING 1 2 56511241AL REAR MUDGUARD 1 3 56511311B REAR LOWER MUDGUARD 1 4 71615651AA SPACER 2 5 77214411BA SCREW, SPECIAL 6 6 8301B121AA BRACKET 1 7 85012911A STICKER "DUAL LOCK" 2 8 86050481A PIN 1 9 87211601A PLUG 1 10 88640771A O-RING 1 11 77240583C SCREW TBEIF M8X16 2 12 77240623C SCREW TBEIF M8X25 2 13 85041031A NUT, SPRING M5 4 14 4381G241A STICKER CENTRE 1
DRAWING 28A - FRONT WHEEL GROUP FRAME 1100 TRIBUTE PRO USA /23 D31000023 Page 120 / 160 SPARE PARTS CATALOGUE 04/07/2022
DRAWING 28A - FRONT WHEEL GROUP FRAME SPARE PARTS CATALOGUE 04/07/2022 Page 121 / 160 1100 TRIBUTE PRO USA /23 D31000023 POS. CODE DESCRIPTION QTY VALIDITY NOTES 1 74810651A NUT 1 2 85212221A WASHER 1 3 72010513C SCREW 10 4 504Z0381AA PHONIC WHEEL 1 5 49241011A FRONT BRAKE DISC 2 6 46047521A GUARD 1 7 50340051A AIR TUBE 1 8 71413281AA INNER SPACER 1 9 49640041BB SPOKE, WHEEL 36 10 81910842AA FRONT WHEEL SPINDLE 1 11 7131B901AA LEFT SPACER 1 12 71413261AA RIGHT SPACER 1 13 50122501AB FRONT WHEEL RIM 1 14 70250451A BEARING 2 15 81540051AB NIPPLE, SPOKE 36 16 16220681AA HUB, FRONT WHEEL 1
DRAWING 29A - REAR WHEEL GROUP FRAME 1100 TRIBUTE PRO USA /23 D31000023 Page 122 / 160 SPARE PARTS CATALOGUE 04/07/2022
DRAWING 29A - REAR WHEEL GROUP FRAME SPARE PARTS CATALOGUE 04/07/2022 Page 123 / 160 1100 TRIBUTE PRO USA /23 D31000023 POS. CODE DESCRIPTION QTY VALIDITY NOTES 1 43314601A CHAIN ADJUSTMENT STICKER 1 2 67621141A FINAL DRIVE KIT 1 3 74810232B NUT 2 4 81910791AA REAR WHEEL SPINDLE 1 5 49411931AA REAR SPROCKET T39 1 6 74840241AB NUT 5 7 7131A811A OUTSIDE SPACER 1 8 88440061A CIRCLIP 1 9 46040321A GUARD 1 10 71311841A INNER SPACER 1 11 50410061A REAR PHONIC WHEEL 1 12 77351223BF SCREW 6 13 49240032A REAR BRAKE DISC 1 14 50222251AB REAR WHEEL RIM 1 15 70250621A BEARING 2 16 7131B051AA INNER SPACER 1 17 70010591A WHEEL RUNNER BUSH 5 18 82110091B SPRING DRIVE FIXING BUSH 5 19 16022491A DRUM, SPROCKET MOUNTING ASSY 1 20 7131A801A INNER SPACER 1 21 70240381A BEARING 2 22 81540051AB NIPPLE, SPOKE 36 23 50340021A AIR TUBE 1 24 49640031BB SPOKE, WHEEL 18 25 16220481BA HUB, REAR WHEEL 1 26 49640071AB SPOKE, WHEEL 18
DRAWING 30A - TANK GROUP FRAME 1100 TRIBUTE PRO USA /23 D31000023 Page 124 / 160 SPARE PARTS CATALOGUE 04/07/2022
DRAWING 30A - TANK GROUP FRAME SPARE PARTS CATALOGUE 04/07/2022 Page 125 / 160 1100 TRIBUTE PRO USA /23 D31000023 POS. CODE DESCRIPTION QTY VALIDITY NOTES 1 16024352B FUEL PUMP 1 2 58612661AL FUEL TANK 1 3 59014741A HOSE, DRAIN 1 4 59013051B HOSE, DRAIN 1 5 71615611AA SPACER 1 6 77156418B SCREW TCEIF M5X16 4 7 77215061AA SCREW, SPECIAL 2 8 77244213B SCREW 6 9 77250808B SCREW 1 10 77919281AA SCREW 2 11 85611361A WASHER 2 12 86612561A PAD 1 13 86612571A PAD, FUEL TANK 2 14 86612341A PAD 2 15 69926951A GASKET KIT 1 16 74140641A CLAMP 1 17 4381G251A TRANSFER 1 18 4381G261A STICKER CENTRE 1 19 59210272B FUEL LEVEL GAUGE 1
DRAWING 31A - EXHAUSRT PIPE ASSY GROUP FRAME 1100 TRIBUTE PRO USA /23 D31000023 Page 126 / 160 SPARE PARTS CATALOGUE 04/07/2022
DRAWING 31A - EXHAUSRT PIPE ASSY GROUP FRAME SPARE PARTS CATALOGUE 04/07/2022 Page 127 / 160 1100 TRIBUTE PRO USA /23 D31000023 POS. CODE DESCRIPTION QTY VALIDITY NOTES 1 4601G271A HEAT GUARD 1 2 4601G281C THERMOREFLECTING PROTECTION 1 3 55215021A SENSOR LAMBDA SOND 2 4 57015121BA HORIZONTAL EXHAUST PIPE 1 5 57115091BA VERTICAL EXHAUST PIPE 1 6 74142651A CLAMP 1 7 79010481A GASKET 1 8 57212051BA UNION 1 57212081BA UNION 1 9 74840331A NUT M8 4 10 57610671A BRACKET, SILENCER 1 11 76410641B VIBRATION DAMPER PAD 2 12 77156694B SCREW 2 13 79010261A GASKET, EXHAUST PIPE 2 14 74141641A CLAMP 2 15 85240131A WASHER 5.3X15X1 2 16 4601C172A HEAT GUARD UPPER 1 17 4601G991BB HEAT GUARD BOTTOM 1 18 4601C601A THERMOREFLECTING PROTECTION 1 19 77211021A SCREW TBEIF M6X10 2 20 77214411BA SCREW, SPECIAL 2 21 85044691A QUICK FASTENING 4 22 85040381A QUICK FASTENING 2 23 78020011A PLUG ASSY 2 24 72050159EA SCREW 2 25 8301G221AA BRACKET, MUFFLER SUPPORT 1 26 71614141A SPACER 6.25X10X5.75 4 27 79010421A GASKET 1 28 85250291A WASHER 1
DRAWING 31B - EXHAUST SILENCER GROUP FRAME 1100 TRIBUTE PRO USA /23 D31000023 Page 128 / 160 SPARE PARTS CATALOGUE 04/07/2022

7131D941AA

77157213B

77214411BA

77244358BA

74141641A

77240438C

7791B071AA

DRAWING 31B - EXHAUST SILENCER GROUP FRAME SPARE PARTS CATALOGUE 04/07/2022 Page 129 / 160 1100 TRIBUTE PRO USA /23 D31000023 POS. CODE DESCRIPTION QTY VALIDITY NOTES 1 57314871CA SILENZIATORE COMPLETO 1 2 59340393A ELECTRIC MOTOR, EXHAUST VALVE 1 3 71314361A COLLAR, SILENCER MOUNTING 4 4 73210701B CABLE, EXHAUST VALVE 1 5 76410011A DAMPER 4 6 77355068B SCREW TCEIR M8X35 2 7 8301B091A BRACKET 1 8 85041471A CLIP NUT 1 9 8301B141AA BRACKET, MUFFLER SUPPORT 1 10 77244163B SCREW TBEI M5X10 6 11 4601H821AB HEAT GUARD UPPER 1 12 4601H831AB HEAT GUARD BOTTOM 1 13 4601H841A COVER 1 14 4601H851A COVER 1 15 4601H961A COVER 1 16 4601H971A HEAT GUARD 1 17
SPACER 5 18
SCREW TCEIF M8X16 1 19
SCREW, SPECIAL 2 20
SCREW 5 21
CLAMP 1 22
SCREW TBEIF M6X18 6 23 85044691A QUICK FASTENING 6 24
SCREW, SPECIAL 2
DRAWING 32A - SEAT GROUP FRAME 1100 TRIBUTE PRO USA /23 D31000023 Page 130 / 160 SPARE PARTS CATALOGUE 04/07/2022

OWNER'S MANUAL

OWNER'S MANUAL

91375851IT OWNER'S MANUAL

CROATIA

HUNGARY

ITALY

91375851JA OWNER'S MANUAL 1 JAPAN

91375851KO OWNER'S MANUAL 1 KOREAN

91375851MX OWNER'S MANUAL 1 MEXICO

91375851NL OWNER'S MANUAL 1 HOLLAND

91375851NO OWNER'S MANUAL 1 NORWAY

91375851PL OWNER'S MANUAL 1 POLAND

91375851PT OWNER'S MANUAL 1 PORTUGAL

91375851RO OWNER'S MANUAL 1 ROMANIA

91375851RU OWNER'S MANUAL 1 RUSSIAN

91375851SK OWNER'S MANUAL 1 SLOVAK 91375851SL OWNER'S MANUAL 1 SLOVENIAN 91375851SV OWNER'S MANUAL 1 SWEDEN 91375851US OWNER'S MANUAL 1 USA/CANADA 91375851ZH OWNER'S MANUAL 1

TRADITIONAL CHINESE

91376091AR OWNER'S MANUAL 1 ARABIC

91376091BG OWNER'S MANUAL 1

BULGARIAN

91376091CA OWNER'S MANUAL 1 CANADA/FRA

91376091CS OWNER'S MANUAL 1 CZECH REPUBLIC

91376091DA OWNER'S MANUAL 1 DENMARK

91376091DE OWNER'S MANUAL 1 GERMAN

91376091EL OWNER'S MANUAL 1 GREECE

91376091EN OWNER'S MANUAL 1 ENGLISH

91376091ES OWNER'S MANUAL 1 SPANISH

91376091FI OWNER'S MANUAL 1 FINLAND

91376091FR OWNER'S MANUAL 1 FRENCH

DRAWING 32A - SEAT GROUP FRAME SPARE PARTS CATALOGUE 04/07/2022 Page 131 / 160 1100 TRIBUTE PRO USA /23 D31000023 POS. CODE DESCRIPTION QTY VALIDITY NOTES 1 59516701AB SEAT 1 2 75940041A RUBBER BAND, TOOLS KIT 1 3 76410631B RUBBER PAD 2 4 86610191A CUSHION, SEAT 6 5 86610301A PAD 2 6 69720381A TOOL BAG 1 7 91375851HR
1
91375851HU
1
1
DRAWING 33A - FRAME GROUP FRAME 1100 TRIBUTE PRO USA /23 D31000023 Page 132 / 160 SPARE PARTS CATALOGUE 04/07/2022
DRAWING 33A - FRAME GROUP FRAME SPARE PARTS CATALOGUE 04/07/2022 Page 133 / 160 1100 TRIBUTE PRO USA /23 D31000023 POS. CODE DESCRIPTION QTY VALIDITY NOTES 1 47028341BA FRAME 1 2 84840111A BALL JOINT 1 3 74841011AA NUT, FLANGE 2 4 77156393B SCREW M5X12 2 5 77156633B SCREW 2 6 7791A131AA PIN 1 7 7791B191AA PIN 1 8 8301A571AA BRACKET 1 9 8301A581AA BRACKET, IGNITER 1 10 85040381A QUICK FASTENING 2 11 85040671A CLAMP TUCKER 11
DRAWING 33B - REAR FRAME COMP. GROUP FRAME 1100 TRIBUTE PRO USA /23 D31000023 Page 134 / 160 SPARE PARTS CATALOGUE 04/07/2022
DRAWING 33B - REAR FRAME COMP. GROUP FRAME SPARE PARTS CATALOGUE 04/07/2022 Page 135 / 160 1100 TRIBUTE PRO USA /23 D31000023 POS. CODE DESCRIPTION QTY VALIDITY NOTES 1 47111551AB REAR FRAME R.H. 1 2 47111561AB REAR FRAME L.H. 1 3 76412281A RUBBER PAD 2 4 77110212A SCREW 4 5 77157238B SCREW TCEIF M8X20 4 6 77240393C SCREW TBEIF M6X10 10.9 3 7 77240583C SCREW TBEIF M8X16 2 8 77240773B SCREW 2 9 7791B211AA SCREW, SPECIAL 3 10 8301A621BA BRACKET FRONT 1 11 8301A631AA BRACKET, REAR 1 12 8301A641AA BRACKET, TAILLIGHT 1 13 8301A671BA BRACKET, FUEL TANK 1 14 87211311A PLUG, RH 1 15 87211321A PLUG 1 16 87240821A PLUG 2 17 75840981A CLAMP 1 18 87241291A PLUG 1 19 8291H731AA BRACKET, MOTOR EXHAUST VALVE 1 20 76411141A VIBRATION DAMPER PAD 1 21 77214221AA SCREW, SPECIAL 1
DRAWING 34A - OIL COOLER GROUP FRAME 1100 TRIBUTE PRO USA /23 D31000023 Page 136 / 160 SPARE PARTS CATALOGUE 04/07/2022
DRAWING 34A - OIL COOLER GROUP FRAME SPARE PARTS CATALOGUE 04/07/2022 Page 137 / 160 1100 TRIBUTE PRO USA /23 D31000023 POS. CODE DESCRIPTION QTY VALIDITY NOTES 1 53940302A SWITCH ASSY, OIL PRESSURE 1 2 54841171A OIL COOLER 1 3 54911441C OIL DELIVERY PIPE 1 4 54911451C PIPE 1 5 70010111B VIBRATION DAMPER 2 6 77240393C SCREW TBEIF M6X10 10.9 2 7 78710111A GASKET, ALUMINIUM 14X22X2 2 8 81510221A NIPPLE, HOSEM14X1.5 2 9 85211951A GASKET 10.5X17X2 1 10 75811421A HOSE GUIDE 2 11 4601H701A PROTECTION SHEATH 1 12 069191030 CLAMP 2
DRAWING 35A - AIR INTAKE - OIL BREATHER GROUP FRAME 1100 TRIBUTE PRO USA /23 D31000023 Page 138 / 160 SPARE PARTS CATALOGUE 04/07/2022
DRAWING 35A - AIR INTAKE - OIL BREATHER GROUP FRAME SPARE PARTS CATALOGUE 04/07/2022 Page 139 / 160 1100 TRIBUTE PRO USA /23 D31000023 POS. CODE DESCRIPTION QTY VALIDITY NOTES 1 13510541A AIR FUNNEL 1 2 42610491A FILTER, AIR 1 3 44218981D AIR FILTER BOX 1 4 44221761B AIR FILTER BOX 1 5 55240121A SENSOR, AIR TEMPERATURE 1 6 59018141A HOSE, DRAIN AIRBOX 1 7 7131C891A SPACER 1 8 71610061A SPACER 2 9 74140651A FASCETTA 11-7 MM 1 10 74941118B NUT 6MM 2 11 76410241A VIBRATION DAMPER PAD 2 12 76410861A RUBBER PAD 1 13 77156743C SCREW 3 14 77240403C SCREW 2 15 77251033B SCREW TEF M6X25 8.8 3 16 77440111A SCREW 2 17 77440321A SCREW, TAPPING 13 18 78811041A GASKET, COOLING WATER SENSOR 1 19 78811761A GASKET 1 20 8301A561AA BRACKET 1 21 85040471A QUICK FASTENING M5 6 22 77354743B SCREW TCEIR M5X20 DIN6912 8.8 4 23 85611741AA SPACER 1 24 86610301A PAD 1 25 88642891A O-RING 3 26 76411231A RUBBER PAD 1
DRAWING 35B - SECONDARY AIR SYSTEM GROUP FRAME 1100 TRIBUTE PRO USA /23 D31000023 Page 140 / 160 SPARE PARTS CATALOGUE 04/07/2022
DRAWING 35B - SECONDARY AIR SYSTEM GROUP FRAME SPARE PARTS CATALOGUE 04/07/2022 Page 141 / 160 1100 TRIBUTE PRO USA /23 D31000023 POS. CODE DESCRIPTION QTY VALIDITY NOTES 1 58511141A VENT TANK 1 2 59018841A DEPRESSURE/PRESSURE LINE 1 3 59340531A ACTUATOR 1 4 71614142B SPACER 2 5 74140431A CLAMP 2 6 74141811A CLAMP 16-27 MM 2 7 74142411A CLAMP 2 8 74142371A CLAMP 2 9 74142401A CLAMP 2 10 77914271A SCREW 2 11 78811741A GASKET 1 12 69929291A PRESSURE SENSOR KIT AND SUPPORT 1 13 87613961B DUCT, AIR 1 14 87613971A DUCT, AIR 1 15 87613981A DUCT, AIR 1 16 87620051B HOSE, BLOW-BY 1 17 76412451A RUBBER PAD 1 18 77244183B SCREW 1 19 85213002A WASHER 1
DRAWING 36A - THROTTLE BODY GROUP FRAME 1100 TRIBUTE PRO USA /23 D31000023 Page 142 / 160 SPARE PARTS CATALOGUE 04/07/2022
DRAWING 36A - THROTTLE BODY GROUP FRAME SPARE PARTS CATALOGUE 04/07/2022 Page 143 / 160 1100 TRIBUTE PRO USA /23 D31000023 POS. CODE DESCRIPTION QTY VALIDITY NOTES 1 14010851E INTAKE MANIFOLD 1 2 74141801A CLAMP 40-60 MM 2 3 81411111C NIPPLE, HOSE 1 4 81413341A UNION 1 5 85250231A GASKET 2 6 28040231A INJECTOR 2 7 28241072A THROTTLE BODY 1 8 74141871A CLAMP 60-80 MM 1 9 77156398B SCREW TCEIF M5X12 2 10 81441211A CAP 2
DRAWING 36B - CANISTER FILTER GROUP FRAME 1100 TRIBUTE PRO USA /23 D31000023 Page 144 / 160 SPARE PARTS CATALOGUE 04/07/2022

81440491B

74140641A

74110121A

86612951A

75811771A

83014941B

DRAWING 36B - CANISTER FILTER GROUP FRAME SPARE PARTS CATALOGUE 04/07/2022 Page 145 / 160 1100 TRIBUTE PRO USA /23 D31000023 POS. CODE DESCRIPTION QTY VALIDITY NOTES 1 42640041B CANISTER FILTER 1 2 86612481A PAD 1 3 4601G061B COVER 1 4 93510971A HOSE 1 5 59014751A HOSE 1 6 65540101A VALVE, BREATHER 1 7 93510391A HOSE 1 8 74140581A CLAMP 1 9 81440101A UNION, QUICK-COUPLING 1 10 4601H091A THERMOREFLECTING PROTECTION 1 11 4601H081A THERMOREFLECTING PROTECTION 1 12
JOINT Y 1 13 74140651A FASCETTA 11-7 MM 1 14
CLAMP 2 15 28740241B CLAMP CLICK 16.8MM 6 16 59017891A PIPE 3 17
CLAMP, RUBBER 62MM 8 18 77440131A SCREW, TAPPING 5X25 WN1411 2 19
VIBRATION DAMPER 1 20
HOSE GUIDE 1 21
CLAMP, WIRE 1
DRAWING 37A - FAIRING GROUP FRAME 1100 TRIBUTE PRO USA /23 D31000023 Page 146 / 160 SPARE PARTS CATALOGUE 04/07/2022
DRAWING 37A - FAIRING GROUP FRAME SPARE PARTS CATALOGUE 04/07/2022 Page 147 / 160 1100 TRIBUTE PRO USA /23 D31000023 POS. CODE DESCRIPTION QTY VALIDITY NOTES 1 4381G211A RIGHT STICKER 1 2 4381G221A LEFT STICKER 1 3 4601G101AC RIGHT COVER 1 4 4601G111AC PROTECTION, LEFT 1 5 4601G331AF CAP RH 1 6 4601G341BF CAP LH 1 7 48019131AL CAP RH 1 8 86611831B RUBBER PAD 2 9 86612581A RUBBER PAD 4 10 48019141AL CAP LH 1 11 76411671A RUBBER PAD 4 12 77244168B SCREW 8 13 77750398C SCREW 2
DRAWING 38A - POSITIONING PLATES GROUP FRAME 1100 TRIBUTE PRO USA /23 D31000023 Page 148 / 160 SPARE PARTS CATALOGUE 04/07/2022
DRAWING 38A - POSITIONING PLATES GROUP FRAME SPARE PARTS CATALOGUE 04/07/2022 Page 149 / 160 1100 TRIBUTE PRO USA /23 D31000023 POS. CODE DESCRIPTION QTY VALIDITY NOTES 1 43311661A LABEL WARNING MIRROR 2 2 43311701A LABEL, HELMET HOLDER 1 3 43311641A LABEL WARNING FUEL TANK 1

CODE NO. TABLE POS.

027291090 02A 8

040009050 02A 21

040029126 02A 17

064770010 11C 7

064770010 11D 7

066013143 02A 9

066549680 04A 2

069191030 18B 16

069191030 34A 12

11210121AA 05A 11

11210121AB 05A 11

11210121AC 05A 11

11210121AD 05A 11

11210121AE 05A 11

11210791A0 09B 10

11210791AA 09B 10

11210791AB 09B 10

11210791AC 09B 10

11210791AD 09B 10

11210791AE 09B 10

11711523AA 26B 27

11723561B 26A 17

11723621A 03B 16

12022761D 06A 1

12022771D 06A 7

12112111A 06A 3

12120452A 06A 4

12221651E 06A 2

13510541A 35A 1

14010851E 36A 1

14622291AA 05A 1

14622291AB 05A 1

14622291AC 05A 1

14710951B 09A 3

147Z0011A 07A 9

14815671A 11B 12

14815681A 11A 12

14911101A 03A 2

14911191A 03A 12

15021961B 03A 3

15021971A 03A 16

15310261AA 22A 12

15820123A 05A 4

16011051A 11A 6

CODE NO. TABLE POS.

16011051A 11B 6

16015511A 11A 20

16015511A 11B 20

16022491A 29A 19

16024352B 30A 1

160Z0011A 10A 13

16220481BA 29A 25 16220681AA 28A 16

16311231A 11A 21

16311231A 11B 21 17021361A 03B 17 17122421A 07A 10 17210021B 03A 10 17210081C 03A 22 17210103C 03A 20 17210113C 03A 23 17212182A 03A 18 17212192A 03A 13 17214621A 03A 21 17214951B 03A 8 17214961B 03A 5 17214971B 03A 9 173Z0021A 10A 14 17410621B 08A 1 17420731A 09A 4 176Z0021A 10A 10 18020511A 02A 6 180Z0031A 02A 11 180Z0041A 02A 12 18220691B 02A 18 18410051A 26B 30 18710021A 20B 5 18710021A 22B 2 19020531A 03B 9 19410511A 03B 4 19510411D 22B 1 19540081B 22B 3 19610542C 03B 11 19610681A 03B 12 19820441A 03B 14 208Z0011A 11C 4 208Z0011A 11D 4 209Z0011A 11C 9 209Z0011A 11D 9

CODE NO. TABLE POS.

21011181A 11C 15

21011181A 11D 15

21111181A 11C 16 21111181A 11D 16 22032083A 09A 5

225P0151A 09A 1 23520422A4 11A 14 23520422A4 11B 14 24020393A 11C 22 24020393A 11D 22 24020401A 11D 23 24221561AZ 04B 1 24321571AZ 04A 1 24511691AZ 07A 1 24511701AZ 07A 4 24511711B 11A 8 24511721B 11B 8 24714081A 11A 27 24714081A 11B 27 24714612A 09A 7 24714771AC 04B 8 24714911A 15A 2 25440013A 04A 3 25510233A 07A 15 25510243A 11A 5 25510243A 11B 5 26420471A 10A 12 27040107A 10A 1 27610781A 10A 16 28040231A 36A 6 28241072A 36A 7 28643411C 13D 1 28740241B 36B 15 30122751JB 11D 12 30122761JB 11C 12 30310781AA 11C 13 30310781AA 11D 13 30310781AB 11C 13 30310781AB 11D 13 30310781AC 11C 13 30310781AC 11D 13 30410731AB 11C 20

30410731AB 11D 20 30410731AC 11C 20

CODE NO. TABLE POS.

30410731AC 11D 20

30410741AB 11C 14

30410741AB 11D 14

30410741AC 11C 14

30410741AC 11D 14

34111191BB 18A 1

34221001BB 18A 5

34420911BB 18B 1

34520911BB 18B 2

34922511A 18B 12

34922521A 18B 9

34922531A 18B 13

34922541A 18B 10

34922551A 18B 15

34922561A 18B 11

34922571A 18B 14

34922591A 18B 17

34923061A 18B 6

36015641AB 22A 1

36015651BA 22A 8

36015731AA 22A 2

36521931A 23A 1

36910081A 19A 6

37012462AA 19A 1 37310631A 19A 9

38040101C 13A 1

38511163A 13C 6

38540073B 13C 15

38640591A 13C 8

38940191A 13B 5

38940201A 13B 5

38940211A 13B 5

38940221A 13B 5

38940231A 13C 30

38940241A 13B 5

38940261A 13B 5

38940301A 13B 5

39040211A 14A 26

39040211A 14B 11

39040291A 14A 24

39040341A 14A 23

39740081B 13C 27

40611761B 15A 1

40611761C 15A 1

ALPHANUMERIC INDEX 1100 TRIBUTE PRO USA /23 D31000023 Page 150 / 160 SPARE PARTS CATALOGUE 04/07/2022

CODE NO. TABLE POS.

42020008A 26B 21

42610491A 35A 2

42640041B 36B 1

43311641A 38A 3

43311661A 38A 1

43311701A 38A 2

43313911A 04A 17

43314601A 29A 1

43713191AT 24A 1

43713201AT 24A 2

4381G211A 37A 1

4381G221A 37A 2

4381G231A 24A 9

4381G241A 27A 14

4381G251A 30A 17

4381G261A 30A 18

44218981D 35A 3

44221761B 35A 4

44440039A 09B 3

44712022A 19A 13

44712321A 19A 15

44910681A 17A 1

45120201A 07A 7

45120211A 06A 6

45520181A 09A 8

45612071AA 26A 26

45622501AA 26A 14

45721002AA 26B 15

4601C172A 31A 16

4601C601A 31A 18

4601D781B 21A 24

4601G061B 36B 3

4601G101AC 37A 3

4601G111AC 37A 4

4601G271A 31A 1

4601G281C 31A 2

4601G331AF 37A 5

4601G341BF 37A 6

4601G751A 17A 2

4601G811A 13B 12

4601G991BB 31A 17

4601H081A 36B 11

4601H091A 36B 10

4601H701A 13B 15

CODE NO. TABLE POS.

4601H701A 16A 13

4601H701A 34A 11

4601H821AB 31B 11

4601H831AB 31B 12

4601H841A 31B 13

4601H851A 31B 14 4601H961A 31B 15 4601H971A 31B 16

4601I661A 21A 8 46020031AB 14A 7 46040321A 29A 9 46047521A 28A 6 46320222A 09A 10 46320537A 03A 14 46410591AA 26B 12 46410601AA 26A 12 46410941BA 26A 10 46410941BA 26B 10 46510601A 26B 7 46510611A 26A 7 47028341BA 33A 1 47111551AB 33B 1 47111561AB 33B 2 48019131AL 37A 7 48019141AL 37A 10 48611941A 04A 4 490P0112A A1 3 490P0112A C1 1 490PE339A A1 1 490PE339A B1 1 490PE343A A1 5 490PE343A I 1 49141271A A1 4 49141271A C1 2 491PE348A A1 6 491PE348A I 2 491PE349A A1 2 491PE349A B1 2 49240032A 29A 13 49241011A 28A 5 49411931AA 29A 5 49640031BB 29A 24 49640041BB 28A 9 49640071AB 29A 26

CODE NO. TABLE POS.

50122501AB 28A 13

50222251AB 29A 14

50340021A 29A 23

50340051A 28A 7

50410061A 29A 11

504Z0381AA 28A 4

5101D211D 13B 10

5101E251B 13B 13

5101F841E 13B 1

51310782B 13C 26

51410911B 13C 24 51410921B 13C 25 51610043C 13D 2 51840051B 13E 2 52010541A 14A 8 52310502B 22A 18 52310512B 22A 17 52510431G 21A 18 52510508A 14B 1 52910131B 21A 12 52910221A 18B 3 53010226B 14A 20 53010226B 14B 10 53010236B 14A 17 53010236B 14B 9 53910351A 16A 8 53910441A 20A 2 53910511A 22B 9 53940035B 26B 22 53940302A 34A 1 54040111C 13D 4 54140101A 13B 9 54240801A 20C 1 54841171A 34A 2 54911441C 34A 3 54911451C 34A 4 55212121B 13D 5 55215021A 31A 3 55240121A 13D 8 55240121A 35A 5 55241321C 09B 14 55241452A 06A 8 55243911A 02A 24 55243941B 04B 4

CODE NO. TABLE POS.

55610663AC 16A 6

55611031AA 16A 1

55620881AA 16A 10

56113211A 21A 11

561A3171C 21A 1

56426531AL 24A 3

56511241AL 27A 2

56511311B 27A 3

57015121BA 31A 4

57115091BA 31A 5

57212051BA 31A 8

57212081BA 31A 8

57314871CA 31B 1

57610671A 31A 10

58511141A 35B 1

58540301A 20D 1

58612661AL 30A 2

59013051B 30A 4

59014741A 30A 3

59014751A 36B 5

59017891A 36B 16

59018141A 35A 6

59018841A 35B 2

59210272B 30A 19

59310601B 09A 11

59310801B 09A 59

59320621B 09A 9

59340393A 31B 2

59340531A 35B 3

59516701AB 32A 1

59810201A 13E 6

59810401A 13C 31

59820611A 13C 10

59821441E 13E 7

59821581C 13E 7

59840291A 13E 4

61041292C 20B 2

61041302C 20B 1

61141651A 20D 10

61240052A 20B 8

61240052A 22B 4

61240081A 20D 13

61240301A 20D 8

61240511A 20B 10

ALPHANUMERIC INDEX SPARE PARTS CATALOGUE 04/07/2022 Page 151 / 160 1100 TRIBUTE PRO USA /23 D31000023

CODE NO. TABLE POS.

61241221A 20D 14

61340761A 20D 11

61341021A 20B 11

61811162B 20C 7

61811181B 20B 4

61811421C 20C 9

61911011A 20C 12

61911021A 20C 10

62441291A 20A 1

62540191A 20D 9

62640231A 20A 3

62640291A 22B 6

62640601A 20A 4

62640601A 22B 13

63040911A 22B 5

63140281A 20D 12

63140661A 22B 14

63140691A 20A 5

63210842A 22B 7

65010241D 22A 15

65110242D 22A 16

65220241D 13E 5

65540101A 36B 6

66020141A 22A 9

66910011E 11C 8

66910011E 11D 8

67040351A 10A 17

67110771B 13A 2

67110781B 13A 3

67110792B 13A 4

67110802B 13A 5

67210471A 13C 32

67621141A 29A 2

67641041A 17A 3

67740231A 17A 4

68010131A 05A 6

68010131A 07A 5

68010131A 11A 11

68010131A 11B 11

68050101A 09A 17

68540081A 14A 15

69720381A 32A 6

69926751A 13C 22

69926951A 30A 15

CODE NO. TABLE POS.

69929291A 35B 12

70010111B 34A 5

70010362A 09A 18

70010491A 26A 22

70010491A 26B 23

70010591A 29A 17

70010691A 21A 17 70011151A 22A 3

70011161A 26A 18 70011161A 26B 19 70040241A 14A 3

70140051A 03A 4

70140211A 03A 17 70140351A 10A 11 70240131A 09A 19 70240181B 10A 15 70240331A 09A 20 70240381A 29A 21 70241231A 18A 9 70250081A 04B 2 70250081A 09A 21 70250193A 09A 22 70250451A 28A 14 70250601A 03B 10 70250621A 29A 15 70310131A 18A 3 70350062A 07A 6 70350062A 11A 2 70350062A 11B 2 70450091A 08A 2 70450091A 09A 23 71011071A 22A 10 71011901A 14A 11 71110951A 09A 6

71111261A 11A 31 71111261A 11B 31 71111281A 09B 12 71111301A 22A 11 71111601A 09B 4 71113011B 06A 9 71113391C 09A 66 71115491A 14A 12 71115841BA 21A 5 71115851AA 21A 3

CODE NO. TABLE POS.

71310141E 03A 11

71311841A 29A 10

71312661A 03A 15

71313091A 03B 13

71313931A 03A 1

71314361A 31B 3

71314703A 14B 8

71314831B 03B 15

71314901A 13D 6

71319151A 02A 2

71319191A 10A 8

71319201A 13D 6

7131A792A 14A 5

7131A801A 29A 20 7131A811A 29A 7 7131B051AA 29A 16

7131B901AA 28A 11

7131C891A 35A 7 7131D001A 14A 19

7131D941AA 31B 17

71413261AA 28A 12 71413281AA 28A 8 71510081B 23A 6 71610031A 13C 3 71610031A 20C 4 71610061A 13C 18 71610061A 35A 8

71610732A 07A 13 71610991B 07A 17 71614011B 24A 4 71614141A 31A 26 71614142B 35B 4 71614261A 21A 13 71615091AA 13C 12 71615151AA 15A 3 71615261AA 14B 5 71615511AA 23A 2 71615611AA 30A 5

71615651AA 27A 4

72010513C 28A 3 72050069E 04B 5

72050159EA 31A 24

72050173C 11C 23

72050173C 11D 24

CODE NO. TABLE POS.

720941616 09A 24

73210701B 31B 4

735001542 02A 15

735033380 09A 26

73740211A 07A 3

74110121A 36B 17

74110551A 13B 2

74140381A 13B 14

74140381A 21A 25

74140431A 20D 7

74140431A 35B 5

74140581A 36B 8

74140621A 19A 11

74140641A 30A 16

74140641A 36B 14

74140651A 35A 9

74140651A 36B 13

74141641A 31A 14

74141641A 31B 21

74141701A 21A 9

74141801A 36A 2

74141811A 35B 6

74141871A 36A 8

74142371A 35B 8

74142401A 35B 9

74142411A 35B 7

74142651A 31A 6

74710151A 09A 25

74750031A 18A 6

74750031A 26B 13

74810232B 29A 3

74810502B 11A 29

74810502B 11B 29

74810651A 28A 1

74840241AB 22A 4

74840241AB 29A 6

74840331A 31A 9

74840341B 19A 17

74841011AA 33A 3

74841101AA 14A 1

74850021A 23A 3

74910031AA 16A 5

74940041A 26A 16

74941118B 13C 16

ALPHANUMERIC INDEX 1100 TRIBUTE PRO USA /23 D31000023 Page 152 / 160 SPARE PARTS CATALOGUE 04/07/2022

CODE NO. TABLE POS.

74941118B 14A 4

74941118B 35A 10

74941128B 26A 24

74941128B 26B 25

75010071A 17A 6

75010071E 03B 7

75010121D 05A 7

75011131A 05A 8

75011551A 13C 11

75011601A 07A 12

75050051A 13C 34

757941542 09A 27

75810901A 21A 6

75810911A 18B 4

75811421A 34A 10

75811611A 13E 13

75811771A 36B 20

75840601A 18B 8

75840601A 19A 5

75840771A 13B 11

75840981A 33B 17

75840991A 13B 7

75910371A 13C 21

75940041A 32A 2

764000004 09A 28

76410011A 31B 5

76410241A 13C 4

76410241A 20C 3

76410241A 35A 11

76410631B 32A 3

76410641A 14A 6

76410641B 31A 11

76410861A 35A 12

76410871A 11C 10

76410871A 11D 10

76410971A 18A 10

76411141A 15A 4

76411141A 33B 20

76411231A 35A 26

76411301A 13E 9

76411491A 13C 13

76411671A 14B 2

76411671A 37A 11

76412281A 14B 7

CODE NO. TABLE POS.

76412281A 33B 3

76412421B 13C 7

76412451A 35B 17

76510021A 26B 24

76510031A 26A 30

76510171A 26A 13

76611161A 09B 2

76640172A 11A 10

76640172A 11B 10

768351134 02A 10

77110191A 26A 27

77110212A 33B 4

77110391A 17A 5

77110441A 14A 25 77110441A 14B 6

77110481A 16A 9

77110491A 11A 7 77110491A 11B 7 77110521A 10A 6

77113861A 11A 16 77113861A 11B 16

77140677C 04B 9 77140677CF 10A 5 77140697CF 07A 2 77140697CF 10A 7 77140717C 04A 14 77140717C 04B 10 77140727C 04B 11 77140817C 04A 15 77140837C 04A 16

77150068B 09A 12 77150258B 14A 22 77150443B 15A 5 77150653B 09A 29 77150668BA 11C 3 77150668BA 11D 3 77150670ZF 02A 3 77150728B 09B 11 77150738B 22A 13 7715074BG 21A 2 77150758B 09A 30 77150768B 14A 2

77150808B 09B 8 77151250ZF 02A 1

CODE NO. TABLE POS.

77151278B 13E 8

77151278B 19A 21

7715128BG 21A 4

77151368B 09B 6

77156393B 33A 4

77156398B 36A 9

77156418B 30A 6

77156628B 13C 28

77156633B 33A 5

77156688B 26A 15

77156694B 18B 7

77156694B 31A 12

77156743C 35A 13

77157213B 31B 18

77157238B 11A 19

77157238B 11B 19 77157238B 33B 5

77157254B 18A 2

77157254B 22A 14

77159414B 22A 5

77210103A 07A 8

77210423C 13D 7 77210591A 20D 3 77210631A 26B 34 77210882C 13E 10 77210893B 24A 5

77211021A 13D 3

77211021A 31A 19 77211061A 13B 3 77211201A 03B 3 77211221B 18B 5 77211221B 24A 6 77211261B 19A 14 77214221AA 33B 21

77214411BA 27A 5

77214411BA 31A 20 77214411BA 31B 19 77215061AA 30A 7

77240133C 21A 26

77240263C 14A 18 77240288C 11A 26

77240288C 11B 26

77240308C 13C 35 77240393C 20C 6

CODE NO. TABLE POS.

77240393C 33B 6

77240393C 34A 6

77240403C 35A 14

77240433C 13C 17

77240438C 31B 22

77240443C 20C 5

77240453C 13C 2

77240463C 21A 14

77240583C 27A 11

77240583C 33B 7

77240623C 27A 12

77240773B 33B 8

77244163B 31B 10

77244168B 13E 12

77244168B 37A 12

77244183B 35B 18

77244213B 30A 8

77244358BA 31B 20

77250341B 09A 13

77250808B 30A 9

77251033B 35A 15

77253330ZF 10A 3

77350658B 09A 31

77350738BC 04B 6

77351223BF 29A 12

77354743B 35A 22

77354898B 22B 12

77355068B 31B 6

77440061A 21A 7

77440111A 35A 16

77440131A 13C 20

77440131A 36B 18

77440321A 19A 16

77440321A 35A 17

77510161A 21A 15

77510171A 14A 9

77510171A 14B 4

77510311B 09A 32

77510511B 16A 12

77510541A 18A 12

77510661B 11A 17

77510661B 11B 17

77510721A 04A 5

77550131A 26B 32

ALPHANUMERIC INDEX SPARE PARTS CATALOGUE 04/07/2022 Page 153 / 160 1100 TRIBUTE PRO USA /23 D31000023

CODE NO. TABLE POS.

77550211A 09B 7

77550213C 19A 10

77750398C 37A 13

77750498C 04B 12

77750508CC 09A 67

77910391A 09A 33

77911092A 05A 2

77911331A 11C 18

77911331A 11D 18

77911511AA 26A 19

77911511AA 26B 17

77911982A 09A 34

77912033A 02A 7

77912061AB 26A 21

77912981A 18A 7

77913311D 20B 3

77913662AB 20A 7

77913662AB 20C 8

77913662AB 20D 4

77913662AB 22B 16

77913971A 20B 7

77913971A 22B 10

77914045B 05A 5

77914181AA 26A 20

77914181AA 26B 20

77914271A 35B 10

77914651A 20B 6

77915041A 23A 4

77915451B 19A 7

77915471A 05A 3

77916041D 04B 13

77916041D 09B 1

77916471A 26B 14

77917241AA 16A 7

77918701A 11A 23

77918701A 11B 23

77919281AA 30A 10

77919881A 09A 68

7791A131AA 33A 6

7791A991AA 23A 5

7791B071AA 31B 24

7791B191AA 33A 7

7791B211AA 33B 9

77927171B 09A 35

CODE NO. TABLE POS.

77941952A 14A 14

77950302A

11A 1

77950302A 11B 1

77950621A 09A 37

78010871A 11C 17

78010871A 11D 17

78010921A 09A 38

78010941C 09A 60

78011001B 04A 6

78020011A 31A 23

78610981A 06A 10

78611411A 06A 11

78710111A 09A 63

78710111A 34A 7

78810542A 10A 4

78811041A 35A 18

78811111C 11A 13

78811111C 11B 13

78811151A 09A 14

78811641C 22B 8 78811741A 35B 11 78811761A 35A 19 79010261A 31A 13 79010421A 31A 27 79010481A 31A 7 79120511B 06A 12 79710721A 03B 1 79910241A 26A 4 79910241A 26B 4 79910491A 09A 39 79912121A 11C 5 79912121A 11D 5 79912961A 02A 20 79914991A 26A 11 79914991A 26B 11 79915021A 11C 11 79915021A 11D 11 79915061A 02A 4 79915571AA 16A 3 79915741B 09A 61 79915863A 26B 16

79917071AA 27A 1

79920771C 09A 62 79920881C 16A 2

CODE NO. TABLE POS.

79940171A 09A 40

79940201A 14A 16

800070139 01C 2

80810461A 19A 18

81110021A 09A 15

81140012B 11A 25

81140012B 11B 25

81411111C 36A 3

81413341A 36A 4

81440101A 36B 9 81440491B 36B 12 81441211A 36A 10

81510221A 09A 64

81510221A 34A 8 81510281A 09A 41

81540051AB 28A 15 81540051AB 29A 22

81810162A 03B 5 81910791AA 29A 4 81910842AA 28A 10 82110091B 29A 18

82110681B 26A 9 82110681B 26B 9 82110901B 26A 5 82110901B 26B 5 82113471A 10A 9 82113881A 02A 13 82114731A 02A 5 82120151A 02A 25 821Z0011B 11C 6 821Z0011B 11D 6 82412822AB 26B 1 82412831AB 26A 1 82610261A 02A 16 82610371A 11C 24 82610371A 11D 25 82610391A 09A 69 82711611B 26A 6

82711611B 26B 6 82714821A 13C 9 82716031A 09A 16 82716091A 04B 7 82716351A 11A 22 82716351A 11B 22

CODE NO. TABLE POS.

82716371AA 16A 4

82718591AA 26B 31

8271F641A 04A 7

8291E041A 14A 10

8291H051B 13C 23

8291H361BA 14A 21

8291H731AA 33B 19

8291J221AA 19A 19

8292A712A 13C 1

83014941B 04B 16

83014941B 16A 11

83014941B 36B 21

83018691A 18A 13

8301A561AA 35A 20

8301A571AA 33A 8

8301A581AA 33A 9

8301A601AA 20C 2

8301A611AA 13C 14

8301A621BA 33B 10

8301A631AA 33B 11

8301A641AA 33B 12

8301A671BA 33B 13

8301A721AA 26B 33

8301A861AA 24A 7 8301A871AA 24A 8

8301B091A 31B 7

8301B111AA 18A 11

8301B121AA 27A 6

8301B141AA 31B 9

8301G221AA 31A 25

83110151B 09A 42

84010012A 11C 1

84010012A 11D 1

84010022A 11C 1

84010022A 11D 1

84010032A 11C 1

84010032A 11D 1

84010042A 11C 1

84010042A 11D 1

84010052A 11C 1

84010052A 11D 1

84010062A 11C 1

84010062A 11D 1

84010072A 11C 1

ALPHANUMERIC INDEX 1100 TRIBUTE PRO USA /23 D31000023 Page 154 / 160 SPARE PARTS CATALOGUE 04/07/2022

CODE NO. TABLE POS.

84010072A 11D 1

84010082A 11C 1

84010082A 11D 1

84010092A 11C 1

84010092A 11D 1

84010102A 11C 1

84010102A 11D 1

84010112A 11C 1

84010112A 11D 1

84010122A 11C 1

84010122A 11D 1

84010132A 11C 1

84010132A 11D 1

84010142A 11C 1

84010142A 11D 1

84010152A 11C 1

84010152A 11D 1

84010162A 11C 1

84010162A 11D 1

84010172A 11C 1

84010172A 11D 1

84010182A 11C 1

84010182A 11D 1

84010192A 11C 1

84010192A 11D 1

84010202A 11C 1

84010202A 11D 1

84010212A 11C 1

84010212A 11D 1

84010222A 11C 1

84010222A 11D 1

84010232A 11C 1

84010232A 11D 1

84010242A 11C 1

84010242A 11D 1

84010252A 11C 1

84010252A 11D 1

84010262A 11C 1

84010262A 11D 1

84010272A 11C 1

84010272A 11D 1

84010282A 11C 1

84010282A 11D 1

84010292A 11C 1

CODE NO. TABLE POS.

84010292A 11D 1

84010302A

11C 1

84010302A 11D 1

84010312A 11C 1

84010312A

11D 1

84010322A 11C 1

84010322A 11D 1

84010332A 11C 1

84010332A 11D 1 84010342A 11C 1 84010342A 11D 1

84010412B 11C 2

84010412B 11D 2 84010422B 11C 2 84010422B 11D 2 84010432B 11C 2 84010432B 11D 2 84010442B 11C 2 84010442B 11D 2 84010452B 11C 2 84010452B 11D 2 84010462B 11C 2 84010462B 11D 2 84010472B 11C 2 84010472B 11D 2 84010482B 11C 2 84010482B 11D 2 84010492B 11C 2 84010492B 11D 2 84010502B 11C 2 84010502B 11D 2 84010512B 11C 2 84010512B 11D 2 84010522B 11C 2 84010522B 11D 2 84010532B 11C 2 84010532B 11D 2 84010542B 11C 2 84010542B 11D 2 84010552B 11C 2 84010552B 11D 2 84010562B 11C 2 84010562B 11D 2 84010572B 11C 2

CODE NO. TABLE POS.

84010572B 11D 2

84010582B 11C 2

84010582B 11D 2 84010592B 11C 2 84010592B 11D 2 84010602B 11C 2 84010602B 11D 2 84010612B 11C 2 84010612B 11D 2 84010622B 11C 2 84010622B 11D 2 84010632B 11C 2 84010632B 11D 2 84010642B 11C 2 84010642B 11D 2 84010652B 11C 2 84010652B 11D 2 84010662B 11C 2 84010662B 11D 2 84010672B 11C 2 84010672B 11D 2 84010682B 11C 2 84010682B 11D 2 84010692B 11C 2 84010692B 11D 2 84010702B 11C 2 84010702B 11D 2 84010712B 11C 2 84010712B 11D 2 84010722A 11C 1 84010722A 11D 1 84010722B 11C 2 84010722B 11D 2 84010732A 11C 1 84010732A 11D 1 84010732B 11C 2 84010732B 11D 2 84010742B 11C 2 84010742B 11D 2 84010752B 11C 2 84010752B 11D 2 84010762B 11C 2 84010762B 11D 2 84010772B 11C 2

CODE NO. TABLE POS.

84010772B 11D 2

84010782B 11C 2

84010782B 11D 2

84010792B 11C 2

84010792B 11D 2

84010802B 11C 2

84010802B 11D 2

84010812B 11C 2

84010812B 11D 2

84010822B 11C 2

84010822B 11D 2

84010832B 11C 2

84010832B 11D 2

84010842B 11C 2

84010842B 11D 2

84010852B 11C 2

84010852B 11D 2

84010862B 11C 2 84010862B 11D 2

84010872B 11C 2 84010872B 11D 2

84011082A 11C 1

84011082A 11D 1

84011092A 11C 1 84011092A 11D 1

84011102A 11C 1

84011102A 11D 1

84011112A 11C 1

84011112A 11D 1

84011122A 11C 1

84011122A 11D 1

84011132A 11C 1

84011132A 11D 1

84011142A 11C 1

84011142A 11D 1

84740021A 26A 3

84740021A 26B 3

84740061A 09A 43

84840111A 33A 2

85010151A 26B 28

85012911A 27A 7

85040381A 31A 22

85040381A 33A 10

85040471A 35A 21

ALPHANUMERIC INDEX SPARE PARTS CATALOGUE 04/07/2022 Page 155 / 160 1100 TRIBUTE PRO USA /23 D31000023

CODE NO. TABLE POS.

85040671A 33A 11

85041031A 27A 13

85041471A 31B 8

85044691A 31A 21

85044691A 31B 23

85110041A 17A 7

85110131A 07A 11

85110201A 03B 8

85110231AB 21A 21

85110241AA 21A 22

85110251AA 21A 23

85140031A 05A 9

85210011B 19A 3

85210021B 19A 3

85210031B 19A 3

85210051A 02A 14

85210532A 09A 44

85210541B 23A 7

85210651B 26A 23

85210941A 02A 19

85211031AB 18A 8

85211201A 09A 45

85211571A 26A 29

85211571A 26B 18

85211731A 11A 3

85211731A 11B 3

85211951A 34A 9

85212221A 28A 2

85212461A 11A 15

85212461A 11B 15

85212511A 21A 10

85212691A 05A 10

85212971A 11A 18

85212971A 11B 18

85213002A 35B 19

85213021A 08A 3

85213021A 09A 46

85213601A 04A 8

85213701A 22A 6

85213861AA 26A 8

85213861AA 26B 8

85213871AA 26A 25

85213871AA 26B 26

85214341A 19A 3

CODE NO. TABLE POS.

85240131A 14B 3

85240131A 31A 15

85250051A 09B 5

85250231A 11C 19

85250231A 11D 19

85250231A 36A 5

85250241A 20A 8 85250241A 20B 9

85250241A 20C 11 85250241A 20D 5 85250241A 22B 11

85250291A 31A 28

85250311AB 13E 11 85250401A 22A 7 85250421A 09A 47

85250631A 04A 9 85310031A 09B 13 85340021A 14A 13 85350031A 21A 19 85350061A 21A 20 85350091A 13C 33 85350101A 13C 29 85550001B 13B 4 85550021A 21A 16 85610252B 11A 30 85610252B 11B 30 85610623A 07A 16 85610743A 11A 4 85610743A 11B 4 85610751A 10A 2 85611231A 03A 19 85611261A 03A 6 85611361A 30A 11 85611391B 03B 2 85611481A 09A 48 85611741AA 35A 23 85640141A 09A 65 86050061A 09A 49 86050481A 27A 8 86610191A 32A 4 86610301A 32A 5 86610301A 35A 24 86611521A 13C 5 86611831B 37A 8

CODE NO. TABLE POS.

86611921A 13C 19

86612341A 30A 14

86612481A 36B 2 86612561A 30A 12

86612571A 30A 13

86612581A 37A 9 86612641A 13B 8 86612951A 36B 19

86640111A 13E 3

87210971A 19A 4 87210981A 19A 12 87211311A 33B 14 87211321A 33B 15 87211601A 27A 9 87211621A 19A 20 87211681A 13B 6 87240821A 33B 16 87241291A 33B 18 87310371A 09B 16 87511461B 09A 50 87613961B 35B 13 87613971A 35B 14 87613981A 35B 15 87620051B 35B 16 87711131A 20D 6 88110121A 02A 23 88110341A 10A 18 88210031A 07A 14 88210141A 03A 7 88440061A 29A 8 88440071A 19A 2 88440111A 06A 5 88440531A 09A 51 88450031A 26A 2 88450031A 26B 2 88450341B 02A 22 88450341B 19A 8 88450371A 08A 4 88450371A 09A 52

88450711A 04A 10 88450721A 04B 3 88610951A 04B 14 88640331A 09A 53 88640771A 27A 10

CODE NO. TABLE POS.

88640991A 11A 24

88640991A 11B 24

88641181A 09B 17

88641321A 09B 9

88641381A 11C 21

88641381A 11D 21

88641481A 11A 28

88641481A 11B 28

88641731A 03B 6

88641961A 09A 36

88641991A 09B 15

88642301A 04A 12

88642431A 26A 28

88642431A 26B 29 88642891A 35A 25

88650131A 09A 54

887130137 01B 11

887130944 01B 6 887130958 01C 4

887131010 01C 7

887131058 01C 5

887131062 01C 1

887131072 01C 6

887131749 01B 18

887131805 01B 8

887131832 01B 9

887131886 01B 20

887131994 01B 4

887132011 01B 17

887132103 01B 3

887132282 01B 7

887132442 01B 10

887132556 01B 15

887132562 01C 3

887132591 01B 14

887132676 01B 2

887132695 01B 27

887132801 01B 26

887132834 01B 19

887132906 01B 16

887132916 01B 24

887133218 01B 1

887133220 01C 8

887133334 01B 21

ALPHANUMERIC INDEX 1100 TRIBUTE PRO USA /23 D31000023 Page 156 / 160 SPARE PARTS CATALOGUE 04/07/2022

CODE NO. TABLE POS.

887133367 01B 23

887134411 01B 5

887134882 01B 12

887138835 01C 9

887651000 01B 25

887651005 01B 25

887651006 01B 25

887651298 01B 22

887651581 01B 13

89320062A 09A 55

89320191A 04A 11

89340241A 20D 2

89340331A 20A 6

89340341A 22B 15

89420121F 09B 18

89520481B 13E 1

89520481C 13E 1

91375851HR 32A 7

91375851HU 32A 7

91375851IT 32A 7

91375851JA 32A 7

91375851KO 32A 7

91375851MX 32A 7

91375851NL 32A 7

91375851NO 32A 7

91375851PL 32A 7

91375851PT 32A 7

91375851RO 32A 7

91375851RU 32A 7

91375851SK 32A 7

91375851SL 32A 7

91375851SV 32A 7

91375851US 32A 7

91375851ZH 32A 7

91376091AR 32A 7

91376091BG 32A 7

91376091CA 32A 7

91376091CS 32A 7

91376091DA 32A 7

91376091DE 32A 7

91376091EL 32A 7

91376091EN 32A 7

91376091ES 32A 7

91376091FI 32A 7

CODE NO. TABLE POS.

91376091FR 32A 7

93010041B 18A 4

93040211A 04A 13

93040221A 09A 56

93040932A 09A 57

93041271A 09A 2

93041621B 11A 9

93041621B 11B 9

93041631B 09A 58

93042691A

04B 15

93510391A 36B 7

93510971A 36B 4

944650035 L 1

944650037 L 2

979000253 01A 2

979000279 01A 1

979000281 01A 6

979000282 01A 3

979000283 01A 4

979000284 01A 5

ALPHANUMERIC INDEX SPARE PARTS CATALOGUE 04/07/2022 Page 157 / 160 1100 TRIBUTE PRO USA /23 D31000023
ALPHANUMERIC INDEX 1100 TRIBUTE PRO USA /23 D31000023 Page 158 / 160 SPARE PARTS CATALOGUE 04/07/2022
Ducati Motor Holding S.p.A. Uffici Commerciali Amministrativi: Via A. Cavalieri Ducati n. 3 40132 Bologna, Italy Telefono 051 6413111 Fax 051 406580 Internet www.ducati.com

Turn static files into dynamic content formats.

Create a flipbook
Issuu converts static files into: digital portfolios, online yearbooks, online catalogs, digital photo albums and more. Sign up and create your flipbook.