Ducati Omaha OEM Parts Diagram 2023 Multistrada V2 S Travel

Page 1

MULTISTRADA V2 S TRAVEL USA Model Year 2023 Chassis prefix: Cylinder capacity: 937 D21000023 SPARE PARTS CATALOGUE en-US MULTISTRADA

CHARACTERISTICS

GENERAL INFORMATION SPARE PARTS CATALOGUE 26/06/2022 Page 3 / 180 MULTISTRADA V2 S TRAVEL USA /23 D21000023 The present spare parts order exactly the right spare parts. When ordering specify: 1. the part's code number followed by its description and quantity needed; 2. the motorcycle's serial number, stamped on the steering head. Reference to right and left apply to the vehicle in terms of its direction of move-ment. Spare parts drawings are general and do not represent the part. The contents of this catalogue are general and can undergo changes without prior notice.
LEGENDA CHARACTERISTIC CODE CHARACTERISTIC DESCRIPTION VALUE CODE VALUE DESCRIPTION CPT PART CAR STD MOTO STANDARD DFR DFR N NO MOD MODEL MS960ST Multistrada V2 S Travel PLT PLANT DB10 DMH XCO MAIN CLR R Red XCO MAIN CLR STG STREET GREY XCR FR/W COL GBGPR GLOSSY BLACK FRAME WITH GP19 RED WHEELS XCR FR/W COL GBR glossy black FRAME WITH black/stripes WHEELS XPO OPTIONS OML OMOLOGATO XST STD CNTY CAL VERSIONE CALIFORNIA XST STD CNTY CDN VERSIONE CANADA
COLOURS MULTISTRADA V2 S TRAVEL USA /23 D21000023 Page 4 / 180 SPARE PARTS CATALOGUE 26/06/2022 COLOUR COLOUR CODE COLOUR DESCRIPTION FINISHED PRODUCTS R Red (D21046423) MS960ST 23 CAL R GBR STD DMH (D21046523) MS960ST 23 CDN R GBR STD DMH STG STREET GREY (D21047323) MS960ST 23 CAL STG GBGPR STD DMH (D21047423) MS960ST 23 CDN STG GBGPR STD DMH
INDEX SPARE PARTS CATALOGUE 26/06/2022 Page 5 / 180 MULTISTRADA V2 S TRAVEL USA /23 D21000023 General information.................................................................................................................................................................................................................................................................................... 3 Colours.........................................................................................................................................................................................................................................................................................................4 Group ELECTRIC 8 Drawing 018 - BATTERY HOLDER...........................................................................................................................................................................................................................................................8 Drawing 020 - HEADLIGHT.................................................................................................................................................................................................................................................................. 12 Drawing 18A - ENGINE CONTROL UNIT.............................................................................................................................................................................................................................................. 14 Drawing 18B - WIRING HARNESS........................................................................................................................................................................................................................................................16 Drawing 18C - WIRING HARNESS (COIL) 18 Drawing 18E - FRONT WIRING HARNESS............................................................................................................................................................................................................................................20 Drawing 20A - TAILLIGHT.....................................................................................................................................................................................................................................................................22 Drawing 20B - INSTRUMENT PANEL....................................................................................................................................................................................................................................................24 Drawing 27A - PLATE HOLDER.............................................................................................................................................................................................................................................................26 Group OIL.................................................................................................................................................................................................................................................................................................. 28 Drawing L - SHELL ADVANCE...............................................................................................................................................................................................................................................................28 Group ENGINE........................................................................................................................................................................................................................................................................................... 30 Drawing 002 - GEAR CHANGE MECHANISM....................................................................................................................................................................................................................................... 30 Drawing 003 - GEAR BOX.................................................................................................................................................................................................................................................................... 32 Drawing 004 - CLUTCH........................................................................................................................................................................................................................................................................ 34 Drawing 005 - CLUTCH COVER............................................................................................................................................................................................................................................................ 36 Drawing 006 - CONNECTING RODS.....................................................................................................................................................................................................................................................38 Drawing 007 - CYLINDERS - PISTONS.................................................................................................................................................................................................................................................. 40 Drawing 008 - TIMING SYSTEM 42 Drawing 009 - OIL PUMP - FILTER.......................................................................................................................................................................................................................................................44 Drawing 010 - HALF-CRANKCASES PAIR.............................................................................................................................................................................................................................................. 46 Drawing 011 - GENERATOR COVER..................................................................................................................................................................................................................................................... 50 Drawing 012 - ELECTRIC STARTING AND IGNITION............................................................................................................................................................................................................................ 52 Drawing 014 - VERTICAL CYLINDER HEAD 54 Drawing 015 - HORIZONTAL CYLINDER HEAD.....................................................................................................................................................................................................................................62 Drawing 016 - OIL COOLER................................................................................................................................................................................................................................................................. 70
INDEX MULTISTRADA V2 S TRAVEL USA /23 D21000023 Page 6 / 180 SPARE PARTS CATALOGUE 26/06/2022 Drawing 017 - THROTTLE BODY.......................................................................................................................................................................................................................................................... 72 Drawing 10A - HALF-CRANKCASES PAIR..............................................................................................................................................................................................................................................74 Drawing 13A - VERTICAL CYLINDER HEAD - TIMING.......................................................................................................................................................................................................................... 76 Drawing 13B - HORIZONTAL HEAD – TIMING SYSTEM....................................................................................................................................................................................................................... 78 Group TOOLS............................................................................................................................................................................................................................................................................................. 80 Drawing 001 - WORKSHOP SERVICE TOOLS 80 Drawing 01B - WORKSHOP SERVICE TOOLS........................................................................................................................................................................................................................................84 Drawing 01C - CHECK INTRUMENT DDS............................................................................................................................................................................................................................................. 86 Group TYRES..............................................................................................................................................................................................................................................................................................88 Drawing A2 - TYRES.............................................................................................................................................................................................................................................................................88 Drawing B2 - (*) PIRELLI SCORPION™ TRAIL II 90 Drawing C2 - PIRELLI SCORPION™ RALLY............................................................................................................................................................................................................................................92 Drawing D2 - SCORPION™ RALLY STR................................................................................................................................................................................................................................................. 94 Group FRAME............................................................................................................................................................................................................................................................................................ 96 Drawing 019 - EXHAUST SYSTEM........................................................................................................................................................................................................................................................ 96 Drawing 021 - HANDLEBAR............................................................................................................................................................................................................................................................... 100 Drawing 022 - FRAME....................................................................................................................................................................................................................................................................... 102 Drawing 023 - CLUTCH MASTER CYLINDER.......................................................................................................................................................................................................................................104 Drawing 024 - FRONT BRAKE SYSTEM.............................................................................................................................................................................................................................................. 106 Drawing 025 - REAR BRAKING SYSTEM.............................................................................................................................................................................................................................................108 Drawing 026 - WHEELS......................................................................................................................................................................................................................................................................110 Drawing 027 - REAR FRAME COMP...................................................................................................................................................................................................................................................114 Drawing 028 - REAR SHOCK ABSORBER............................................................................................................................................................................................................................................116 Drawing 029 - INTAKE........................................................................................................................................................................................................................................................................118 Drawing 030 - WATER COOLER 120 Drawing 031 - COOLING CIRCUIT......................................................................................................................................................................................................................................................122 Drawing 032 - FUEL TANK................................................................................................................................................................................................................................................................. 124 Drawing 033 - SEAT........................................................................................................................................................................................................................................................................... 126 Drawing 034 - COWLING................................................................................................................................................................................................................................................................... 130 Drawing 035 - SIDE PANNIERS 132
INDEX SPARE PARTS CATALOGUE 26/06/2022 Page 7 / 180 MULTISTRADA V2 S TRAVEL USA /23 D21000023 Drawing 036 - CANISTER FILTER........................................................................................................................................................................................................................................................134 Drawing 037 - LABEL, WARNING.......................................................................................................................................................................................................................................................136 Drawing 19A - SECONDARY AIR SYSTEM.......................................................................................................................................................................................................................................... 138 Drawing 21A - FRONT FORK..............................................................................................................................................................................................................................................................140 Drawing 21B - STEERING HEAD BASE ASSEMBLY..............................................................................................................................................................................................................................142 Drawing 22A - SIDE STAND 144 Drawing 24A - BRAKING SYSTEM ABS...............................................................................................................................................................................................................................................146 Drawing 27C - FOOTRESTS, LEFT.......................................................................................................................................................................................................................................................148 Drawing 27D - FOOTRESTS, RIGHT....................................................................................................................................................................................................................................................150 Drawing 28A - SWING ARM.............................................................................................................................................................................................................................................................. 152 Drawing 32A - FUEL PUMP 154 Drawing 34A - FAIRING......................................................................................................................................................................................................................................................................156 Drawing 34B - FAIRING......................................................................................................................................................................................................................................................................158 Drawing 34C - WINDSHIELD.............................................................................................................................................................................................................................................................. 160 Drawing 34E - SIDE BODY PANELS.................................................................................................................................................................................................................................................... 162 Drawing 35A - LEFT PANNIER............................................................................................................................................................................................................................................................164 Drawing 35B - RIGHT PANNIER......................................................................................................................................................................................................................................................... 166 Alphanumeric index.................................................................................................................................................................................................................................................................................168
DRAWING 018 - BATTERY HOLDER GROUP ELECTRIC MULTISTRADA V2 S TRAVEL USA /23 D21000023 Page 8 / 180 SPARE PARTS CATALOGUE 26/06/2022
DRAWING 018 - BATTERY HOLDER GROUP ELECTRIC SPARE PARTS CATALOGUE 26/06/2022 Page 9 / 180 MULTISTRADA V2 S TRAVEL USA /23 D21000023 POS. CODE DESCRIPTION QTY VALIDITY NOTES 1 8291D182B BATTERY HOLDER 1 2 54040331A VOLTAGE REGULATOR 1 3 38511581A BLACKBOX UNIT 1 38511591A BLACKBOX UNIT 1 4 38540073B PIATTAFORMA INERZIALE 1 5 77210971B SCREW 2 6 71610061A SPACER 2 7 77214411AA SCREW 1 8 83019202A BRACKET, BATTERY BAND 1 9 74910021A NUT, CAP M6 2 10 86611902A BATTERY CARPET 1 11 77240463C VITE TBEIF 2 12 74941333B NUT 4 13 85211761A WASHER 6.4X12.5X1.6 2 14 70010853A BRACKET 1 15 69926751A BATTERY 1 16 83019212A BRACKET, FUSE BOX 1 17 77440171A SCREW 5 18 85211911A WASHER 6.4X16X1.5 4 19 8291D931A BRACKET, RELAY 1 20 8291D921A BRACKET, CONNECTOR 1 21 70040251A VIBRATION DAMPER 2 22 76411361A VIBRATION DAMPER PAD 4 23 75840161A FAIRLEAD 2 24 83019191AA BRACKET 1 25 77240423C SCREW 2 26 85041711A HOSE GUIDE 4 27 77440141A SCREW, TAPPING 4X8 WN1412 4 28 4601C741A GUARD 1 29 85241711A WASHER 2 30 77156628B SCREW TCEIF M6X10 1 31 87211051A PLUG 1 32 39740081B STARTER RELAY 1 33 87211041A PLUG, RH 1 34 51310302C BATTERY - ENGINE GROUNDING CABLE 1
DRAWING 018 - BATTERY HOLDER GROUP ELECTRIC MULTISTRADA V2 S TRAVEL USA /23 D21000023 Page 10 / 180 SPARE PARTS CATALOGUE 26/06/2022
DRAWING 018 - BATTERY HOLDER GROUP ELECTRIC SPARE PARTS CATALOGUE 26/06/2022 Page 11 / 180 MULTISTRADA V2 S TRAVEL USA /23 D21000023 POS. CODE DESCRIPTION QTY VALIDITY NOTES 35 51410761D CABLE 1 36 38940231A FUSE 30A 3 37 85350101A WASHER, SPRING 1 38 77440061A SCREW, TAPPING 4 39 4601D221BA BATTERY MOUNT HEAT GUARD 1 40 75840841A FAIRLEAD 1 41 4601D451A BATTERY MOUNT HEAT GUARD 1 42 4601D461A BATTERY MOUNT HEAT GUARD 1 43 4601D441A BATTERY MOUNT HEAT GUARD 1 44 4601D471A BATTERY MOUNT HEAT GUARD 1 45 8291H181A HOLDER 1
DRAWING 020 - HEADLIGHT GROUP ELECTRIC MULTISTRADA V2 S TRAVEL USA /23 D21000023 Page 12 / 180 SPARE PARTS CATALOGUE 26/06/2022
DRAWING 020 - HEADLIGHT GROUP ELECTRIC SPARE PARTS CATALOGUE 26/06/2022 Page 13 / 180 MULTISTRADA V2 S TRAVEL USA /23 D21000023 POS. CODE DESCRIPTION QTY VALIDITY NOTES 1 52010312C HEADLIGHT FRONT 1 2 76411331A RUBBER PAD 1 3 77214061AA SCREW, SPECIAL 4 4 71611641AA SPACER 4 5 76410241A VIBRATION DAMPER PAD 6 6 85211961B WASHER 6.4X25X1.5 2
DRAWING 18A - ENGINE CONTROL UNIT GROUP ELECTRIC MULTISTRADA V2 S TRAVEL USA /23 D21000023 Page 14 / 180 SPARE PARTS CATALOGUE 26/06/2022
DRAWING 18A - ENGINE CONTROL UNIT GROUP ELECTRIC SPARE PARTS CATALOGUE 26/06/2022 Page 15 / 180 MULTISTRADA V2 S TRAVEL USA /23 D21000023 POS. CODE DESCRIPTION QTY VALIDITY NOTES 1 28643291C ENGINE CONTROL UNIT 1 2 55243161B SENSOR, PRESSURE 2 3 59014541A PIPE 1 4 59014551A PIPE 1 5 74141711A CLAMP 10-7 MM 2 6 8291D521B MOUNT RUBBER 2 7 85250311A WASHER 2 8 86611931A BRACKET 1 9 55240121A SENSOR, AIR TEMPERATURE 1 10 77440183C SCREW 2 11 78811041A GASKET, COOLING WATER SENSOR 1 12 77440321A SCREW, TAPPING 2 13 74142251A CLAMP 2
DRAWING 18B - WIRING HARNESS GROUP ELECTRIC MULTISTRADA V2 S TRAVEL USA /23 D21000023 Page 16 / 180 SPARE PARTS CATALOGUE 26/06/2022
DRAWING 18B - WIRING HARNESS GROUP ELECTRIC SPARE PARTS CATALOGUE 26/06/2022 Page 17 / 180 MULTISTRADA V2 S TRAVEL USA /23 D21000023 POS. CODE DESCRIPTION QTY VALIDITY NOTES 1 5101G691C MAIN WIRING HARNESS 1 5101G701C MAIN WIRING HARNESS 1 2 54140101A RELAY 4 3 38940191A FUSE 5A 2 38940201A FUSE 10A 3 38940211A FUSE 15A 2 38940221A FUSE 20A 1 38940241A FUSE 7,5A 2 38940261A FUSE 25A 3 4 85550001B SPRING WASHER 1 5 77211061A SCREW TEF M6X14 1 6 87211681A CAP DDA 1 7 5101A262A ELECTRIC WIRING 1 5101A302A ELECTRIC WIRING 1 8 85040671A CLAMP TUCKER 5 9 74110121A CLAMP, RUBBER 62MM 10 10 74110131A CLAMP, RUBBER 82MM 2 11 069191030 CLAMP 38 12 74110551A CLAMP, RUBBER 39MM 21 13 74140381A CLAMP 31 14 8291E102A BRACKET, CONNECTOR 1 15 8291E111A BRACKET, CONNECTOR 1 16 5101A252A REAR WIRING 1 17 5101B164A INJECTION WIRING 1 18 86611221A VIBRATION DAMPER 1 19 38640591A SOCKET, LOW VOLTAGE 1 20 76412261A HOLDER 1 21 38640132A SOCKET, LOW VOLTAGE 1 22 71319331A SPACER 1 23 85213761A WASHER 2 24 87210641A CAP, CONNECTOR 1
DRAWING 18C - WIRING HARNESS (COIL) GROUP ELECTRIC MULTISTRADA V2 S TRAVEL USA /23 D21000023 Page 18 / 180 SPARE PARTS CATALOGUE 26/06/2022
DRAWING 18C - WIRING HARNESS (COIL) GROUP ELECTRIC SPARE PARTS CATALOGUE 26/06/2022 Page 19 / 180 MULTISTRADA V2 S TRAVEL USA /23 D21000023 POS. CODE DESCRIPTION QTY VALIDITY NOTES 1 67040451A SPARK PLUG NGK MAR9A-J 4 2 85040551A QUICK FASTENING 2 3 8291E091AA BRACKET, COIL 1 4 82911901A MOUNT RUBBER 1 5 71611641AA SPACER 4 6 77354743B SCREW TCEIR M5X20 DIN6912 8.8 4 7 67110671E SPARK PLUG CABLE, HORIZONTAL HEAD 1 8 76410241A VIBRATION DAMPER PAD 4 9 67110691D SPARK PLUG CABLE, VERTICAL HEAD 1 10 74810361A NUT 2 11 8291E081AA BRACKET, COIL 1 12 77156698B SCREW TCEIF M6X25 4 13 38040251A IGNITION COIL 2
DRAWING 18E - FRONT WIRING HARNESS GROUP ELECTRIC MULTISTRADA V2 S TRAVEL USA /23 D21000023 Page 20 / 180 SPARE PARTS CATALOGUE 26/06/2022
DRAWING 18E - FRONT WIRING HARNESS GROUP ELECTRIC SPARE PARTS CATALOGUE 26/06/2022 Page 21 / 180 MULTISTRADA V2 S TRAVEL USA /23 D21000023 POS. CODE DESCRIPTION QTY VALIDITY NOTES 1 78811041A GASKET, COOLING WATER SENSOR 1 2 77440183C SCREW 2 3 55240121A SENSOR, AIR TEMPERATURE 1 4 51840251A ANTENNA IMMOBILIZER 1 5 85240211A WASHER 4.7X10X1 4 6 77440251A SCREW 2 7 38640132A SOCKET, LOW VOLTAGE 1 8 77440141A SCREW, TAPPING 4X8 WN1412 1 9 85041711A HOSE GUIDE 1 10 59821961A LOCK KIT 1 11 7791A821AA SCREW, SPECIAL 2 12 59821941A LOCKS KIT 1 13 86020011A KIT SPINE 1 14 59821971N KIT HANDS FREE 434 MHZ 1 15 59810371B KEY WITHOUT TRANSPONDER 1 16 59810361H KEY WITH TRANSPONDER 1 17 59840511A INSERT 1 18 59840521A INSERT 1 19 76414551A RUBBER PAD 1 20 4601L831A COVER 1
DRAWING 20A - TAILLIGHT GROUP ELECTRIC MULTISTRADA V2 S TRAVEL USA /23 D21000023 Page 22 / 180 SPARE PARTS CATALOGUE 26/06/2022
DRAWING 20A - TAILLIGHT GROUP ELECTRIC SPARE PARTS CATALOGUE 26/06/2022 Page 23 / 180 MULTISTRADA V2 S TRAVEL USA /23 D21000023 POS. CODE DESCRIPTION QTY VALIDITY NOTES 1 77440041A SCREW, TAPPING M5X16 3 2 85241711A WASHER 3 3 76410241A VIBRATION DAMPER PAD 3 4 52510523B TAILLIGHT 1 5 77240133C SCREW TBEIF M4X12 2 6 52510433D LAMP, LICENSE PLATE 1 7 85212511A WASHER 4.5X9X0.5 2 8 53010226A FLASHER LIGHT FRONT LH - REAR RH 1 9 7131A923A SPACER, FLASHER LIGHT 2 10 77156398B SCREW TCEIF M5X12 2 11 53010236A FLASHER LIGHT FRONT RH- REAR LH 1 12 39040211A BULB 2
DRAWING 20B - INSTRUMENT PANEL GROUP ELECTRIC MULTISTRADA V2 S TRAVEL USA /23 D21000023 Page 24 / 180 SPARE PARTS CATALOGUE 26/06/2022
DRAWING 20B - INSTRUMENT PANEL GROUP ELECTRIC SPARE PARTS CATALOGUE 26/06/2022 Page 25 / 180 MULTISTRADA V2 S TRAVEL USA /23 D21000023 POS. CODE DESCRIPTION QTY VALIDITY NOTES 1 40611962B INSTRUMENT PANEL 1 40611972B INSTRUMENT PANEL 1 2 70010901A VIBRATION DAMPER 3 3 74841091AA NUT 3
DRAWING 27A - PLATE HOLDER GROUP ELECTRIC MULTISTRADA V2 S TRAVEL USA /23 D21000023 Page 26 / 180 SPARE PARTS CATALOGUE 26/06/2022
DRAWING 27A - PLATE HOLDER GROUP ELECTRIC SPARE PARTS CATALOGUE 26/06/2022 Page 27 / 180 MULTISTRADA V2 S TRAVEL USA /23 D21000023 POS. CODE DESCRIPTION QTY VALIDITY NOTES 1 77240403C SCREW 6 2 85211961B WASHER 6.4X25X1.5 4 3 75840801A CLAMP 1 4 71611071AB SPACER 2 5 8271F281AA PLATE 1 6 24714984A COVER, LICENSE PLATE HOLDER 1 7 52910101A REFLEX REFLECTOR, REAR 3 8 85040381A QUICK FASTENING 3 9 56110271A NUMBER PLATE HOLDER 1 10 77240438C SCREW TBEIF M6X18 3 11 85040471A QUICK FASTENING M5 6 12 77240263C SCREW 6 13 75840901A FAIRLEAD 1 14 76412041A RUBBER PAD 4 15 56113253A PLATE HOLDER 1 16 86610751A PAD 2 17 88640641A O-RING 2.5X6 6 18 85040521A CLIP 6 19 4601E281A GUARD 1 20 85550041A TOOTHED LOCK WASHER 2
DRAWING L - SHELL ADVANCE GROUP OIL MULTISTRADA V2 S TRAVEL USA /23 D21000023 Page 28 / 180 SPARE PARTS CATALOGUE 26/06/2022
DRAWING L - SHELL ADVANCE GROUP OIL SPARE PARTS CATALOGUE 26/06/2022 Page 29 / 180 MULTISTRADA V2 S TRAVEL USA /23 D21000023 POS. CODE DESCRIPTION QTY VALIDITY NOTES 1 944650035 SHELL ADVANCE DUCATI 15W50 - 1L BOTTLE 1 2 944650037 SHELL ADVANCE DUCATI 15W50 – 209L DRUM 1
DRAWING 002 - GEAR CHANGE MECHANISM GROUP ENGINE MULTISTRADA V2 S TRAVEL USA /23 D21000023 Page 30 / 180 SPARE PARTS CATALOGUE 26/06/2022

040029126

88450341B

79912961A

040009050

DRAWING 002 - GEAR CHANGE MECHANISM GROUP ENGINE SPARE PARTS CATALOGUE 26/06/2022 Page 31 / 180 MULTISTRADA V2 S TRAVEL USA /23 D21000023 POS. CODE DESCRIPTION QTY VALIDITY NOTES 1 77151250ZF SCREW 1 2 71319151A SPACER 1 3 77150670ZF SCREW 1 4 79915061A SPRING, SHIFT RETURN 1 5 82114731A GEAR SELECTOR SHAFT 1 6 18020511A CONTROL FORK 1 7 71950538C SCREW 1 8 18210781A FLANGE 1 9 18220772A COMPLETE GEARBOX DRUM 1 10 55243911A MAGNETE 1 11 180Z0031A GEAR SELECTOR FORK,1ST/4TH-2ND/3RD 2 12 180Z0041A FORK-SHIFT, 5TH&6TH 1 13 82113881A FORK PIN 2 14 82120151A CONTROL FORK 1 15 735001542 CIRCLIP 15 DIN 471 1 16 82610261A STOPPER PLATE 1 17
THRUST WASHER 15.5X22X0.5 1 18 88110121A CENTERING RING 1 19
SPRING RING 1 20
RETURN SPRING 1 21
THRUST WASHER 10.5X16X0.5 1
DRAWING 003 - GEAR BOX GROUP ENGINE MULTISTRADA V2 S TRAVEL USA /23 D21000023 Page 32 / 180 SPARE PARTS CATALOGUE 26/06/2022

88210141A

17214951B

17214971B

17210021B

71310141E

14911191A

17212192A

46320537A

71312661A

15021971A

70140211A BEARING,

17212182A

85611231A

17210103C

17214621A

17210081C

17210113C

WASHER

LAY SHAFT

SPEED

WASHER

DRAWING 003 - GEAR BOX GROUP ENGINE SPARE PARTS CATALOGUE 26/06/2022 Page 33 / 180 MULTISTRADA V2 S TRAVEL USA /23 D21000023 POS. CODE DESCRIPTION QTY VALIDITY NOTES 1 71313931A SPACER, ENGINE SPROCKET 1 2 14911101A GEARBOX MAIN SHAFT 1 3 15021961B COMPLETE MAIN SHAFT 1 4 70140051A BEARING, NEEDLE 5 5 17214961B GEAR DRIVE 5TH SPEED T23 1 6 85611261A THRUST WASHER 0.5 MM 6 7
SPRING RING 6 8
GEAR DRIVE 3/4TH SPEED T20/22 1 9
GEAR DRIVE 6TH SPEEDTt24 1 10
GEAR, 2ND DRIVE, NT:17 1 11
THRUST WASHER 20.3X32X1.6 1 12
LAY SHAFT 1 13
DRIVEN GEAR 2ND SPEED T30 1 14
O-RING 1 15
THRUST
17.3X31X3.15 1 16
COMPLETE
1 17
NEEDLE 1 18
DRIVEN GEAR 1ST
T37 1 19
THRUST
1 MM 1 20
DRIVEN GEAR 5TH SPEED T24 1 21
DRIVEN GEAR 4TH SPEED T:24 1 22
DRIVEN GEAR 3RD SPEED T28 1 23
DRIVEN GEAR 6TH SPEED T23 1
DRAWING 004 - CLUTCH GROUP ENGINE MULTISTRADA V2 S TRAVEL USA /23 D21000023 Page 34 / 180 SPARE PARTS CATALOGUE 26/06/2022
DRAWING 004 - CLUTCH GROUP ENGINE SPARE PARTS CATALOGUE 26/06/2022 Page 35 / 180 MULTISTRADA V2 S TRAVEL USA /23 D21000023 POS. CODE DESCRIPTION QTY VALIDITY NOTES 1 79710881A SPRING 3 2 85611391B THRUST WASHER 3 3 77215251A SCREW 3 4 19410751A RING 1 5 81810162A CLUTCH CONTROL PIN 1 6 88641731A O-RING 1.78X4.76 2 7 74811182A NUT 1 8 85110201B LOCK WASHER 1 9 19020591A CLUTCH DISC SET 1 10 70250861A BEARING 1 11 19611021A DISK, CLUTCH PRESSURE 1 12 19611011A PLATE HOLDER HUB 1 13 85611911A SPACER 1 14 19820661A PRIMARY DRIVEN GEAR COMP. 1 15 71314831B SPACER 1 16 11723691A CLUTCH CONTROL ROD 1 17 17011751A PRIMARY DRIVE FRONT SPROCKET 1
DRAWING 005 - CLUTCH COVER GROUP ENGINE MULTISTRADA V2 S TRAVEL USA /23 D21000023 Page 36 / 180 SPARE PARTS CATALOGUE 26/06/2022
DRAWING 005 - CLUTCH COVER GROUP ENGINE SPARE PARTS CATALOGUE 26/06/2022 Page 37 / 180 MULTISTRADA V2 S TRAVEL USA /23 D21000023 POS. CODE DESCRIPTION QTY VALIDITY NOTES 1 24311691A5 CLUTCH COVER 1 2 066549680 BUSH 1 3 25440013A WINDOW, OIL LEVEL CHECK 1 4 48612611A DAMPER, SOUND ARRESTER 1 5 77510721A SCREW 6 6 82719021B SHEET ACOUSTIC DAMPER 1 7 85213601A WASHER, THRUST 1 8 88450711A SPRING RING 1 9 89320191A PLUG ASSY 1 10 88642301A O-RING 1 11 93040211A OIL SEAL 1 12 78011281A PLUG, THREADED M10X1 1 13 85250241A WASHER 10X14X1 1 14 77942032A SCREW 9 15 43313912A WARNING LABEL 1 16 77916041DA SCREW, SPECIAL 1
DRAWING 006 - CONNECTING RODS GROUP ENGINE MULTISTRADA V2 S TRAVEL USA /23 D21000023 Page 38 / 180 SPARE PARTS CATALOGUE 26/06/2022

77911092A

78010161B

77915471A

15622261BA

SHAFT

SHAFT

SHAFT

SHAFT

CONNECTING

CONNECTING

CONNECTING

75011131A RING NUT

85212691A

11210121AA PLANE BEARING, CONNECTING ROD

PLANE BEARING, CONNECTING ROD BLUE

PLANE BEARING, CONNECTING ROD YELLOW

PLANE BEARING, CONNECTING ROD BLACK

PLANE BEARING, CONNECTING ROD GREEN

77914045B BOLT, CONNECTING ROD

68010131A KEY, WOODRUFF 4X5X10

75010121D NUT, SPECIAL

85140031A WASHER, LOCK

DRAWING 006 - CONNECTING RODS GROUP ENGINE SPARE PARTS CATALOGUE 26/06/2022 Page 39 / 180 MULTISTRADA V2 S TRAVEL USA /23 D21000023 POS. CODE DESCRIPTION QTY VALIDITY NOTES 1 14622162CA DRIVE
COMPLETO 1 14622162CB DRIVE
COMPLETO 1 14622162CC DRIVE
COMPLETO 1 14622162CE DRIVE
COMPLETO 1 2
SCREW, SPECIAL 1 3
THREADED PLUG 1 4
THREADED DOWEL STEI M8X8 2 5
CONNECTING ROD 2 15622261BB
ROD 2 15622261BC
ROD 2 15622261BE
ROD 2 6
1 7
WASHER 1 8
RED 4 11210121AB
4 11210121AC
4 11210121AD
4 11210121AE
4 9
4 10
2 11
1 12
1
DRAWING 007 - CYLINDERS - PISTONS GROUP ENGINE MULTISTRADA V2 S TRAVEL USA /23 D21000023 Page 40 / 180 SPARE PARTS CATALOGUE 26/06/2022
DRAWING 007 - CYLINDERS - PISTONS GROUP ENGINE SPARE PARTS CATALOGUE 26/06/2022 Page 41 / 180 MULTISTRADA V2 S TRAVEL USA /23 D21000023 POS. CODE DESCRIPTION QTY VALIDITY NOTES 1 12222262G PISTON ASSY 1 2 12110791A CIRCLIP, PISTON PIN 4 3 12110781B PISTON PIN 2 4 12120822A PISTON RING SET 2 5 120P3121AI CYLINDER-PISTON FIT HORIZONTAL 1 6 79120572B GASKETS SET 1 7 78611622B GASKET, CYLINDER HEAD 2 8 71112191A PIN DOWEL 4 9 78611511A GASKET, CYLINDER 2 10 120P3131AI CYLINDER-PISTON FIT VERTICAL 1
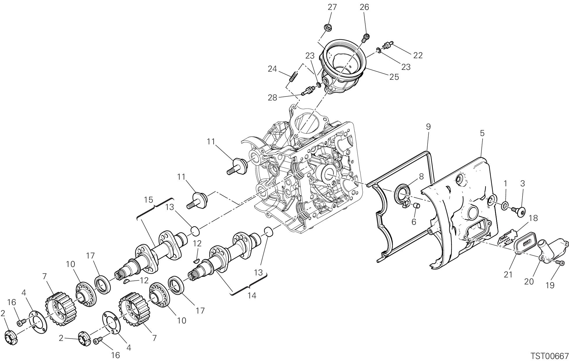
DRAWING 008 - TIMING SYSTEM GROUP ENGINE MULTISTRADA V2 S TRAVEL USA /23 D21000023 Page 42 / 180 SPARE PARTS CATALOGUE 26/06/2022
DRAWING 008 - TIMING SYSTEM GROUP ENGINE SPARE PARTS CATALOGUE 26/06/2022 Page 43 / 180 MULTISTRADA V2 S TRAVEL USA /23 D21000023 POS. CODE DESCRIPTION QTY VALIDITY NOTES 1 24511271A VERTICAL BELT OUTER COVER UPPER 1 2 24511431A HORIZONTAL BELT EXTERNAL COVER 1 3 14710811A LAYSHAFT TIMING 1 4 45120311C COMPLETE MOVABLE TENSIONER ROLLER 2 5 73740251B TIMING BELT 2 6 77113801A SCREW 13 7 74940081A NUT M8 4 8 85310021A SPRING WASHER 8 MM 4 9 45120321B TENSIONER TIMING BELT FIXED 2 10 24511281A VERTICAL BELT OUTER COVER BOTTOM 1 11 88210031A SNAP RING 1 12 70350062A ELASTIC-STOP RING NUT 1 13 17122421A TIMING GEARS SET 1 14 85110131A WASHER, LOCK 1 15 75011601A NUT M14X1X7 1 16 68010131A KEY, WOODRUFF 4X5X10 3 17 71611281A SPACER 1 18 25510104B PULLEY, TIMING BELT 2 19 85610623A WASHER, BELT PULLEY 1 20 71610722A SPACER 1 21 24521071A BRACKET, FILTER 1 22 77250341C SCREW 2
DRAWING 009 - OIL PUMP - FILTER GROUP ENGINE MULTISTRADA V2 S TRAVEL USA /23 D21000023 Page 44 / 180 SPARE PARTS CATALOGUE 26/06/2022
DRAWING 009 - OIL PUMP - FILTER GROUP ENGINE SPARE PARTS CATALOGUE 26/06/2022 Page 45 / 180 MULTISTRADA V2 S TRAVEL USA /23 D21000023 POS. CODE DESCRIPTION QTY VALIDITY NOTES 1 17410621B GEAR, OIL PUMP DRIVE 1 2 70450091A ROLLER 1 3 85213021A WASHER, THRUST 1 4 88450371A SNAP RING 1
DRAWING 010 - HALF-CRANKCASES PAIR GROUP ENGINE MULTISTRADA V2 S TRAVEL USA /23 D21000023 Page 46 / 180 SPARE PARTS CATALOGUE 26/06/2022
DRAWING 010 - HALF-CRANKCASES PAIR GROUP ENGINE SPARE PARTS CATALOGUE 26/06/2022 Page 47 / 180 MULTISTRADA V2 S TRAVEL USA /23 D21000023 POS. CODE DESCRIPTION QTY VALIDITY NOTES 1 225P0171A ASSIEME CARTER COMPLETO 1 2 93041271A SEAL RING 20X26X4 4 3 14710951B OIL PUMP DRIVE SHAFT 1 4 17420591A OIL PUMP 1 5 22032083A ALUMINIUM GASKET 1 6 71110951A PIN DOWEL 2 7 24714612A OIL PUMP COVER 1 8 45520192A GEAR FIXING CLICK ASSEMBLY 1 9 59320641D VALVE, BREATHER 1 10 46320222A O-RING 2 11 59310601B HOLDER READ VALVE 1 12 77150078B SCREW 3 13 77250341B SCREW, TAPPING 3.5X12 1 14 78811151A GASKET 1 15 81110021A REED VALVE ASSY 1 16 82716031A SPACER 1 17 68050101A KEY 2X2X10 1 18 70010362A DAMPER 1 19 70240131A BEARING 1 20 70240401B BEARING 17X40X12 2 21 70250081A BALL BEARING 6003 TN9 C3 1 22 70250193A BEARING 1 23 70450091A ROLLER 1 24 720941616 SCREW TSPEI M6X12 4 25 74710151A NUT 1 26 735033380 CIRCLIP 2 27 70242261A BEARING 1 28 70140381A BEARING, NEEDLE 2 29 77150653B SCREW TCEI M6X16 UNI5931 8.8 1 30 77150758B SCREW 1 31 77350658B SCREW TCEIR M6X16 7 32 77510311B SCREW TBEI M5X10 2 33 77910391A SCREW M8X21.5 1 34 77911982A THREADED PLUG M15X1 1 35 77927171B SCREW 1
DRAWING 010 - HALF-CRANKCASES PAIR GROUP ENGINE MULTISTRADA V2 S TRAVEL USA /23 D21000023 Page 48 / 180 SPARE PARTS CATALOGUE 26/06/2022
DRAWING 010 - HALF-CRANKCASES PAIR GROUP ENGINE SPARE PARTS CATALOGUE 26/06/2022 Page 49 / 180 MULTISTRADA V2 S TRAVEL USA /23 D21000023 POS. CODE DESCRIPTION QTY VALIDITY NOTES 36 88641961A O-RING 1 37 77950621A THREADED DOWEL M10X1 2 38 78011171A PLUG 1 39 79910491A SPRING, RETURN 1 40 79940171A SPRING 1 41 81510281A BOLT UNION 1 42 83110151B PLATE 1 43 84740061A BALL 1 44 85210532A WASHER 8.2X20X1 1 45 85211201A ALUMINIUM GASKET 1 46 85213021A WASHER, THRUST 1 47 85250421A COPPER GASKET 12.2X18X1.5 MM 1 48 85611481A WASHER 4 49 86050061A PIN M5X10 2 50 87511461B JET 2 51 88440531A SPRING RING 2 52 88450371A SNAP RING 1 53 88640331A O-RING 17.96X2.62 2 54 88650131A O-RING 3.68X1.78 2 55 89320062A PLUG, OIL DRAIN 1 56 93040221A OIL SEAL 1 57 93040932A OIL SEAL 1 58 93041631B SEAL RING 1 59 59310801B BY-PASS VALVE 1 60 78010941B PLUG 1 61 79915741B BYPASS SPRING 1 62 79920771C BYPASS SPRING 1 63 85640141A WASHER 1 64 77919881A SCREW, SPECIAL 2 65 70242211A NEEDLE BUSH 1 66 70250412A BALL BEARING 1 67 77240398CC SCREW 3 68 85214082A WASHER 3
DRAWING 011 - GENERATOR COVER GROUP ENGINE MULTISTRADA V2 S TRAVEL USA /23 D21000023 Page 50 / 180 SPARE PARTS CATALOGUE 26/06/2022
DRAWING 011 - GENERATOR COVER GROUP ENGINE SPARE PARTS CATALOGUE 26/06/2022 Page 51 / 180 MULTISTRADA V2 S TRAVEL USA /23 D21000023 POS. CODE DESCRIPTION QTY VALIDITY NOTES 1 24221551A5 GENERATOR COVER 1 2 70250081A BALL BEARING 6003 TN9 C3 1 3 735033380 CIRCLIP 1 4 24725241BI WATER PUMP COVER ASSY 1 5 78011001A PLUG, THREADED M10X1 1 6 85250631A WASHER 1 7 25120131A WATER PUMP ROTOR 1 8 55243941A GEARBOX POSITION SENSOR 1 9 70240091A BALL BEARING 6000 1 10 70240102A BEARING 1 11 71110922A BUSH 2 12 71311281B SPACER 1 13 72050069E SCREW 2 14 77052508B SCREW TE M6X16 2 15 77942032A SCREW 16 16 77150698BC SCREW 3 17 82716091A PLATE 1 18 85211721A WASHER 6X14.2X1.3 2 19 85250481A GASKET 6X12X1 DIN7603-A 2 20 88450431A CIRCLIP 1 21 93050051A MECHANICAL SEAL 1 22 93050062B MECHANICAL SEAL 1 23 24713571AO COVER 1 24 77941992A SCREW 2 25 83019891AA LEFT BRACKET 1 26 77750493C SCREW 2 27 77140743C SCREW 1 28 88610951A O-RING 32.99X2.62 1 29 93042691A SEAL RING 1 30 85250871A WASHER 2
DRAWING 012 - ELECTRIC STARTING AND IGNITION GROUP ENGINE MULTISTRADA V2 S TRAVEL USA /23 D21000023 Page 52 / 180 SPARE PARTS CATALOGUE 26/06/2022
DRAWING 012 - ELECTRIC STARTING AND IGNITION GROUP ENGINE SPARE PARTS CATALOGUE 26/06/2022 Page 53 / 180 MULTISTRADA V2 S TRAVEL USA /23 D21000023 POS. CODE DESCRIPTION QTY VALIDITY NOTES 1 27040107A STARTING MOTOR 1 2 85610751A WASHER, THRUST 1 3 77253300ZF SCREW 8 4 78810542A ENGINE STARTER GASKET 1 5 77140677CF SCREW TCEIF M6X20 2 6 77110521A SCREW TCEI M6X30 1 7 77140697CF SCREW 1 8 71319191A SPACER 1 9 82113471A STARTER REDUCTION SHAFT 1 10 176Z0021A IDLE GEAR T74/13 1 11 70140591A CLUTCH, ONE WAY 1 12 26420541A GENERATOR 1 13 16016371A PLATE 1 14 173Z0021A ELECTRIC STARTER DRIVEN GEAR 1 15 70240181B NEEDLE BEARING 1 16 27611201B IGNITION FLYWHEEL 1 17 88110341A BUSH 1 18 75050051A NUT 6MM 1 19 85350101A WASHER, SPRING 1 20 77750508CC SCREW 4
DRAWING 014 - VERTICAL CYLINDER HEAD GROUP ENGINE MULTISTRADA V2 S TRAVEL USA /23 D21000023 Page 54 / 180 SPARE PARTS CATALOGUE 26/06/2022

GROUP ENGINE

POS. CODE DESCRIPTION

1

QTY

84010012A ADJUSTER, OPENING ROCKER ARM 2.00 MM 4

84010022A ADJUSTER, OPENING ROCKER ARM 2.05 MM 4

84010032A ADJUSTER, OPENING ROCKER ARM 2.10 MM 4

84010042A ADJUSTER, OPENING ROCKER ARM 2.15 MM 4

84010052A ADJUSTER, OPENING ROCKER ARM 2.20 MM 4

84010062A ADJUSTER, OPENING ROCKER ARM 2.25 MM 4

84010072A ADJUSTER, OPENING ROCKER ARM 2.30 MM 4

84010082A ADJUSTER, OPENING ROCKER ARM 2.35 MM 4

84010092A ADJUSTER, OPENING ROCKER ARM 2.40 MM 4

84010102A ADJUSTER, OPENING ROCKER ARM 2.45 MM 4

84010112A ADJUSTER, OPENING ROCKER ARM 2.50 MM 4

84010122A ADJUSTER, OPENING ROCKER ARM 2.55 MM 4

84010132A ADJUSTER, OPENING ROCKER ARM 2.60 MM 4

84010142A ADJUSTER, OPENING ROCKER ARM 2.65 MM 4

84010152A ADJUSTER, OPENING ROCKER ARM 2.70 MM 4

84010162A ADJUSTER, OPENING ROCKER ARM 2.75 MM 4

84010172A ADJUSTER, OPENING ROCKER ARM 2.80 MM 4

84010182A ADJUSTER, OPENING ROCKER ARM 2.85 MM 4

84010192A ADJUSTER, OPENING ROCKER ARM 2.90 MM 4

84010202A ADJUSTER, OPENING ROCKER ARM 2.95 MM 4

84010212A ADJUSTER, OPENING ROCKER ARM 3.00 MM 4

84010222A ADJUSTER, OPENING ROCKER ARM 3.05 MM 4

84010232A ADJUSTER, OPENING ROCKER ARM 3.10 MM 4

84010242A ADJUSTER, OPENING ROCKER ARM 3.15 MM 4

84010252A ADJUSTER, OPENING ROCKER ARM 3.20 MM 4

84010262A ADJUSTER, OPENING ROCKER ARM 3.25 MM 4

84010272A ADJUSTER, OPENING ROCKER ARM 3.30 MM 4

84010282A ADJUSTER, OPENING ROCKER ARM 3.35 MM 4

84010292A ADJUSTER, OPENING ROCKER ARM 3.40 MM 4

84010302A ADJUSTER, OPENING ROCKER ARM 3.45 MM 4

84010312A ADJUSTER, OPENING ROCKER ARM 1.80 MM 4

84010322A ADJUSTER, OPENING ROCKER ARM 1.85 MM 4

84010332A ADJUSTER, OPENING ROCKER ARM 1.90 MM 4

84010342A ADJUSTER, OPENING ROCKER ARM 1.95 MM 4

84010722A ADJUSTER, OPENING ROCKER ARM 3.60 MM 4

VALIDITY

NOTES

DRAWING 014 - VERTICAL CYLINDER HEAD
SPARE PARTS CATALOGUE 26/06/2022 Page 55 / 180 MULTISTRADA V2 S TRAVEL USA /23 D21000023
DRAWING 014 - VERTICAL CYLINDER HEAD GROUP ENGINE MULTISTRADA V2 S TRAVEL USA /23 D21000023 Page 56 / 180 SPARE PARTS CATALOGUE 26/06/2022

GROUP ENGINE

POS. CODE DESCRIPTION

84010732A ADJUSTER, OPENING ROCKER ARM 3.80 MM 4

84011082A ADJUSTER, OPENING ROCKER ARM 3.50 MM 4

84011092A ADJUSTER, OPENING ROCKER ARM 3.55 MM 4

84011102A ADJUSTER, OPENING ROCKER ARM 3.65 MM 4

84011112A ADJUSTER, OPENING ROCKER ARM 3.70 MM 4

84011122A ADJUSTER, OPENING ROCKER ARM 3.75 MM 4

84011132A ADJUSTER, OPENING ROCKER ARM 3.85 MM 4

84011142A ADJUSTER, OPENING ROCKER ARM 3.9 MM 4

VALIDITY

2

84010412B ADJUSTER, CLOSING ROCKER ARM 2.20 MM 4

84010422B ADJUSTER, CLOSING ROCKER ARM 2.25 MM 4

84010432B ADJUSTER, CLOSING ROCKER ARM 2.30 MM 4

84010442B ADJUSTER, CLOSING ROCKER ARM 2.35 MM 4

84010452B ADJUSTER, CLOSING ROCKER ARM 2.40 MM 4

84010462B ADJUSTER, CLOSING ROCKER ARM 2.45 MM 4

84010472B ADJUSTER, CLOSING ROCKER ARM 2.50 MM 4

84010482B ADJUSTER, CLOSING ROCKER ARM 2.55 MM 4

84010492B ADJUSTER, CLOSING ROCKER ARM 2.60 MM 4

84010502B ADJUSTER, CLOSING ROCKER ARM 2.65 MM 4

84010512B ADJUSTER, CLOSING ROCKER ARM 2.70 MM 4

84010522B ADJUSTER, CLOSING ROCKER ARM 2.75 MM 4

84010532B ADJUSTER, CLOSING ROCKER ARM 2.80 MM 4

84010542B ADJUSTER, CLOSING ROCKER ARM 2.85 MM 4

84010552B ADJUSTER, CLOSING ROCKER ARM 2.90 MM 4

84010562B ADJUSTER, CLOSING ROCKER ARM 2.95 MM 4

84010572B ADJUSTER, CLOSING ROCKER ARM 3.00 MM 4

84010582B ADJUSTER, CLOSING ROCKER ARM 3.05 MM 4

84010592B ADJUSTER, CLOSING ROCKER ARM 3.10 MM 4

84010602B ADJUSTER, CLOSING ROCKER ARM 3.15 MM 4

84010612B ADJUSTER, CLOSING ROCKER ARM 3.20 MM 4

84010622B ADJUSTER, CLOSING ROCKER ARM 3.25 MM 4

84010632B ADJUSTER, CLOSING ROCKER ARM 3.30 MM 4

84010642B ADJUSTER, CLOSING ROCKER ARM 3.35 MM 4

84010652B ADJUSTER, CLOSING ROCKER ARM 3.40 MM 4

84010662B ADJUSTER, CLOSING ROCKER ARM 3.45 MM 4

84010672B ADJUSTER, CLOSING ROCKER ARM 3.50 MM 4

NOTES

DRAWING 014 - VERTICAL CYLINDER HEAD
SPARE PARTS CATALOGUE 26/06/2022 Page 57 / 180 MULTISTRADA V2 S TRAVEL USA /23 D21000023
QTY
DRAWING 014 - VERTICAL CYLINDER HEAD GROUP ENGINE MULTISTRADA V2 S TRAVEL USA /23 D21000023 Page 58 / 180 SPARE PARTS CATALOGUE 26/06/2022

GROUP ENGINE

CODE DESCRIPTION

84010682B ADJUSTER, CLOSING ROCKER ARM 3.55 MM 4

84010692B ADJUSTER, CLOSING ROCKER ARM 3.60 MM 4

84010702B ADJUSTER, CLOSING ROCKER ARM 3.65 MM 4

84010712B ADJUSTER, CLOSING ROCKER ARM 3.70 MM 4

84010722B ADJUSTER, CLOSING ROCKER ARM 3.75 MM 4

84010732B ADJUSTER, CLOSING ROCKER ARM 3.80 MM 4

84010742B ADJUSTER, CLOSING ROCKER ARM 3.85 MM 4

84010752B ADJUSTER, CLOSING ROCKER ARM 3.90 MM 4

84010762B ADJUSTER, CLOSING ROCKER ARM 3.95 MM 4

84010772B ADJUSTER, CLOSING ROCKER ARM 4.00 MM 4

84010782B ADJUSTER, CLOSING ROCKER ARM 4.05 MM 4

84010792B ADJUSTER, CLOSING ROCKER ARM 4.10 MM 4

84010802B ADJUSTER, CLOSING ROCKER ARM 4.15 MM 4

84010812B ADJUSTER, CLOSING ROCKER ARM 4.20 MM

84010822B ADJUSTER, CLOSING ROCKER ARM 4.25 MM

84010832B ADJUSTER, CLOSING ROCKER ARM 4.30 MM

84010842B ADJUSTER, CLOSING ROCKER ARM 4.35 MM

84010852B ADJUSTER, CLOSING ROCKER ARM 4.40 MM

84010862B ADJUSTER, CLOSING ROCKER ARM 4.45 MM

84010872B ADJUSTER, CLOSING ROCKER

VALIDITY

NOTES

DRAWING 014 - VERTICAL CYLINDER HEAD
SPARE PARTS CATALOGUE 26/06/2022 Page 59 / 180 MULTISTRADA V2 S TRAVEL USA /23 D21000023 POS.
QTY
4
4
4
4
4
4
ARM 4.50 MM 4 3 20810321A OPEN. ROCKER ARM 4 4 20910501A CLOSING ROCKER ARM LEFT 2 5 21110991A EXHAUST VALVE 2 6 66910011E C RING 8 7 30310631BB GUIDE, VALVE OVERSIZED 0.03 MM 4 30310631BC GUIDE, VALVE OVERSIZED 0.06 MM 4 30310631BD GUIDE, VALVE OVERSIZED 0.09 MM 4 8 76440572A SEAL VALVE STEM 4 9 71312921A SPACER 2 10 30411011BB SEAT, EXHAUST VALVE +0.03 MM 2 30411011BC SEAT, EXHAUST VALVE +0.06 MM 2 11 85250261B GASKET 8 12 78010511E PLUG 8 13 30411001AB SEAT, INLET VALVE +0.03 MM 2 30411001AC SEAT, INLET VALVE +0.06 MM 2
DRAWING 014 - VERTICAL CYLINDER HEAD GROUP ENGINE MULTISTRADA V2 S TRAVEL USA /23 D21000023 Page 60 / 180 SPARE PARTS CATALOGUE 26/06/2022
DRAWING 014 - VERTICAL CYLINDER HEAD GROUP ENGINE SPARE PARTS CATALOGUE 26/06/2022 Page 61 / 180 MULTISTRADA V2 S TRAVEL USA /23 D21000023 POS. CODE DESCRIPTION QTY VALIDITY NOTES 14 21010991A INTAKE VALVE 2 15 82112951A CLOSE ROCKER ARM AXLE 4 16 20910491A CLOSING ROCKER ARM RIGHT 2 17 82112941A SHAFT, OPENING ROCKER 4 18 79915001A VALVE RETURN SPRING LH. 1 19 79915011A VALVE RETURN SPRING RH. 1 20 77350618B SCREW TCEIR M6X8 1 21 76640191A STUD BOLT M6X16 3 22 30124861DI COMPLETE VERTICAL HEAD 1 23 77914211A SCREW TEF M8X32 8 24 86050061A PIN M5X10 4 25 71312921B SPACER 2 26 79915181B LEFT VALVE RETURN SPRING 1 27 79915191B RIGHT VALVE RETURN SPRING 1 28 85250231A GASKET 1 29 74810501A NUT M10X1.5 4 30 85610642A WASHER, SPECIAL 10.5X21X2 4
DRAWING 015 - HORIZONTAL CYLINDER HEAD GROUP ENGINE MULTISTRADA V2 S TRAVEL USA /23 D21000023 Page 62 / 180 SPARE PARTS CATALOGUE 26/06/2022

GROUP ENGINE

POS. CODE DESCRIPTION

1

QTY

84010012A ADJUSTER, OPENING ROCKER ARM 2.00 MM 4

84010022A ADJUSTER, OPENING ROCKER ARM 2.05 MM 4

84010032A ADJUSTER, OPENING ROCKER ARM 2.10 MM 4

84010042A ADJUSTER, OPENING ROCKER ARM 2.15 MM 4

84010052A ADJUSTER, OPENING ROCKER ARM 2.20 MM 4

84010062A ADJUSTER, OPENING ROCKER ARM 2.25 MM 4

84010072A ADJUSTER, OPENING ROCKER ARM 2.30 MM 4

84010082A ADJUSTER, OPENING ROCKER ARM 2.35 MM 4

84010092A ADJUSTER, OPENING ROCKER ARM 2.40 MM 4

84010102A ADJUSTER, OPENING ROCKER ARM 2.45 MM 4

84010112A ADJUSTER, OPENING ROCKER ARM 2.50 MM 4

84010122A ADJUSTER, OPENING ROCKER ARM 2.55 MM 4

84010132A ADJUSTER, OPENING ROCKER ARM 2.60 MM 4

84010142A ADJUSTER, OPENING ROCKER ARM 2.65 MM 4

84010152A ADJUSTER, OPENING ROCKER ARM 2.70 MM 4

84010162A ADJUSTER, OPENING ROCKER ARM 2.75 MM 4

84010172A ADJUSTER, OPENING ROCKER ARM 2.80 MM 4

84010182A ADJUSTER, OPENING ROCKER ARM 2.85 MM 4

84010192A ADJUSTER, OPENING ROCKER ARM 2.90 MM 4

84010202A ADJUSTER, OPENING ROCKER ARM 2.95 MM 4

84010212A ADJUSTER, OPENING ROCKER ARM 3.00 MM 4

84010222A ADJUSTER, OPENING ROCKER ARM 3.05 MM 4

84010232A ADJUSTER, OPENING ROCKER ARM 3.10 MM 4

84010242A ADJUSTER, OPENING ROCKER ARM 3.15 MM 4

84010252A ADJUSTER, OPENING ROCKER ARM 3.20 MM 4

84010262A ADJUSTER, OPENING ROCKER ARM 3.25 MM 4

84010272A ADJUSTER, OPENING ROCKER ARM 3.30 MM 4

84010282A ADJUSTER, OPENING ROCKER ARM 3.35 MM 4

84010292A ADJUSTER, OPENING ROCKER ARM 3.40 MM 4

84010302A ADJUSTER, OPENING ROCKER ARM 3.45 MM 4

84010312A ADJUSTER, OPENING ROCKER ARM 1.80 MM 4

84010322A ADJUSTER, OPENING ROCKER ARM 1.85 MM 4

84010332A ADJUSTER, OPENING ROCKER ARM 1.90 MM 4

84010342A ADJUSTER, OPENING ROCKER ARM 1.95 MM 4

84010722A ADJUSTER, OPENING ROCKER ARM 3.60 MM 4

VALIDITY

NOTES

DRAWING 015 - HORIZONTAL CYLINDER HEAD
SPARE PARTS CATALOGUE 26/06/2022 Page 63 / 180 MULTISTRADA V2 S TRAVEL USA /23 D21000023
DRAWING 015 - HORIZONTAL CYLINDER HEAD GROUP ENGINE MULTISTRADA V2 S TRAVEL USA /23 D21000023 Page 64 / 180 SPARE PARTS CATALOGUE 26/06/2022

GROUP ENGINE

POS. CODE DESCRIPTION

84010732A ADJUSTER, OPENING ROCKER ARM 3.80 MM 4

84011082A ADJUSTER, OPENING ROCKER ARM 3.50 MM 4

84011092A ADJUSTER, OPENING ROCKER ARM 3.55 MM 4

84011102A ADJUSTER, OPENING ROCKER ARM 3.65 MM 4

84011112A ADJUSTER, OPENING ROCKER ARM 3.70 MM 4

84011122A ADJUSTER, OPENING ROCKER ARM 3.75 MM 4

84011132A ADJUSTER, OPENING ROCKER ARM 3.85 MM 4

84011142A ADJUSTER, OPENING ROCKER ARM 3.9 MM 4

VALIDITY

2

84010412B ADJUSTER, CLOSING ROCKER ARM 2.20 MM 4

84010422B ADJUSTER, CLOSING ROCKER ARM 2.25 MM 4

84010432B ADJUSTER, CLOSING ROCKER ARM 2.30 MM 4

84010442B ADJUSTER, CLOSING ROCKER ARM 2.35 MM 4

84010452B ADJUSTER, CLOSING ROCKER ARM 2.40 MM 4

84010462B ADJUSTER, CLOSING ROCKER ARM 2.45 MM 4

84010472B ADJUSTER, CLOSING ROCKER ARM 2.50 MM 4

84010482B ADJUSTER, CLOSING ROCKER ARM 2.55 MM 4

84010492B ADJUSTER, CLOSING ROCKER ARM 2.60 MM 4

84010502B ADJUSTER, CLOSING ROCKER ARM 2.65 MM 4

84010512B ADJUSTER, CLOSING ROCKER ARM 2.70 MM 4

84010522B ADJUSTER, CLOSING ROCKER ARM 2.75 MM 4

84010532B ADJUSTER, CLOSING ROCKER ARM 2.80 MM 4

84010542B ADJUSTER, CLOSING ROCKER ARM 2.85 MM 4

84010552B ADJUSTER, CLOSING ROCKER ARM 2.90 MM 4

84010562B ADJUSTER, CLOSING ROCKER ARM 2.95 MM 4

84010572B ADJUSTER, CLOSING ROCKER ARM 3.00 MM 4

84010582B ADJUSTER, CLOSING ROCKER ARM 3.05 MM 4

84010592B ADJUSTER, CLOSING ROCKER ARM 3.10 MM 4

84010602B ADJUSTER, CLOSING ROCKER ARM 3.15 MM 4

84010612B ADJUSTER, CLOSING ROCKER ARM 3.20 MM 4

84010622B ADJUSTER, CLOSING ROCKER ARM 3.25 MM 4

84010632B ADJUSTER, CLOSING ROCKER ARM 3.30 MM 4

84010642B ADJUSTER, CLOSING ROCKER ARM 3.35 MM 4

84010652B ADJUSTER, CLOSING ROCKER ARM 3.40 MM 4

84010662B ADJUSTER, CLOSING ROCKER ARM 3.45 MM 4

84010672B ADJUSTER, CLOSING ROCKER ARM 3.50 MM 4

NOTES

DRAWING 015 - HORIZONTAL CYLINDER HEAD
SPARE PARTS CATALOGUE 26/06/2022 Page 65 / 180 MULTISTRADA V2 S TRAVEL USA /23 D21000023
QTY
DRAWING 015 - HORIZONTAL CYLINDER HEAD GROUP ENGINE MULTISTRADA V2 S TRAVEL USA /23 D21000023 Page 66 / 180 SPARE PARTS CATALOGUE 26/06/2022

GROUP ENGINE

CODE DESCRIPTION

84010682B ADJUSTER, CLOSING ROCKER ARM 3.55 MM 4

84010692B ADJUSTER, CLOSING ROCKER ARM 3.60 MM 4

84010702B ADJUSTER, CLOSING ROCKER ARM 3.65 MM 4

84010712B ADJUSTER, CLOSING ROCKER ARM 3.70 MM 4

84010722B ADJUSTER, CLOSING ROCKER ARM 3.75 MM 4

84010732B ADJUSTER, CLOSING ROCKER ARM 3.80 MM 4

84010742B ADJUSTER, CLOSING ROCKER ARM 3.85 MM 4

84010752B ADJUSTER, CLOSING ROCKER ARM 3.90 MM 4

84010762B ADJUSTER, CLOSING ROCKER ARM 3.95 MM 4

84010772B ADJUSTER, CLOSING ROCKER ARM 4.00 MM 4

84010782B ADJUSTER, CLOSING ROCKER ARM 4.05 MM 4

84010792B ADJUSTER, CLOSING ROCKER ARM 4.10 MM 4

84010802B ADJUSTER, CLOSING ROCKER ARM 4.15 MM

84010812B ADJUSTER, CLOSING ROCKER ARM 4.20 MM

84010822B ADJUSTER, CLOSING ROCKER ARM 4.25 MM

84010832B ADJUSTER, CLOSING ROCKER ARM 4.30 MM

84010842B ADJUSTER, CLOSING ROCKER ARM 4.35 MM

84010852B ADJUSTER, CLOSING ROCKER ARM 4.40 MM

84010862B ADJUSTER, CLOSING ROCKER ARM 4.45 MM

84010872B ADJUSTER, CLOSING ROCKER

VALIDITY

NOTES

DRAWING 015 - HORIZONTAL CYLINDER HEAD
SPARE PARTS CATALOGUE 26/06/2022 Page 67 / 180 MULTISTRADA V2 S TRAVEL USA /23 D21000023 POS.
QTY
4
4
4
4
4
4
4
ARM 4.50 MM 4 3 20810321A OPEN. ROCKER ARM 4 4 20910501A CLOSING ROCKER ARM LEFT 2 5 21110991A EXHAUST VALVE 2 6 66910011E C RING 8 7 30310631BB GUIDE, VALVE OVERSIZED 0.03 MM 4 30310631BC GUIDE, VALVE OVERSIZED 0.06 MM 4 30310631BD GUIDE, VALVE OVERSIZED 0.09 MM 4 8 76440572A SEAL VALVE STEM 4 9 71312921A SPACER 2 10 30411011BB SEAT, EXHAUST VALVE +0.03 MM 2 30411011BC SEAT, EXHAUST VALVE +0.06 MM 2 11 85250261B GASKET 8 12 78010511E PLUG 8 13 30411001AB SEAT, INLET VALVE +0.03 MM 2 30411001AC SEAT, INLET VALVE +0.06 MM 2
DRAWING 015 - HORIZONTAL CYLINDER HEAD GROUP ENGINE MULTISTRADA V2 S TRAVEL USA /23 D21000023 Page 68 / 180 SPARE PARTS CATALOGUE 26/06/2022

77210623B

DRAWING 015 - HORIZONTAL CYLINDER HEAD GROUP ENGINE SPARE PARTS CATALOGUE 26/06/2022 Page 69 / 180 MULTISTRADA V2 S TRAVEL USA /23 D21000023 POS. CODE DESCRIPTION QTY VALIDITY NOTES 14 21010991A INTAKE VALVE 2 15 82112951A CLOSE ROCKER ARM AXLE 4 16 20910491A CLOSING ROCKER ARM RIGHT 2 17 82112941A SHAFT, OPENING ROCKER 4 18 79915001A VALVE RETURN SPRING LH. 1 19 79915011A VALVE RETURN SPRING RH. 1 20 85250231A GASKET 1 21 76640191A STUD BOLT M6X16 3 22 30124851DI COMPLETE HORIZONTAL HEAD 1 23 77914211A SCREW TEF M8X32 8 24 86050061A PIN M5X10 4 25 81411881A NIPPLE, HOSE 1 26 71312921B SPACER 2 27 79915191B RIGHT VALVE RETURN SPRING 1 28 79915181B LEFT VALVE RETURN SPRING 1 29 55242671A SENSOR, TEMPERATURE 1 30 81420051A JOINT, WATER HOSE HORIZONTAL 1 31 77919162AA SCREW, SPECIAL 1 32
SCREW 1 33 85250421A COPPER GASKET 12.2X18X1.5 MM 1 34 85610642A WASHER, SPECIAL 10.5X21X2 4 35 74810501A NUT M10X1.5 4
DRAWING 016 - OIL COOLER GROUP ENGINE MULTISTRADA V2 S TRAVEL USA /23 D21000023 Page 70 / 180 SPARE PARTS CATALOGUE 26/06/2022
DRAWING 016 - OIL COOLER GROUP ENGINE SPARE PARTS CATALOGUE 26/06/2022 Page 71 / 180 MULTISTRADA V2 S TRAVEL USA /23 D21000023 POS. CODE DESCRIPTION QTY VALIDITY NOTES 1 54811231A OIL COOLER 1 2 76410241A VIBRATION DAMPER PAD 3 3 71611641AA SPACER 1 4 77214061AA SCREW, SPECIAL 1 5 81510221A NIPPLE, HOSEM14X1.5 1 6 42020064A ALUMINIUM GASKET 2 7 54911191A OIL DELIVERY PIPE 1 8 82715481A PLATE 1 9 54911142A PIPE 1 10 77116648B SCREW M6X14 1 11 85211951A GASKET 10.5X17X2 1 12 53940302A SWITCH ASSY, OIL PRESSURE 1 13 88641061A O-RING 12.42X1.78 4 14 4601H701A PROTECTION SHEATH 1 15 81510391A NIPPLE, HOSEM14X1.5 1
DRAWING 017 - THROTTLE BODY GROUP ENGINE MULTISTRADA V2 S TRAVEL USA /23 D21000023 Page 72 / 180 SPARE PARTS CATALOGUE 26/06/2022
DRAWING 017 - THROTTLE BODY GROUP ENGINE SPARE PARTS CATALOGUE 26/06/2022 Page 73 / 180 MULTISTRADA V2 S TRAVEL USA /23 D21000023 POS. CODE DESCRIPTION QTY VALIDITY NOTES 1 28040441A INJECTOR 2 2 77214411BA SCREW, SPECIAL 4 3 13510401A AIR FUNNEL 2 4 77156408B SCREW TCEIF M5X14 2 5 78811301A GASKET AIR FUNNEL 2 6 77912741A SCREW TBEI M6X14 8 7 59024081C COMPLETE PIPE SET 1 8 28240952A COMPLETE THROTTLE BODY 1 XST:CDN 28240953A COMPLETE THROTTLE BODY 1 XST:CAL 9 74141871A CLAMP 60-80 MM 2 10 85042131A CLIP 2 11 88642231A O-RING 2
DRAWING 10A - HALF-CRANKCASES PAIR GROUP ENGINE MULTISTRADA V2 S TRAVEL USA /23 D21000023 Page 74 / 180 SPARE PARTS CATALOGUE 26/06/2022
DRAWING 10A - HALF-CRANKCASES PAIR GROUP ENGINE SPARE PARTS CATALOGUE 26/06/2022 Page 75 / 180 MULTISTRADA V2 S TRAVEL USA /23 D21000023 POS. CODE DESCRIPTION QTY VALIDITY NOTES 1 942470014 LIQUID GASKET 1 2 76610551D STUD BOLT FASTENING HEAD CYLINDER 8 3 44440039A FILTER, OIL 1 4 71111601A PIN DOWEL 3 5 85250051A GASKET 32X38X1.5 1 6 77151363B SCREW TCEI M8X75 UNI 5931 7 7 77550211B SCREW TBEI M6X16 ISO7380 10.9 1 8 77150808B SCREW TCEI M6X75 2 9 88641321A O-RING 2 10 11210791A0 4 11210791AA HALF-BEARING RED 4 11210791AB HALF-BEARING BLUE 4 11210791AC HALF-BEARING YELLOW 4 11210791AD HALF-BEARING BLACK 4 11210791AE HALF-BEARING GREEN 4 11 77150723B SCREW TCEI M6X35 UNI 5931 8 12 86010051B DOWEL 2 13 85310031A SPRING WASHER 6 MM 1 14 55241321C SENSOR, TIMING & RPM 1 15 88610241A O-RING 5.23X2.62 2 16 87310371A THREADED PLUG M32X1.5 1 17 89420121F OIL NET FILTER 1
DRAWING 13A - VERTICAL CYLINDER HEAD - TIMING GROUP ENGINE MULTISTRADA V2 S TRAVEL USA /23 D21000023 Page 76 / 180 SPARE PARTS CATALOGUE 26/06/2022
DRAWING 13A - VERTICAL CYLINDER HEAD - TIMING GROUP ENGINE SPARE PARTS CATALOGUE 26/06/2022 Page 77 / 180 MULTISTRADA V2 S TRAVEL USA /23 D21000023 POS. CODE DESCRIPTION QTY VALIDITY NOTES 1 88650511A O-RING 12.39X3.53 4 2 70350022A RING NUT M17X1 2 3 77915093A SCREW, SPECIAL 1 4 85610743A WASHER, SPECIAL 2 5 77919251B SCREW, SPECIAL 3 6 24714151AC COVER CYLINDER HEAD, VERTICAL 1 7 25510193A TIMING BELT PULLEY, DRIVEN T20 2 8 78811211A GASKET 1 9 78810931A GASKET CYLINDER HEAD COVER 1 10 16010941A FLANGE 2 11 14824232A VERTICAL INTAKE CAMSHAFT 1 12 68050061A WOODRUFF KEY 3X5 2 13 87310051A PLUG 18 MM 2 14 71113742A BUSH 1 15 45110462A MOVABLE TENSIONER ROLLER PIN 2 16 77950302A SCREW TC M6X12 6 17 93050072A SEAL RING 2 18 14824252A VERTICAL EXHAUST CAMSHAFT 1 19 77350403B SCREW 2 20 24714171A COVER 1 21 81140012B VALVE 1 22 82716351A PLATE 1 23 81413341A UNION 1 24 85240261A WASHER 2 25 14010842C INTAKE MANIFOLD 1 26 76640191A STUD BOLT M6X16 1 27 74941113B NUT 1 28 77110391B SCREW 2 29 77210623B SCREW 2 30 81412351B JOINT, WATER HOSE VERTICAL 1 31 88641031A O-RING 1 32 81411111C NIPPLE, HOSE 1
DRAWING 13B - HORIZONTAL HEAD – TIMING SYSTEM GROUP ENGINE MULTISTRADA V2 S TRAVEL USA /23 D21000023 Page 78 / 180 SPARE PARTS CATALOGUE 26/06/2022
DRAWING 13B - HORIZONTAL HEAD – TIMING SYSTEM GROUP ENGINE SPARE PARTS CATALOGUE 26/06/2022 Page 79 / 180 MULTISTRADA V2 S TRAVEL USA /23 D21000023 POS. CODE DESCRIPTION QTY VALIDITY NOTES 1 88650511A O-RING 12.39X3.53 4 2 70350022A RING NUT M17X1 2 3 77915093A SCREW, SPECIAL 4 4 85610743A WASHER, SPECIAL 2 5 24714141AC COVER CYLINDER HEAD, HORIZONTAL 1 6 71113742A BUSH 1 7 25510193A TIMING BELT PULLEY, DRIVEN T20 2 8 78811211A GASKET 1 9 78810931A GASKET CYLINDER HEAD COVER 1 10 16010941A FLANGE 2 11 45110462A MOVABLE TENSIONER ROLLER PIN 2 12 68050061A WOODRUFF KEY 3X5 2 13 87310051A PLUG 18 MM 2 14 14824242A HORIZONTAL EXHAUST CAMSHAFT 1 15 14824222A HORIZONTAL INTAKE CAMSHAFT 1 16 77950302A SCREW TC M6X12 6 17 93050072A SEAL RING 2 18 82716351A PLATE 1 19 77350403B SCREW 2 20 24714161A COVER 1 21 81140012B VALVE 1 22 81413341A UNION 1 23 85240261A WASHER 2 24 76640191A STUD BOLT M6X16 1 25 14010842C INTAKE MANIFOLD 1 26 77110391B SCREW 2 27 74941113B NUT 1 28 81411111C NIPPLE, HOSE 1
DRAWING 001 - WORKSHOP SERVICE TOOLS GROUP TOOLS MULTISTRADA V2 S TRAVEL USA /23 D21000023 Page 80 / 180 SPARE PARTS CATALOGUE 26/06/2022
DRAWING 001 - WORKSHOP SERVICE TOOLS GROUP TOOLS SPARE PARTS CATALOGUE 26/06/2022 Page 81 / 180 MULTISTRADA V2 S TRAVEL USA /23 D21000023 POS. CODE DESCRIPTION QTY VALIDITY NOTES 1 887133417 TORQUE WRENCH 1 2 887132096 HEAD NUTS HOLDER WRENCH 1 3 887132103 HEAD MOUNTING BASE 1 4 887131994 ROCKER PIN EXTRACTOR 1 5 887651635 DEGREE WHEEL HOLDER TOOL FOR IGNITION ADVANCE CHECK 1 6 887132906 WRENCH, OIL FILTER CARTRIDGE 1 7 887651623 BELT ROLLER TIMING TOOL 1 8 887133219 TIMING BELT ROLLER REACTION TOOL 1 9 887132442 TOOL, OIL SEAL MOUNTING 1 10 887005644 TIMING PULLEY RETAINING WRENCH 1 11 887132651 REACTION TOOL FOR WET CLUTCH 1 12 887132877 SPARK PLUG WRENCH 1 13 887132870 TOOL, CON-ROD GUIDING 1 14 887130031 EXTRACTOR FOR PRIMARY DRIVE GEAR 1 15 887131309 FORK FEELER GAUGE2,35 MM 1 16 887131806 REACTION TOOL BELT ROLLER TIGHTENING 1 17 887132011 CRANKSHAFT RESET TOOL 1 18 887651298 SPACER FOR CHECKING LOWER VALVE SHIM 1 19 887131821 WRENCH TO TIGHTEN TENSIONING BOLTS 1 20 887133367 FLYWHEEL WRENCH 1 21 887130022 GEARBOX SELECTOR TOOL 1 22 887131749 DRIVE ROLLER PULLER 1 23 887134411 INSERT 1 24 887132695 CLUTCH FLUID PRESSURE MEASURING TOOL 1 25 887134791 GONIOMETER IGNITION TIMING CHECKING 1 26 887135013 PAD 1 27 887134145 HALF-BEARINGS FITTING TOOL 1 28 887134198 EXHAUST NUTS HOLDER WRENCH 1 29 887131832 BENCH FOR ENGINE REPAIR 1 30 887651518 VALVE LIFT GAUGE 1 31 887133992 TOOL TO FIT PISTON GUDGEON PIN CIRCLIPS 1 32 887651188 T.D.C. CONTROL GAUGE 1 33 887131906 TOOL TO FIT OIL SEAL 1 34 887132068 CLOSING ROCKER PRE-LOAD KIT 1 35 887132913 TOOL INSTALLING O-RINGS 1
DRAWING 001 - WORKSHOP SERVICE TOOLS GROUP TOOLS MULTISTRADA V2 S TRAVEL USA /23 D21000023 Page 82 / 180 SPARE PARTS CATALOGUE 26/06/2022
DRAWING 001 - WORKSHOP SERVICE TOOLS GROUP TOOLS SPARE PARTS CATALOGUE 26/06/2022 Page 83 / 180 MULTISTRADA V2 S TRAVEL USA /23 D21000023 POS. CODE DESCRIPTION QTY VALIDITY NOTES 36 887005749 CRANKCASES ASSEMBLING CAP 1 37 887133406 WRENCH TIGHTENING PRIMARY TRANSMISSI 1
DRAWING 01B - WORKSHOP SERVICE TOOLS GROUP TOOLS MULTISTRADA V2 S TRAVEL USA /23 D21000023 Page 84 / 180 SPARE PARTS CATALOGUE 26/06/2022
DRAWING 01B - WORKSHOP SERVICE TOOLS GROUP TOOLS SPARE PARTS CATALOGUE 26/06/2022 Page 85 / 180 MULTISTRADA V2 S TRAVEL USA /23 D21000023 POS. CODE DESCRIPTION QTY VALIDITY NOTES 1 887134488 FORK OIL LEVEL SYRINGE 1 2 887134302 ATTREZZO SERRAGGIO STELO FORCELLE 1 3 887131059 ASSEMBLING BEARINGS TOOL 1 4 887131074 TOOL DISASSEMBLING SWINGARM PIVOT 1 5 887133220 BENCH FOR ENGINE REPAIR 1 6 887131515 FRAME/MOTOR SUPPORT 1 7 887131058 SPANNER TO ASSEMBLE THE STEERING SLEEVE 1 8 800070139 WRENCH FOR FRONT WHEEL SPINDLE 1 9 887131062 TOOL ASSEMBLING STEERING TUBE BEARING 1 10 887133501 WRENCH TO TIGHTEN CAP TANK 1 11 887133526 WRENCH FOR TIGHTENING FRAME RING NUT 1 12 887130025 BUSH FOR INSTALLING/REMOVING THE FORK PLUG 1 13 887131010 CONNECTOR FOR EXHAUST GAS TAKE-UP POINT 1
DRAWING 01C - CHECK INTRUMENT DDS GROUP TOOLS MULTISTRADA V2 S TRAVEL USA /23 D21000023 Page 86 / 180 SPARE PARTS CATALOGUE 26/06/2022
DRAWING 01C - CHECK INTRUMENT DDS GROUP TOOLS SPARE PARTS CATALOGUE 26/06/2022 Page 87 / 180 MULTISTRADA V2 S TRAVEL USA /23 D21000023 POS. CODE DESCRIPTION QTY VALIDITY NOTES 1 979000279 DDS 3 1 2 979000253 BELT TENSIONING KIT 1 3 979000282 DIAGNOSIS CABLE 1 4 979000283 CONNECTING CABLE 1 5 979000284 USB CABLE 1 6 979000281 HASP DDS3 KEY 1
DRAWING A2 - TYRES GROUP TYRES MULTISTRADA V2 S TRAVEL USA /23 D21000023 Page 88 / 180 SPARE PARTS CATALOGUE 26/06/2022
DRAWING A2 - TYRES GROUP TYRES SPARE PARTS CATALOGUE 26/06/2022 Page 89 / 180 MULTISTRADA V2 S TRAVEL USA /23 D21000023 POS. CODE DESCRIPTION QTY VALIDITY NOTES 1 490PE255A FRONT TYRE 1 (*)=Pneumatico di primo equipaggiamento 2 491PE263A REAR TYRE 1 (*)=Pneumatico di primo equipaggiamento 3 490PE323A FRONT TYRE 1 4 491PE327A REAR TYRE 1 5 490PE333A FRONT TYRE 1 6 491PE336A REAR TYRE 1
DRAWING B2 - (*) PIRELLI SCORPIONâ„¢ TRAIL II GROUP TYRES MULTISTRADA V2 S TRAVEL USA /23 D21000023 Page 90 / 180 SPARE PARTS CATALOGUE 26/06/2022
DRAWING B2 - (*) PIRELLI SCORPIONâ„¢ TRAIL II GROUP TYRES SPARE PARTS CATALOGUE 26/06/2022 Page 91 / 180 MULTISTRADA V2 S TRAVEL USA /23 D21000023 POS. CODE DESCRIPTION QTY VALIDITY NOTES 1 490PE255A FRONT TYRE 1 (*)=Pneumatico di primo equipaggiamento 2 491PE263A REAR TYRE 1 (*)=Pneumatico di primo equipaggiamento
DRAWING C2 - PIRELLI SCORPIONâ„¢ RALLY GROUP TYRES MULTISTRADA V2 S TRAVEL USA /23 D21000023 Page 92 / 180 SPARE PARTS CATALOGUE 26/06/2022
DRAWING C2 - PIRELLI SCORPIONâ„¢ RALLY GROUP TYRES SPARE PARTS CATALOGUE 26/06/2022 Page 93 / 180 MULTISTRADA V2 S TRAVEL USA /23 D21000023 POS. CODE DESCRIPTION QTY VALIDITY NOTES 1 490PE323A FRONT TYRE 1 2 491PE327A REAR TYRE 1
DRAWING D2 - SCORPIONâ„¢ RALLY STR GROUP TYRES MULTISTRADA V2 S TRAVEL USA /23 D21000023 Page 94 / 180 SPARE PARTS CATALOGUE 26/06/2022
DRAWING D2 - SCORPIONâ„¢ RALLY STR GROUP TYRES SPARE PARTS CATALOGUE 26/06/2022 Page 95 / 180 MULTISTRADA V2 S TRAVEL USA /23 D21000023 POS. CODE DESCRIPTION QTY VALIDITY NOTES 1 490PE333A FRONT TYRE 1 2 491PE336A REAR TYRE 1
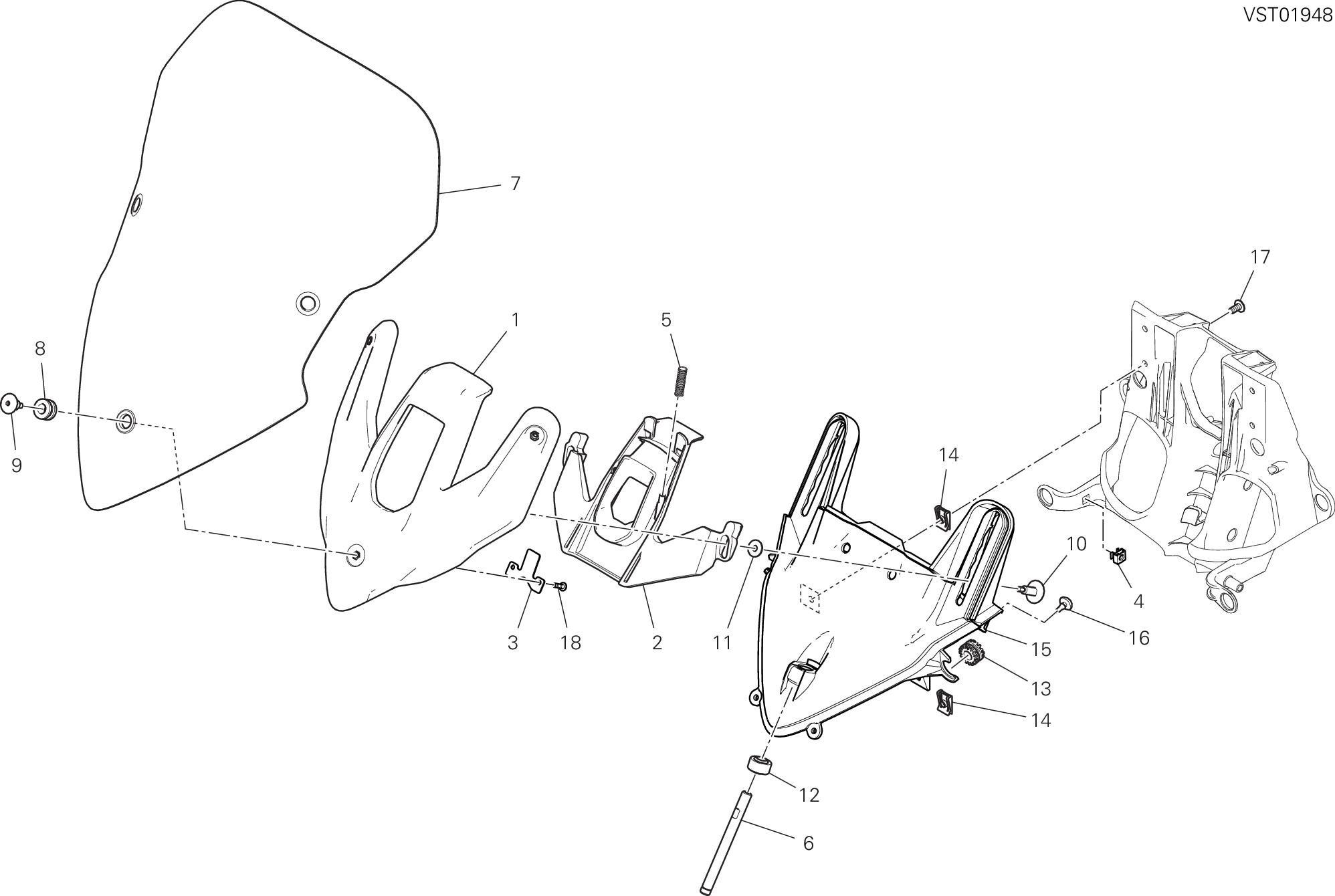
DRAWING 019 - EXHAUST SYSTEM GROUP FRAME MULTISTRADA V2 S TRAVEL USA /23 D21000023 Page 96 / 180 SPARE PARTS CATALOGUE 26/06/2022
DRAWING 019 - EXHAUST SYSTEM GROUP FRAME SPARE PARTS CATALOGUE 26/06/2022 Page 97 / 180 MULTISTRADA V2 S TRAVEL USA /23 D21000023 POS. CODE DESCRIPTION QTY VALIDITY NOTES 1 57114693A VERTICAL EXHAUST PIPE 1 2 57014703A HORIZONTAL EXHAUST PIPE 1 3 79925941A COMPLETE SPRING 1 4 78020011A PLUG ASSY 2 5 55214491B SENSOR LAMBDA SOND 2 6 57314183A PRESILENCER 1 7 57610671A BRACKET, SILENCER 2 8 76410241A VIBRATION DAMPER PAD 4 9 71614141A SPACER 6.25X10X5.75 4 10 77156688B SCREW TCEIF 3 11 71011491A SPINDLE, TAPER 2 12 79010151A GASKET, EXHAUST PIPE 2 13 74810241A NUT 6 14 85640121A WASHER 6 15 71614251A SPACER 3 16 74841091AA NUT 3 17 85250311A WASHER 5 18 77240263C SCREW 2 19 77240288C SCREW 3 20 4601C332A HEAT GUARD BOTTOM 1 21 4601C321A HEAT GUARD UPPER 1 22 71614102AB SPACER 3 23 59340301C ELECTRIC MOTOR, EXHAUST VALVE 1 24 85241711A WASHER 2 25 77240308C SCREW 3 26 76411141A VIBRATION DAMPER PAD 3 27 73210552A CABLE, EXHAUST VALVE 1 28 75840771A FAIRLEAD 1 29 8291D653A BRACKET, MOTOR EXHAUST VALVE 1 30 4601M131AA SILENCER PROTECTION 1 31 77244173B SCREW 3 32 57314192AA SILENCER 1 33 85040551A QUICK FASTENING 2 34 77355068B SCREW TCEIR M8X35 1 35 71314361A COLLAR, SILENCER MOUNTING 1
DRAWING 019 - EXHAUST SYSTEM GROUP FRAME MULTISTRADA V2 S TRAVEL USA /23 D21000023 Page 98 / 180 SPARE PARTS CATALOGUE 26/06/2022
DRAWING 019 - EXHAUST SYSTEM GROUP FRAME SPARE PARTS CATALOGUE 26/06/2022 Page 99 / 180 MULTISTRADA V2 S TRAVEL USA /23 D21000023 POS. CODE DESCRIPTION QTY VALIDITY NOTES 36 76410011A DAMPER 2 37 77440061A SCREW, TAPPING 2 38 77156718B SCREW TCEIF 1 39 75910251A SPRING 1 40 4601D401A THERMOREFLECTING PROTECTION 1 41 85212901A WASHER 1 42 74940321A NUT 1 43 75811181A FAIRLEAD 1 44 85240171A WASHER 1 45 74113381A CONNECTOR COMP, EXHAUST PIPE 1 46 77440251A SCREW 2
DRAWING 021 - HANDLEBAR GROUP FRAME MULTISTRADA V2 S TRAVEL USA /23 D21000023 Page 100 / 180 SPARE PARTS CATALOGUE 26/06/2022
DRAWING 021 - HANDLEBAR GROUP FRAME SPARE PARTS CATALOGUE 26/06/2022 Page 101 / 180 MULTISTRADA V2 S TRAVEL USA /23 D21000023 POS. CODE DESCRIPTION QTY VALIDITY NOTES 1 77910921A SCREW 1 2 65010212C RIGHT SWITCH 1 3 77110401B SCREW 1 4 66020152B THROTTLE CONTROL 1 5 77113771B SCREW L.H. 1 6 77159313B SCREW 1 7 36012301AA HANDLEBAR 1 8 52310692B RIGHT MIRROR 1 9 52310682B LEFT MIRROR 1 10 74810351B NUT 1 11 65110291C LEFT SWITCH 1 12 77150783B SCREW 2 13 7131C001AA SPACER 2 14 15310301AA BALANCER SET, HANDLE BAR 2 15 71011071A BUSH 2 16 71117391A SPINDLE, TAPER 2 17 80811931AB CLAMP 1 18 53010342A TURN INDICATOR R.H. 1 19 46017361A GUARD, KNUCKLE, RH 1 20 4601C282A GUARD, KNUCKLE, RH 1 21 77440111A SCREW 10 22 80811941AB CLAMP 1 23 77156713B SCREW 4 24 77156423B SCREW 4 25 4601C292A GUARD, KNUCKLE, LH 1 26 53010352A TURN INDICATOR L.H. 1 27 46017351A GUARD, KNUCKLE, LH 1 28 7131B251AA SPACER 1 29 71316221AA SPACER 2 30 8291L021AA BRACKET, OIL TANK 1 31 8291L031AA BRACKET, OIL TANK 1 32 83040071A CLIP 2 33 7791B781A SCREW, SPECIAL 2
DRAWING 022 - FRAME GROUP FRAME MULTISTRADA V2 S TRAVEL USA /23 D21000023 Page 102 / 180 SPARE PARTS CATALOGUE 26/06/2022
DRAWING 022 - FRAME GROUP FRAME SPARE PARTS CATALOGUE 26/06/2022 Page 103 / 180 MULTISTRADA V2 S TRAVEL USA /23 D21000023 POS. CODE DESCRIPTION QTY VALIDITY NOTES 1 470P3053AC FRAME BLACK 1 2 77917261AA THREADED DOWEL 2 3 70310662AA RING NUT 2 4 7791A201AA SCREW, SPECIAL 1 5 74841011AA NUT, FLANGE 1 6 7791A131AA PIN 1 7 77919101AA SCREW, SPECIAL 1 8 87211171A PLUG 2 9 7791A211AA SCREW, SPECIAL 1 10 8291D723AB BRACKET, HEADLIGHT 1 11 77110411A SCREW TCEIF M8X20 2 12 71614102AB SPACER 1 13 77240308C SCREW 1 14 76411141A VIBRATION DAMPER PAD 1
DRAWING 023 - CLUTCH MASTER CYLINDER GROUP FRAME MULTISTRADA V2 S TRAVEL USA /23 D21000023 Page 104 / 180 SPARE PARTS CATALOGUE 26/06/2022

77110401B

58540351A

74810351B

62610131A

61240391A

53940771A

62640561A

77354893C

19510411D

DRAWING 023 - CLUTCH MASTER CYLINDER GROUP FRAME SPARE PARTS CATALOGUE 26/06/2022 Page 105 / 180 MULTISTRADA V2 S TRAVEL USA /23 D21000023 POS. CODE DESCRIPTION QTY VALIDITY NOTES 1 63041001A CLUTCH MASTER CYLINDER 1 2 19540081B PISTON ASSEMBLY 1 3 18710021A VALVE, BREATHER 2 4 61240052A DUST COVER 2 5 77913971A BOLT, BRAKE HOSE 2 6 63211021A HOSE, CLUTCH 1 7 77910921A SCREW 1 8 76414191A DAMPER 1 9 63140081A JOINT, HOSE 1 10
SCREW 1 11 89340241A COVER MASTER CYLINDER 1 12
SUB TANK, OIL 1 13
NUT 1 14 74142951A CLAMP 2 15 93310701A HOSE, OIL 1 16 7131B251AA SPACER 1 17 85250241A WASHER 10X14X1 4 18
CLUTCH LEVER 1 19
DUST COVER 1 20
MICROSWITCH 1 21
BOLT, LEVER 1 22
SCREW 3 23
SPACER 1 24 78811641C GASKET 1 25 61041991A BREMBO CLUTCH FLOATING PISTON KIT 1
DRAWING 024 - FRONT BRAKE SYSTEM GROUP FRAME MULTISTRADA V2 S TRAVEL USA /23 D21000023 Page 106 / 180 SPARE PARTS CATALOGUE 26/06/2022

61811601A

DRAWING 024 - FRONT BRAKE SYSTEM GROUP FRAME SPARE PARTS CATALOGUE 26/06/2022 Page 107 / 180 MULTISTRADA V2 S TRAVEL USA /23 D21000023 POS. CODE DESCRIPTION QTY VALIDITY NOTES 1 62441431A FRONT BRAKE PUMP 1 2 18710021A VALVE, BREATHER 1 3 77915511A SCREW, SPECIAL 1 4 85250241A WASHER 10X14X1 7 5 53940801A MICROSWITCH 1 6 62640561A BOLT, LEVER 1 7 63140081A JOINT, HOSE 1 8 61340121A PADS PAIR 2 9 61041491C LEFT FRONT BRAKE CALIPER 1 10 63140601A LEVER, FRONT BRAKE 1 11 61240391A DUST COVER 1 12 76414191A DAMPER 1 13 61240511A SPARE PIN AND SPRING 2 14 89340251A COVER MASTER CYLINDER 1 15 58540341A RESERVOIR, BRAKE FLUID 1 16 74142951A CLAMP 2 17 93310691A HOSE 1 18 77210591A SCREW TEF M6X10 1 19 77914651A BOLT, BRAKE HOSE 1 20
HOSE, FRONT BRAKE CALIPER-CALIPER 1 21 61240052A DUST COVER 3 22 61240201A FRONT CALIPER DRAIN SCREW 2 23 77913971A BOLT, BRAKE HOSE 1 24 8301A131AA BRACKET 1 25 77913311D SCREW M 10 X 60 4 26 61041501C RIGHT FRONT BRAKE CALIPER 1 27 4601F281A PROTECTION SHEATH 2 28 71114113AA BUSH 2 29 8291A891A BRACKET 1 30 55214281B ACCELEROMETER 1 31 77240343C SCREW 2
DRAWING 025 - REAR BRAKING SYSTEM GROUP FRAME MULTISTRADA V2 S TRAVEL USA /23 D21000023 Page 108 / 180 SPARE PARTS CATALOGUE 26/06/2022

85250241A

BRAKE

DRAWING 025 - REAR BRAKING SYSTEM GROUP FRAME SPARE PARTS CATALOGUE 26/06/2022 Page 109 / 180 MULTISTRADA V2 S TRAVEL USA /23 D21000023 POS. CODE DESCRIPTION QTY VALIDITY NOTES 1 82113311A SPACER 1 2 77150708B SCREW 1 3 85211511A WASHER 1 4 79915881AA SPRING 1 5 53940035B SWITCH, REAR BRAKE 1 6 45720771BA REAR BRAKE LEVER 1 7 47317902AA BRACKET 1 8 77912371B SCREW 1 9 82111701CA PIN PEDAL 1 10 71210341A BUSH 1 11 88641161A O-RING 2 12 77240308C SCREW 2 13 61321161A KIT REAR BRAKE PADS 1 14 61240311A PIN BRAKE PAD 1 15 61240052A DUST COVER 1 16 62540311B REAR BRAKE PUMP 1 17 74142951A CLAMP 2 18 11723581A ROD, PUSH 1 19 77156678B SCREW TCEIF M6X20 2 20 61141623A REAR
CALIPER 1 21 93310581A REAR BRAKE HOSE 1 22 77913662AB SCREW, SPECIAL 2 23
WASHER 10X14X1 4 24 77156393B SCREW M5X12 1 25 63140261A VALVE, BREATHER 1 26 58540151A RESERVOIR, BRAKE FLUID 1 27 89340111A PLUG 1 28 74750031A NUT 6MM 1 29 61240301A DUST COVER 1 30 61240611A SPRING, PAD STOPPER 1 31 8291D391A BRACKET, FUEL TANK REAR 1 32 71614081A SPACER 5X6.6X1.5 1 33 76411141A VIBRATION DAMPER PAD 2 34 71614102AB SPACER 2 35 85212321A WASHER 8.5X14X1.2 1
DRAWING 026 - WHEELS GROUP FRAME MULTISTRADA V2 S TRAVEL USA /23 D21000023 Page 110 / 180 SPARE PARTS CATALOGUE 26/06/2022
DRAWING 026 - WHEELS GROUP FRAME SPARE PARTS CATALOGUE 26/06/2022 Page 111 / 180 MULTISTRADA V2 S TRAVEL USA /23 D21000023 POS. CODE DESCRIPTION QTY VALIDITY NOTES 1 74810651A NUT 1 2 71311973A LEFT SPACER 1 3 49720071AC VALVE, TUBELESS TIRE 2 4 72010513C SCREW 15 5 49241551A FRONT BRAKE DISC 2 6 85212221A WASHER 1 7 50222291AA REAR WHEEL RIM 1 XCO:R 50222291AC REAR WHEEL RIM 1 XCO:STG 8 70250761A BEARING 2 9 71410941A INNER SPACER 1 10 50122532AA FRONT WHEEL RIM 1 XCO:R 50122532AC FRONT WHEEL RIM 1 XCO:STG 11 81910601BA FRONT WHEEL SPINDLE 1 12 504Z0381AA PHONIC WHEEL 2 13 93042191A SEAL RING 2 14 70250681A BEARING 2 15 71411381A INNER SPACER 1 16 49241531A REAR BRAKE DISC 1 17 71311961A RIGHT SPACER 1 18 93042501A SEAL, OIL 35X52X7 2 19 71312051A INNER SPACER 1 20 7131A371AA SPACER 1 21 70010591A WHEEL RUNNER BUSH 6 22 82114741AA SPRING DRIVE FIXING BUSH 6 23 16022501A DRUM, SPROCKET MOUNTING ASSY 1 24 70240381A BEARING 2 25 71311841A INNER SPACER 1 26 88440061A CIRCLIP 1 27 49411781AB REAR SPROCKET T43 1 28 7131A361AA FINAL SPROKET SLEEVE 1 29 74810461A NUT, FLANGE M10X1 6 30 77550213C SCREW TBEI M6X16 4 31 4601F142A CHAIN PINION COVER 1 32 67641121A CHAIN 113+1 1 33 67740033A CHAIN LINK 1
DRAWING 026 - WHEELS GROUP FRAME MULTISTRADA V2 S TRAVEL USA /23 D21000023 Page 112 / 180 SPARE PARTS CATALOGUE 26/06/2022
DRAWING 026 - WHEELS GROUP FRAME SPARE PARTS CATALOGUE 26/06/2022 Page 113 / 180 MULTISTRADA V2 S TRAVEL USA /23 D21000023 POS. CODE DESCRIPTION QTY VALIDITY NOTES 34 75010071A NUT 1 35 67621031A FINAL DRIVE KIT 1 36 75811232A FAIRLEAD 1 37 44910591A SPROCKET T15 1 38 85110041A WASHER, LOCK 1 39 4381E001B TRANSFER 1 40 4381E011B TRANSFER 1
DRAWING 027 - REAR FRAME COMP. GROUP FRAME MULTISTRADA V2 S TRAVEL USA /23 D21000023 Page 114 / 180 SPARE PARTS CATALOGUE 26/06/2022

47110523CB

77151558B

55910172A

DRAWING 027 - REAR FRAME COMP. GROUP FRAME SPARE PARTS CATALOGUE 26/06/2022 Page 115 / 180 MULTISTRADA V2 S TRAVEL USA /23 D21000023 POS. CODE DESCRIPTION QTY VALIDITY NOTES 1 47110812AB REAR FRAME L.H. 1 2 77919221AA SCREW, SPECIAL 4 3 77157258B SCREW TCEIF M8X25 3 4 87210081A PLUG 1 5 71116441AA BUSH WITH COLLAR 2 6 87311391AA THREADED PLUG 2 7 77151588B SCREW 1 8 70140491A BEARING, NEEDLE 2 9 93041271A SEAL RING 20X26X4 2 10 83019392AA BRACKET FRONT 1 11 83019381AA BRACKET 1 12 77150668B SCREW TCEI M6X18 4 13 8291D813A BRACKET, FRONT 1 14 77211071B SCREW, SPECIAL 4 15 77211082B SCREW, SPECIAL 6 16 8291D803A BRACKET, FRONT 1 17
REAR FRAME R.H. 1 18
SCREW 1 19
PILLION RIDER GRIP REAR 1 20 4601D072A HEAT GUARD L.H. 1 21 4601D062A HEAT GUARD R.H. 1 22 77440251A SCREW 6 23 85213751AA WASHER 6 24 43819301A STICKER DUCATI 1 25 86612111A CUSHION, SEAT 4 26 76412071A RUBBER PAD 1 27 77919171AA SCREW, SPECIAL 1 28 77240253C SCREW 1 29 83019521AA BRACKET 1 30 74110101A CLAMP 70MM 1
DRAWING 028 - REAR SHOCK ABSORBER GROUP FRAME MULTISTRADA V2 S TRAVEL USA /23 D21000023 Page 116 / 180 SPARE PARTS CATALOGUE 26/06/2022
DRAWING 028 - REAR SHOCK ABSORBER GROUP FRAME SPARE PARTS CATALOGUE 26/06/2022 Page 117 / 180 MULTISTRADA V2 S TRAVEL USA /23 D21000023 POS. CODE DESCRIPTION QTY VALIDITY NOTES 1 7725170BZ SCREW 1 2 36521812A REAR SHOCK ABSORBER 1 3 77915041A SCREW, SPECIAL 1 4 77240493C SCREW 1 5 55243241A DETECTOR 1 6 74941118B NUT 6MM 1 7 83019221A BRACKET 1 8 77240443C SCREW 1 9 7131B851AA SPACER 1 10 84810371A SMALL LINK 1 11 77244168B SCREW 2 12 77440171A SCREW 2 13 8291D772AA HOLDER SENSOR 1 14 75840281A HOSE GUIDE 1
DRAWING 029 - INTAKE GROUP FRAME MULTISTRADA V2 S TRAVEL USA /23 D21000023 Page 118 / 180 SPARE PARTS CATALOGUE 26/06/2022

74141651A

87611291A

77440321A

88640891A

58511041A

7131B841A

48611081A

48610992A

83019841AA

42610341B

24714951A

24714932A

44217731A

74140651A FASCETTA

59018251A

DRAIN

44218441A LOWER FILTER

77440121A

78811801A

75840801A

75840931A HOSE GUIDE

85250071A WASHER

87211182A

87211191A

GASKET

DRAWING 029 - INTAKE GROUP FRAME SPARE PARTS CATALOGUE 26/06/2022 Page 119 / 180 MULTISTRADA V2 S TRAVEL USA /23 D21000023 POS. CODE DESCRIPTION QTY VALIDITY NOTES 1 74141861A CLAMP 20-32 MM 1 2
CLAMP 1 3
HOSE, BLOW-BY 1 4
SCREW, TAPPING 6 5
O-RING 18.64X3.53 1 6
BREATHER TANK 1 7
SPACER 1 8
DAMPER, SOUND ARRESTER 1 9
COVER 1 10
BRACKET, CONNECTOR 1 11
FILTER, AIR 1 12
COVER, WIRE HARNESS 1 13
COVER AIR BOX , UPPER 1 14
AIR FILTER BOX 1 15
11-7 MM 1 16
HOSE,
AIRBOX 1 17
BOX 1 18
SCREW 11 19
AIRBOX-TANK
1 20
CLAMP 1 21
1 22
1 23
PLUG 1 24
PLUG 1
DRAWING 030 - WATER COOLER GROUP FRAME MULTISTRADA V2 S TRAVEL USA /23 D21000023 Page 120 / 180 SPARE PARTS CATALOGUE 26/06/2022
DRAWING 030 - WATER COOLER GROUP FRAME SPARE PARTS CATALOGUE 26/06/2022 Page 121 / 180 MULTISTRADA V2 S TRAVEL USA /23 D21000023 POS. CODE DESCRIPTION QTY VALIDITY NOTES 1 54810563A WATER COOLER 1 2 77240483C SCREW 1 3 77250121B SCREW TEF M6X22 2 4 76410241A VIBRATION DAMPER PAD 1 5 71614191A SPACER 3 6 8301F431AA BRACKET 1 7 76411361A VIBRATION DAMPER PAD 3 8 8301A951AA BRACKET, HORN 1 9 77211341A SCREW 1 10 51610053C HORN 1 11 87241051A CAP, RADIATOR 1 12 55040401A ELECTRIC FAN, LEFT 1 13 55040411A ELECTRIC FAN, RIGHT 1 14 77250988B SCREW TEF M6X14 6
DRAWING 031 - COOLING CIRCUIT GROUP FRAME MULTISTRADA V2 S TRAVEL USA /23 D21000023 Page 122 / 180 SPARE PARTS CATALOGUE 26/06/2022
DRAWING 031 - COOLING CIRCUIT GROUP FRAME SPARE PARTS CATALOGUE 26/06/2022 Page 123 / 180 MULTISTRADA V2 S TRAVEL USA /23 D21000023 POS. CODE DESCRIPTION QTY VALIDITY NOTES 1 55340041A THERMO-SWITCH 1 2 80012393A SLEEVE 1 3 88111281A THERMOSTAT PROTECTION RING 1 4 80022372A THERMOSTAT/PUMP HOSE VERTICAL 1 5 80012381C PUMP/COOLER HOSE 1 6 74142581A CLAMP 16-27 MM 8 7 74142591A CLAMP 20-35 MM 4 8 74142501A CLAMP 1 9 80012362A THERMOSTAT/PUMP HOSE HORIZONTAL 1 10 93410111A PIPE 1 11 89310143A EXPANSION TANK CAP 1 12 58510931A TANK, WATER RESERVOIR 1 13 77156628B SCREW TCEIF M6X10 2 14 85013121A QUICK FASTENING 1 15 80011851B HOSE, HORIZONTAL CYLINDER WATER INLET 1 16 80012481B HOSE, VERTICAL CYLINDER WATER INLET 1 17 8A0067610 CLAMP 11MM 1 18 74140651A FASCETTA 11-7 MM 2 19 93410231A BREATHER PIPE 1 20 76410981A VIBRATION DAMPER PAD 1 21 77156658B SCREW TCEIF M6X16 1 22 71615791AA SPACER 1
DRAWING 032 - FUEL TANK GROUP FRAME MULTISTRADA V2 S TRAVEL USA /23 D21000023 Page 124 / 180 SPARE PARTS CATALOGUE 26/06/2022
DRAWING 032 - FUEL TANK GROUP FRAME SPARE PARTS CATALOGUE 26/06/2022 Page 125 / 180 MULTISTRADA V2 S TRAVEL USA /23 D21000023 POS. CODE DESCRIPTION QTY VALIDITY NOTES 1 77150478B SCREW TCEI M5X30 6 2 58612291A FUEL TANK 1 3 86611091A PAD 4 4 85211961B WASHER 6.4X25X1.5 2 5 72050318C SCREW 4 6 77210631A SCREW TEF M6X20 3 7 82717471A LEFT PLATE 1 8 82717481A RIGHT PLATE 1 9 59210212G FUEL LEVEL GAUGE 1 10 77150648B SCREW TCEI M6X14 2 11 8291F531B BRACKET, FUEL TANK REAR 1 12 89510431B CAP SET, FUEL TANK 1 13 7791A611AA BOLT, ADJUSTER 2 14 74750071A NUT 2 15 85250211A WASHER 3 16 86640091A GASKET, CAP 1
DRAWING 033 - SEAT GROUP FRAME MULTISTRADA V2 S TRAVEL USA /23 D21000023 Page 126 / 180 SPARE PARTS CATALOGUE 26/06/2022

91376471AR OWNER'S MANUAL

ARABIC 91376471BG OWNER'S MANUAL

BULGARIAN

91376471CA OWNER'S MANUAL 1 CANADIAN / FRENCH

91376471CS OWNER'S MANUAL 1 CZECH

91376471DA OWNER'S MANUAL 1 DANISH 91376471DE OWNER'S MANUAL 1 GERMAN

91376471EL OWNER'S MANUAL 1 GREEK 91376471EN OWNER'S MANUAL 1 ENGLISH

91376471ES OWNER'S MANUAL 1 SPANISH 91376471FI OWNER'S MANUAL 1 FINNISH 91376471FR OWNER'S MANUAL 1 FRENCH 91376471HR OWNER'S MANUAL 1 CROATIAN 91376471HU OWNER'S MANUAL 1 HUNGARIAN

91376471IT OWNER'S MANUAL 1 ITALIAN 91376471JA OWNER'S MANUAL 1 JAPANESE 91376471KO OWNER'S MANUAL 1 KOREAN 91376471MX OWNER'S MANUAL 1 MEXICAN

91376471NL OWNER'S MANUAL 1 DUTCH

91376471NO OWNER'S MANUAL 1 NORWEGIAN 91376471PL OWNER'S MANUAL 1 POLISH

91376471PT OWNER'S MANUAL 1 PORTUGUESE

91376471RO OWNER'S MANUAL 1 ROMANIAN

91376471RU OWNER'S MANUAL 1 RUSSIAN

91376471SK OWNER'S MANUAL 1 SLOVAK

91376471SL OWNER'S MANUAL 1 SLOVENIAN

91376471SV OWNER'S MANUAL 1 SWEDISH 91376471US OWNER'S MANUAL 1 USA

91376471ZH OWNER'S MANUAL 1 TRADITIONAL CHINESE

DRAWING 033 - SEAT GROUP FRAME SPARE PARTS CATALOGUE 26/06/2022 Page 127 / 180 MULTISTRADA V2 S TRAVEL USA /23 D21000023 POS. CODE DESCRIPTION QTY VALIDITY NOTES 1 595P2521AG PILLION RIDER SEAT 1 2 59513581AA SEAT 1 3 86610611A RUBBER PAD 8 4 82714821A PLATE 1 5 75011551A NUT M22X1.5 1 6 59820611A SEAT LOCK 1 7 69720362A TOOL BAG 1 8
1
1
DRAWING 033 - SEAT GROUP FRAME MULTISTRADA V2 S TRAVEL USA /23 D21000023 Page 128 / 180 SPARE PARTS CATALOGUE 26/06/2022

POS. CODE DESCRIPTION

91376491AR OWNER'S MANUAL 1

91376491BG OWNER'S MANUAL 1

VALIDITY

ARABIC

BULGARIAN

91376491CA OWNER'S MANUAL 1 CANADIAN / FRENCH

91376491CS OWNER'S MANUAL 1 CZECH

91376491DA OWNER'S MANUAL 1 DANISH

91376491DE OWNER'S MANUAL 1 GERMAN

91376491EL OWNER'S MANUAL 1 GREEK

91376491EN OWNER'S MANUAL 1 ENGLISH

91376491ES OWNER'S MANUAL 1 SPANISH

91376491FI OWNER'S MANUAL 1 FINNISH

91376491FR OWNER'S MANUAL 1 FRENCH

91376491HR OWNER'S MANUAL 1 CROATIAN

91376491HU OWNER'S MANUAL 1 HUNGARIAN

91376491IT OWNER'S MANUAL 1 ITALIAN

91376491JA OWNER'S MANUAL 1 JAPANESE

91376491KO OWNER'S MANUAL 1 KOREAN

91376491MX OWNER'S MANUAL 1 MEXICAN 91376491NL OWNER'S MANUAL 1 DUTCH 91376491NO OWNER'S MANUAL 1 NORWEGIAN 91376491PL OWNER'S MANUAL 1 POLISH 91376491PT OWNER'S MANUAL 1 PORTUGUESE 91376491RO OWNER'S MANUAL 1 ROMANIAN 91376491RU OWNER'S MANUAL 1 RUSSIAN

91376491SK OWNER'S MANUAL 1 SLOVAK 91376491SL OWNER'S MANUAL 1 SLOVENIAN

91376491SV OWNER'S MANUAL 1 SWEDISH 91376491US OWNER'S MANUAL 1 USA

91376491ZH OWNER'S MANUAL

TRADITIONAL CHINESE

NOTES

DRAWING 033 - SEAT GROUP FRAME SPARE PARTS CATALOGUE 26/06/2022 Page 129 / 180 MULTISTRADA V2 S TRAVEL USA /23 D21000023
QTY
1
9 77914982B SCREW, SPECIAL 2 10 59810241A LOCK LATCH 1 11 83019951A BRACKET 1 12 77440061A SCREW, TAPPING 2 13 8291E012A SPACER 1 14 77240273C SCREW 2
DRAWING 034 - COWLING GROUP FRAME MULTISTRADA V2 S TRAVEL USA /23 D21000023 Page 130 / 180 SPARE PARTS CATALOGUE 26/06/2022
DRAWING 034 - COWLING GROUP FRAME SPARE PARTS CATALOGUE 26/06/2022 Page 131 / 180 MULTISTRADA V2 S TRAVEL USA /23 D21000023 POS. CODE DESCRIPTION QTY VALIDITY NOTES 1 48113483BA COWLING RED 1 XCO:R 48113483BH COWLING LIGHT GRAY 1 XCO:STG 2 86612121A LEFT PAD 1 3 86612161A RUBBER PAD 2 4 77211091C SCREW 13 5 43513501A EMBLEM DUCATI 2 6 48016931A LOWER PANEL 1 7 85640151A ROUND QUICK LOCK 2 8 86612131A RIGHT PAD 1 9 48016922A COVER, RADIATOR, LH 1 10 48018791A COVER HANDSFREE 1 11 85040471A QUICK FASTENING M5 3 12 48016912A COVER, RADIATOR, RH 1 13 77440171A SCREW 4 14 48016942A BAFFLE 1 15 85611361A WASHER 4 16 48016902AC DUCT, AIR BLACK 1 17 43819301A STICKER DUCATI 1 18 79111231B GASKET 1 19 43314281A TARGHETTA ATTENZIONE 1
DRAWING 035 - SIDE PANNIERS GROUP FRAME MULTISTRADA V2 S TRAVEL USA /23 D21000023 Page 132 / 180 SPARE PARTS CATALOGUE 26/06/2022
DRAWING 035 - SIDE PANNIERS GROUP FRAME SPARE PARTS CATALOGUE 26/06/2022 Page 133 / 180 MULTISTRADA V2 S TRAVEL USA /23 D21000023 POS. CODE DESCRIPTION QTY VALIDITY NOTES 1 69812245AA R.H. PANNIER COMPLETE "RED" 1 XCO:R 69812245AF R.H. PANNIER COMPLETE GREY 1 XCO:STG 2 69812255AA L.H. PANNIER COMPLETE "RED" 1 XCO:R 69812255AF L.H. PANNIER COMPLETE GREY 1 XCO:STG 3 86611951A RIGHT PAD 1 4 83019871AA BRACKET BOTTOM R.H. 1 5 86611961A LEFT PAD 1 6 83019881AA BRACKET BOTTOM L.H. 1 7 77156678B SCREW TCEIF M6X20 4
DRAWING 036 - CANISTER FILTER GROUP FRAME MULTISTRADA V2 S TRAVEL USA /23 D21000023 Page 134 / 180 SPARE PARTS CATALOGUE 26/06/2022

65540101A

81441041A

71610431C

59017831A

86612211A

74140431A

59014671A

59014681A

59018121A

59018261A

74140571A

46016701A

59014771A

DRAWING 036 - CANISTER FILTER GROUP FRAME SPARE PARTS CATALOGUE 26/06/2022 Page 135 / 180 MULTISTRADA V2 S TRAVEL USA /23 D21000023 POS. CODE DESCRIPTION QTY VALIDITY NOTES 1 74910021A NUT, CAP M6 2 2 8271F191AA BRACKET, CANISTER 1 3 76410291A RUBBER PAD 2 4 74140581A CLAMP 6 5 81441021A UNION 1 6 77550131A SCREW 2 7 42610351A CANISTER FILTER 1 8 83019462AA BRACKET 1 9
VALVE, BREATHER 1 10
THREE-WAYS UNION 1 11 74140641A CLAMP 2 12
SPACER 2 13
BREATHER PIPE 1 14
PAD 2 15
CLAMP 2 16 81415801A UNION 2 17
HOSE, DRAIN 1 18
HOSE, DRAIN 1 19
HOSE 1 20
HOSE 1 21
CLAMP 2 22 74140631A CLAMP 4 23 77214291AB SCREW, SPECIAL 2 24
COVER 1 25
HOSE 1 26 77210471B SCREW TEF M5X12 1 27 77210591A SCREW TEF M6X10 1 28 93510441A HOSE 1
DRAWING 037 - LABEL, WARNING GROUP FRAME MULTISTRADA V2 S TRAVEL USA /23 D21000023 Page 136 / 180 SPARE PARTS CATALOGUE 26/06/2022
DRAWING 037 - LABEL, WARNING GROUP FRAME SPARE PARTS CATALOGUE 26/06/2022 Page 137 / 180 MULTISTRADA V2 S TRAVEL USA /23 D21000023 POS. CODE DESCRIPTION QTY VALIDITY NOTES 1 43311651A LABEL, WARNING SCREEN 1 2 43311701A LABEL, HELMET HOLDER 1 3 43311641A LABEL WARNING FUEL TANK 1 4 43311661A LABEL WARNING MIRROR 1
DRAWING 19A - SECONDARY AIR SYSTEM GROUP FRAME MULTISTRADA V2 S TRAVEL USA /23 D21000023 Page 138 / 180 SPARE PARTS CATALOGUE 26/06/2022
DRAWING 19A - SECONDARY AIR SYSTEM GROUP FRAME SPARE PARTS CATALOGUE 26/06/2022 Page 139 / 180 MULTISTRADA V2 S TRAVEL USA /23 D21000023 POS. CODE DESCRIPTION QTY VALIDITY NOTES 1 8291D511A HOLDER 1 2 87611301A PIPE 1 3 87611321A DUCT, AIR 1 4 77440321A SCREW, TAPPING 1 5 74142401A CLAMP 4 6 65540081A ACTUATOR 1 7 74142371A CLAMP 2 8 87611411A DUCT, AIR 1
DRAWING 21A - FRONT FORK GROUP FRAME MULTISTRADA V2 S TRAVEL USA /23 D21000023 Page 140 / 180 SPARE PARTS CATALOGUE 26/06/2022

34914671A

34921361B

34922721A

34922181A

34922711A

34921361A

34913831A

34922701A

34922141A

34913851A

52910221A

34913941A

34913931A

34914711A

DRAWING 21A - FRONT FORK GROUP FRAME SPARE PARTS CATALOGUE 26/06/2022 Page 141 / 180 MULTISTRADA V2 S TRAVEL USA /23 D21000023 POS. CODE DESCRIPTION QTY VALIDITY NOTES 1 34421281A FORK LEG ASSY, RIGHT 1 2 34521045A FORK LEG ASSY, LEFT 1 3 34921981A FORK OUTER TUBE 2 4 34913871A BUSH 2 5 34922731A COMPLETE RIGHT SLIDER 1 6 34913861A SCREW 4 7 34913811A WASHER 2 8 34914661A SCREW 1 9 34914911A SPRING 2 10
RIGHT SPACER 1 11
PLUG, RH 1 12
CYLINDER-SET-FORK, RH 1 13
OVERHAUL KIT 2 14
COMPLETE LEFT SLIDER 1 15
PLUG 1 16
WASHER 3 17
CYLINDER-SET-FORK, LH 1 18
SEAL KIT 2 19
RING NUT 1 20
REFLECTOR, ADHESIVE AMBER 2 21
BUSH 1 22
BUSH 1 23
SCREW 1
DRAWING 21B - STEERING HEAD BASE ASSEMBLY GROUP FRAME MULTISTRADA V2 S TRAVEL USA /23 D21000023 Page 142 / 180 SPARE PARTS CATALOGUE 26/06/2022

36011781AA

34111671AA

DRAWING 21B - STEERING HEAD BASE ASSEMBLY GROUP FRAME SPARE PARTS CATALOGUE 26/06/2022 Page 143 / 180 MULTISTRADA V2 S TRAVEL USA /23 D21000023 POS. CODE DESCRIPTION QTY VALIDITY NOTES 1 74750071A NUT 2 2 77910991B SCREW 2 3 34221141AA STEERING HEAD BASE 1 4 77156718B SCREW TCEIF 4 5 93010041B SEAL RING 2 6 70241231A BEARING, STEERING NTN SF07A17P 2 7 77211091A SCREW TBEI M5X12 3 8 4601C522A MUDFLAP 1 9 77157288B SCREW TCEIF M8X35 4 10 70011131A VIBRATION DAMPER 2 11 85211031AB WASHER 1 12 70310131A THREAD, STEERING HEAD TOP 1 13 77157278B SCREW TCEIF M8X30 5 14 36011792AA HOLDER, HANDLE LOWER 1 15 77159418B SCREW M10X1.25X70 2 16 85350111A WASHER, SPRING 2 17
HANDLEBAR BRACKET, UPPER 1 18
STEERING HEAD 1
DRAWING 22A - SIDE STAND GROUP FRAME MULTISTRADA V2 S TRAVEL USA /23 D21000023 Page 144 / 180 SPARE PARTS CATALOGUE 26/06/2022
DRAWING 22A - SIDE STAND GROUP FRAME SPARE PARTS CATALOGUE 26/06/2022 Page 145 / 180 MULTISTRADA V2 S TRAVEL USA /23 D21000023 POS. CODE DESCRIPTION QTY VALIDITY NOTES 1 77917241AA SCREW 1 2 55611201BA SIDE STAND 1 3 79921602A COMPLETE SPRING 1 4 79915081A INNER SPRING 1 5 74940321A NUT 1 6 82114923AA AXLE, SIDE STAND 1 7 53910351A SWITCH, STAND 1 8 77919891AA SCREW, SPECIAL 2 9 55510931AA STAND, MAIN 1 10 86611001B PAD 1 11 82113581A PIN 1 12 79925121B COMPLETE SPRING 1 13 79915271A INNER SPRING 1
DRAWING 24A - BRAKING SYSTEM ABS GROUP FRAME MULTISTRADA V2 S TRAVEL USA /23 D21000023 Page 146 / 180 SPARE PARTS CATALOGUE 26/06/2022
DRAWING 24A - BRAKING SYSTEM ABS GROUP FRAME SPARE PARTS CATALOGUE 26/06/2022 Page 147 / 180 MULTISTRADA V2 S TRAVEL USA /23 D21000023 POS. CODE DESCRIPTION QTY VALIDITY NOTES 1 55212111B SENSOR, SPEED 2 2 75840601A FAIRLEAD 12 3 76410241A VIBRATION DAMPER PAD 2 4 54240744A CONTROL UNIT ABS 1 5 61811611A CPU - FRONT CALIPERS LINE 1 6 85250241A WASHER 10X14X1 4 7 77913662AB SCREW, SPECIAL 2 8 61811531A FRONT MASTER CYLINDER - CPU LINE 1 9 77913141B SCREW, SPECIAL 2 10 85250261B GASKET 4 11 61911461A CPU-REAR CALIPER LINE 1 12 61911471A REAR MASTER CYLINDER-CPU LINE 1 13 71314901A GASKET TH.02 2 71319201A GASKET 0.5 MM 6 14 8301A982AA BRACKET 1 15 77210601A SCREW TEF M6X16 2 16 77156653B SCREW 2 17 48018331A CAP LH 1 18 85240181A WASHER 2 19 86640051A RUBBER PAD 1 20 85040551A QUICK FASTENING 1 21 4601C581A PROTECTION SHEATH 1 22 8291A891A BRACKET 1 23 55214941A ACCELEROMETER 1 24 71114113AA BUSH 2 25 77240343C SCREW 2
DRAWING 27C - FOOTRESTS, LEFT GROUP FRAME MULTISTRADA V2 S TRAVEL USA /23 D21000023 Page 148 / 180 SPARE PARTS CATALOGUE 26/06/2022

71210341A

88641161A

76510231A

77157283B

69610251A

DRAWING 27C - FOOTRESTS, LEFT GROUP FRAME SPARE PARTS CATALOGUE 26/06/2022 Page 149 / 180 MULTISTRADA V2 S TRAVEL USA /23 D21000023 POS. CODE DESCRIPTION QTY VALIDITY NOTES 1 82423341BA FRONT L.H. PLATE 1 2 77351568C SCREW 2 3 77110401A SCREW TCEIF M6X18 1 4 45612372AA GEAR CONTROL LEVER 1 5 77156688B SCREW TCEIF 2 6 55215491E Quick Shift 1 7 82111701CA PIN PEDAL 1 8 45622362AA GEARCHANGE LEVER 1 9 76411321C RUBBER PAD 1 10
BUSH 1 11
O-RING 2 12 85211511A WASHER 1 13 85211561A SPRING WASHER 8.1X14X1 2 14 82119351AA FOOTREST PIN 2 15 79916201AA SPRING. FOOTREST 1 16 46411171AA LEFT FOOTREST 2 17
INSERT 1 18
SCREW TCEIF M8X35 8.8 2 19 82412631BB REAR L.H. PLATE 1 20
SPRING RETAINER 1 21 79910241A SPRING 1 22 84740021A BALL 1 23 87240561A PLUG 2 24 74941118B NUT 6MM 2 25 74750101A NUT 6MM 1 26 84850021A BALL JOINT, RIGHT 1 27 68540011A COTTER PIN 2 28 76510251A FOOT PEG COVER 1
DRAWING 27D - FOOTRESTS, RIGHT GROUP FRAME MULTISTRADA V2 S TRAVEL USA /23 D21000023 Page 150 / 180 SPARE PARTS CATALOGUE 26/06/2022
DRAWING 27D - FOOTRESTS, RIGHT GROUP FRAME SPARE PARTS CATALOGUE 26/06/2022 Page 151 / 180 MULTISTRADA V2 S TRAVEL USA /23 D21000023 POS. CODE DESCRIPTION QTY VALIDITY NOTES 1 82422892AA FRONT R.H. PLATE 1 2 77351568C SCREW 2 3 85211561A SPRING WASHER 8.1X14X1 2 4 82119351AA FOOTREST PIN 2 5 79916201AA SPRING. FOOTREST 1 6 46411161AA RIGHT FOOTREST 2 7 76510221A INSERT 1 8 77157283B SCREW TCEIF M8X35 8.8 2 9 82413131BB REAR R.H. PLATE 1 10 69610251A SPRING RETAINER 1 11 79910241A SPRING 1 12 84740021A BALL 1 13 87240561A PLUG 3 14 68540011A COTTER PIN 2 15 76510241A FOOT PEG COVER 1
DRAWING 28A - SWING ARM GROUP FRAME MULTISTRADA V2 S TRAVEL USA /23 D21000023 Page 152 / 180 SPARE PARTS CATALOGUE 26/06/2022

71140021A

36911361B

44711572A

74840341B

37011955BB

80810461A

85210011B

77210941C

44712361A

44610311B

37310871BA

81910891AA

37310861BA

56510852B

75011891AA

71313882A

75011251A

77913722AA

87240441A

43314411A

MUDGUARD

DRAWING 28A - SWING ARM GROUP FRAME SPARE PARTS CATALOGUE 26/06/2022 Page 153 / 180 MULTISTRADA V2 S TRAVEL USA /23 D21000023 POS. CODE DESCRIPTION QTY VALIDITY NOTES 1
BUSH WITH COLLAR 2 2
AXLE, REAR SWING ARM 1 3
LOWER CHAIN SLIDING SHOE 1 4 77210841BA SCREW 4 5
NUT M8 2 6
REAR SWINGING ARM 1 7
CLAMP 2 8
THRUST WASHER 20.5X36X1.8 MM 2 85210021B THRUST WASHER 20.5X36X0.2 MM 2 85210031B THRUST WASHER 20.5X36X0.1 MM 2 9
SCREW 1 10
UPPER CHAIN SLIDING SHOE 1 11
CHAIN GUARD 1 12
SLIDING SHOE 1 13
REAR WHEEL SPINDLE 1 14
SLIDING SHOE 1 15
REAR
1 16
NUT 1 17
WASHER, THRUST 1 18
NUT, SPECIAL M8 2 19
SCREW, SPECIAL 2 20
CAP, SWINGARM COVER 3 21
CHAIN ADJUSTMENT STICKER 1 22 77214411BA SCREW, SPECIAL 7 23 4601D971A FAIRLEAD 1
DRAWING 32A - FUEL PUMP GROUP FRAME MULTISTRADA V2 S TRAVEL USA /23 D21000023 Page 154 / 180 SPARE PARTS CATALOGUE 26/06/2022
DRAWING 32A - FUEL PUMP GROUP FRAME SPARE PARTS CATALOGUE 26/06/2022 Page 155 / 180 MULTISTRADA V2 S TRAVEL USA /23 D21000023 POS. CODE DESCRIPTION QTY VALIDITY NOTES 1 42520031A REPAIR KIT 1 2 42520021A REPAIR KIT 1 3 77156398B SCREW TCEIF M5X12 5 4 79111131B GASKET 1 5 16024311B FUEL PUMP 1 6 16014853A BRACKET 1
DRAWING 34A - FAIRING GROUP FRAME MULTISTRADA V2 S TRAVEL USA /23 D21000023 Page 156 / 180 SPARE PARTS CATALOGUE 26/06/2022
DRAWING 34A - FAIRING GROUP FRAME SPARE PARTS CATALOGUE 26/06/2022 Page 157 / 180 MULTISTRADA V2 S TRAVEL USA /23 D21000023 POS. CODE DESCRIPTION QTY VALIDITY NOTES 1 79111182A GASKET, CAP 1 2 48026893AC PROTECTOR, FUEL TANK 1 XCO:R 48026893AI PROTECTOR, FUEL TANK BLACK 1 XCO:STG 3 92610321A GUARD 4 4 85212181A WASHER, NYLON 9X14X1 10 5 76411141A VIBRATION DAMPER PAD 2 6 85040471A QUICK FASTENING M5 24 7 480P9321AF COVER, RADIATOR, RH 1 XCO:STG 480P9321AL COVER, RADIATOR, RH 1 XCO:R 8 78811841A GASKET 2 9 77244173B SCREW 10 10 77211121C SCREW, SPECIAL 2 11 48019303A RIGHT HOLDER 1 12 77240393C SCREW TBEIF M6X10 10.9 4 13 83019171AA BRACKET 2 14 76410481A VIBRATION DAMPER 2 15 71011301A SPINDLE, TAPER 2 16 48019313A LEFT HOLDER 1 17 480P9331AF COVER, RADIATOR, LH 1 XCO:STG 480P9331AL COVER, RADIATOR, LH 1 XCO:R 18 43819461A EMBLEM ITALIAN FLAG 1 19 4381F141B LEFT STICKER 1 20 4381F151B RIGHT STICKER 1 21 77354628B SCREW 6 22 85041021A QUICK FASTENING M4 6 23 85010141A RUBBER PAD 6 24 86612111A CUSHION, SEAT 2 25 78811871A GASKET 2 26 85042242A DUAL LOCK 6 27 77214411AB SCREW 10
DRAWING 34B - FAIRING GROUP FRAME MULTISTRADA V2 S TRAVEL USA /23 D21000023 Page 158 / 180 SPARE PARTS CATALOGUE 26/06/2022

77211281A

43713361A

DRAWING 34B - FAIRING GROUP FRAME SPARE PARTS CATALOGUE 26/06/2022 Page 159 / 180 MULTISTRADA V2 S TRAVEL USA /23 D21000023 POS. CODE DESCRIPTION QTY VALIDITY NOTES 1 77914391C SCREW 4 2 85040551A QUICK FASTENING 6 3 77210943B SCREW, SPECIAL 2 4 77211251B SCREW M5X9 2 5 85611271A WASHER 4 6 92610051A GUARD 1 7 56416431B FRONT MUDGUARD 1 8 56416491A EXTENSION, FRONT FENDER 1 9 83019431AA BRACKET 1 10 85250311AB WASHER 2 11 77916371AB SCREW, SPECIAL 2 12 76411381A VIBRATION DAMPER PAD 2 13
SCREW TCEIF M5X20 2 14 71614252AB SPACER 2 15 76410841A VIBRATION DAMPER PAD 2 16 70010311A DAMPER 1 17 77210893B SCREW 1 18 77150638B SCREW TCEI M6X12 1 19 4601E103A GUARD, ENGINE 1 20
L.H. DECAL (DUCATI SAFETY PACK) 1 21 43713351A R.H. DECAL (DUCATI SAFETY PACK) 1 22 71611071A SPACER 1 23 85240081A TOOTHED LOCK WASHER 1 24 8301A961AA RIGHT BRACKET 1 25 77354713B SCREW TCEIR M5X10 DIN6912 8.8 1
DRAWING 34C - WINDSHIELD GROUP FRAME MULTISTRADA V2 S TRAVEL USA /23 D21000023 Page 160 / 180 SPARE PARTS CATALOGUE 26/06/2022
DRAWING 34C - WINDSHIELD GROUP FRAME SPARE PARTS CATALOGUE 26/06/2022 Page 161 / 180 MULTISTRADA V2 S TRAVEL USA /23 D21000023 POS. CODE DESCRIPTION QTY VALIDITY NOTES 1 8291D752D STAY, WINDSHIELD 1 2 8291D761D HOLDER 1 3 82719111A PLATE 1 4 74640101A SPECIAL NUT 1 5 79915921AA SPRING 2 6 8291D863A ROD 1 7 48710822A WINDSHIELD 1 8 75840621A RUBBER PAD 3 9 77918092AA SCREW, SPECIAL 3 10 77919211BA SCREW, SPECIAL 2 11 85213101A WASHER 2 12 84820441A BALL JOINT 1 13 76410241A VIBRATION DAMPER PAD 2 14 85040381A QUICK FASTENING 6 15 48111193C STAY, WINDSHIELD 1 16 86610751A PAD 4 17 77240423C SCREW 6 18 77440251A SCREW 2
DRAWING 34E - SIDE BODY PANELS GROUP FRAME MULTISTRADA V2 S TRAVEL USA /23 D21000023 Page 162 / 180 SPARE PARTS CATALOGUE 26/06/2022
DRAWING 34E - SIDE BODY PANELS GROUP FRAME SPARE PARTS CATALOGUE 26/06/2022 Page 163 / 180 MULTISTRADA V2 S TRAVEL USA /23 D21000023 POS. CODE DESCRIPTION QTY VALIDITY NOTES 1 48212691AA COVER FRAME RH RED 1 48212691AB BODY PANEL R.H. GREY 1 XCO:STG 2 48222701AA COVER FRAME LH RED 1 48222701AB BODY PANEL L.H. GREY 1 XCO:STG 3 77214411AA SCREW 7 4 85212181A WASHER, NYLON 9X14X1 7 5 85040471A QUICK FASTENING M5 2 6 86610301B RUBBER PAD 1 7 86611221C PAD 1
DRAWING 35A - LEFT PANNIER GROUP FRAME MULTISTRADA V2 S TRAVEL USA /23 D21000023 Page 164 / 180 SPARE PARTS CATALOGUE 26/06/2022
DRAWING 35A - LEFT PANNIER GROUP FRAME SPARE PARTS CATALOGUE 26/06/2022 Page 165 / 180 MULTISTRADA V2 S TRAVEL USA /23 D21000023 POS. CODE DESCRIPTION QTY VALIDITY NOTES 1 43819301A STICKER DUCATI 1 2 69812265A COVER INTERNAL L.H. 1 3 69812271A LEFT COVER 1 4 69812301B HOOK 1 5 69812313A FORK 1 6 69812351A COVER EXTERNAL L.H. 1 7 69812371BB CAP L.H. RED 1 XCO:R 69812371BG COVER SINISTRO GRIGIO 1 XCO:STG 8 69822423A PANNIER LOCK KIT L.H. 1 9 69912111A SERIES OF BELTS 1 10 69912101A PANNIER LOCKS KIT 1 11 43314222A TARGHETTA CARICO E VELOCITA' BORSE 1 12 69916801A SLIDING BLOCK 1
DRAWING 35B - RIGHT PANNIER GROUP FRAME MULTISTRADA V2 S TRAVEL USA /23 D21000023 Page 166 / 180 SPARE PARTS CATALOGUE 26/06/2022
DRAWING 35B - RIGHT PANNIER GROUP FRAME SPARE PARTS CATALOGUE 26/06/2022 Page 167 / 180 MULTISTRADA V2 S TRAVEL USA /23 D21000023 POS. CODE DESCRIPTION QTY VALIDITY NOTES 1 43819301A STICKER DUCATI 1 2 4601C132A HEAT GUARD R.H. 1 3 69812282A COVER INTERNAL R.H. 1 4 69812291A RIGHT COVER 1 5 69812321B HOOK 1 6 69812333A FORK 1 7 69812341A COVER EXTERNAL (R.H. 1 8 69812361BB CAP R.H. RED 1 XCO:R 69812361BG COVER DESTRO GRIGIO 1 XCO:STG 9 77240408C SCREW 6 10 85211911A WASHER 6.4X16X1.5 6 11 69822413A PANNIER LOCK KIT R.H. 1 12 69912111A SERIES OF BELTS 1 13 69912101A PANNIER LOCKS KIT 1 14 43314222A TARGHETTA CARICO E VELOCITA' BORSE 1 15 69916791A SLIDING BLOCK 1

CODE NO. TABLE POS.

040009050 002 21

040029126 002 17

066549680 005 2

069191030 18B 11

11210121AA 006 8

11210121AB 006 8

11210121AC 006 8

11210121AD 006 8

11210121AE 006 8

11210791A0 10A 10

11210791AA 10A 10

11210791AB 10A 10

11210791AC 10A 10

11210791AD 10A 10

11210791AE 10A 10

11723581A 025 18

11723691A 004 16

120P3121AI 007 5

120P3131AI 007 10

12110781B 007 3

12110791A 007 2

12120822A 007 4

12222262G 007 1

13510401A 017 3

14010842C 13A 25

14010842C 13B 25

14622162CA 006 1

14622162CB 006 1

14622162CC 006 1

14622162CE 006 1

14710811A 008 3

14710951B 010 3

14824222A 13B 15

14824232A 13A 11

14824242A 13B 14

14824252A 13A 18

14911101A 003 2

14911191A 003 12

15021961B 003 3

15021971A 003 16

15310301AA 021 14

15622261BA 006 5

15622261BB 006 5

15622261BC 006 5

CODE NO. TABLE POS.

15622261BE 006 5

16010941A 13A 10

16010941A 13B 10 16014853A 32A 6

16016371A 012 13

16022501A 026 23

16024311B 32A 5

17011751A 004 17

17122421A 008 13 17210021B 003 10 17210081C 003 22 17210103C 003 20 17210113C 003 23 17212182A 003 18 17212192A 003 13 17214621A 003 21 17214951B 003 8 17214961B 003 5 17214971B 003 9 173Z0021A 012 14 17410621B 009 1 17420591A 010 4 176Z0021A 012 10 18020511A 002 6 180Z0031A 002 11 180Z0041A 002 12 18210781A 002 8 18220772A 002 9 18710021A 023 3 18710021A 024 2 19020591A 004 9 19410751A 004 4 19510411D 023 23 19540081B 023 2 19611011A 004 12 19611021A 004 11 19820661A 004 14 20810321A 014 3 20810321A 015 3 20910491A 014 16 20910491A 015 16 20910501A 014 4 20910501A 015 4 21010991A 014 14

CODE NO. TABLE POS.

21010991A 015 14

21110991A 014 5 21110991A 015 5 22032083A 010 5

225P0171A 010 1

24221551A5 011 1 24311691A5 005 1 24511271A 008 1

24511281A 008 10 24511431A 008 2 24521071A 008 21

24713571AO 011 23

24714141AC 13B 5 24714151AC 13A 6 24714161A 13B 20 24714171A 13A 20 24714612A 010 7 24714932A 029 13 24714951A 029 12 24714984A 27A 6 24725241BI 011 4 25120131A 011 7 25440013A 005 3 25510104B 008 18 25510193A 13A 7 25510193A 13B 7 26420541A 012 12 27040107A 012 1 27611201B 012 16 28040441A 017 1 28240952A 017 8 28240953A 017 8 28643291C 18A 1 30124851DI 015 22 30124861DI 014 22 30310631BB 014 7 30310631BB 015 7 30310631BC 014 7 30310631BC 015 7 30310631BD 014 7 30310631BD 015 7

30411001AB 014 13

30411001AB 015 13 30411001AC 014 13

CODE NO. TABLE POS.

30411001AC 015 13

30411011BB 014 10

30411011BB 015 10

30411011BC 014 10

30411011BC 015 10

34111671AA 21B 18

34221141AA 21B 3

34421281A 21A 1

34521045A 21A 2

34913811A 21A 7

34913831A 21A 16

34913851A 21A 19

34913861A 21A 6

34913871A 21A 4 34913931A 21A 22

34913941A 21A 21

34914661A 21A 8

34914671A 21A 10 34914711A 21A 23 34914911A 21A 9 34921361A 21A 15

34921361B 21A 11

34921981A 21A 3 34922141A 21A 18 34922181A 21A 13

34922701A 21A 17

34922711A 21A 14

34922721A 21A 12

34922731A 21A 5

36011781AA 21B 17

36011792AA 21B 14

36012301AA 021 7

36521812A 028 2

36911361B 28A 2

37011955BB 28A 6

37310861BA 28A 14

37310871BA 28A 12

38040251A 18C 13

38511581A 018 3

38511591A 018 3

38540073B 018 4

38640132A 18B 21

38640132A 18E 7

38640591A 18B 19

ALPHANUMERIC INDEX MULTISTRADA V2 S TRAVEL USA /23 D21000023 Page 168 / 180 SPARE PARTS CATALOGUE 26/06/2022

CODE NO. TABLE POS.

38940191A 18B 3

38940201A 18B 3

38940211A 18B 3

38940221A 18B 3

38940231A 018 36

38940241A 18B 3

38940261A 18B 3

39040211A 20A 12

39740081B 018 32

40611962B 20B 1

40611972B 20B 1

42020064A 016 6

42520021A 32A 2

42520031A 32A 1

42610341B 029 11

42610351A 036 7

43311641A 037 3

43311651A 037 1

43311661A 037 4

43311701A 037 2

43313912A 005 15

43314222A 35A 11

43314222A 35B 14

43314281A 034 19

43314411A 28A 21

43513501A 034 5

43713351A 34B 21

43713361A 34B 20

43819301A 027 24

43819301A 034 17

43819301A 35A 1

43819301A 35B 1

43819461A 34A 18

4381E001B 026 39

4381E011B 026 40

4381F141B 34A 19

4381F151B 34A 20

44217731A 029 14

44218441A 029 17

44440039A 10A 3

44610311B 28A 11

44711572A 28A 3

44712361A 28A 10

44910591A 026 37

CODE NO. TABLE POS.

45110462A 13A 15

45110462A 13B 11

45120311C 008 4 45120321B 008 9

45520192A 010 8

45612372AA 27C 4 45622362AA 27C 8 45720771BA 025 6

46016701A 036 24 46017351A 021 27 46017361A 021 19 4601C132A 35B 2 4601C282A 021 20 4601C292A 021 25 4601C321A 019 21 4601C332A 019 20 4601C522A 21B 8 4601C581A 24A 21 4601C741A 018 28 4601D062A 027 21 4601D072A 027 20 4601D221BA 018 39 4601D401A 019 40 4601D441A 018 43 4601D451A 018 41 4601D461A 018 42 4601D471A 018 44 4601D971A 28A 23 4601E103A 34B 19 4601E281A 27A 19 4601F142A 026 31 4601F281A 024 27 4601H701A 016 14 4601L831A 18E 20 4601M131AA 019 30 46320222A 010 10 46320537A 003 14 46411161AA 27D 6

46411171AA 27C 16 470P3053AC 022 1 47110523CB 027 17 47110812AB 027 1 47317902AA 025 7 48016902AC 034 16

CODE NO. TABLE POS.

48016912A 034 12

48016922A 034 9 48016931A 034 6 48016942A 034 14

48018331A 24A 17 48018791A 034 10

48019303A 34A 11

48019313A 34A 16

48026893AC 34A 2

48026893AI 34A 2

480P9321AF 34A 7 480P9321AL 34A 7 480P9331AF 34A 17 480P9331AL 34A 17 48111193C 34C 15 48113483BA 034 1 48113483BH 034 1 48212691AA 34E 1 48212691AB 34E 1 48222701AA 34E 2 48222701AB 34E 2 48610992A 029 9 48611081A 029 8 48612611A 005 4 48710822A 34C 7

490PE255A A2 1 490PE255A B2 1 490PE323A A2 3 490PE323A C2 1 490PE333A A2 5 490PE333A D2 1 491PE263A A2 2 491PE263A B2 2 491PE327A A2 4 491PE327A C2 2 491PE336A A2 6 491PE336A D2 2 49241531A 026 16 49241551A 026 5 49411781AB 026 27 49720071AC 026 3

50122532AA 026 10 50122532AC 026 10 50222291AA 026 7

CODE NO. TABLE POS.

50222291AC 026 7

504Z0381AA 026 12

5101A252A 18B 16

5101A262A 18B 7

5101A302A 18B 7

5101B164A 18B 17

5101G691C 18B 1

5101G701C 18B 1

51310302C 018 34

51410761D 018 35

51610053C 030 10

51840251A 18E 4

52010312C 020 1

52310682B 021 9

52310692B 021 8

52510433D 20A 6

52510523B 20A 4

52910101A 27A 7

52910221A 21A 20

53010226A 20A 8 53010236A 20A 11

53010342A 021 18 53010352A 021 26

53910351A 22A 7

53940035B 025 5

53940302A 016 12 53940771A 023 20 53940801A 024 5

54040331A 018 2

54140101A 18B 2

54240744A 24A 4

54810563A 030 1

54811231A 016 1

54911142A 016 9

54911191A 016 7

55040401A 030 12

55040411A 030 13

55212111B 24A 1

55214281B 024 30

55214491B 019 5

55214941A 24A 23

55215491E 27C 6

55240121A 18A 9

55240121A 18E 3

ALPHANUMERIC INDEX SPARE PARTS CATALOGUE 26/06/2022 Page 169 / 180 MULTISTRADA V2 S TRAVEL USA /23 D21000023

CODE NO. TABLE POS.

55241321C 10A 14

55242671A 015 29

55243161B 18A 2

55243241A 028 5

55243911A 002 10

55243941A 011 8

55340041A 031 1

55510931AA 22A 9

55611201BA 22A 2

55910172A 027 19

56110271A 27A 9

56113253A 27A 15

56416431B 34B 7

56416491A 34B 8

56510852B 28A 15

57014703A 019 2

57114693A 019 1

57314183A 019 6

57314192AA 019 32

57610671A 019 7

58510931A 031 12

58511041A 029 6

58540151A 025 26

58540341A 024 15

58540351A 023 12

58612291A 032 2

59014541A 18A 3

59014551A 18A 4

59014671A 036 17

59014681A 036 18

59014771A 036 25

59017831A 036 13

59018121A 036 19

59018251A 029 16

59018261A 036 20

59024081C 017 7

59210212G 032 9

59310601B 010 11

59310801B 010 59

59320641D 010 9

59340301C 019 23

59513581AA 033 2

595P2521AG 033 1

59810241A 033 10

CODE NO. TABLE POS.

59810361H 18E 16

59810371B 18E 15

59820611A 033 6

59821941A 18E 12

59821961A 18E 10

59821971N 18E 14 59840511A 18E 17 59840521A 18E 18

61041491C 024 9 61041501C 024 26 61041991A 023 25 61141623A 025 20

61240052A 023 4 61240052A 024 21 61240052A 025 15 61240201A 024 22 61240301A 025 29 61240311A 025 14 61240391A 023 19 61240391A 024 11 61240511A 024 13 61240611A 025 30 61321161A 025 13 61340121A 024 8 61811531A 24A 8 61811601A 024 20 61811611A 24A 5 61911461A 24A 11 61911471A 24A 12 62441431A 024 1 62540311B 025 16 62610131A 023 18 62640561A 023 21 62640561A 024 6 63041001A 023 1 63140081A 023 9 63140081A 024 7 63140261A 025 25 63140601A 024 10 63211021A 023 6 65010212C 021 2 65110291C 021 11 65540081A 19A 6 65540101A 036 9

CODE NO. TABLE POS.

66020152B 021 4 66910011E 014 6 66910011E 015 6 67040451A 18C 1

67110671E 18C 7 67110691D 18C 9 67621031A 026 35 67641121A 026 32

67740033A 026 33

68010131A 006 10 68010131A 008 16 68050061A 13A 12 68050061A 13B 12 68050101A 010 17 68540011A 27C 27 68540011A 27D 14 69610251A 27C 20 69610251A 27D 10 69720362A 033 7 69812245AA 035 1 69812245AF 035 1 69812255AA 035 2 69812255AF 035 2 69812265A 35A 2 69812271A 35A 3 69812282A 35B 3 69812291A 35B 4 69812301B 35A 4 69812313A 35A 5 69812321B 35B 5 69812333A 35B 6 69812341A 35B 7 69812351A 35A 6 69812361BB 35B 8 69812361BG 35B 8 69812371BB 35A 7 69812371BG 35A 7 69822413A 35B 11 69822423A 35A 8 69912101A 35A 10 69912101A 35B 13 69912111A 35A 9 69912111A 35B 12 69916791A 35B 15

CODE NO. TABLE POS.

69916801A 35A 12

69926751A 018 15

70010311A 34B 16

70010362A 010 18

70010591A 026 21

70010853A 018 14

70010901A 20B 2

70011131A 21B 10

70040251A 018 21

70140051A 003 4

70140211A 003 17

70140381A 010 28

70140491A 027 8

70140591A 012 11

70240091A 011 9

70240102A 011 10

70240131A 010 19

70240181B 012 15 70240381A 026 24

70240401B 010 20 70241231A 21B 6

70242211A 010 65

70242261A 010 27

70250081A 010 21

70250081A 011 2

70250193A 010 22

70250412A 010 66

70250681A 026 14

70250761A 026 8

70250861A 004 10

70310131A 21B 12

70310662AA 022 3

70350022A 13A 2

70350022A 13B 2

70350062A 008 12

70450091A 009 2

70450091A 010 23

71011071A 021 15

71011301A 34A 15

71011491A 019 11

71110922A 011 11

71110951A 010 6

71111601A 10A 4

71112191A 007 8

ALPHANUMERIC INDEX MULTISTRADA V2 S TRAVEL USA /23 D21000023 Page 170 / 180 SPARE PARTS CATALOGUE 26/06/2022

CODE NO. TABLE POS.

71113742A 13A 14

71113742A 13B 6

71114113AA 024 28

71114113AA 24A 24

71116441AA 027 5

71117391A 021 16

71140021A 28A 1

71210341A 025 10

71210341A 27C 10

71310141E 003 11

71311281B 011 12

71311841A 026 25

71311961A 026 17

71311973A 026 2

71312051A 026 19

71312661A 003 15

71312921A 014 9

71312921A 015 9

71312921B 014 25

71312921B 015 26

71313882A 28A 17

71313931A 003 1

71314361A 019 35

71314831B 004 15

71314901A 24A 13

71316221AA 021 29

71319151A 002 2

71319191A 012 8

71319201A 24A 13

71319331A 18B 22

7131A361AA 026 28

7131A371AA 026 20

7131A923A 20A 9

7131B251AA 021 28

7131B251AA 023 16

7131B841A 029 7

7131B851AA 028 9

7131C001AA 021 13

71410941A 026 9

71411381A 026 15

71610061A 018 6

71610431C 036 12

71610722A 008 20

71611071A 34B 22

CODE NO. TABLE POS.

71611071AB 27A 4

71611281A 008 17

71611641AA 016 3

71611641AA 020 4

71611641AA 18C 5

71614081A 025 32

71614102AB 019 22 71614102AB 022 12

71614102AB 025 34

71614141A 019 9

71614191A 030 5 71614251A 019 15

71614252AB 34B 14

71615791AA 031 22 71950538C 002 7 72010513C 026 4 72050069E 011 13 72050318C 032 5 720941616 010 24 73210552A 019 27 735001542 002 15 735033380 010 26 735033380 011 3 73740251B 008 5 74110101A 027 30 74110121A 18B 9 74110131A 18B 10 74110551A 18B 12 74113381A 019 45 74140381A 18B 13 74140431A 036 15 74140571A 036 21 74140581A 036 4 74140631A 036 22 74140641A 036 11 74140651A 029 15 74140651A 031 18 74141651A 029 2 74141711A 18A 5 74141861A 029 1 74141871A 017 9 74142251A 18A 13

74142371A 19A 7 74142401A 19A 5

CODE NO. TABLE POS.

74142501A 031 8

74142581A 031 6

74142591A 031 7

74142951A 023 14

74142951A 024 16

74142951A 025 17

74640101A 34C 4

74710151A 010 25

74750031A 025 28

74750071A 032 14

74750071A 21B 1

74750101A 27C 25

74810241A 019 13

74810351B 021 10 74810351B 023 13

74810361A 18C 10

74810461A 026 29

74810501A 014 29 74810501A 015 35 74810651A 026 1

74811182A 004 7

74840341B 28A 5 74841011AA 022 5 74841091AA 019 16 74841091AA 20B 3

74910021A 018 9 74910021A 036 1 74940081A 008 7 74940321A 019 42 74940321A 22A 5 74941113B 13A 27

74941113B 13B 27

74941118B 028 6 74941118B 27C 24 74941333B 018 12

75010071A 026 34

75010121D 006 11

75011131A 006 6

75011251A 28A 18

75011551A 033 5

75011601A 008 15

75011891AA 28A 16

75050051A 012 18 75811181A 019 43

CODE NO. TABLE POS.

75811232A 026 36

75840161A 018 23

75840281A 028 14

75840601A 24A 2

75840621A 34C 8

75840771A 019 28

75840801A 029 20

75840801A 27A 3

75840841A 018 40

75840901A 27A 13

75840931A 029 21

75910251A 019 39

76410011A 019 36

76410241A 016 2

76410241A 019 8

76410241A 020 5

76410241A 030 4

76410241A 18C 8

76410241A 20A 3

76410241A 24A 3

76410241A 34C 13

76410291A 036 3

76410481A 34A 14

76410841A 34B 15

76410981A 031 20

76411141A 019 26

76411141A 022 14

76411141A 025 33

76411141A 34A 5

76411321C 27C 9

76411331A 020 2

76411361A 018 22

76411361A 030 7

76411381A 34B 12

76412041A 27A 14

76412071A 027 26

76412261A 18B 20

76414191A 023 8

76414191A 024 12

76414551A 18E 19

76440572A 014 8

76440572A 015 8

76510221A 27D 7

76510231A 27C 17

ALPHANUMERIC INDEX SPARE PARTS CATALOGUE 26/06/2022 Page 171 / 180 MULTISTRADA V2 S TRAVEL USA /23 D21000023

CODE NO. TABLE POS.

76510241A 27D 15

76510251A 27C 28

76610551D 10A 2

76640191A 014 21

76640191A 015 21

76640191A 13A 26

76640191A 13B 24

77052508B 011 14

77110391B 13A 28

77110391B 13B 26

77110401A 27C 3

77110401B 021 3

77110401B 023 10

77110411A 022 11

77110521A 012 6

77113771B 021 5

77113801A 008 6

77116648B 016 10

77140677CF 012 5

77140697CF 012 7

77140743C 011 27

77150078B 010 12

77150478B 032 1

77150638B 34B 18

77150648B 032 10

77150653B 010 29

77150668B 027 12

77150670ZF 002 3

77150698BC 011 16

77150708B 025 2

77150723B 10A 11

77150758B 010 30

77150783B 021 12

77150808B 10A 8

77151250ZF 002 1

77151363B 10A 6

77151558B 027 18

77151588B 027 7

77156393B 025 24

77156398B 20A 10

77156398B 32A 3

77156408B 017 4

77156423B 021 24

77156628B 018 30

CODE NO. TABLE POS.

77156628B 031 13

77156653B 24A 16

77156658B 031 21

77156678B 025 19

77156678B 035 7

77156688B 019 10

77156688B 27C 5

77156698B 18C 12

77156713B 021 23

77156718B 019 38

77156718B 21B 4

77157258B 027 3

77157278B 21B 13

77157283B 27C 18 77157283B 27D 8

77157288B 21B 9 77159313B 021 6 77159418B 21B 15

77210471B 036 26

77210591A 024 18 77210591A 036 27 77210601A 24A 15 77210623B 015 32 77210623B 13A 29 77210631A 032 6 77210841BA 28A 4 77210893B 34B 17 77210941C 28A 9 77210943B 34B 3 77210971B 018 5

77211061A 18B 5 77211071B 027 14 77211082B 027 15 77211091A 21B 7 77211091C 034 4

77211121C 34A 10 77211251B 34B 4 77211281A 34B 13

77211341A 030 9

77214061AA 016 4 77214061AA 020 3

77214291AB 036 23

77214411AA 018 7

77214411AA 34E 3

CODE NO. TABLE POS.

77214411AB 34A 27

77214411BA 017 2

77214411BA 28A 22

77215251A 004 3

77240133C 20A 5

77240253C 027 28

77240263C 019 18

77240263C 27A 12

77240273C 033 14

77240288C 019 19

77240308C 019 25

77240308C 022 13

77240308C 025 12

77240343C 024 31

77240343C 24A 25

77240393C 34A 12

77240398CC 010 67

77240403C 27A 1

77240408C 35B 9

77240423C 018 25

77240423C 34C 17

77240438C 27A 10 77240443C 028 8

77240463C 018 11 77240483C 030 2 77240493C 028 4

77244168B 028 11

77244173B 019 31 77244173B 34A 9 77250121B 030 3 77250341B 010 13

77250341C 008 22 77250988B 030 14 7725170BZ 028 1 77253300ZF 012 3

77350403B 13A 19

77350403B 13B 19 77350618B 014 20

77350658B 010 31

77351568C 27C 2

77351568C 27D 2

77354628B 34A 21

77354713B 34B 25 77354743B 18C 6

CODE NO. TABLE POS.

77354893C 023 22

77355068B 019 34

77440041A 20A 1

77440061A 018 38

77440061A 019 37

77440061A 033 12

77440111A 021 21

77440121A 029 18

77440141A 018 27

77440141A 18E 8

77440171A 018 17

77440171A 028 12

77440171A 034 13

77440183C 18A 10

77440183C 18E 2

77440251A 019 46

77440251A 027 22

77440251A 18E 6

77440251A 34C 18

77440321A 029 4

77440321A 18A 12

77440321A 19A 4

77510311B 010 32

77510721A 005 5

77550131A 036 6

77550211B 10A 7

77550213C 026 30

77750493C 011 26

77750508CC 012 20

77910391A 010 33

77910921A 021 1

77910921A 023 7

77910991B 21B 2

77911092A 006 2

77911982A 010 34

77912371B 025 8

77912741A 017 6

77913141B 24A 9

77913311D 024 25

77913662AB 025 22

77913662AB 24A 7

77913722AA 28A 19

77913971A 023 5

77913971A 024 23

ALPHANUMERIC INDEX MULTISTRADA V2 S TRAVEL USA /23 D21000023 Page 172 / 180 SPARE PARTS CATALOGUE 26/06/2022

CODE NO. TABLE POS.

77914045B 006 9

77914211A 014 23

77914211A 015 23

77914391C 34B 1

77914651A 024 19

77914982B 033 9

77915041A 028 3

77915093A 13A 3

77915093A 13B 3

77915471A 006 4

77915511A 024 3

77916041DA 005 16

77916371AB 34B 11

77917241AA 22A 1

77917261AA 022 2

77918092AA 34C 9

77919101AA 022 7

77919162AA 015 31

77919171AA 027 27

77919211BA 34C 10

77919221AA 027 2

77919251B 13A 5

77919881A 010 64

77919891AA 22A 8

7791A131AA 022 6

7791A201AA 022 4

7791A211AA 022 9

7791A611AA 032 13

7791A821AA 18E 11

7791B781A 021 33

77927171B 010 35

77941992A 011 24

77942032A 005 14

77942032A 011 15

77950302A 13A 16

77950302A 13B 16

77950621A 010 37

78010161B 006 3

78010511E 014 12

78010511E 015 12

78010941B 010 60

78011001A 011 5

78011171A 010 38

78011281A 005 12

CODE NO. TABLE POS.

78020011A 019 4

78611511A 007 9

78611622B 007 7

78810542A 012 4

78810931A 13A 9

78810931A 13B 9

78811041A 18A 11

78811041A 18E 1

78811151A

010 14

78811211A 13A 8 78811211A 13B 8 78811301A 017 5

78811641C 023 24

78811801A 029 19 78811841A 34A 8 78811871A 34A 25 79010151A 019 12

79111131B 32A 4 79111182A 34A 1 79111231B 034 18 79120572B 007 6

79710881A 004 1 79910241A 27C 21 79910241A 27D 11 79910491A 010 39 79912961A 002 20 79915001A 014 18 79915001A 015 18 79915011A 014 19 79915011A 015 19 79915061A 002 4 79915081A 22A 4 79915181B 014 26 79915181B 015 28 79915191B 014 27 79915191B 015 27 79915271A 22A 13 79915741B 010 61 79915881AA 025 4 79915921AA 34C 5 79916201AA 27C 15 79916201AA 27D 5

79920771C 010 62 79921602A 22A 3

CODE NO. TABLE POS.

79925121B 22A 12

79925941A 019 3

79940171A 010 40

800070139 01B 8

80011851B 031 15

80012362A 031 9

80012381C 031 5

80012393A 031 2

80012481B 031 16

80022372A 031 4 80810461A 28A 7

80811931AB 021 17 80811941AB 021 22

81110021A 010 15 81140012B 13A 21

81140012B 13B 21

81411111C 13A 32

81411111C 13B 28 81411881A 015 25 81412351B 13A 30

81413341A 13A 23

81413341A 13B 22 81415801A 036 16 81420051A 015 30 81441021A 036 5 81441041A 036 10 81510221A 016 5 81510281A 010 41 81510391A 016 15 81810162A 004 5 81910601BA 026 11 81910891AA 28A 13

82111701CA 025 9 82111701CA 27C 7 82112941A 014 17

82112941A 015 17 82112951A 014 15 82112951A 015 15 82113311A 025 1 82113471A 012 9 82113581A 22A 11 82113881A 002 13 82114731A 002 5 82114741AA 026 22

CODE NO. TABLE POS.

82114923AA 22A 6

82119351AA 27C 14

82119351AA 27D 4

82120151A 002 14

82412631BB 27C 19

82413131BB 27D 9

82422892AA 27D 1

82423341BA 27C 1

82610261A 002 16

82714821A 033 4

82715481A 016 8

82716031A 010 16

82716091A 011 17

82716351A 13A 22

82716351A 13B 18

82717471A 032 7

82717481A 032 8

82719021B 005 6

82719111A 34C 3

8271F191AA 036 2

8271F281AA 27A 5

82911901A 18C 4

8291A891A 024 29

8291A891A 24A 22

8291D182B 018 1

8291D391A 025 31

8291D511A 19A 1

8291D521B 18A 6

8291D653A 019 29

8291D723AB 022 10

8291D752D 34C 1

8291D761D 34C 2

8291D772AA 028 13

8291D803A 027 16

8291D813A 027 13

8291D863A 34C 6

8291D921A 018 20

8291D931A 018 19

8291E012A 033 13

8291E081AA 18C 11

8291E091AA 18C 3

8291E102A 18B 14

8291E111A 18B 15

8291F531B 032 11

ALPHANUMERIC INDEX SPARE PARTS CATALOGUE 26/06/2022 Page 173 / 180 MULTISTRADA V2 S TRAVEL USA /23 D21000023

CODE NO. TABLE POS.

8291H181A 018 45

8291L021AA 021 30

8291L031AA 021 31

83019171AA 34A 13

83019191AA 018 24

83019202A 018 8

83019212A 018 16

83019221A 028 7

83019381AA 027 11

83019392AA 027 10

83019431AA 34B 9

83019462AA 036 8

83019521AA 027 29

83019841AA 029 10

83019871AA 035 4

83019881AA 035 6

83019891AA 011 25

83019951A 033 11

8301A131AA 024 24

8301A951AA 030 8

8301A961AA 34B 24

8301A982AA 24A 14

8301F431AA 030 6

83040071A 021 32

83110151B 010 42

84010012A 014 1

84010012A 015 1

84010022A 014 1

84010022A 015 1

84010032A 014 1

84010032A 015 1

84010042A 014 1

84010042A 015 1

84010052A 014 1

84010052A 015 1

84010062A 014 1

84010062A 015 1

84010072A 014 1

84010072A 015 1

84010082A 014 1

84010082A 015 1

84010092A 014 1

84010092A 015 1

84010102A 014 1

CODE NO. TABLE POS.

84010102A 015 1

84010112A 014 1

84010112A 015 1

84010122A 014 1

84010122A 015 1

84010132A 014 1

84010132A 015 1

84010142A 014 1

84010142A 015 1

84010152A 014 1 84010152A 015 1 84010162A 014 1

84010162A 015 1 84010172A 014 1 84010172A 015 1 84010182A 014 1 84010182A 015 1 84010192A 014 1 84010192A 015 1 84010202A 014 1 84010202A 015 1 84010212A 014 1 84010212A 015 1 84010222A 014 1 84010222A 015 1 84010232A 014 1 84010232A 015 1 84010242A 014 1 84010242A 015 1 84010252A 014 1 84010252A 015 1 84010262A 014 1 84010262A 015 1 84010272A 014 1 84010272A 015 1 84010282A 014 1 84010282A 015 1 84010292A 014 1 84010292A 015 1 84010302A 014 1 84010302A 015 1 84010312A 014 1 84010312A 015 1 84010322A 014 1

CODE NO. TABLE POS.

84010322A 015 1

84010332A 014 1

84010332A 015 1 84010342A 014 1 84010342A 015 1 84010412B 014 2 84010412B 015 2 84010422B 014 2 84010422B 015 2 84010432B 014 2 84010432B 015 2 84010442B 014 2 84010442B 015 2 84010452B 014 2 84010452B 015 2 84010462B 014 2 84010462B 015 2 84010472B 014 2 84010472B 015 2 84010482B 014 2 84010482B 015 2 84010492B 014 2 84010492B 015 2 84010502B 014 2 84010502B 015 2 84010512B 014 2 84010512B 015 2 84010522B 014 2 84010522B 015 2 84010532B 014 2 84010532B 015 2 84010542B 014 2 84010542B 015 2 84010552B 014 2 84010552B 015 2 84010562B 014 2 84010562B 015 2 84010572B 014 2 84010572B 015 2 84010582B 014 2 84010582B 015 2 84010592B 014 2 84010592B 015 2 84010602B 014 2

CODE NO. TABLE POS.

84010602B 015 2

84010612B 014 2

84010612B 015 2 84010622B 014 2

84010622B 015 2

84010632B 014 2

84010632B 015 2 84010642B 014 2

84010642B 015 2

84010652B 014 2 84010652B 015 2

84010662B 014 2

84010662B 015 2

84010672B 014 2 84010672B 015 2 84010682B 014 2 84010682B 015 2

84010692B 014 2 84010692B 015 2 84010702B 014 2 84010702B 015 2

84010712B 014 2

84010712B 015 2

84010722A 014 1 84010722A 015 1

84010722B 014 2

84010722B 015 2 84010732A 014 1

84010732A 015 1

84010732B 014 2

84010732B 015 2

84010742B 014 2

84010742B 015 2

84010752B 014 2

84010752B 015 2

84010762B 014 2

84010762B 015 2

84010772B 014 2

84010772B 015 2

84010782B 014 2

84010782B 015 2

84010792B 014 2

84010792B 015 2

84010802B 014 2

ALPHANUMERIC INDEX MULTISTRADA V2 S TRAVEL USA /23 D21000023 Page 174 / 180 SPARE PARTS CATALOGUE 26/06/2022

CODE NO. TABLE POS.

84010802B 015 2

84010812B 014 2

84010812B 015 2

84010822B 014 2

84010822B 015 2

84010832B 014 2

84010832B 015 2

84010842B 014 2

84010842B 015 2

84010852B 014 2

84010852B 015 2

84010862B 014 2

84010862B 015 2

84010872B 014 2

84010872B 015 2

84011082A 014 1

84011082A 015 1

84011092A 014 1

84011092A 015 1

84011102A 014 1

84011102A 015 1

84011112A 014 1

84011112A 015 1

84011122A 014 1

84011122A 015 1

84011132A 014 1

84011132A 015 1

84011142A 014 1

84011142A 015 1

84740021A 27C 22

84740021A 27D 12

84740061A 010 43

84810371A 028 10

84820441A 34C 12

84850021A 27C 26

85010141A 34A 23

85013121A 031 14

85040381A 27A 8

85040381A 34C 14

85040471A 034 11

85040471A 27A 11

85040471A 34A 6

85040471A 34E 5

85040521A 27A 18

CODE NO. TABLE POS.

85040551A 019 33

85040551A 18C 2

85040551A 24A 20

85040551A 34B 2

85040671A 18B 8

85041021A 34A 22

85041711A 018 26 85041711A 18E 9

85042131A 017 10

85042242A 34A 26 85110041A 026 38 85110131A 008 14

85110201B 004 8

85140031A 006 12 85210011B 28A 8 85210021B 28A 8 85210031B 28A 8

85210532A 010 44 85211031AB 21B 11 85211201A 010 45 85211511A 025 3 85211511A 27C 12 85211561A 27C 13 85211561A 27D 3 85211721A 011 18 85211761A 018 13 85211911A 018 18 85211911A 35B 10 85211951A 016 11 85211961B 020 6 85211961B 032 4 85211961B 27A 2 85212181A 34A 4 85212181A 34E 4 85212221A 026 6 85212321A 025 35 85212511A 20A 7 85212691A 006 7 85212901A 019 41 85213021A 009 3 85213021A 010 46 85213101A 34C 11 85213601A 005 7 85213751AA 027 23

CODE NO. TABLE POS.

85213761A 18B 23

85214082A 010 68

85240081A 34B 23

85240171A 019 44

85240181A 24A 18

85240211A 18E 5

85240261A 13A 24 85240261A 13B 23

85241711A 018 29

85241711A 019 24 85241711A 20A 2

85250051A 10A 5 85250071A 029 22 85250211A 032 15 85250231A 014 28 85250231A 015 20 85250241A 005 13 85250241A 023 17 85250241A 024 4 85250241A 025 23 85250241A 24A 6 85250261B 014 11 85250261B 015 11 85250261B 24A 10 85250311A 019 17 85250311A 18A 7 85250311AB 34B 10 85250421A 010 47 85250421A 015 33 85250481A 011 19 85250631A 011 6 85250871A 011 30 85310021A 008 8 85310031A 10A 13 85350101A 012 19 85350101A 018 37 85350111A 21B 16 85550001B 18B 4 85550041A 27A 20 85610623A 008 19 85610642A 014 30 85610642A 015 34 85610743A 13A 4 85610743A 13B 4

CODE NO. TABLE POS.

85610751A 012 2

85611231A 003 19

85611261A 003 6

85611271A 34B 5

85611361A 034 15

85611391B 004 2

85611481A 010 48

85611911A 004 13

85640121A 019 14

85640141A 010 63

85640151A 034 7

86010051B 10A 12

86020011A 18E 13

86050061A 010 49

86050061A 014 24

86050061A 015 24

86610301B 34E 6

86610611A 033 3

86610751A 27A 16

86610751A 34C 16

86611001B 22A 10

86611091A 032 3

86611221A 18B 18

86611221C 34E 7

86611902A 018 10

86611931A 18A 8

86611951A 035 3

86611961A 035 5

86612111A 027 25

86612111A 34A 24

86612121A 034 2

86612131A 034 8

86612161A 034 3

86612211A 036 14

86640051A 24A 19

86640091A 032 16

87210081A 027 4

87210641A 18B 24

87211041A 018 33

87211051A 018 31

87211171A 022 8

87211182A 029 23

87211191A 029 24

87211681A 18B 6

ALPHANUMERIC INDEX SPARE PARTS CATALOGUE 26/06/2022 Page 175 / 180 MULTISTRADA V2 S TRAVEL USA /23 D21000023

CODE NO. TABLE POS.

87240441A 28A 20

87240561A 27C 23

87240561A 27D 13

87241051A 030 11

87310051A 13A 13

87310051A 13B 13

87310371A 10A 16

87311391AA 027 6

87511461B 010 50

87611291A 029 3

87611301A 19A 2

87611321A 19A 3

87611411A 19A 8

88110121A 002 18

88110341A 012 17

88111281A 031 3

88210031A 008 11

88210141A 003 7

88440061A 026 26

88440531A 010 51

88450341B 002 19

88450371A 009 4

88450371A 010 52

88450431A 011 20

88450711A 005 8

88610241A 10A 15

88610951A 011 28

88640331A 010 53

88640641A 27A 17

88640891A 029 5

88641031A 13A 31

88641061A 016 13

88641161A 025 11

88641161A 27C 11

88641321A 10A 9

88641731A 004 6

88641961A 010 36

88642231A 017 11

88642301A 005 10

88650131A 010 54

88650511A 13A 1

88650511A 13B 1

887005644 001 10

887005749 001 36

CODE NO. TABLE POS.

887130022 001 21

887130025

01B 12

887130031 001 14

887131010

887131058

887131059

01B 13

01B 7

01B 3

887131062 01B 9

887131074 01B 4

887131309 001 15

887131515

01B 6

887131749 001 22

887131806 001 16

887131821 001 19

887131832 001 29 887131906 001 33

887131994 001 4 887132011 001 17 887132068 001 34 887132096 001 2 887132103 001 3 887132442 001 9 887132651 001 11 887132695 001 24 887132870 001 13 887132877 001 12 887132906 001 6 887132913 001 35 887133219 001 8 887133220 01B 5 887133367 001 20 887133406 001 37 887133417 001 1 887133501 01B 10 887133526 01B 11 887133992 001 31 887134145 001 27 887134198 001 28 887134302 01B 2 887134411 001 23 887134488 01B 1 887134791 001 25 887135013 001 26

887651188 001 32 887651298 001 18

CODE NO. TABLE POS.

887651518 001 30

887651623 001 7

887651635 001 5

89310143A 031 11

89320062A 010 55

89320191A 005 9

89340111A 025 27

89340241A 023 11

89340251A 024 14

89420121F 10A 17

89510431B 032 12

8A0067610 031 17 91376471AR 033 8 91376471BG 033 8 91376471CA 033 8 91376471CS 033 8 91376471DA 033 8 91376471DE 033 8 91376471EL 033 8 91376471EN 033 8 91376471ES 033 8 91376471FI 033 8 91376471FR 033 8 91376471HR 033 8 91376471HU 033 8 91376471IT 033 8 91376471JA 033 8 91376471KO 033 8 91376471MX 033 8 91376471NL 033 8 91376471NO 033 8 91376471PL 033 8 91376471PT 033 8 91376471RO 033 8 91376471RU 033 8 91376471SK 033 8 91376471SL 033 8 91376471SV 033 8 91376471US 033 8 91376471ZH 033 8 91376491AR 033 8 91376491BG 033 8 91376491CA 033 8 91376491CS 033 8

CODE NO. TABLE POS.

91376491DA 033 8

91376491DE 033 8

91376491EL 033 8

91376491EN 033 8

91376491ES 033 8

91376491FI 033 8

91376491FR 033 8

91376491HR 033 8

91376491HU 033 8

91376491IT 033 8

91376491JA 033 8

91376491KO 033 8

91376491MX 033 8

91376491NL 033 8

91376491NO 033 8

91376491PL 033 8

91376491PT 033 8

91376491RO 033 8

91376491RU 033 8

91376491SK 033 8

91376491SL 033 8

91376491SV 033 8

91376491US 033 8

91376491ZH 033 8

92610051A 34B 6

92610321A 34A 3

93010041B 21B 5

93040211A 005 11

93040221A 010 56

93040932A 010 57

93041271A 010 2

93041271A 027 9

93041631B 010 58

93042191A 026 13

93042501A 026 18

93042691A 011 29

93050051A 011 21

93050062B 011 22

93050072A 13A 17

93050072A 13B 17

93310581A 025 21

93310691A 024 17

93310701A 023 15

93410111A 031 10

ALPHANUMERIC INDEX MULTISTRADA V2 S TRAVEL USA /23 D21000023 Page 176 / 180 SPARE PARTS CATALOGUE 26/06/2022

CODE

93410231A

93510441A

942470014

944650035

944650037

979000253

979000279

979000281

979000282

979000283

979000284

ALPHANUMERIC INDEX SPARE PARTS CATALOGUE 26/06/2022 Page 177 / 180 MULTISTRADA V2 S TRAVEL USA /23 D21000023
NO. TABLE POS.
031 19
036 28
10A 1
L 1
L 2
01C 2
01C 1
01C 6
01C 3
01C 4
01C 5
ALPHANUMERIC INDEX MULTISTRADA V2 S TRAVEL USA /23 D21000023 Page 178 / 180 SPARE PARTS CATALOGUE 26/06/2022
Ducati Motor Holding S.p.A. Uffici Commerciali Amministrativi: Via A. Cavalieri Ducati n. 3 40132 Bologna, Italy Telefono 051 6413111 Fax 051 406580 Internet www.ducati.com

Turn static files into dynamic content formats.

Create a flipbook
Issuu converts static files into: digital portfolios, online yearbooks, online catalogs, digital photo albums and more. Sign up and create your flipbook.