Ducati Omaha 2024 OEM Ducati Multistrada V2S Travel Parts Diagram Parts Fiche

Page 1

MULTISTRADA V2 S TRAVEL USA Model Year 2024 Chassis prefix: Cylinder capacity: 937 D21000024 SPARE PARTS CATALOGUE en-US MULTISTRADA

The present spare parts order exactly the right spare parts.

When ordering specify:

1. the part's code number followed by its description and quantity needed;

2. the motorcycle's serial number, stamped on the steering head.

Reference to right and left apply to the vehicle in terms of its direction of move-ment.

Spare parts drawings are general and do not represent the part.

The contents of this catalogue are general and can undergo changes without prior notice.

CHARACTERISTICS LEGENDA

GENERAL INFORMATION SPARE PARTS CATALOGUE 25/12/2023 Page 3 / 190 MULTISTRADA V2 S TRAVEL USA /24 D21000024
CHARACTERISTIC CODE CHARACTERISTIC DESCRIPTION VALUE CODE VALUE DESCRIPTION CPT PART CAR STD MOTO STANDARD DFR DFR N NO MOD MODEL MS960ST Multistrada V2 S Travel PLT PLANT DB10 DMH XCO MAIN CLR R Ducati Red XCO MAIN CLR TBST THRILLING BLACK AND STREET GRE XCR FR/W COL GBGPR GLOSSY BLACK FRAME WITH GP19 R XCR FR/W COL GBR glossy black FRAME WITH black/ XPO OPTIONS OML OMOLOGATO XST STD CNTY CAL VERSIONE CALIFORNIA XST STD CNTY CDN VERSIONE CANADA

COLOUR COLOUR CODE COLOUR DESCRIPTION FINISHED PRODUCTS

R Ducati Red (D21046424) MS960ST 24 CAL R GBR STD OML DMH (D21046524) MS960ST 24 CDN R GBR STD OML DMH

TBST THRILLING BLACK AND STREET GRE (D21054624) MS960ST 24 CAL TBST GBGPR STD OML DMH (D21054724) MS960ST 24 CDN TBST GBGPR STD OML DMH

COLOURS MULTISTRADA V2 S TRAVEL USA /24 D21000024 Page 4 / 190 SPARE PARTS CATALOGUE 25/12/2023
INDEX SPARE PARTS CATALOGUE 25/12/2023 Page 5 / 190 MULTISTRADA V2 S TRAVEL USA /24 D21000024 General information.................................................................................................................................................................................................................................................................................... 3 Colours.........................................................................................................................................................................................................................................................................................................4 Group ELECTRIC 8 Drawing 018 - BATTERY HOLDER...........................................................................................................................................................................................................................................................8 Drawing 020 - HEADLIGHT.................................................................................................................................................................................................................................................................. 12 Drawing 18A - ENGINE CONTROL UNIT.............................................................................................................................................................................................................................................. 14 Drawing 18B - WIRING HARNESS........................................................................................................................................................................................................................................................16 Drawing 18C - WIRING HARNESS (COIL) 18 Drawing 18E - FRONT WIRING HARNESS............................................................................................................................................................................................................................................20 Drawing 20A - TAILLIGHT.....................................................................................................................................................................................................................................................................22 Drawing 20B - INSTRUMENT PANEL....................................................................................................................................................................................................................................................24 Drawing 27A - PLATE HOLDER.............................................................................................................................................................................................................................................................26 Group OIL.................................................................................................................................................................................................................................................................................................. 28 Drawing L - SHELL ADVANCE...............................................................................................................................................................................................................................................................28 Group ENGINE........................................................................................................................................................................................................................................................................................... 30 Drawing 002 - GEAR CHANGE MECHANISM....................................................................................................................................................................................................................................... 30 Drawing 003 - GEAR BOX.................................................................................................................................................................................................................................................................... 32 Drawing 004 - CLUTCH........................................................................................................................................................................................................................................................................ 34 Drawing 005 - CLUTCH COVER............................................................................................................................................................................................................................................................ 36 Drawing 006 - CONNECTING RODS.....................................................................................................................................................................................................................................................38 Drawing 007 - CYLINDERS - PISTONS.................................................................................................................................................................................................................................................. 40 Drawing 008 - TIMING SYSTEM 42 Drawing 009 - OIL PUMP - FILTER.......................................................................................................................................................................................................................................................44 Drawing 010 - HALF-CRANKCASES PAIR.............................................................................................................................................................................................................................................. 46 Drawing 011 - GENERATOR COVER..................................................................................................................................................................................................................................................... 50 Drawing 012 - ELECTRIC STARTING AND IGNITION............................................................................................................................................................................................................................ 52 Drawing 014 - VERTICAL CYLINDER HEAD 54 Drawing 015 - HORIZONTAL CYLINDER HEAD.....................................................................................................................................................................................................................................62 Drawing 016 - OIL COOLER................................................................................................................................................................................................................................................................. 70
INDEX MULTISTRADA V2 S TRAVEL USA /24 D21000024 Page 6 / 190 SPARE PARTS CATALOGUE 25/12/2023 Drawing 017 - THROTTLE BODY.......................................................................................................................................................................................................................................................... 72 Drawing 10A - HALF-CRANKCASES PAIR..............................................................................................................................................................................................................................................74 Drawing 13A - VERTICAL CYLINDER HEAD - TIMING.......................................................................................................................................................................................................................... 76 Drawing 13B - HORIZONTAL HEAD – TIMING SYSTEM....................................................................................................................................................................................................................... 78 Group TOOLS............................................................................................................................................................................................................................................................................................. 80 Drawing 001 - WORKSHOP SERVICE TOOLS 80 Drawing 01B - WORKSHOP SERVICE TOOLS........................................................................................................................................................................................................................................84 Drawing 01C - CHECK INTRUMENT DDS............................................................................................................................................................................................................................................. 86 Group TYRES..............................................................................................................................................................................................................................................................................................88 Drawing A2 - TYRES.............................................................................................................................................................................................................................................................................88 Drawing B2 - (*) PIRELLI SCORPION™ TRAIL II 90 Drawing C2 - PIRELLI SCORPION™ RALLY............................................................................................................................................................................................................................................92 Drawing C4 - PIRELLI SCORPION™ TRAIL II......................................................................................................................................................................................................................................... 94 Drawing D2 - SCORPION™ RALLY STR................................................................................................................................................................................................................................................. 96 Drawing S - PIRELLI ANGEL™ GT II......................................................................................................................................................................................................................................................98 Group FRAME.......................................................................................................................................................................................................................................................................................... 100 Drawing 019 - EXHAUST SYSTEM...................................................................................................................................................................................................................................................... 100 Drawing 021 - HANDLEBAR............................................................................................................................................................................................................................................................... 104 Drawing 022 - FRAME....................................................................................................................................................................................................................................................................... 106 Drawing 023 - CLUTCH MASTER CYLINDER.......................................................................................................................................................................................................................................108 Drawing 024 - FRONT BRAKE SYSTEM.............................................................................................................................................................................................................................................. 110 Drawing 025 - REAR BRAKING SYSTEM.............................................................................................................................................................................................................................................112 Drawing 026 - WHEELS......................................................................................................................................................................................................................................................................114 Drawing 027 - REAR FRAME COMP...................................................................................................................................................................................................................................................118 Drawing 028 - REAR SHOCK ABSORBER 120 Drawing 029 - INTAKE........................................................................................................................................................................................................................................................................122 Drawing 030 - WATER COOLER......................................................................................................................................................................................................................................................... 124 Drawing 031 - COOLING CIRCUIT......................................................................................................................................................................................................................................................126 Drawing 032 - FUEL TANK................................................................................................................................................................................................................................................................. 128 Drawing 033 - SEAT 130
INDEX SPARE PARTS CATALOGUE 25/12/2023 Page 7 / 190 MULTISTRADA V2 S TRAVEL USA /24 D21000024 Drawing 034 - COWLING [XCO:R]......................................................................................................................................................................................................................................................134 Drawing 034 - COWLING [XCO:TBST]................................................................................................................................................................................................................................................136 Drawing 035 - SIDE PANNIERS...........................................................................................................................................................................................................................................................138 Drawing 036 - CANISTER FILTER........................................................................................................................................................................................................................................................140 Drawing 037 - LABEL, WARNING.......................................................................................................................................................................................................................................................142 Drawing 19A - SECONDARY AIR SYSTEM 144 Drawing 21A - FRONT FORK..............................................................................................................................................................................................................................................................146 Drawing 21B - STEERING HEAD BASE ASSEMBLY..............................................................................................................................................................................................................................148 Drawing 22A - SIDE STAND................................................................................................................................................................................................................................................................150 Drawing 24A - BRAKING SYSTEM ABS...............................................................................................................................................................................................................................................152 Drawing 27C - FOOTRESTS, LEFT 154 Drawing 27D - FOOTRESTS, RIGHT....................................................................................................................................................................................................................................................156 Drawing 28A - SWING ARM.............................................................................................................................................................................................................................................................. 158 Drawing 32A - FUEL PUMP............................................................................................................................................................................................................................................................... 160 Drawing 34A - FAIRING [XCO:R]........................................................................................................................................................................................................................................................ 162 Drawing 34A - FAIRING [XCO:TBST].................................................................................................................................................................................................................................................. 164 Drawing 34B - FAIRING......................................................................................................................................................................................................................................................................166 Drawing 34C - WINDSHIELD.............................................................................................................................................................................................................................................................. 168 Drawing 34E - SIDE BODY PANELS [XCO:R].......................................................................................................................................................................................................................................170 Drawing 34E - SIDE BODY PANELS [XCO:TBST]................................................................................................................................................................................................................................. 172 Drawing 35A - LEFT PANNIER............................................................................................................................................................................................................................................................174 Drawing 35B - RIGHT PANNIER......................................................................................................................................................................................................................................................... 176 Alphanumeric index.................................................................................................................................................................................................................................................................................178
DRAWING 018 - BATTERY HOLDER GROUP ELECTRIC MULTISTRADA V2 S TRAVEL USA /24 D21000024 Page 8 / 190 SPARE PARTS CATALOGUE 25/12/2023
DRAWING 018 - BATTERY HOLDER GROUP ELECTRIC SPARE PARTS CATALOGUE 25/12/2023 Page 9 / 190 MULTISTRADA V2 S TRAVEL USA /24 D21000024 POS. CODE DESCRIPTION QTY VALIDITY NOTES 1 8291D182B BATTERY HOLDER 1 2 54040331A VOLTAGE REGULATOR 1 3 38511473A BLACKBOX UNIT 1 38511483A BLACKBOX UNIT 1 38511581A BLACKBOX UNIT 1 38511591A BLACKBOX UNIT 1 4 38540073B PIATTAFORMA INERZIALE 1 5 77210971B SCREW 2 6 71610061A SPACER 2 7 77214411AA SCREW TCEIF M5X9 1 8 83019202A BRACKET, BATTERY BAND 1 9 74910021A NUT, CAP M6 2 10 86611902A BATTERY CARPET 1 11 77240463C VITE TBEIF 2 12 74941333B NUT 4 13 85211761A WASHER 6.4X12.5X1.6 2 14 70010853A BRACKET 1 15 69926751A BATTERY 1 16 83019212A BRACKET, FUSE BOX 1 17 77440171A SCREW, TAPPING 5 18 85211911A WASHER 6.4X16X1.5 4 19 8291D931A BRACKET, RELAY 1 20 8291D921A BRACKET, CONNECTOR 1 21 70040251A VIBRATION DAMPER 2 22 76411361A VIBRATION DAMPER PAD 4 23 75840161A FAIRLEAD 2 24 83019191AA BRACKET 1 25 77240423C SCREW 2 26 85041711A HOSE GUIDE 4 27 77440141A SCREW, TAPPING 4X8 WN1412 4 28 4601C741A GUARD 1 29 85241711A WASHER 2 30 77156628B SCREW TCEIF M6X10 1 31 87211051A PLUG 1 32 39740081B STARTER RELAY 1
DRAWING 018 - BATTERY HOLDER GROUP ELECTRIC MULTISTRADA V2 S TRAVEL USA /24 D21000024 Page 10 / 190 SPARE PARTS CATALOGUE 25/12/2023
- BATTERY HOLDER
ELECTRIC SPARE PARTS CATALOGUE 25/12/2023 Page 11 / 190 MULTISTRADA V2 S TRAVEL USA /24 D21000024 POS. CODE DESCRIPTION QTY VALIDITY NOTES 33 87211041A PLUG, RH 1 34 51310302C BATTERY - ENGINE GROUNDING CABLE 1 35 51410761D CABLE 1 36 38940231A FUSE 30A 3 37 85350101A WASHER, SPRING 1 38 77440061A SCREW, TAPPING 4 39 4601D221BA BATTERY MOUNT HEAT GUARD 1 40 75840841A FAIRLEAD 1 41 4601D451A BATTERY MOUNT HEAT GUARD 1 42 4601D461A BATTERY MOUNT HEAT GUARD 1 43 4601D441A BATTERY MOUNT HEAT GUARD 1 44 4601D471A BATTERY MOUNT HEAT GUARD 1 45 8291H181A HOLDER 1
DRAWING 018
GROUP
DRAWING 020 - HEADLIGHT GROUP ELECTRIC MULTISTRADA V2 S TRAVEL USA /24 D21000024 Page 12 / 190 SPARE PARTS CATALOGUE 25/12/2023
HEADLIGHT GROUP ELECTRIC SPARE PARTS CATALOGUE 25/12/2023 Page 13 / 190 MULTISTRADA V2 S TRAVEL USA /24 D21000024 POS. CODE DESCRIPTION QTY VALIDITY NOTES 1 52010312C HEADLIGHT FRONT 1 2 76411331A RUBBER PAD 1 3 77214061AA SCREW, SPECIAL 4 4 71611641AA SPACER 4 5 76410241A VIBRATION DAMPER PAD 6 6 85211961B WASHER 6.4X25X1.5 2
DRAWING 020 -
DRAWING 18A - ENGINE CONTROL UNIT GROUP ELECTRIC MULTISTRADA V2 S TRAVEL USA /24 D21000024 Page 14 / 190 SPARE PARTS CATALOGUE 25/12/2023
DRAWING 18A - ENGINE CONTROL UNIT GROUP ELECTRIC SPARE PARTS CATALOGUE 25/12/2023 Page 15 / 190 MULTISTRADA V2 S TRAVEL USA /24 D21000024 POS. CODE DESCRIPTION QTY VALIDITY NOTES 1 28643291C ENGINE CONTROL UNIT 1 2 55243161B SENSOR, PRESSURE 2 3 59014541A PIPE 1 4 59014551A PIPE 1 5 74141711A CLAMP 10-7 MM 2 6 8291D521B MOUNT RUBBER 2 7 85250311A WASHER 2 8 86611931A BRACKET 1 9 55240121A SENSOR, AIR TEMPERATURE 1 10 77440183C SCREW 2 11 78811041A GASKET, COOLING WATER SENSOR 1 12 77440321A SCREW, TAPPING 2 13 74142251A CLAMP 2
DRAWING 18B - WIRING HARNESS GROUP ELECTRIC MULTISTRADA V2 S TRAVEL USA /24 D21000024 Page 16 / 190 SPARE PARTS CATALOGUE 25/12/2023
18B - WIRING HARNESS
ELECTRIC SPARE PARTS CATALOGUE 25/12/2023 Page 17 / 190 MULTISTRADA V2 S TRAVEL USA /24 D21000024 POS. CODE DESCRIPTION QTY VALIDITY NOTES 1 5101G703C MAIN WIRING HARNESS 1 2 54140101A RELAY 4 3 38940191A FUSE 5A 2 38940201A FUSE 10A 3 38940211A FUSE 15A 2 38940221A FUSE 20A 1 38940241A FUSE 7,5A 2 38940261A FUSE 25A 3 4 85550001B SPRING WASHER 1 5 77211061A SCREW TEF M6X14 1 6 87211681A CAP DDA 1 7 5101A262A ELECTRIC WIRING 1 8 85040671A CLAMP TUCKER 5 9 74110121A CLAMP, RUBBER 62MM 10 10 74110131A CLAMP, RUBBER 82MM 2 11 069191030 CLAMP 38 12 74110551A CLAMP, RUBBER 39MM 21 13 74140381A CLAMP 31 14 8291E102A BRACKET, CONNECTOR 1 15 8291E111A BRACKET, CONNECTOR 1 16 5101A252A REAR WIRING 1 17 5101B164A INJECTION WIRING 1 18 86611221A VIBRATION DAMPER 1 19 38640591A SOCKET, LOW VOLTAGE 1 20 76412261A HOLDER 1 21 38640132A SOCKET, LOW VOLTAGE 1 22 71319331A SPACER 1 23 85213761A WASHER 2 24 87210641A CAP, CONNECTOR 1 25 38620061A 2 26 38620081A 1
DRAWING
GROUP
DRAWING 18C - WIRING HARNESS (COIL) GROUP ELECTRIC MULTISTRADA V2 S TRAVEL USA /24 D21000024 Page 18 / 190 SPARE PARTS CATALOGUE 25/12/2023
DRAWING 18C - WIRING HARNESS (COIL)
ELECTRIC SPARE PARTS CATALOGUE 25/12/2023 Page 19 / 190 MULTISTRADA V2 S TRAVEL USA /24 D21000024 POS. CODE DESCRIPTION QTY VALIDITY NOTES 1 67040451A SPARK PLUG NGK MAR9A-J 2 2 85044691A QUICK FASTENING 2 3 8291E091AA BRACKET, COIL 1 4 82911901A MOUNT RUBBER 1 5 71611641AA SPACER 4 6 77354743B SCREW TCEIR M5X20 DIN6912 8.8 4 7 67110671E SPARK PLUG CABLE, HORIZONTAL HEAD 1 8 76410241A VIBRATION DAMPER PAD 4 9 67110691D SPARK PLUG CABLE, VERTICAL HEAD 1 10 74810361A NUT 2 11 8291E081AA BRACKET, COIL 1 12 77156698B SCREW TCEIF M6X25 4 13 38040251A IGNITION COIL 2
GROUP
DRAWING 18E - FRONT WIRING HARNESS GROUP ELECTRIC MULTISTRADA V2 S TRAVEL USA /24 D21000024 Page 20 / 190 SPARE PARTS CATALOGUE 25/12/2023
18E - FRONT WIRING HARNESS
ELECTRIC SPARE PARTS CATALOGUE 25/12/2023 Page 21 / 190 MULTISTRADA V2 S TRAVEL USA /24 D21000024 POS. CODE DESCRIPTION QTY VALIDITY NOTES 1 78811041A GASKET, COOLING WATER SENSOR 1 2 77440183C SCREW 2 3 55240121A SENSOR, AIR TEMPERATURE 1 4 51840251A ANTENNA IMMOBILIZER 1 5 85240211A WASHER 4.7X10X1 4 6 77440251A SCREW 2 7 38640132A SOCKET, LOW VOLTAGE 1 8 77440141A SCREW, TAPPING 4X8 WN1412 1 9 85041711A HOSE GUIDE 1 10 59821961A LOCK KIT 1 11 7791A821AA SCREW, SPECIAL 2 13 86020011A KIT SPINE 1 14 59821971N KIT HANDS FREE 434 MHZ 1 59821981R KIT HANDS FREE 434 MHZ 1 15 59810371C 1 16 59810361L 1 17 59840511A INSERT 1 18 59840521A INSERT 1 19 76414551A RUBBER PAD 1 20 4601L831A COVER 1
DRAWING
GROUP
DRAWING 20A - TAILLIGHT GROUP ELECTRIC MULTISTRADA V2 S TRAVEL USA /24 D21000024 Page 22 / 190 SPARE PARTS CATALOGUE 25/12/2023
20A - TAILLIGHT GROUP ELECTRIC SPARE PARTS CATALOGUE 25/12/2023 Page 23 / 190 MULTISTRADA V2 S TRAVEL USA /24 D21000024 POS. CODE DESCRIPTION QTY VALIDITY NOTES 1 77440041A SCREW, TAPPING M5X16 3 2 85241711A WASHER 3 3 76410241A VIBRATION DAMPER PAD 3 4 52510523B TAILLIGHT 1 5 77240133C SCREW TBEIF M4X12 2 6 52510433D LAMP, LICENSE PLATE 1 7 85212511A WASHER 4.5X9X0.5 2 8 53010226A FLASHER LIGHT FRONT LH - REAR RH 1 9 7131A923A SPACER, FLASHER LIGHT 2 10 77156398B SCREW TCEIF M5X12 2 11 53010236A FLASHER LIGHT FRONT RH- REAR LH 1 12 39040211A BULB 2
DRAWING
DRAWING 20B - INSTRUMENT PANEL GROUP ELECTRIC MULTISTRADA V2 S TRAVEL USA /24 D21000024 Page 24 / 190 SPARE PARTS CATALOGUE 25/12/2023
INSTRUMENT
ELECTRIC SPARE PARTS CATALOGUE 25/12/2023 Page 25 / 190 MULTISTRADA V2 S TRAVEL USA /24 D21000024 POS. CODE DESCRIPTION QTY VALIDITY NOTES 1 40611963B INSTRUMENT PANEL 1 40611964A INSTRUMENT PANEL 1 40611972B INSTRUMENT PANEL 1 40611973A INSTRUMENT PANEL 1 2 70010901A VIBRATION DAMPER 3 3 74841091AA NUT 3
DRAWING 20B -
PANEL GROUP
DRAWING 27A - PLATE HOLDER GROUP ELECTRIC MULTISTRADA V2 S TRAVEL USA /24 D21000024 Page 26 / 190 SPARE PARTS CATALOGUE 25/12/2023
27A - PLATE HOLDER GROUP ELECTRIC SPARE PARTS CATALOGUE 25/12/2023 Page 27 / 190 MULTISTRADA V2 S TRAVEL USA /24 D21000024 POS. CODE DESCRIPTION QTY VALIDITY NOTES 1 77240403C SCREW TBEIF M6X12 6 2 85211961B WASHER 6.4X25X1.5 4 3 75840801A CLAMP 1 4 71611071AB SPACER 2 5 8271F281AA PLATE 1 6 24714984A COVER, LICENSE PLATE HOLDER 1 7 52910101A REFLEX REFLECTOR, REAR 3 8 85040381A QUICK FASTENING 3 9 56110271A NUMBER PLATE HOLDER 1 10 77240438C SCREW TBEIF M6X18 3 11 85040471A QUICK FASTENING M5 6 12 77240263C SCREW 6 13 75840901A FAIRLEAD 1 14 76412041A RUBBER PAD 4 15 56113253A PLATE HOLDER 1 16 86610751A PAD 2 17 88640641A O-RING 2.5X6 6 18 85040521A CLIP 6 19 4601E281A GUARD 1 20 85550041A TOOTHED LOCK WASHER 2
DRAWING
DRAWING L - SHELL ADVANCE GROUP OIL MULTISTRADA V2 S TRAVEL USA /24 D21000024 Page 28 / 190 SPARE PARTS CATALOGUE 25/12/2023
L - SHELL ADVANCE GROUP OIL SPARE PARTS CATALOGUE 25/12/2023 Page 29 / 190 MULTISTRADA V2 S TRAVEL USA /24 D21000024 POS. CODE DESCRIPTION QTY VALIDITY NOTES 1 944650035 SHELL ADVANCE DUCATI 15W50 - 1L BOTTLE 1 2 944650037 SHELL ADVANCE DUCATI 15W50 – 209L DRUM 1
DRAWING
DRAWING 002 - GEAR CHANGE MECHANISM GROUP ENGINE MULTISTRADA V2 S TRAVEL USA /24 D21000024 Page 30 / 190 SPARE PARTS CATALOGUE 25/12/2023
SPARE PARTS CATALOGUE 25/12/2023 Page 31 / 190 MULTISTRADA V2 S TRAVEL USA /24 D21000024 POS. CODE DESCRIPTION QTY VALIDITY NOTES 1 77151250ZF SCREW 1 2 71319151A SPACER 1 3 77150670ZF SCREW 1 4 79915061A SPRING, SHIFT RETURN 1 5 82114731A GEAR SELECTOR SHAFT 1 6 18020511A CONTROL FORK 1 7 71950538C SCREW 1 8 18210781A FLANGE 1 9 18220772A COMPLETE GEARBOX DRUM 1 10 55243911A MAGNETE 1 11 180Z0031A GEAR SELECTOR FORK,1ST/4TH-2ND/3RD 2 12 180Z0041A FORK-SHIFT, 5TH&6TH 1 13 82113881A FORK PIN 2 14 82120151A CONTROL FORK 1 15 735001542 CIRCLIP 15 DIN 471 1 16 82610261A STOPPER PLATE 1 17 040029126 THRUST WASHER 15.5X22X0.5 1 18 88110121A CENTERING RING 1 19 88450341B SPRING RING 1 20 79912961A RETURN SPRING 1 21 040009050 THRUST WASHER 10.5X16X0.5 1
DRAWING 002 - GEAR CHANGE MECHANISM GROUP ENGINE
DRAWING 003 - GEAR BOX GROUP ENGINE MULTISTRADA V2 S TRAVEL USA /24 D21000024 Page 32 / 190 SPARE PARTS CATALOGUE 25/12/2023
DRAWING 003 - GEAR BOX GROUP ENGINE SPARE PARTS CATALOGUE 25/12/2023 Page 33 / 190 MULTISTRADA V2 S TRAVEL USA /24 D21000024 POS. CODE DESCRIPTION QTY VALIDITY NOTES 1 71313931A SPACER, ENGINE SPROCKET 1 2 14911101A GEARBOX MAIN SHAFT 1 3 15021962B COMPLETE MAIN SHAFT 1 4 70140053A NEEDLE CAGE 5 5 17214961B GEAR DRIVE 5TH SPEED T23 1 6 85611261A THRUST WASHER 0.5 MM 6 7 88210141A SPRING RING 6 8 17214951B GEAR DRIVE 3/4TH SPEED T20/22 1 9 17214971B GEAR DRIVE 6TH SPEEDTt24 1 10 17210021B GEAR, 2ND DRIVE, NT:17 1 11 71310141E THRUST WASHER 20.3X32X1.6 1 12 14911191A LAY SHAFT 1 13 17212192A DRIVEN GEAR 2ND SPEED T30 1 14 46320537A O-RING 1 15 71312661A THRUST WASHER 17.3X31X3.15 1 16 15021971A COMPLETE LAY SHAFT 1 17 70140211A BEARING, NEEDLE 1 18 17212182A DRIVEN GEAR 1ST SPEED T37 1 19 85611231A THRUST WASHER 1 MM 1 20 17210103C DRIVEN GEAR 5TH SPEED T24 1 21 17214621A DRIVEN GEAR 4TH SPEED T:24 1 22 17210081C DRIVEN GEAR 3RD SPEED T28 1 23 17210113C DRIVEN GEAR 6TH SPEED T23 1
DRAWING 004 - CLUTCH GROUP ENGINE MULTISTRADA V2 S TRAVEL USA /24 D21000024 Page 34 / 190 SPARE PARTS CATALOGUE 25/12/2023
DRAWING 004 - CLUTCH GROUP ENGINE SPARE PARTS CATALOGUE 25/12/2023 Page 35 / 190 MULTISTRADA V2 S TRAVEL USA /24 D21000024 POS. CODE DESCRIPTION QTY VALIDITY NOTES 1 79710881A SPRING 3 2 85611391B THRUST WASHER 3 3 77215251A SCREW 3 4 19410751A RING 1 5 81810162A CLUTCH CONTROL PIN 1 6 88641731A O-RING 1.78X4.76 2 7 75010783A NUT 1 8 85110201B LOCK WASHER 1 9 19020591A CLUTCH DISC SET 1 10 70250861A BEARING 1 11 19611021A DISK, CLUTCH PRESSURE 1 12 19611011A PLATE HOLDER HUB 1 13 85611911A SPACER 1 14 19820661A PRIMARY DRIVEN GEAR COMP. 1 15 71314831B SPACER 1 16 11723691A CLUTCH CONTROL ROD 1 17 17011751A PRIMARY DRIVE FRONT SPROCKET 1
DRAWING 005 - CLUTCH COVER GROUP ENGINE MULTISTRADA V2 S TRAVEL USA /24 D21000024 Page 36 / 190 SPARE PARTS CATALOGUE 25/12/2023
DRAWING 005 - CLUTCH COVER GROUP ENGINE SPARE PARTS CATALOGUE 25/12/2023 Page 37 / 190 MULTISTRADA V2 S TRAVEL USA /24 D21000024 POS. CODE DESCRIPTION QTY VALIDITY NOTES 1 24311691A5 CLUTCH COVER 1 2 066549680 BUSH 1 3 25440014A WINDOW, OIL LEVEL CHECK 1 4 48612611A DAMPER, SOUND ARRESTER 1 5 77510721A SCREW 6 6 82719021B SHEET ACOUSTIC DAMPER 1 7 85213601A WASHER, THRUST 1 8 88450711A SPRING RING 1 9 89320191A PLUG ASSY 1 10 88642302A O-RING 1 11 93040211A OIL SEAL 1 12 78011281A PLUG, THREADED M10X1 1 13 85250241A WASHER 10X14X1 1 14 77942032A SCREW 9 15 43313912A WARNING LABEL 1 16 77916041DA SCREW, SPECIAL 1
DRAWING 006 - CONNECTING RODS GROUP ENGINE MULTISTRADA V2 S TRAVEL USA /24 D21000024 Page 38 / 190 SPARE PARTS CATALOGUE 25/12/2023
006 - CONNECTING RODS
SPARE PARTS CATALOGUE 25/12/2023 Page 39 / 190 MULTISTRADA V2 S TRAVEL USA /24 D21000024 POS. CODE DESCRIPTION QTY VALIDITY NOTES 1 14622162CA DRIVE SHAFT COMPLETO 1 14622162CB DRIVE SHAFT COMPLETO 1 14622162CC DRIVE SHAFT COMPLETO 1 14622162CE DRIVE SHAFT COMPLETO 1 2 77911092A SCREW, SPECIAL 1 3 78010161B THREADED PLUG 1 4 77915471A THREADED DOWEL STEI M8X8 2 5 15622261BA CONNECTING ROD 2 15622261BB CONNECTING ROD 2 15622261BC CONNECTING ROD 2 15622261BE CONNECTING ROD 2 6 75011131A RING NUT 1 7 85212691A WASHER 1 8 11210121AA PLANE BEARING, CONNECTING ROD RED 4 11210121AB PLANE BEARING, CONNECTING ROD BLUE 4 11210121AC PLANE BEARING, CONNECTING ROD YELLOW 4 11210121AE PLANE BEARING, CONNECTING ROD GREEN 4 11210122AD PLANE BEARING, CONNECTING ROD BLACK 4 9 77914045B BOLT, CONNECTING ROD 4 10 68010131A KEY, WOODRUFF 4X5X10 2 11 75010121D NUT, SPECIAL 1 12 85140031A WASHER, LOCK 1
DRAWING
GROUP ENGINE
DRAWING 007 - CYLINDERS - PISTONS GROUP ENGINE MULTISTRADA V2 S TRAVEL USA /24 D21000024 Page 40 / 190 SPARE PARTS CATALOGUE 25/12/2023
- PISTONS
SPARE PARTS CATALOGUE 25/12/2023 Page 41 / 190 MULTISTRADA V2 S TRAVEL USA /24 D21000024 POS. CODE DESCRIPTION QTY VALIDITY NOTES 1 12222262G PISTON ASSY 2 12222262GA PISTON ASSY 2 12222262GB PISTON ASSY 2 12222262GC PISTON ASSY 2 2 12110791A CIRCLIP, PISTON PIN 4 3 12110781C PISTON PIN 2 4 12120822A PISTON RING SET 2 5 120P3121AI CYLINDER-PISTON FIT HORIZONTAL 1 6 79120572B GASKETS SET 1 7 78611622B GASKET, CYLINDER HEAD 2 8 71112191A PIN DOWEL 4 9 78611511A GASKET, CYLINDER 2
120P3131AI CYLINDER-PISTON FIT VERTICAL 1
DRAWING 007 - CYLINDERS
GROUP ENGINE
10
DRAWING 008 - TIMING SYSTEM GROUP ENGINE MULTISTRADA V2 S TRAVEL USA /24 D21000024 Page 42 / 190 SPARE PARTS CATALOGUE 25/12/2023
DRAWING 008 - TIMING SYSTEM GROUP ENGINE SPARE PARTS CATALOGUE 25/12/2023 Page 43 / 190 MULTISTRADA V2 S TRAVEL USA /24 D21000024 POS. CODE DESCRIPTION QTY VALIDITY NOTES 1 24511271A VERTICAL BELT OUTER COVER UPPER 1 2 24511431A HORIZONTAL BELT EXTERNAL COVER 1 3 14710811A LAYSHAFT TIMING 1 4 45120311C COMPLETE MOVABLE TENSIONER ROLLER 2 5 73740251B TIMING BELT 2 6 77113801A SCREW 13 7 74940081A NUT M8 4 8 85310021A SPRING WASHER 8 MM 4 9 45120321B TENSIONER TIMING BELT FIXED 2 10 24511281A VERTICAL BELT OUTER COVER BOTTOM 1 11 88210031A SNAP RING 1 12 70350062A ELASTIC-STOP RING NUT 1 13 17122421A TIMING GEARS SET 1 14 85110131A WASHER, LOCK 1 15 75011601A NUT M14X1X7 1 16 68010131A KEY, WOODRUFF 4X5X10 3 17 71611281A SPACER 1 18 25510104B PULLEY, TIMING BELT 2 19 85610623A WASHER, BELT PULLEY 1 20 71610722A SPACER 1 21 24521071A BRACKET, FILTER 1 22 77250341C SCREW 2
DRAWING 009 - OIL PUMP - FILTER GROUP ENGINE MULTISTRADA V2 S TRAVEL USA /24 D21000024 Page 44 / 190 SPARE PARTS CATALOGUE 25/12/2023
009 - OIL PUMP - FILTER GROUP ENGINE SPARE PARTS CATALOGUE 25/12/2023 Page 45 / 190 MULTISTRADA V2 S TRAVEL USA /24 D21000024 POS. CODE DESCRIPTION QTY VALIDITY NOTES 1 17410621B GEAR, OIL PUMP DRIVE 1 2 70450091A ROLLER 1 3 85213021A WASHER, THRUST 1 4 88450371A SNAP RING 1
DRAWING
DRAWING 010 - HALF-CRANKCASES PAIR GROUP ENGINE MULTISTRADA V2 S TRAVEL USA /24 D21000024 Page 46 / 190 SPARE PARTS CATALOGUE 25/12/2023
010 - HALF-CRANKCASES PAIR
SPARE PARTS CATALOGUE 25/12/2023 Page 47 / 190 MULTISTRADA V2 S TRAVEL USA /24 D21000024 POS. CODE DESCRIPTION QTY VALIDITY NOTES 1 225P0171A ASSIEME CARTER COMPLETO 1 2 93041271A SEAL RING 20X26X4 4 3 14710951B OIL PUMP DRIVE SHAFT 1 4 17420591A OIL PUMP 1 5 22032083A ALUMINIUM GASKET 1 6 71110951A PIN DOWEL 2 7 24714612A OIL PUMP COVER 1 8 45520192A GEAR FIXING CLICK ASSEMBLY 1 9 59320641D VALVE, BREATHER 1 10 46320222A O-RING 2 11 59310601B HOLDER READ VALVE 1 12 77150078B SCREW 3 13 77250341B SCREW, TAPPING 3.5X12 1 14 78811151A GASKET 1 15 81110021A REED VALVE ASSY 1 16 82716031A SPACER 1 17 68050101A KEY 2X2X10 1 18 70010362A DAMPER 1 19 70240131A BEARING 1 20 70240401B BEARING 17X40X12 2 21 70250081A BALL BEARING 6003 TN9 C3 1 22 70250193A BEARING 1 23 70450091A ROLLER 1 24 720941616 SCREW TSPEI M6X12 4 25 74710151A NUT 1 26 735033380 CIRCLIP 2 27 70242261A BEARING 1 28 70140381A BEARING, NEEDLE 2 29 77150653B SCREW TCEI M6X16 UNI5931 8.8 1 30 77150758B SCREW 1 31 77350658B SCREW TCEIR M6X16 7 32 77510311B SCREW TBEI M5X10 2 33 77910391A SCREW M8X21.5 1 34 77911982A THREADED PLUG M15X1 1 35 77927172B SCREW 1
DRAWING
GROUP ENGINE
DRAWING 010 - HALF-CRANKCASES PAIR GROUP ENGINE MULTISTRADA V2 S TRAVEL USA /24 D21000024 Page 48 / 190 SPARE PARTS CATALOGUE 25/12/2023
- HALF-CRANKCASES PAIR
SPARE PARTS CATALOGUE 25/12/2023 Page 49 / 190 MULTISTRADA V2 S TRAVEL USA /24 D21000024 POS. CODE DESCRIPTION QTY VALIDITY NOTES 36 88641961A O-RING 1 37 77950621A THREADED DOWEL M10X1 2 38 78011171A PLUG 1 39 79910491D SPRING, RETURN 1 40 79940171A SPRING 1 41 81510281A BOLT UNION 1 42 83110151B PLATE 1 43 84740061A BALL 1 44 85210532A WASHER 8.2X20X1 1 45 85211201A ALUMINIUM GASKET 1 46 85213021A WASHER, THRUST 1 47 85250421A COPPER GASKET 12.2X18X1.5 MM 1 48 85611481A WASHER 4 49 86050061A PIN M5X10 2 50 87511461B JET 2 51 88440531A SPRING RING 2 52 88450371A SNAP RING 1 53 88640331A O-RING 17.96X2.62 2 54 88650131A O-RING 3.68X1.78 2 55 89320062A PLUG, OIL DRAIN 1 56 93040221A OIL SEAL 1 57 93040932A OIL SEAL 1 58 93041631B SEAL RING 1 59 59310801B BY-PASS VALVE 1 60 78010941B PLUG 1 61 79915741B BYPASS SPRING 1 62 79920771C BYPASS SPRING 1 63 85640141A WASHER 1 64 77919881A SCREW, SPECIAL 2 65 70242211A NEEDLE BUSH 1 66 70250412A BALL BEARING 1 67 77240398CC SCREW 3 68 85214082A WASHER 3
DRAWING 010
GROUP ENGINE
DRAWING 011 - GENERATOR COVER GROUP ENGINE MULTISTRADA V2 S TRAVEL USA /24 D21000024 Page 50 / 190 SPARE PARTS CATALOGUE 25/12/2023
DRAWING 011 - GENERATOR COVER GROUP ENGINE SPARE PARTS CATALOGUE 25/12/2023 Page 51 / 190 MULTISTRADA V2 S TRAVEL USA /24 D21000024 POS. CODE DESCRIPTION QTY VALIDITY NOTES 1 24221551A5 GENERATOR COVER 1 2 70250081A BALL BEARING 6003 TN9 C3 1 3 735033380 CIRCLIP 1 4 24725241BI WATER PUMP COVER 1 5 78011001A PLUG, THREADED M10X1 1 6 85250631A WASHER 1 7 25120131A WATER PUMP ROTOR 1 8 55243942A GEARBOX POSITION SENSOR 1 9 70240091A BALL BEARING 6000 1 10 70240102A BEARING 1 11 71110922A BUSH 2 12 71311281B SPACER 1 13 72050069E SCREW 2 14 77052508B SCREW TE M6X16 2 15 77942032A SCREW 16 16 77150698BC SCREW 3 17 82716091A PLATE 1 18 85211721A WASHER 6X14.2X1.3 2 19 85250481A GASKET 6X12X1 DIN7603-A 2 20 88450431A CIRCLIP 1 21 93050051A MECHANICAL SEAL 1 22 93050062B MECHANICAL SEAL 1 23 24713571AO COVER 1 24 77941992A SCREW 2 25 83019891AA LEFT BRACKET 1 26 77750493C SCREW 2 27 77140743C SCREW 1 28 88610951A O-RING 32.99X2.62 1 29 93042691A SEAL RING 1 30 85250871A WASHER 2
DRAWING 012 - ELECTRIC STARTING AND IGNITION GROUP ENGINE MULTISTRADA V2 S TRAVEL USA /24 D21000024 Page 52 / 190 SPARE PARTS CATALOGUE 25/12/2023
DRAWING 012 - ELECTRIC STARTING AND IGNITION GROUP ENGINE SPARE PARTS CATALOGUE 25/12/2023 Page 53 / 190 MULTISTRADA V2 S TRAVEL USA /24 D21000024 POS. CODE DESCRIPTION QTY VALIDITY NOTES 1 27040107A STARTING MOTOR 1 2 85610751A WASHER, THRUST 1 3 77253300ZF SCREW 8 4 78810542A ENGINE STARTER GASKET 1 5 77140677CF SCREW TCEIF M6X20 2 6 77110521A SCREW TCEI M6X30 1 7 77140697CF SCREW 1 8 71319191A SPACER 1 9 82113471A STARTER REDUCTION SHAFT 1 10 176Z0021A IDLE GEAR T74/13 1 11 70140591A CLUTCH, ONE WAY 1 12 26420541A GENERATOR 1 13 16016371A PLATE 1 14 173Z0021A ELECTRIC STARTER DRIVEN GEAR 1 15 70240181B NEEDLE BEARING 1 16 27611201B IGNITION FLYWHEEL 1 17 88110341A BUSH 1 18 75050051A NUT 6MM 1 19 85350101A WASHER, SPRING 1 20 77750508CC SCREW 4
DRAWING 014 - VERTICAL CYLINDER HEAD GROUP ENGINE MULTISTRADA V2 S TRAVEL USA /24 D21000024 Page 54 / 190 SPARE PARTS CATALOGUE 25/12/2023
SPARE PARTS CATALOGUE 25/12/2023 Page 55 / 190 MULTISTRADA V2 S TRAVEL USA /24 D21000024 POS. CODE DESCRIPTION QTY VALIDITY NOTES 1 84010012A ADJUSTER, OPENING ROCKER ARM 2.00 MM 4 84010022A ADJUSTER, OPENING ROCKER ARM 2.05 MM 4 84010032A ADJUSTER, OPENING ROCKER ARM 2.10 MM 4 84010042A ADJUSTER, OPENING ROCKER ARM 2.15 MM 4 84010052A ADJUSTER, OPENING ROCKER ARM 2.20 MM 4 84010062A ADJUSTER, OPENING ROCKER ARM 2.25 MM 4 84010072A ADJUSTER, OPENING ROCKER ARM 2.30 MM 4 84010082A ADJUSTER, OPENING ROCKER ARM 2.35 MM 4 84010092A ADJUSTER, OPENING ROCKER ARM 2.40 MM 4 84010102A ADJUSTER, OPENING ROCKER ARM 2.45 MM 4 84010112A ADJUSTER, OPENING ROCKER ARM 2.50 MM 4 84010122A ADJUSTER, OPENING ROCKER ARM 2.55 MM 4 84010132A ADJUSTER, OPENING ROCKER ARM 2.60 MM 4 84010142A ADJUSTER, OPENING ROCKER ARM 2.65 MM 4 84010152A ADJUSTER, OPENING ROCKER ARM 2.70 MM 4 84010162A ADJUSTER, OPENING ROCKER ARM 2.75 MM 4 84010172A ADJUSTER, OPENING ROCKER ARM 2.80 MM 4 84010182A ADJUSTER, OPENING ROCKER ARM 2.85 MM 4 84010192A ADJUSTER, OPENING ROCKER ARM 2.90 MM 4 84010202A ADJUSTER, OPENING ROCKER ARM 2.95 MM 4 84010212A ADJUSTER, OPENING ROCKER ARM 3.00 MM 4 84010222A ADJUSTER, OPENING ROCKER ARM 3.05 MM 4 84010232A ADJUSTER, OPENING ROCKER ARM 3.10 MM 4 84010242A ADJUSTER, OPENING ROCKER ARM 3.15 MM 4 84010252A ADJUSTER, OPENING ROCKER ARM 3.20 MM 4 84010262A ADJUSTER, OPENING ROCKER ARM 3.25 MM 4 84010272A ADJUSTER, OPENING ROCKER ARM 3.30 MM 4 84010282A ADJUSTER, OPENING ROCKER ARM 3.35 MM 4 84010292A ADJUSTER, OPENING ROCKER ARM 3.40 MM 4 84010302A ADJUSTER, OPENING ROCKER ARM 3.45 MM 4 84010312A ADJUSTER, OPENING ROCKER ARM 1.80 MM 4 84010322A ADJUSTER, OPENING ROCKER ARM 1.85 MM 4 84010332A ADJUSTER, OPENING ROCKER ARM 1.90 MM 4 84010342A ADJUSTER, OPENING ROCKER ARM 1.95 MM 4 84010722A ADJUSTER, OPENING ROCKER ARM 3.60 MM 4
DRAWING 014 - VERTICAL CYLINDER HEAD GROUP ENGINE
DRAWING 014 - VERTICAL CYLINDER HEAD GROUP ENGINE MULTISTRADA V2 S TRAVEL USA /24 D21000024 Page 56 / 190 SPARE PARTS CATALOGUE 25/12/2023
SPARE PARTS CATALOGUE 25/12/2023 Page 57 / 190 MULTISTRADA V2 S TRAVEL USA /24 D21000024 POS. CODE DESCRIPTION QTY VALIDITY NOTES 84010732A ADJUSTER, OPENING ROCKER ARM 3.80 MM 4 84011082A ADJUSTER, OPENING ROCKER ARM 3.50 MM 4 84011092A ADJUSTER, OPENING ROCKER ARM 3.55 MM 4 84011102A ADJUSTER, OPENING ROCKER ARM 3.65 MM 4 84011112A ADJUSTER, OPENING ROCKER ARM 3.70 MM 4 84011122A ADJUSTER, OPENING ROCKER ARM 3.75 MM 4 84011132A ADJUSTER, OPENING ROCKER ARM 3.85 MM 4 84011142A ADJUSTER, OPENING ROCKER ARM 3.9 MM 4 2 84010412B ADJUSTER, CLOSING ROCKER ARM 2.20 MM 4 84010422B ADJUSTER, CLOSING ROCKER ARM 2.25 MM 4 84010432B ADJUSTER, CLOSING ROCKER ARM 2.30 MM 4 84010442B ADJUSTER, CLOSING ROCKER ARM 2.35 MM 4 84010452B ADJUSTER, CLOSING ROCKER ARM 2.40 MM 4 84010462B ADJUSTER, CLOSING ROCKER ARM 2.45 MM 4 84010472B ADJUSTER, CLOSING ROCKER ARM 2.50 MM 4 84010482B ADJUSTER, CLOSING ROCKER ARM 2.55 MM 4 84010492B ADJUSTER, CLOSING ROCKER ARM 2.60 MM 4 84010502B ADJUSTER, CLOSING ROCKER ARM 2.65 MM 4 84010512B ADJUSTER, CLOSING ROCKER ARM 2.70 MM 4 84010522B ADJUSTER, CLOSING ROCKER ARM 2.75 MM 4 84010532B ADJUSTER, CLOSING ROCKER ARM 2.80 MM 4 84010542B ADJUSTER, CLOSING ROCKER ARM 2.85 MM 4 84010552B ADJUSTER, CLOSING ROCKER ARM 2.90 MM 4 84010562B ADJUSTER, CLOSING ROCKER ARM 2.95 MM 4 84010572B ADJUSTER, CLOSING ROCKER ARM 3.00 MM 4 84010582B ADJUSTER, CLOSING ROCKER ARM 3.05 MM 4 84010592B ADJUSTER, CLOSING ROCKER ARM 3.10 MM 4 84010602B ADJUSTER, CLOSING ROCKER ARM 3.15 MM 4 84010612B ADJUSTER, CLOSING ROCKER ARM 3.20 MM 4 84010622B ADJUSTER, CLOSING ROCKER ARM 3.25 MM 4 84010632B ADJUSTER, CLOSING ROCKER ARM 3.30 MM 4 84010642B ADJUSTER, CLOSING ROCKER ARM 3.35 MM 4 84010652B ADJUSTER, CLOSING ROCKER ARM 3.40 MM 4 84010662B ADJUSTER, CLOSING ROCKER ARM 3.45 MM 4 84010672B ADJUSTER, CLOSING ROCKER ARM 3.50 MM 4
DRAWING 014 - VERTICAL CYLINDER HEAD GROUP ENGINE
DRAWING 014 - VERTICAL CYLINDER HEAD GROUP ENGINE MULTISTRADA V2 S TRAVEL USA /24 D21000024 Page 58 / 190 SPARE PARTS CATALOGUE 25/12/2023
SPARE PARTS CATALOGUE 25/12/2023 Page 59 / 190 MULTISTRADA V2 S TRAVEL USA /24 D21000024 POS. CODE DESCRIPTION QTY VALIDITY NOTES 84010682B ADJUSTER, CLOSING ROCKER ARM 3.55 MM 4 84010692B ADJUSTER, CLOSING ROCKER ARM 3.60 MM 4 84010702B ADJUSTER, CLOSING ROCKER ARM 3.65 MM 4 84010712B ADJUSTER, CLOSING ROCKER ARM 3.70 MM 4 84010722B ADJUSTER, CLOSING ROCKER ARM 3.75 MM 4 84010732B ADJUSTER, CLOSING ROCKER ARM 3.80 MM 4 84010742B ADJUSTER, CLOSING ROCKER ARM 3.85 MM 4 84010752B ADJUSTER, CLOSING ROCKER ARM 3.90 MM 4 84010762B ADJUSTER, CLOSING ROCKER ARM 3.95 MM 4 84010772B ADJUSTER, CLOSING ROCKER ARM 4.00 MM 4 84010782B ADJUSTER, CLOSING ROCKER ARM 4.05 MM 4 84010792B ADJUSTER, CLOSING ROCKER ARM 4.10 MM 4 84010802B ADJUSTER, CLOSING ROCKER ARM 4.15 MM 4 84010812B ADJUSTER, CLOSING ROCKER ARM 4.20 MM 4 84010822B ADJUSTER, CLOSING ROCKER ARM 4.25 MM 4 84010832B ADJUSTER, CLOSING ROCKER ARM 4.30 MM 4 84010842B ADJUSTER, CLOSING ROCKER ARM 4.35 MM 4 84010852B ADJUSTER, CLOSING ROCKER ARM 4.40 MM 4 84010862B ADJUSTER, CLOSING ROCKER ARM 4.45 MM 4 84010872B ADJUSTER, CLOSING ROCKER ARM 4.50 MM 4 3 20810321A OPEN. ROCKER ARM 4 4 20910501A CLOSING ROCKER ARM LEFT 2 5 21110991A EXHAUST VALVE 2 6 66910011E C RING 8 7 30310631BB GUIDE, VALVE OVERSIZED 0.03 MM 4 30310631BC GUIDE, VALVE OVERSIZED 0.06 MM 4 30310631BD GUIDE, VALVE OVERSIZED 0.09 MM 4 8 76440572A SEAL VALVE STEM 4 9 71312921A SPACER 2 10 30411011BB SEAT, EXHAUST VALVE +0.03 MM 2 30411011BC SEAT, EXHAUST VALVE +0.06 MM 2 11 85250261B GASKET 8 12 78010511E PLUG 8 13 30411001AB SEAT, INLET VALVE +0.03 MM 2 30411001AC SEAT, INLET VALVE +0.06 MM 2
DRAWING 014 - VERTICAL CYLINDER HEAD GROUP ENGINE
DRAWING 014 - VERTICAL CYLINDER HEAD GROUP ENGINE MULTISTRADA V2 S TRAVEL USA /24 D21000024 Page 60 / 190 SPARE PARTS CATALOGUE 25/12/2023
SPARE PARTS CATALOGUE 25/12/2023 Page 61 / 190 MULTISTRADA V2 S TRAVEL USA /24 D21000024 POS. CODE DESCRIPTION QTY VALIDITY NOTES 14 21010991A INTAKE VALVE 2 15 82112951A CLOSE ROCKER ARM AXLE 4 16 20910491A CLOSING ROCKER ARM RIGHT 2 17 82112941A SHAFT, OPENING ROCKER 4 18 79915001A VALVE RETURN SPRING LH. 1 19 79915011A VALVE RETURN SPRING RH. 1 20 77350618B SCREW TCEIR M6X8 1 21 76640191A STUD BOLT M6X16 3 22 30124861DI COMPLETE VERTICAL HEAD 1 23 77914211A SCREW TEF M8X32 8 24 86050061A PIN M5X10 4 25 71312921B SPACER 2 26 79915181B LEFT VALVE RETURN SPRING 1 27 79915191B RIGHT VALVE RETURN SPRING 1 28 85250231A GASKET 1 29 74810501A NUT M10X1.5 4 30 85610642A WASHER, SPECIAL 10.5X21X2 4
DRAWING 014 - VERTICAL CYLINDER HEAD GROUP ENGINE
DRAWING 015 - HORIZONTAL CYLINDER HEAD GROUP ENGINE MULTISTRADA V2 S TRAVEL USA /24 D21000024 Page 62 / 190 SPARE PARTS CATALOGUE 25/12/2023
SPARE PARTS CATALOGUE 25/12/2023 Page 63 / 190 MULTISTRADA V2 S TRAVEL USA /24 D21000024 POS. CODE DESCRIPTION QTY VALIDITY NOTES 1 84010012A ADJUSTER, OPENING ROCKER ARM 2.00 MM 4 84010022A ADJUSTER, OPENING ROCKER ARM 2.05 MM 4 84010032A ADJUSTER, OPENING ROCKER ARM 2.10 MM 4 84010042A ADJUSTER, OPENING ROCKER ARM 2.15 MM 4 84010052A ADJUSTER, OPENING ROCKER ARM 2.20 MM 4 84010062A ADJUSTER, OPENING ROCKER ARM 2.25 MM 4 84010072A ADJUSTER, OPENING ROCKER ARM 2.30 MM 4 84010082A ADJUSTER, OPENING ROCKER ARM 2.35 MM 4 84010092A ADJUSTER, OPENING ROCKER ARM 2.40 MM 4 84010102A ADJUSTER, OPENING ROCKER ARM 2.45 MM 4 84010112A ADJUSTER, OPENING ROCKER ARM 2.50 MM 4 84010122A ADJUSTER, OPENING ROCKER ARM 2.55 MM 4 84010132A ADJUSTER, OPENING ROCKER ARM 2.60 MM 4 84010142A ADJUSTER, OPENING ROCKER ARM 2.65 MM 4 84010152A ADJUSTER, OPENING ROCKER ARM 2.70 MM 4 84010162A ADJUSTER, OPENING ROCKER ARM 2.75 MM 4 84010172A ADJUSTER, OPENING ROCKER ARM 2.80 MM 4 84010182A ADJUSTER, OPENING ROCKER ARM 2.85 MM 4 84010192A ADJUSTER, OPENING ROCKER ARM 2.90 MM 4 84010202A ADJUSTER, OPENING ROCKER ARM 2.95 MM 4 84010212A ADJUSTER, OPENING ROCKER ARM 3.00 MM 4 84010222A ADJUSTER, OPENING ROCKER ARM 3.05 MM 4 84010232A ADJUSTER, OPENING ROCKER ARM 3.10 MM 4 84010242A ADJUSTER, OPENING ROCKER ARM 3.15 MM 4 84010252A ADJUSTER, OPENING ROCKER ARM 3.20 MM 4 84010262A ADJUSTER, OPENING ROCKER ARM 3.25 MM 4 84010272A ADJUSTER, OPENING ROCKER ARM 3.30 MM 4 84010282A ADJUSTER, OPENING ROCKER ARM 3.35 MM 4 84010292A ADJUSTER, OPENING ROCKER ARM 3.40 MM 4 84010302A ADJUSTER, OPENING ROCKER ARM 3.45 MM 4 84010312A ADJUSTER, OPENING ROCKER ARM 1.80 MM 4 84010322A ADJUSTER, OPENING ROCKER ARM 1.85 MM 4 84010332A ADJUSTER, OPENING ROCKER ARM 1.90 MM 4 84010342A ADJUSTER, OPENING ROCKER ARM 1.95 MM 4 84010722A ADJUSTER, OPENING ROCKER ARM 3.60 MM 4
DRAWING 015 - HORIZONTAL CYLINDER HEAD GROUP ENGINE
DRAWING 015 - HORIZONTAL CYLINDER HEAD GROUP ENGINE MULTISTRADA V2 S TRAVEL USA /24 D21000024 Page 64 / 190 SPARE PARTS CATALOGUE 25/12/2023
SPARE PARTS CATALOGUE 25/12/2023 Page 65 / 190 MULTISTRADA V2 S TRAVEL USA /24 D21000024 POS. CODE DESCRIPTION QTY VALIDITY NOTES 84010732A ADJUSTER, OPENING ROCKER ARM 3.80 MM 4 84011082A ADJUSTER, OPENING ROCKER ARM 3.50 MM 4 84011092A ADJUSTER, OPENING ROCKER ARM 3.55 MM 4 84011102A ADJUSTER, OPENING ROCKER ARM 3.65 MM 4 84011112A ADJUSTER, OPENING ROCKER ARM 3.70 MM 4 84011122A ADJUSTER, OPENING ROCKER ARM 3.75 MM 4 84011132A ADJUSTER, OPENING ROCKER ARM 3.85 MM 4 84011142A ADJUSTER, OPENING ROCKER ARM 3.9 MM 4 2 84010412B ADJUSTER, CLOSING ROCKER ARM 2.20 MM 4 84010422B ADJUSTER, CLOSING ROCKER ARM 2.25 MM 4 84010432B ADJUSTER, CLOSING ROCKER ARM 2.30 MM 4 84010442B ADJUSTER, CLOSING ROCKER ARM 2.35 MM 4 84010452B ADJUSTER, CLOSING ROCKER ARM 2.40 MM 4 84010462B ADJUSTER, CLOSING ROCKER ARM 2.45 MM 4 84010472B ADJUSTER, CLOSING ROCKER ARM 2.50 MM 4 84010482B ADJUSTER, CLOSING ROCKER ARM 2.55 MM 4 84010492B ADJUSTER, CLOSING ROCKER ARM 2.60 MM 4 84010502B ADJUSTER, CLOSING ROCKER ARM 2.65 MM 4 84010512B ADJUSTER, CLOSING ROCKER ARM 2.70 MM 4 84010522B ADJUSTER, CLOSING ROCKER ARM 2.75 MM 4 84010532B ADJUSTER, CLOSING ROCKER ARM 2.80 MM 4 84010542B ADJUSTER, CLOSING ROCKER ARM 2.85 MM 4 84010552B ADJUSTER, CLOSING ROCKER ARM 2.90 MM 4 84010562B ADJUSTER, CLOSING ROCKER ARM 2.95 MM 4 84010572B ADJUSTER, CLOSING ROCKER ARM 3.00 MM 4 84010582B ADJUSTER, CLOSING ROCKER ARM 3.05 MM 4 84010592B ADJUSTER, CLOSING ROCKER ARM 3.10 MM 4 84010602B ADJUSTER, CLOSING ROCKER ARM 3.15 MM 4 84010612B ADJUSTER, CLOSING ROCKER ARM 3.20 MM 4 84010622B ADJUSTER, CLOSING ROCKER ARM 3.25 MM 4 84010632B ADJUSTER, CLOSING ROCKER ARM 3.30 MM 4 84010642B ADJUSTER, CLOSING ROCKER ARM 3.35 MM 4 84010652B ADJUSTER, CLOSING ROCKER ARM 3.40 MM 4 84010662B ADJUSTER, CLOSING ROCKER ARM 3.45 MM 4 84010672B ADJUSTER, CLOSING ROCKER ARM 3.50 MM 4
DRAWING 015 - HORIZONTAL CYLINDER HEAD GROUP ENGINE
DRAWING 015 - HORIZONTAL CYLINDER HEAD GROUP ENGINE MULTISTRADA V2 S TRAVEL USA /24 D21000024 Page 66 / 190 SPARE PARTS CATALOGUE 25/12/2023
HORIZONTAL CYLINDER
SPARE PARTS CATALOGUE 25/12/2023 Page 67 / 190 MULTISTRADA V2 S TRAVEL USA /24 D21000024 POS. CODE DESCRIPTION QTY VALIDITY NOTES 84010682B ADJUSTER, CLOSING ROCKER ARM 3.55 MM 4 84010692B ADJUSTER, CLOSING ROCKER ARM 3.60 MM 4 84010702B ADJUSTER, CLOSING ROCKER ARM 3.65 MM 4 84010712B ADJUSTER, CLOSING ROCKER ARM 3.70 MM 4 84010722B ADJUSTER, CLOSING ROCKER ARM 3.75 MM 4 84010732B ADJUSTER, CLOSING ROCKER ARM 3.80 MM 4 84010742B ADJUSTER, CLOSING ROCKER ARM 3.85 MM 4 84010752B ADJUSTER, CLOSING ROCKER ARM 3.90 MM 4 84010762B ADJUSTER, CLOSING ROCKER ARM 3.95 MM 4 84010772B ADJUSTER, CLOSING ROCKER ARM 4.00 MM 4 84010782B ADJUSTER, CLOSING ROCKER ARM 4.05 MM 4 84010792B ADJUSTER, CLOSING ROCKER ARM 4.10 MM 4 84010802B ADJUSTER, CLOSING ROCKER ARM 4.15 MM 4 84010812B ADJUSTER, CLOSING ROCKER ARM 4.20 MM 4 84010822B ADJUSTER, CLOSING ROCKER ARM 4.25 MM 4 84010832B ADJUSTER, CLOSING ROCKER ARM 4.30 MM 4 84010842B ADJUSTER, CLOSING ROCKER ARM 4.35 MM 4 84010852B ADJUSTER, CLOSING ROCKER ARM 4.40 MM 4 84010862B ADJUSTER, CLOSING ROCKER ARM 4.45 MM 4 84010872B ADJUSTER, CLOSING ROCKER ARM 4.50 MM 4 3 20810321A OPEN. ROCKER ARM 4 4 20910501A CLOSING ROCKER ARM LEFT 2 5 21110991A EXHAUST VALVE 2 6 66910011E C RING 8 7 30310631BB GUIDE, VALVE OVERSIZED 0.03 MM 4 30310631BC GUIDE, VALVE OVERSIZED 0.06 MM 4 30310631BD GUIDE, VALVE OVERSIZED 0.09 MM 4 8 76440572A SEAL VALVE STEM 4 9 71312921A SPACER 2 10 30411011BB SEAT, EXHAUST VALVE +0.03 MM 2 30411011BC SEAT, EXHAUST VALVE +0.06 MM 2 11 85250261B GASKET 8 12 78010511E PLUG 8 13 30411001AB SEAT, INLET VALVE +0.03 MM 2 30411001AC SEAT, INLET VALVE +0.06 MM 2
DRAWING 015 -
HEAD GROUP ENGINE
DRAWING 015 - HORIZONTAL CYLINDER HEAD GROUP ENGINE MULTISTRADA V2 S TRAVEL USA /24 D21000024 Page 68 / 190 SPARE PARTS CATALOGUE 25/12/2023
SPARE PARTS CATALOGUE 25/12/2023 Page 69 / 190 MULTISTRADA V2 S TRAVEL USA /24 D21000024 POS. CODE DESCRIPTION QTY VALIDITY NOTES 14 21010991A INTAKE VALVE 2 15 82112951A CLOSE ROCKER ARM AXLE 4 16 20910491A CLOSING ROCKER ARM RIGHT 2 17 82112941A SHAFT, OPENING ROCKER 4 18 79915001A VALVE RETURN SPRING LH. 1 19 79915011A VALVE RETURN SPRING RH. 1 20 85250231A GASKET 1 21 76640191A STUD BOLT M6X16 3 22 30124851DI COMPLETE HORIZONTAL HEAD 1 23 77914211A SCREW TEF M8X32 8 24 86050061A PIN M5X10 4 25 81411881A NIPPLE, HOSE 1 26 71312921B SPACER 2 27 79915191B RIGHT VALVE RETURN SPRING 1 28 79915181B LEFT VALVE RETURN SPRING 1 29 55242671A SENSOR, TEMPERATURE 1 30 81420051A JOINT, WATER HOSE HORIZONTAL 1 31 77919162AA SCREW, SPECIAL 1 32 77210623B SCREW 1 33 85250421A COPPER GASKET 12.2X18X1.5 MM 1 34 85610642A WASHER, SPECIAL 10.5X21X2 4 35 74810501A NUT M10X1.5 4
DRAWING 015 - HORIZONTAL CYLINDER HEAD GROUP ENGINE
DRAWING 016 - OIL COOLER GROUP ENGINE MULTISTRADA V2 S TRAVEL USA /24 D21000024 Page 70 / 190 SPARE PARTS CATALOGUE 25/12/2023
016 - OIL COOLER
ENGINE SPARE PARTS CATALOGUE 25/12/2023 Page 71 / 190 MULTISTRADA V2 S TRAVEL USA /24 D21000024 POS. CODE DESCRIPTION QTY VALIDITY NOTES 1 54811231A OIL COOLER 1 2 76410241A VIBRATION DAMPER PAD 3 3 71611641AA SPACER 1 4 77214061AA SCREW, SPECIAL 1 5 81510221A NIPPLE, HOSEM14X1.5 1 6 42020064A ALUMINIUM GASKET 2 7 54911191A OIL DELIVERY PIPE 1 8 82715481A PLATE 1 9 54911142A PIPE 1 10 77116648B SCREW M6X14 1 11 85211951A GASKET 10.5X17X2 1 12 53940302A SWITCH ASSY, OIL PRESSURE 1 13 88641061A O-RING 12.42X1.78 4 14 4601H701A PROTECTION SHEATH 1 15 81510391A NIPPLE, HOSEM14X1.5 1
DRAWING
GROUP
DRAWING 017 - THROTTLE BODY GROUP ENGINE MULTISTRADA V2 S TRAVEL USA /24 D21000024 Page 72 / 190 SPARE PARTS CATALOGUE 25/12/2023
017 - THROTTLE BODY
ENGINE SPARE PARTS CATALOGUE 25/12/2023 Page 73 / 190 MULTISTRADA V2 S TRAVEL USA /24 D21000024 POS. CODE DESCRIPTION QTY VALIDITY NOTES 1 28040441A INJECTOR 2 2 77214411BA SCREW, SPECIAL 4 3 13510401A AIR FUNNEL 2 4 77156408B SCREW TCEIF M5X14 2 5 78811301A GASKET AIR FUNNEL 2 6 77912741A SCREW TBEI M6X14 8 7 59024081C COMPLETE PIPE SET 1 59024081D COMPLETE PIPE SET 1 8 28240952A COMPLETE THROTTLE BODY 1 28240953A COMPLETE THROTTLE BODY 1 XST:CAL 9 74141871A CLAMP 60-80 MM 2 10 85042131A CLIP 2 11 88642231A O-RING 2
DRAWING
GROUP
DRAWING 10A - HALF-CRANKCASES PAIR GROUP ENGINE MULTISTRADA V2 S TRAVEL USA /24 D21000024 Page 74 / 190 SPARE PARTS CATALOGUE 25/12/2023
SPARE PARTS CATALOGUE 25/12/2023 Page 75 / 190 MULTISTRADA V2 S TRAVEL USA /24 D21000024 POS. CODE DESCRIPTION QTY VALIDITY NOTES 1 942470014 LIQUID GASKET 1 2 76610551D STUD BOLT FASTENING HEAD CYLINDER 8 3 44440039A FILTER, OIL 1 4 71111601A PIN DOWEL 3 5 85250051A GASKET 32X38X1.5 1 6 77151363B SCREW TCEI M8X75 UNI 5931 7 7 77550211B SCREW TBEI M6X16 ISO7380 10.9 1 8 77150808B SCREW TCEI M6X75 2 9 88641321A O-RING 2 10 11210791A0 4 11210791AA HALF-BEARING RED 4 11210791AB HALF-BEARING BLUE 4 11210791AC HALF-BEARING YELLOW 4 11210791AD HALF-BEARING BLACK 4 11210791AE HALF-BEARING GREEN 4 11 77150723B SCREW TCEI M6X35 UNI 5931 8 12 86010051B DOWEL 2 13 85310031A SPRING WASHER 6 MM 1 14 55241321C SENSOR, TIMING & RPM 1 15 88610241A O-RING 5.23X2.62 2 16 87310371A THREADED PLUG M32X1.5 1 17 89420121F OIL NET FILTER 1
DRAWING 10A - HALF-CRANKCASES PAIR GROUP ENGINE
DRAWING 13A - VERTICAL CYLINDER HEAD - TIMING GROUP ENGINE MULTISTRADA V2 S TRAVEL USA /24 D21000024 Page 76 / 190 SPARE PARTS CATALOGUE 25/12/2023
DRAWING 13A - VERTICAL CYLINDER HEAD - TIMING
ENGINE SPARE PARTS CATALOGUE 25/12/2023 Page 77 / 190 MULTISTRADA V2 S TRAVEL USA /24 D21000024 POS. CODE DESCRIPTION QTY VALIDITY NOTES 1 88650511A O-RING 12.39X3.53 4 2 70350022A RING NUT M17X1 2 3 77915093A SCREW, SPECIAL 1 4 85610743A WASHER, SPECIAL 2 5 77919251B SCREW, SPECIAL 3 6 24714151AC COVER CYLINDER HEAD, VERTICAL 1 7 25510193A TIMING BELT PULLEY, DRIVEN T20 2 8 78811211A GASKET 1 9 78810931A GASKET CYLINDER HEAD COVER 1 10 16010941A FLANGE 2 11 14824232A VERTICAL INTAKE CAMSHAFT 1 12 68050061A WOODRUFF KEY 3X5 2 13 87310051A PLUG 18 MM 2 14 71113742A BUSH 1 15 45110462A MOVABLE TENSIONER ROLLER PIN 2 16 77950302A SCREW TC M6X12 6 17 93050072A SEAL RING 2 18 14824252A VERTICAL EXHAUST CAMSHAFT 1 19 77350403B SCREW 2 20 24714171A COVER 1 21 81140012B VALVE 1 22 82716351A PLATE 1 23 81413341A UNION 1 24 85240261A WASHER 2 25 14010842C INTAKE MANIFOLD 1 26 76640191A STUD BOLT M6X16 1 27 74941113B NUT 1 28 77110391B SCREW 2 29 77210623B SCREW 2 30 81412351B JOINT, WATER HOSE VERTICAL 1 31 88641031A O-RING 1 32 81411111C NIPPLE, HOSE 1
GROUP
DRAWING 13B - HORIZONTAL HEAD – TIMING SYSTEM GROUP ENGINE MULTISTRADA V2 S TRAVEL USA /24 D21000024 Page 78 / 190 SPARE PARTS CATALOGUE 25/12/2023
HORIZONTAL HEAD
TIMING
SPARE PARTS CATALOGUE 25/12/2023 Page 79 / 190 MULTISTRADA V2 S TRAVEL USA /24 D21000024 POS. CODE DESCRIPTION QTY VALIDITY NOTES 1 88650511A O-RING 12.39X3.53 4 2 70350022A RING NUT M17X1 2 3 77915093A SCREW, SPECIAL 4 4 85610743A WASHER, SPECIAL 2 5 24714141AC COVER CYLINDER HEAD, HORIZONTAL 1 6 71113742A BUSH 1 7 25510193A TIMING BELT PULLEY, DRIVEN T20 2 8 78811211A GASKET 1 9 78810931A GASKET CYLINDER HEAD COVER 1 10 16010941A FLANGE 2 11 45110462A MOVABLE TENSIONER ROLLER PIN 2 12 68050061A WOODRUFF KEY 3X5 2 13 87310051A PLUG 18 MM 2 14 14824242A HORIZONTAL EXHAUST CAMSHAFT 1 15 14824222A HORIZONTAL INTAKE CAMSHAFT 1 16 77950302A SCREW TC M6X12 6 17 93050072A SEAL RING 2 18 82716351A PLATE 1 19 77350403B SCREW 2 20 24714161A COVER 1 21 81140012B VALVE 1 22 81413341A UNION 1 23 85240261A WASHER 2 24 76640191A STUD BOLT M6X16 1 25 14010842C INTAKE MANIFOLD 1 26 77110391B SCREW 2 27 74941113B NUT 1 28 81411111C NIPPLE, HOSE 1
DRAWING 13B -
–
SYSTEM GROUP ENGINE
DRAWING 001 - WORKSHOP SERVICE TOOLS GROUP TOOLS MULTISTRADA V2 S TRAVEL USA /24 D21000024 Page 80 / 190 SPARE PARTS CATALOGUE 25/12/2023
DRAWING 001 - WORKSHOP SERVICE TOOLS GROUP TOOLS SPARE PARTS CATALOGUE 25/12/2023 Page 81 / 190 MULTISTRADA V2 S TRAVEL USA /24 D21000024 POS. CODE DESCRIPTION QTY VALIDITY NOTES 1 887133417 TORQUE WRENCH 1 2 887132096 HEAD NUTS HOLDER WRENCH 1 3 887132863 HEAD MOUNTING BASE 1 4 887131994 ROCKER PIN EXTRACTOR 1 5 887651635 DEGREE WHEEL HOLDER TOOL FOR IGNITION ADVANCE CHECK 1 6 887132906 WRENCH, OIL FILTER CARTRIDGE 1 7 887651623 BELT ROLLER TIMING TOOL 1 8 887133219 TIMING BELT ROLLER REACTION TOOL 1 9 887132442 TOOL, OIL SEAL MOUNTING 1 10 887005644 TIMING PULLEY RETAINING WRENCH 1 11 887132651 REACTION TOOL FOR WET CLUTCH 1 12 887132877 SPARK PLUG WRENCH 1 13 887132870 TOOL, CON-ROD GUIDING 1 14 887130031 EXTRACTOR FOR PRIMARY DRIVE GEAR 1 15 887131309 FORK FEELER GAUGE2,35 MM 1 16 887131806 REACTION TOOL BELT ROLLER TIGHTENING 1 17 887132011 CRANKSHAFT RESET TOOL 1 18 887651298 SPACER FOR CHECKING LOWER VALVE SHIM 1 19 887131821 WRENCH TO TIGHTEN TENSIONING BOLTS 1 20 887133367 FLYWHEEL WRENCH 1 21 887130022 GEARBOX SELECTOR TOOL 1 22 887131749 DRIVE ROLLER PULLER 1 23 887134411 INSERT 1 24 887132695 CLUTCH FLUID PRESSURE MEASURING TOOL 1 25 887134791 GONIOMETER IGNITION TIMING CHECKING 1 26 887135013 PAD 1 27 887134145 HALF-BEARINGS FITTING TOOL 1 28 887134198 EXHAUST NUTS HOLDER WRENCH 1 29 887131832 BENCH FOR ENGINE REPAIR 1 30 887651518 VALVE LIFT GAUGE 1 31 887133992 TOOL TO FIT PISTON GUDGEON PIN CIRCLIPS 1 32 887651188 T.D.C. CONTROL GAUGE 1 33 887131906 TOOL TO FIT OIL SEAL 1 34 887132068 CLOSING ROCKER PRE-LOAD KIT 1 35 887132913 TOOL INSTALLING O-RINGS 1
DRAWING 001 - WORKSHOP SERVICE TOOLS GROUP TOOLS MULTISTRADA V2 S TRAVEL USA /24 D21000024 Page 82 / 190 SPARE PARTS CATALOGUE 25/12/2023
DRAWING 001 - WORKSHOP SERVICE TOOLS GROUP TOOLS SPARE PARTS CATALOGUE 25/12/2023 Page 83 / 190 MULTISTRADA V2 S TRAVEL USA /24 D21000024 POS. CODE DESCRIPTION QTY VALIDITY NOTES 36 887005749 CRANKCASES ASSEMBLING CAP 1 37 887133406 WRENCH TIGHTENING PRIMARY TRANSMISSI 1 38 887138875 OIL BOTTLE 1
DRAWING 01B - WORKSHOP SERVICE TOOLS GROUP TOOLS MULTISTRADA V2 S TRAVEL USA /24 D21000024 Page 84 / 190 SPARE PARTS CATALOGUE 25/12/2023
DRAWING 01B - WORKSHOP SERVICE TOOLS GROUP TOOLS SPARE PARTS CATALOGUE 25/12/2023 Page 85 / 190 MULTISTRADA V2 S TRAVEL USA /24 D21000024 POS. CODE DESCRIPTION QTY VALIDITY NOTES 1 887134488 FORK OIL LEVEL SYRINGE 1 2 887134302 ATTREZZO SERRAGGIO STELO FORCELLE 1 3 887131059 ASSEMBLING BEARINGS TOOL 1 4 887131074 TOOL DISASSEMBLING SWINGARM PIVOT 1 5 887138871 BENCH FOR ENGINE REPAIR 1 6 887131515 FRAME/MOTOR SUPPORT 1 7 887131058 SPANNER TO ASSEMBLE THE STEERING SLEEVE 1 8 800070139 WRENCH FOR FRONT WHEEL SPINDLE 1 9 887131062 TOOL ASSEMBLING STEERING TUBE BEARING 1 10 887133501 WRENCH TO TIGHTEN CAP TANK 1 11 887133526 WRENCH FOR TIGHTENING FRAME RING NUT 1 12 887130025 BUSH FOR INSTALLING/REMOVING THE FORK PLUG 1 13 887131010 CONNECTOR FOR EXHAUST GAS TAKE-UP POINT 1
DRAWING 01C - CHECK INTRUMENT DDS GROUP TOOLS MULTISTRADA V2 S TRAVEL USA /24 D21000024 Page 86 / 190 SPARE PARTS CATALOGUE 25/12/2023
DRAWING 01C - CHECK INTRUMENT DDS GROUP TOOLS SPARE PARTS CATALOGUE 25/12/2023 Page 87 / 190 MULTISTRADA V2 S TRAVEL USA /24 D21000024 POS. CODE DESCRIPTION QTY VALIDITY NOTES 1 979000279 DDS 3 1 2 979000253 BELT TENSIONING KIT 1 3 979000282 DIAGNOSIS CABLE 1 4 979000283 CONNECTING CABLE 1 5 979000284 USB CABLE 1 6 979000281 HASP DDS3 KEY 1
DRAWING A2 - TYRES GROUP TYRES MULTISTRADA V2 S TRAVEL USA /24 D21000024 Page 88 / 190 SPARE PARTS CATALOGUE 25/12/2023
TYRES GROUP TYRES SPARE PARTS CATALOGUE 25/12/2023 Page 89 / 190 MULTISTRADA V2 S TRAVEL USA /24 D21000024 POS. CODE DESCRIPTION QTY VALIDITY NOTES 1 490PE255A FRONT TYRE 1 (*)=Pneumatico di primo equipaggiamento 2 491PE263A REAR TYRE 1 (*)=Pneumatico di primo equipaggiamento 3 490PE323A FRONT TYRE 1 4 491PE327A REAR TYRE 1 5 490PE333A FRONT TYRE 1 6 491PE336A REAR TYRE 1 7 490P0303A FRONT TYRE 1 8 491P0353A REAR TYRE 1 9 490P0270A FRONT TYRE 1 10 491P0290A REAR TYRE 1
DRAWING A2 -
DRAWING B2 - (*) PIRELLI SCORPIONâ„¢ TRAIL II GROUP TYRES MULTISTRADA V2 S TRAVEL USA /24 D21000024 Page 90 / 190 SPARE PARTS CATALOGUE 25/12/2023
DRAWING B2 - (*) PIRELLI SCORPIONâ„¢ TRAIL II GROUP TYRES SPARE PARTS CATALOGUE 25/12/2023 Page 91 / 190 MULTISTRADA V2 S TRAVEL USA /24 D21000024 POS. CODE DESCRIPTION QTY VALIDITY NOTES 1 490PE255A FRONT TYRE 1 (*)=Pneumatico di primo equipaggiamento 2 491PE263A REAR TYRE 1 (*)=Pneumatico di primo equipaggiamento
DRAWING C2 - PIRELLI SCORPIONâ„¢ RALLY GROUP TYRES MULTISTRADA V2 S TRAVEL USA /24 D21000024 Page 92 / 190 SPARE PARTS CATALOGUE 25/12/2023
DRAWING C2 - PIRELLI SCORPIONâ„¢ RALLY GROUP TYRES SPARE PARTS CATALOGUE 25/12/2023 Page 93 / 190 MULTISTRADA V2 S TRAVEL USA /24 D21000024 POS. CODE DESCRIPTION QTY VALIDITY NOTES 1 490PE323A FRONT TYRE 1 2 491PE327A REAR TYRE 1
DRAWING C4 - PIRELLI SCORPIONâ„¢ TRAIL II GROUP TYRES MULTISTRADA V2 S TRAVEL USA /24 D21000024 Page 94 / 190 SPARE PARTS CATALOGUE 25/12/2023
DRAWING C4 - PIRELLI SCORPIONâ„¢ TRAIL II GROUP TYRES SPARE PARTS CATALOGUE 25/12/2023 Page 95 / 190 MULTISTRADA V2 S TRAVEL USA /24 D21000024 POS. CODE DESCRIPTION QTY VALIDITY NOTES 1 490P0270A FRONT TYRE 1 2 491P0290A REAR TYRE 1
DRAWING D2 - SCORPIONâ„¢ RALLY STR GROUP TYRES MULTISTRADA V2 S TRAVEL USA /24 D21000024 Page 96 / 190 SPARE PARTS CATALOGUE 25/12/2023
DRAWING D2 - SCORPIONâ„¢ RALLY STR GROUP TYRES SPARE PARTS CATALOGUE 25/12/2023 Page 97 / 190 MULTISTRADA V2 S TRAVEL USA /24 D21000024 POS. CODE DESCRIPTION QTY VALIDITY NOTES 1 490PE333A FRONT TYRE 1 2 491PE336A REAR TYRE 1
DRAWING S - PIRELLI ANGELâ„¢ GT II GROUP TYRES MULTISTRADA V2 S TRAVEL USA /24 D21000024 Page 98 / 190 SPARE PARTS CATALOGUE 25/12/2023
DRAWING S - PIRELLI ANGELâ„¢ GT II GROUP TYRES SPARE PARTS CATALOGUE 25/12/2023 Page 99 / 190 MULTISTRADA V2 S TRAVEL USA /24 D21000024 POS. CODE DESCRIPTION QTY VALIDITY NOTES 1 490P0303A FRONT TYRE 1 2 491P0353A REAR TYRE 1
DRAWING 019 - EXHAUST SYSTEM GROUP FRAME MULTISTRADA V2 S TRAVEL USA /24 D21000024 Page 100 / 190 SPARE PARTS CATALOGUE 25/12/2023
DRAWING 019 - EXHAUST SYSTEM GROUP FRAME SPARE PARTS CATALOGUE 25/12/2023 Page 101 / 190 MULTISTRADA V2 S TRAVEL USA /24 D21000024 POS. CODE DESCRIPTION QTY VALIDITY NOTES 1 57114693A VERTICAL EXHAUST PIPE 1 2 57014703A HORIZONTAL EXHAUST PIPE 1 3 79925941A COMPLETE SPRING 1 4 78020011A PLUG ASSY 2 5 55214491B SENSOR LAMBDA SOND 2 6 57314184A PRESILENCER 1 7 57610671A BRACKET, SILENCER 2 8 76410241A VIBRATION DAMPER PAD 4 9 71614141A SPACER 6.25X10X5.75 4 10 77156688B SCREW TCEIF 3 11 71011491A SPINDLE, TAPER 2 12 79010151A GASKET, EXHAUST PIPE 2 13 74810241A NUT 6 14 85640121A WASHER 6 15 71614251A SPACER 3 16 74841091AA NUT 3 17 85250311A WASHER 5 18 77240263C SCREW 2 19 77240288C SCREW 3 20 4601C332A HEAT GUARD BOTTOM 1 21 4601C321A HEAT GUARD UPPER 1 22 71614102AB SPACER 3 23 59340301C ELECTRIC MOTOR, EXHAUST VALVE 1 24 85241711A WASHER 2 25 77240308C SCREW 3 26 76411141A VIBRATION DAMPER PAD 3 27 73210552A CABLE, EXHAUST VALVE 1 28 75840771A FAIRLEAD 1 29 8291D653A BRACKET, MOTOR EXHAUST VALVE 1 30 4601M131AA SILENCER PROTECTION 1 31 77244173B SCREW TBEI M5X12 3 32 57314192AA SILENCER 1 33 85040551A QUICK FASTENING 2 34 77355068B SCREW TCEIR M8X35 1 35 71314361A COLLAR, SILENCER MOUNTING 1
DRAWING 019 - EXHAUST SYSTEM GROUP FRAME MULTISTRADA V2 S TRAVEL USA /24 D21000024 Page 102 / 190 SPARE PARTS CATALOGUE 25/12/2023
EXHAUST
GROUP FRAME SPARE PARTS CATALOGUE 25/12/2023 Page 103 / 190 MULTISTRADA V2 S TRAVEL USA /24 D21000024 POS. CODE DESCRIPTION QTY VALIDITY NOTES 36 76410011A DAMPER 2 37 77440061A SCREW, TAPPING 2 38 77156718B SCREW TCEIF 1 39 75910251A SPRING 1 40 4601D401A THERMOREFLECTING PROTECTION 1 41 85212901A WASHER 1 42 74940321A NUT 1 43 75811181A FAIRLEAD 1 44 85240171A WASHER 1 45 74113381A CONNECTOR COMP, EXHAUST PIPE 1 46 77440251A SCREW 2
DRAWING 019 -
SYSTEM
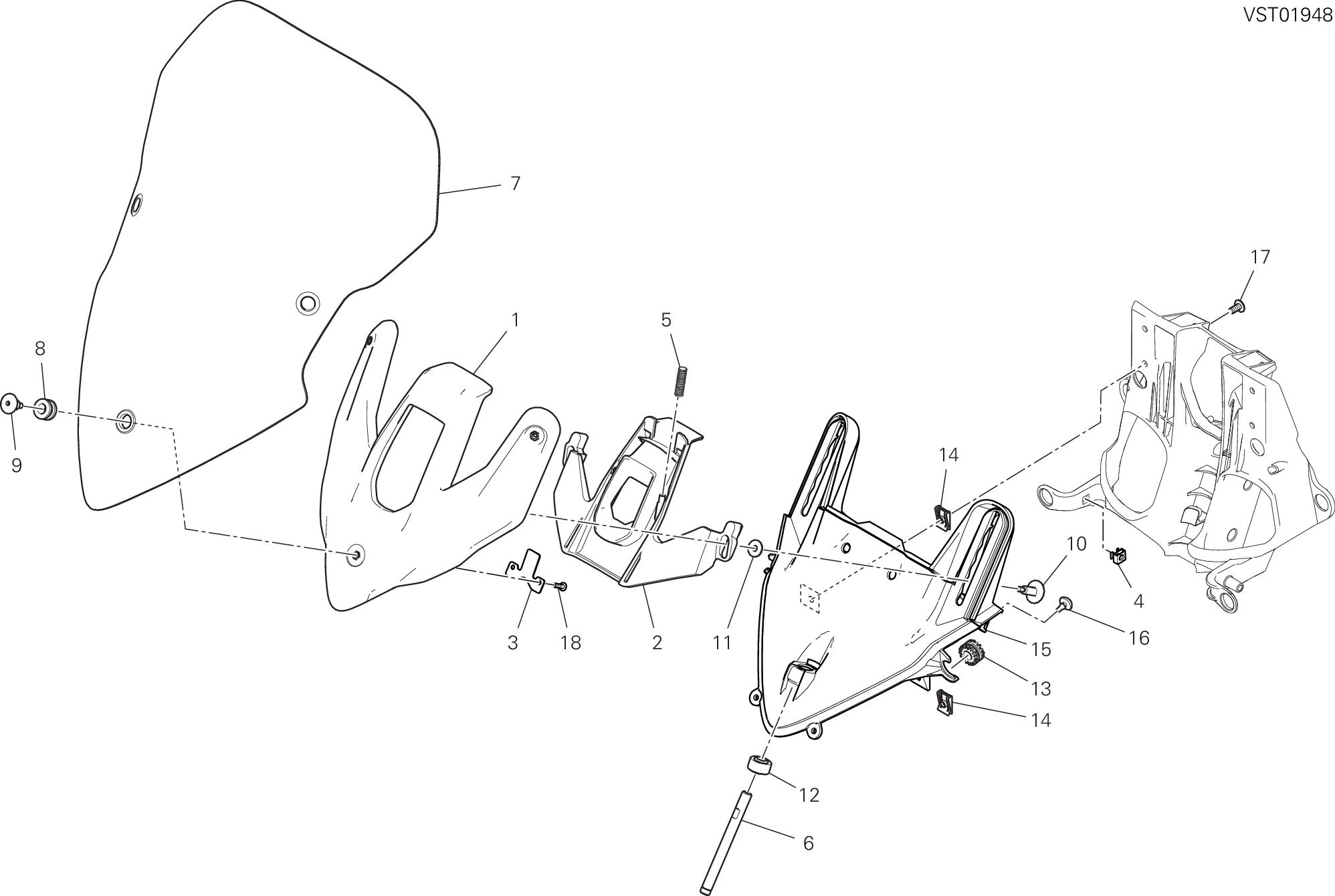
DRAWING 021 - HANDLEBAR GROUP FRAME MULTISTRADA V2 S TRAVEL USA /24 D21000024 Page 104 / 190 SPARE PARTS CATALOGUE 25/12/2023
FRAME SPARE PARTS CATALOGUE 25/12/2023 Page 105 / 190 MULTISTRADA V2 S TRAVEL USA /24 D21000024 POS. CODE DESCRIPTION QTY VALIDITY NOTES 1 77910921A SCREW 1 2 65010212C RIGHT SWITCH 1 3 77110401B SCREW 1 4 66020152B THROTTLE CONTROL 1 5 77113771B SCREW L.H. 1 6 77159313B SCREW 1 7 36012301AA HANDLEBAR 1 8 52310692B RIGHT MIRROR 1 9 52310682B LEFT MIRROR 1 10 74810351B NUT 1 11 65110291C LEFT SWITCH 1 12 77150783B SCREW TCEI M6X65 2 13 7131C001AA SPACER 2 14 15310301AA BALANCER SET, HANDLE BAR 2 15 71011071A BUSH 2 16 71117391A SPINDLE, TAPER 2 17 80811931AB CLAMP 1 18 53010342A TURN INDICATOR R.H. 1 19 46017361A GUARD, KNUCKLE, RH 1 20 4601C282A GUARD, KNUCKLE, RH 1 21 77440111A SCREW 10 22 80811941AB CLAMP 1 23 77156713B SCREW 4 24 77156423B SCREW 4 25 4601C292A GUARD, KNUCKLE, LH 1 26 53010352A TURN INDICATOR L.H. 1 27 46017351A GUARD, KNUCKLE, LH 1 28 7131B251AA SPACER 1 29 71316221AA SPACER 2 30 8291L021AA BRACKET, OIL TANK 1 31 8291L031AA BRACKET, OIL TANK 1 32 83040071A CLIP 2 33 7791B781A SCREW, SPECIAL 2
DRAWING 021 - HANDLEBAR GROUP
DRAWING 022 - FRAME GROUP FRAME MULTISTRADA V2 S TRAVEL USA /24 D21000024 Page 106 / 190 SPARE PARTS CATALOGUE 25/12/2023
022 - FRAME GROUP FRAME SPARE PARTS CATALOGUE 25/12/2023 Page 107 / 190 MULTISTRADA V2 S TRAVEL USA /24 D21000024 POS. CODE DESCRIPTION QTY VALIDITY NOTES 2 77917261AA THREADED DOWEL 2 3 70310662AA RING NUT 2 4 7791A201AA SCREW, SPECIAL 1 5 74841011AA NUT, FLANGE 1 6 7791A131AA PIN 1 7 77919101AA SCREW, SPECIAL 1 8 87211171A PLUG 2 9 7791A211AA SCREW, SPECIAL 1 10 8291D723AB BRACKET, HEADLIGHT 1 11 77110411A SCREW TCEIF M8X20 2 12 71614102AB SPACER 1 13 77240308C SCREW 1 14 76411141A VIBRATION DAMPER PAD 1
DRAWING
DRAWING 023 - CLUTCH MASTER CYLINDER GROUP FRAME MULTISTRADA V2 S TRAVEL USA /24 D21000024 Page 108 / 190 SPARE PARTS CATALOGUE 25/12/2023
- CLUTCH MASTER CYLINDER
SPARE PARTS CATALOGUE 25/12/2023 Page 109 / 190 MULTISTRADA V2 S TRAVEL USA /24 D21000024 POS. CODE DESCRIPTION QTY VALIDITY NOTES 1 63041001A CLUTCH MASTER CYLINDER 1 2 19540081B PISTON ASSEMBLY 1 3 18710021A VALVE, BREATHER 2 4 61240052A DUST COVER 2 5 77913971A BOLT, BRAKE HOSE 2 6 63211021A HOSE, CLUTCH 1 7 77910921A SCREW 1 8 76414191A DAMPER 1 9 63140081A JOINT, HOSE 1 10 77110401B SCREW 1 11 89340241A COVER MASTER CYLINDER 1 12 58540351A SUB TANK, OIL 1 13 74810351B NUT 1 14 74142951A CLAMP 2 15 93310711A PIPE 1 16 7131B251AA SPACER 1 17 85250241A WASHER 10X14X1 4 18 63140631A LEVER, CLUTCH LIFTER 1 19 61240391A DUST COVER 1 20 53940771A MICROSWITCH 1 21 62640561A BOLT, LEVER 1 22 77354893C SCREW 3 23 19510411D SPACER 1 24 78811641C GASKET 1 25 61041991A BREMBO CLUTCH FLOATING PISTON KIT 1
DRAWING 023
GROUP FRAME
DRAWING 024 - FRONT BRAKE SYSTEM GROUP FRAME MULTISTRADA V2 S TRAVEL USA /24 D21000024 Page 110 / 190 SPARE PARTS CATALOGUE 25/12/2023
024 - FRONT BRAKE SYSTEM
FRAME SPARE PARTS CATALOGUE 25/12/2023 Page 111 / 190 MULTISTRADA V2 S TRAVEL USA /24 D21000024 POS. CODE DESCRIPTION QTY VALIDITY NOTES 1 62441431A FRONT BRAKE PUMP 1 2 18710021A VALVE, BREATHER 1 3 77915511A SCREW, SPECIAL 1 4 85250241A WASHER 10X14X1 7 5 53940801A MICROSWITCH 1 6 62640561A BOLT, LEVER 1 7 63140081A JOINT, HOSE 1 8 61340121A PADS PAIR 2 9 61041491C LEFT FRONT BRAKE CALIPER 1 10 63140601A LEVER, FRONT BRAKE 1 11 61240391A DUST COVER 1 12 76414191A DAMPER 1 13 61240511A SPARE PIN AND SPRING 2 14 89340251A COVER MASTER CYLINDER 1 15 58540341A RESERVOIR, BRAKE FLUID 1 16 74142951A CLAMP 2 17 93310691A HOSE 1 18 77210591A SCREW TEF M6X10 1 19 77914651A BOLT, BRAKE HOSE 1 20 61811601A HOSE, FRONT BRAKE CALIPER-CALIPER 1 21 61240052A DUST COVER 3 22 61240201A 2 23 77913971A BOLT, BRAKE HOSE 1 24 8301A131AA BRACKET 1 25 77913311D SCREW M 10 X 60 4 26 61041501C RIGHT FRONT BRAKE CALIPER 1 27 4601F281A PROTECTION SHEATH 2 28 71114113AA BUSH 2 29 8291A891A BRACKET 1 30 55215512B ACCELEROMETER 1 31 77240343C SCREW 2
DRAWING
GROUP
DRAWING 025 - REAR BRAKING SYSTEM GROUP FRAME MULTISTRADA V2 S TRAVEL USA /24 D21000024 Page 112 / 190 SPARE PARTS CATALOGUE 25/12/2023
-
SYSTEM
FRAME SPARE PARTS CATALOGUE 25/12/2023 Page 113 / 190 MULTISTRADA V2 S TRAVEL USA /24 D21000024 POS. CODE DESCRIPTION QTY VALIDITY NOTES 1 82113311A SPACER 1 2 77150708B SCREW 1 3 85211511A WASHER 1 4 79915881AA SPRING 1 5 53940035B SWITCH, REAR BRAKE 1 6 45720771BA REAR BRAKE LEVER 1 7 47317902AA BRACKET 1 8 77912371B SCREW 1 9 82111701CA PIN PEDAL 1 10 71210341A BUSH 1 11 88641161A O-RING 2 12 77240308C SCREW 2 13 61321161A KIT REAR BRAKE PADS 1 14 61240311A PIN BRAKE PAD 1 15 61240052A DUST COVER 1 16 62540311B REAR BRAKE PUMP 1 17 74142951A CLAMP 2 18 11723581A ROD, PUSH 1 19 77156678B SCREW TCEIF M6X20 2 20 61141623A REAR BRAKE CALIPER 1 21 93310581A REAR BRAKE HOSE 1 22 77913662AB SCREW, SPECIAL 2 23 85250241A WASHER 10X14X1 4 24 77156393B SCREW M5X12 1 25 63140261A VALVE, BREATHER 1 26 58540151A RESERVOIR, BRAKE FLUID 1 27 89340111A PLUG 1 28 74750031A NUT 6MM 1 29 61240301A DUST COVER 1 30 61240611A SPRING, PAD STOPPER 1 31 8291D391A BRACKET, FUEL TANK REAR 1 32 71614081A SPACER 5X6.6X1.5 1 33 76411141A VIBRATION DAMPER PAD 2 34 71614102AB SPACER 2 35 85212321A WASHER 8.5X14X1.2 1
DRAWING 025
REAR BRAKING
GROUP
DRAWING 026 - WHEELS GROUP FRAME MULTISTRADA V2 S TRAVEL USA /24 D21000024 Page 114 / 190 SPARE PARTS CATALOGUE 25/12/2023
026 - WHEELS GROUP FRAME SPARE PARTS CATALOGUE 25/12/2023 Page 115 / 190 MULTISTRADA V2 S TRAVEL USA /24 D21000024 POS. CODE DESCRIPTION QTY VALIDITY NOTES 1 74810651A NUT 1 2 71311973A LEFT SPACER 1 3 49720071AC VALVE, TUBELESS TIRE 2 4 72010513C SCREW 15 5 49241551A FRONT BRAKE DISC 2 6 85212221A WASHER 1 7 50222291AA REAR WHEEL RIM 1 XCO:R 50222291AC REAR WHEEL RIM 1 XCO:TBST 8 70250621A BEARING 2 9 71410941A INNER SPACER 1 10 50122532AA FRONT WHEEL RIM 1 XCO:R 50122532AC FRONT WHEEL RIM 1 XCO:TBST 11 81910601BA FRONT WHEEL SPINDLE 1 12 504Z0381AA PHONIC WHEEL 2 13 93042191A SEAL RING 2 14 70250681A BEARING 2 15 71411381A INNER SPACER 1 16 49241531A REAR BRAKE DISC 1 17 71311961A RIGHT SPACER 1 18 93042501A SEAL, OIL 35X52X7 2 19 71312051A INNER SPACER 1 20 7131A371AA SPACER 1 21 70010591A WHEEL RUNNER BUSH 6 22 82114741AA SPRING DRIVE FIXING BUSH 6 23 16022501A DRUM, SPROCKET MOUNTING ASSY 1 24 70240381A BEARING 2 25 71311841A INNER SPACER 1 26 88440061A CIRCLIP 1 27 49411781AB REAR SPROCKET T43 1 28 7131A361AA FINAL SPROKET SLEEVE 1 29 74810461A NUT, FLANGE M10X1 6 30 77550213C SCREW TBEI M6X16 4 31 4601F142A CHAIN PINION COVER 1 32 67641121A CHAIN 113+1 1 33 67740033A CHAIN LINK 1
DRAWING
DRAWING 026 - WHEELS GROUP FRAME MULTISTRADA V2 S TRAVEL USA /24 D21000024 Page 116 / 190 SPARE PARTS CATALOGUE 25/12/2023
026 - WHEELS GROUP FRAME SPARE PARTS CATALOGUE 25/12/2023 Page 117 / 190 MULTISTRADA V2 S TRAVEL USA /24 D21000024 POS. CODE DESCRIPTION QTY VALIDITY NOTES 34 75010071A NUT 1 35 67621031A FINAL DRIVE KIT 1 36 75811232A FAIRLEAD 1 37 44910591A SPROCKET T15 1 44910792A SPROCKET T15 1 38 85110041A WASHER, LOCK 1 39 4381E001B TRANSFER 1 40 4381E011B TRANSFER 1
DRAWING
DRAWING 027 - REAR FRAME COMP. GROUP FRAME MULTISTRADA V2 S TRAVEL USA /24 D21000024 Page 118 / 190 SPARE PARTS CATALOGUE 25/12/2023
DRAWING 027 - REAR FRAME COMP. GROUP FRAME SPARE PARTS CATALOGUE 25/12/2023 Page 119 / 190 MULTISTRADA V2 S TRAVEL USA /24 D21000024 POS. CODE DESCRIPTION QTY VALIDITY NOTES 1 47110812AB REAR FRAME L.H. 1 2 77919221AA SCREW, SPECIAL 4 3 77157258B SCREW TCEIF M8X25 3 4 87210081A PLUG 1 5 71116441AA BUSH WITH COLLAR 2 6 87311391AA THREADED PLUG 2 7 77151588B SCREW 1 8 70140491A BEARING, NEEDLE 2 9 93041271A SEAL RING 20X26X4 2 10 83019392AA BRACKET FRONT 1 11 83019381AA BRACKET 1 12 77150668B SCREW TCEI M6X18 4 13 8291D813A BRACKET, FRONT 1 14 77211071B SCREW, SPECIAL 4 15 77211082B SCREW, SPECIAL 6 16 8291D803A BRACKET, FRONT 1 17 47110523CB REAR FRAME R.H. 1 18 77151558B SCREW 1 19 55910172A PILLION RIDER GRIP REAR 1 20 4601D072A HEAT GUARD L.H. 1 21 4601D062A HEAT GUARD R.H. 1 22 77440251A SCREW 6 23 85213751AA WASHER 6 24 43819301A STICKER DUCATI 1 25 86612111A CUSHION, SEAT 4 26 76412071A RUBBER PAD 1 27 77919171AA SCREW, SPECIAL 1 28 77240253C SCREW 1 29 83019521AA BRACKET 1 30 74110101A CLAMP 70MM 1
DRAWING 028 - REAR SHOCK ABSORBER GROUP FRAME MULTISTRADA V2 S TRAVEL USA /24 D21000024 Page 120 / 190 SPARE PARTS CATALOGUE 25/12/2023
DRAWING 028 - REAR SHOCK ABSORBER GROUP FRAME SPARE PARTS CATALOGUE 25/12/2023 Page 121 / 190 MULTISTRADA V2 S TRAVEL USA /24 D21000024 POS. CODE DESCRIPTION QTY VALIDITY NOTES 1 7725170BZ SCREW 1 3 77915041A SCREW, SPECIAL 1 4 77240493C SCREW 1 5 55243241A DETECTOR 1 6 74941118B NUT 6MM 1 7 83019221A BRACKET 1 8 77240443C SCREW 1 9 7131B851AA SPACER 1 10 84810371A SMALL LINK 1 11 77244168B SCREW 2 12 77440171A SCREW, TAPPING 2 13 8291D772AA HOLDER SENSOR 1 14 75840281A HOSE GUIDE 1
DRAWING 029 - INTAKE GROUP FRAME MULTISTRADA V2 S TRAVEL USA /24 D21000024 Page 122 / 190 SPARE PARTS CATALOGUE 25/12/2023
029 - INTAKE
FRAME SPARE PARTS CATALOGUE 25/12/2023 Page 123 / 190 MULTISTRADA V2 S TRAVEL USA /24 D21000024 POS. CODE DESCRIPTION QTY VALIDITY NOTES 1 74141861A CLAMP 20-32 MM 1 2 74141651A CLAMP 1 3 87611291A HOSE, BLOW-BY 1 4 77440321A SCREW, TAPPING 6 5 88640891A O-RING 18.64X3.53 1 6 58511041A BREATHER TANK 1 7 7131B841A SPACER 1 8 48611081A DAMPER, SOUND ARRESTER 1 9 48610992A COVER 1 10 83019841AA BRACKET, CONNECTOR 1 11 42610341B FILTER, AIR 1 12 24714951A COVER, WIRE HARNESS 1 13 24714932A COVER AIR BOX , UPPER 1 14 44217731A AIR FILTER BOX 1 15 74140651A FASCETTA 11-7 MM 1 16 59018251A HOSE, DRAIN AIRBOX 1 17 44218441A LOWER FILTER BOX 1 18 77440121A SCREW 11 19 78811801A AIRBOX-TANK GASKET 1 20 75840801A CLAMP 1 21 75840931A HOSE GUIDE 1 22 85250071A WASHER 1 23 87211182A PLUG 1 24 87211191A PLUG 1
DRAWING
GROUP
DRAWING 030 - WATER COOLER GROUP FRAME MULTISTRADA V2 S TRAVEL USA /24 D21000024 Page 124 / 190 SPARE PARTS CATALOGUE 25/12/2023
WATER COOLER
FRAME SPARE PARTS CATALOGUE 25/12/2023 Page 125 / 190 MULTISTRADA V2 S TRAVEL USA /24 D21000024 POS. CODE DESCRIPTION QTY VALIDITY NOTES 1 54810563A WATER COOLER 1 2 77240483C SCREW 1 3 77250121B SCREW TEF M6X22 2 4 76410241A VIBRATION DAMPER PAD 1 5 71614191A SPACER 6.25X10X21 3 6 8301F431AA BRACKET 1 7 76411361A VIBRATION DAMPER PAD 3 8 8301A951AA BRACKET, HORN 1 9 77211341A SCREW 1 10 51610053C HORN 1 11 87241051A CAP, RADIATOR 1 12 55040401A ELECTRIC FAN, LEFT 1 13 55040411A ELECTRIC FAN, RIGHT 1 14 77250988B SCREW TEF M6X14 6
DRAWING 030 -
GROUP
DRAWING 031 - COOLING CIRCUIT GROUP FRAME MULTISTRADA V2 S TRAVEL USA /24 D21000024 Page 126 / 190 SPARE PARTS CATALOGUE 25/12/2023
031 - COOLING CIRCUIT
FRAME SPARE PARTS CATALOGUE 25/12/2023 Page 127 / 190 MULTISTRADA V2 S TRAVEL USA /24 D21000024 POS. CODE DESCRIPTION QTY VALIDITY NOTES 1 55340041A THERMO-SWITCH 1 2 80012393A SLEEVE 1 3 88111281A THERMOSTAT PROTECTION RING 1 4 80022372A THERMOSTAT/PUMP HOSE VERTICAL 1 5 80012381C PUMP/COOLER HOSE 1 6 74142581A CLAMP 16-27 MM 8 7 74142591A CLAMP 20-35 MM 4 8 74142501A CLAMP 1 9 80012362A THERMOSTAT/PUMP HOSE HORIZONTAL 1 10 93410111A PIPE 1 11 89310143A EXPANSION TANK CAP 1 12 58510931A TANK, WATER RESERVOIR 1 13 77156628B SCREW TCEIF M6X10 2 14 85013121A QUICK FASTENING 1 15 80011851B HOSE, HORIZONTAL CYLINDER WATER INLET 1 16 80012481B HOSE, VERTICAL CYLINDER WATER INLET 1 17 8A0067610 CLAMP 11MM 1 18 74140651A FASCETTA 11-7 MM 2 19 93410231A BREATHER PIPE 1 20 76410981A VIBRATION DAMPER PAD 1 21 77156658B SCREW TCEIF M6X16 1 22 71615791AA SPACER 1
DRAWING
GROUP
DRAWING 032 - FUEL TANK GROUP FRAME MULTISTRADA V2 S TRAVEL USA /24 D21000024 Page 128 / 190 SPARE PARTS CATALOGUE 25/12/2023
GROUP FRAME SPARE PARTS CATALOGUE 25/12/2023 Page 129 / 190 MULTISTRADA V2 S TRAVEL USA /24 D21000024 POS. CODE DESCRIPTION QTY VALIDITY NOTES 1 77150478B SCREW TCEI M5X30 6 3 86611091A PAD 4 4 85211961B WASHER 6.4X25X1.5 2 5 72050318C SCREW 4 6 77210631A SCREW TEF M6X20 3 7 82717471A LEFT PLATE 1 8 82717481A RIGHT PLATE 1 9 59210212G FUEL LEVEL GAUGE 1 10 77150648B SCREW TCEI M6X14 2 11 8291F531B BRACKET, FUEL TANK REAR 1 13 7791A611AA BOLT, ADJUSTER 2 14 74750071A NUT 2 15 85250211A WASHER 3 16 86640091A GASKET, CAP 1
DRAWING 032 - FUEL TANK
DRAWING 033 - SEAT GROUP FRAME MULTISTRADA V2 S TRAVEL USA /24 D21000024 Page 130 / 190 SPARE PARTS CATALOGUE 25/12/2023
DRAWING 033 - SEAT GROUP FRAME SPARE PARTS CATALOGUE 25/12/2023 Page 131 / 190 MULTISTRADA V2 S TRAVEL USA /24 D21000024 POS. CODE DESCRIPTION QTY VALIDITY NOTES 1 595P2521AG PILLION RIDER SEAT 1 2 59513581AA SEAT 1 3 86610611A RUBBER PAD 8 4 82714821A PLATE 1 5 75011551A NUT M22X1.5 1 6 59820611A 1 7 69720362A TOOL BAG 1 8 91376881AR OWNER'S MANUAL 1 ARABIC 91376881BG OWNER'S MANUAL 1 BULGARIAN 91376881CA OWNER'S MANUAL 1 CANADIAN / FRENCH 91376881CS OWNER'S MANUAL 1 CZECH 91376881DA OWNER'S MANUAL 1 DANISH 91376881DE OWNER'S MANUAL 1 GERMAN 91376881EL OWNER'S MANUAL 1 GREEK 91376881EN OWNER'S MANUAL 1 ENGLISH 91376881ES OWNER'S MANUAL 1 SPANISH 91376881FI OWNER'S MANUAL 1 FINNISH 91376881FR OWNER'S MANUAL 1 FRENCH 91376881HR OWNER'S MANUAL 1 CROATIAN 91376881HU OWNER'S MANUAL 1 HUNGARIAN 91376881IT OWNER'S MANUAL 1 ITALIAN 91376881JA OWNER'S MANUAL 1 JAPANESE 91376881KO OWNER'S MANUAL 1 KOREAN 91376881MX OWNER'S MANUAL 1 MEXICAN 91376881NL OWNER'S MANUAL 1 DUTCH 91376881NO OWNER'S MANUAL 1 NORWEGIAN 91376881PL OWNER'S MANUAL 1 POLISH 91376881PT OWNER'S MANUAL 1 PORTUGUESE 91376881RO OWNER'S MANUAL 1 ROMANIAN 91376881RU OWNER'S MANUAL 1 RUSSIAN 91376881SK OWNER'S MANUAL 1 SLOVAK 91376881SL OWNER'S MANUAL 1 SLOVENIAN 91376881SV OWNER'S MANUAL 1 SWEDISH 91376881US OWNER'S MANUAL 1 USA 91376881ZH OWNER'S MANUAL 1 TRADITIONAL CHINESE
DRAWING 033 - SEAT GROUP FRAME MULTISTRADA V2 S TRAVEL USA /24 D21000024 Page 132 / 190 SPARE PARTS CATALOGUE 25/12/2023
DRAWING 033 - SEAT GROUP FRAME SPARE PARTS CATALOGUE 25/12/2023 Page 133 / 190 MULTISTRADA V2 S TRAVEL USA /24 D21000024 POS. CODE DESCRIPTION QTY VALIDITY NOTES 91376901AR OWNER'S MANUAL 1 ARABIC 91376901BG OWNER'S MANUAL 1 BULGARIAN 91376901CA OWNER'S MANUAL 1 CANADIAN / FRENCH 91376901CS OWNER'S MANUAL 1 CZECH 91376901DA OWNER'S MANUAL 1 DANISH 91376901DE OWNER'S MANUAL 1 GERMAN 91376901EL OWNER'S MANUAL 1 GREEK 91376901EN OWNER'S MANUAL 1 ENGLISH 91376901ES OWNER'S MANUAL 1 SPANISH 91376901FI OWNER'S MANUAL 1 FINNISH 91376901FR OWNER'S MANUAL 1 FRENCH 91376901HR OWNER'S MANUAL 1 CROATIAN 91376901HU OWNER'S MANUAL 1 HUNGARIAN 91376901IT OWNER'S MANUAL 1 ITALIAN 91376901JA OWNER'S MANUAL 1 JAPANESE 91376901KO OWNER'S MANUAL 1 KOREAN 91376901MX OWNER'S MANUAL 1 MEXICAN 91376901NL OWNER'S MANUAL 1 DUTCH 91376901NO OWNER'S MANUAL 1 NORWEGIAN 91376901PL OWNER'S MANUAL 1 POLISH 91376901PT OWNER'S MANUAL 1 PORTUGUESE 91376901RO OWNER'S MANUAL 1 ROMANIAN 91376901RU OWNER'S MANUAL 1 RUSSIAN 91376901SK OWNER'S MANUAL 1 SLOVAK 91376901SL OWNER'S MANUAL 1 SLOVENIAN 91376901SV OWNER'S MANUAL 1 SWEDISH 91376901US OWNER'S MANUAL 1 USA 91376901ZH OWNER'S MANUAL 1 TRADITIONAL CHINESE 91376911EN OWNER'S MANUAL 1 ENGLISH / AUSTRALIAN 9 77914982B SCREW, SPECIAL 2 10 59810241A LOCK LATCH 1 11 83019951A BRACKET 1 12 77440061A SCREW, TAPPING 2 13 8291E012A SPACER 1 14 77240273C SCREW 2
DRAWING 034 - COWLING [XCO:R] GROUP FRAME MULTISTRADA V2 S TRAVEL USA /24 D21000024 Page 134 / 190 SPARE PARTS CATALOGUE 25/12/2023
DRAWING 034 - COWLING [XCO:R]
FRAME SPARE PARTS CATALOGUE 25/12/2023 Page 135 / 190 MULTISTRADA V2 S TRAVEL USA /24 D21000024 POS. CODE DESCRIPTION QTY VALIDITY NOTES 1 48113483BA COWLING RED 1 XCO:R 2 86612121A LEFT PAD 1 3 86612161A RUBBER PAD 2 4 77211091C SCREW 13 5 43513501A EMBLEM DUCATI 2 6 48016931A LOWER PANEL 1 7 85640151A ROUND QUICK LOCK 2 8 86612131A RIGHT PAD 1 9 48016922A COVER, RADIATOR, LH 1 10 48018791A COVER HANDSFREE 1 11 85040471A QUICK FASTENING M5 3 12 48016912A COVER, RADIATOR, RH 1 13 77440171A SCREW, TAPPING 4 14 48016942A BAFFLE 1 15 85611361A WASHER 4 16 48016902AC DUCT, AIR BLACK 1 17 43819301A STICKER DUCATI 1 18 79111231B GASKET 1 19 43314281A TARGHETTA ATTENZIONE 1
GROUP
DRAWING 034 - COWLING [XCO:TBST] GROUP FRAME MULTISTRADA V2 S TRAVEL USA /24 D21000024 Page 136 / 190 SPARE PARTS CATALOGUE 25/12/2023
DRAWING 034 - COWLING [XCO:TBST]
FRAME SPARE PARTS CATALOGUE 25/12/2023 Page 137 / 190 MULTISTRADA V2 S TRAVEL USA /24 D21000024 POS. CODE DESCRIPTION QTY VALIDITY NOTES 1 48113483BJ COWLING BLACK 1 2 86612121A LEFT PAD 1 3 86612161A RUBBER PAD 2 4 77211091C SCREW 13 5 43513501A EMBLEM DUCATI 2 6 48016931A LOWER PANEL 1 7 85640151A ROUND QUICK LOCK 2 8 86612131A RIGHT PAD 1 9 48016922A COVER, RADIATOR, LH 1 10 48018791A COVER HANDSFREE 1 11 85040471A QUICK FASTENING M5 3 12 48016912A COVER, RADIATOR, RH 1 13 77440171A SCREW, TAPPING 4 14 48016942A BAFFLE 1 15 85611361A WASHER 4 16 48016902AC DUCT, AIR BLACK 1 17 43819301A STICKER DUCATI 1 18 79111231B GASKET 1 19 43314281A TARGHETTA ATTENZIONE 1 20 4381H631A 1 21 4381H641A 1
GROUP
DRAWING 035 - SIDE PANNIERS GROUP FRAME MULTISTRADA V2 S TRAVEL USA /24 D21000024 Page 138 / 190 SPARE PARTS CATALOGUE 25/12/2023
DRAWING 035 - SIDE PANNIERS
FRAME SPARE PARTS CATALOGUE 25/12/2023 Page 139 / 190 MULTISTRADA V2 S TRAVEL USA /24 D21000024 POS. CODE DESCRIPTION QTY VALIDITY NOTES 1 69812245AA R.H. PANNIER COMPLETE "RED" 1 XCO:R 2 69812255AA L.H. PANNIER COMPLETE "RED" 1 XCO:R 3 86611951A RIGHT PAD 1 4 83019871AA BRACKET BOTTOM R.H. 1 5 86611961A LEFT PAD 1 6 83019881AA BRACKET BOTTOM L.H. 1 7 77156678B SCREW TCEIF M6X20 4
GROUP
DRAWING 036 - CANISTER FILTER GROUP FRAME MULTISTRADA V2 S TRAVEL USA /24 D21000024 Page 140 / 190 SPARE PARTS CATALOGUE 25/12/2023
CANISTER FILTER
FRAME SPARE PARTS CATALOGUE 25/12/2023 Page 141 / 190 MULTISTRADA V2 S TRAVEL USA /24 D21000024 POS. CODE DESCRIPTION QTY VALIDITY NOTES 1 74910021A NUT, CAP M6 2 2 8271F191AA BRACKET, CANISTER 1 3 76410291A RUBBER PAD 2 4 74140581A CLAMP 6 5 81441021A UNION 1 6 77550131A SCREW 2 7 42610351A CANISTER FILTER 1 42610741A CANISTER FILTER 1 8 83019462AA BRACKET 1 9 65540101A VALVE, BREATHER 1 10 81441041A THREE-WAYS UNION 1 11 74140641A CLAMP 2 12 71610431C SPACER 2 13 59017831A BREATHER PIPE 1 14 86612211A PAD 2 15 74140431A CLAMP 2 16 81415801A UNION 2 17 59014671A HOSE, DRAIN 1 18 59014681A HOSE, DRAIN 1 19 59018121A HOSE 1 20 59018261A HOSE 1 21 74140571A CLAMP 2 22 74140631A CLAMP 4 23 77214291AB SCREW, SPECIAL 2 24 46016701A COVER 1 25 59014771A HOSE 1 26 77210471B SCREW TEF M5X12 1 27 77210591A SCREW TEF M6X10 1 28 935Z0101A HOSE 1 29 93512451A HOSE 1 30 93512471A HOSE 1 31 93512461A HOSE 1
DRAWING 036 -
GROUP
DRAWING 037 - LABEL, WARNING GROUP FRAME MULTISTRADA V2 S TRAVEL USA /24 D21000024 Page 142 / 190 SPARE PARTS CATALOGUE 25/12/2023
DRAWING 037 - LABEL, WARNING GROUP FRAME SPARE PARTS CATALOGUE 25/12/2023 Page 143 / 190 MULTISTRADA V2 S TRAVEL USA /24 D21000024 POS. CODE DESCRIPTION QTY VALIDITY NOTES 1 43311651A LABEL, WARNING SCREEN 1 2 43311701A LABEL, HELMET HOLDER 1 3 43311641A LABEL WARNING FUEL TANK 1 4 43311661A LABEL WARNING MIRROR 1
DRAWING 19A - SECONDARY AIR SYSTEM GROUP FRAME MULTISTRADA V2 S TRAVEL USA /24 D21000024 Page 144 / 190 SPARE PARTS CATALOGUE 25/12/2023
19A - SECONDARY AIR SYSTEM GROUP FRAME SPARE PARTS CATALOGUE 25/12/2023 Page 145 / 190 MULTISTRADA V2 S TRAVEL USA /24 D21000024 POS. CODE DESCRIPTION QTY VALIDITY NOTES 1 8291D511A HOLDER 1 2 87611301A PIPE 1 3 87611321A DUCT, AIR 1 4 77440321A SCREW, TAPPING 1 5 74142401A CLAMP 4 6 65540081A ACTUATOR 1 7 74142371A CLAMP 2 8 87611411A DUCT, AIR 1
DRAWING
DRAWING 21A - FRONT FORK GROUP FRAME MULTISTRADA V2 S TRAVEL USA /24 D21000024 Page 146 / 190 SPARE PARTS CATALOGUE 25/12/2023
DRAWING 21A - FRONT FORK
FRAME SPARE PARTS CATALOGUE 25/12/2023 Page 147 / 190 MULTISTRADA V2 S TRAVEL USA /24 D21000024 POS. CODE DESCRIPTION QTY VALIDITY NOTES 3 34921981A FORK OUTER TUBE 2 4 34913871A BUSH 2 5 34922731A COMPLETE RIGHT SLIDER 1 6 34913861A SCREW 4 7 34913811A WASHER 2 8 34914661A SCREW 1 9 34914911A SPRING 2 10 34914671A RIGHT SPACER 1 11 34921361B PLUG, RH 1 12 34922721A CYLINDER-SET-FORK, RH 1 13 34922181A OVERHAUL KIT 2 14 34922711A COMPLETE LEFT SLIDER 1 15 34921361A PLUG 1 16 34913831A WASHER 3 17 34922701A CYLINDER-SET-FORK, LH 1 18 34922141A SEAL KIT 2 19 34913851A RING NUT 1 20 52910221A REFLECTOR, ADHESIVE AMBER 2 21 34913941A BUSH 1 22 34913931A BUSH 1 23 34914711A SCREW 1
GROUP
DRAWING 21B - STEERING HEAD BASE ASSEMBLY GROUP FRAME MULTISTRADA V2 S TRAVEL USA /24 D21000024 Page 148 / 190 SPARE PARTS CATALOGUE 25/12/2023
BASE ASSEMBLY
FRAME SPARE PARTS CATALOGUE 25/12/2023 Page 149 / 190 MULTISTRADA V2 S TRAVEL USA /24 D21000024 POS. CODE DESCRIPTION QTY VALIDITY NOTES 1 74750071A NUT 2 2 77910991B SCREW 2 3 34221141AA STEERING HEAD BASE 1 34221141AB STEERING HEAD BASE 1 XCO:TBST 4 77156718B SCREW TCEIF 4 5 93010041B SEAL RING 2 6 70241231A BEARING, STEERING NTN SF07A17P 2 7 77211091A SCREW TBEI M5X12 3 8 4601C522A MUDFLAP 1 9 77157288B SCREW TCEIF M8X35 4 10 70011131A VIBRATION DAMPER 2 11 85211031AB WASHER 1 12 70310131A THREAD, STEERING HEAD TOP 1 13 77157278B SCREW TCEIF M8X30 5 14 36011792AA HOLDER, HANDLE LOWER 1 36011792AB HOLDER, HANDLE LOWER 1 XCO:TBST 15 77159414B SCREW 2 16 85350111A WASHER, SPRING 2 17 36011781AA HANDLEBAR BRACKET, UPPER 1 36011781AB HANDLEBAR BRACKET, UPPER 1 XCO:TBST 18 34111671AA STEERING HEAD 1 34111671AB STEERING HEAD 1 XCO:TBST
DRAWING 21B - STEERING HEAD
GROUP
DRAWING 22A - SIDE STAND GROUP FRAME MULTISTRADA V2 S TRAVEL USA /24 D21000024 Page 150 / 190 SPARE PARTS CATALOGUE 25/12/2023
22A - SIDE STAND GROUP FRAME SPARE PARTS CATALOGUE 25/12/2023 Page 151 / 190 MULTISTRADA V2 S TRAVEL USA /24 D21000024 POS. CODE DESCRIPTION QTY VALIDITY NOTES 1 77917241AA SCREW 1 3 79921602A COMPLETE SPRING 1 4 79915081A INNER SPRING 1 5 74940321A NUT 1 6 82114923AA AXLE, SIDE STAND 1 7 53910351A SWITCH, STAND 1 8 77919891AA SCREW, SPECIAL 2 9 55510931AA STAND, MAIN 1 10 86611001B PAD 2 11 82113581A PIN 1 12 79925121B COMPLETE SPRING 1 13 79915271A INNER SPRING 1
DRAWING
DRAWING 24A - BRAKING SYSTEM ABS GROUP FRAME MULTISTRADA V2 S TRAVEL USA /24 D21000024 Page 152 / 190 SPARE PARTS CATALOGUE 25/12/2023
24A - BRAKING SYSTEM ABS
FRAME SPARE PARTS CATALOGUE 25/12/2023 Page 153 / 190 MULTISTRADA V2 S TRAVEL USA /24 D21000024 POS. CODE DESCRIPTION QTY VALIDITY NOTES 1 55212111B SENSOR, SPEED 2 2 75840601A FAIRLEAD 12 3 76410241A VIBRATION DAMPER PAD 2 4 54240744A CONTROL UNIT ABS 1 5 61811611A CPU - FRONT CALIPERS LINE 1 6 85250241A WASHER 10X14X1 4 7 77913662AB SCREW, SPECIAL 2 8 61811531A FRONT MASTER CYLINDER - CPU LINE 1 9 77913141B SCREW, SPECIAL 2 10 85250261B GASKET 4 11 61911461A CPU-REAR CALIPER LINE 1 12 61911471A REAR MASTER CYLINDER-CPU LINE 1 13 71314901A GASKET TH.02 2 71319201A GASKET 0.5 MM 6 14 8301A982AA BRACKET 1 15 77210601A SCREW TEF M6X16 2 16 77156653B SCREW 2 17 48018331A CAP LH 1 18 85240181A WASHER 2 19 86640051A RUBBER PAD 1 20 85044691A QUICK FASTENING 1 21 4601C581A PROTECTION SHEATH 1 22 8291A891A BRACKET 1 23 55215502B ACCELEROMETER 1 24 71114113AA BUSH 2 25 77240343C SCREW 2
DRAWING
GROUP
DRAWING 27C - FOOTRESTS, LEFT GROUP FRAME MULTISTRADA V2 S TRAVEL USA /24 D21000024 Page 154 / 190 SPARE PARTS CATALOGUE 25/12/2023
27C - FOOTRESTS, LEFT GROUP FRAME SPARE PARTS CATALOGUE 25/12/2023 Page 155 / 190 MULTISTRADA V2 S TRAVEL USA /24 D21000024 POS. CODE DESCRIPTION QTY VALIDITY NOTES 1 82423341BA FRONT L.H. PLATE 1 2 77351568C SCREW 2 3 77110401A SCREW TCEIF M6X18 1 4 45612372AA GEAR CONTROL LEVER 1 5 77156688B SCREW TCEIF 2 6 55215491E Quick Shift 1 7 82111701CA PIN PEDAL 1 8 45622362AA GEARCHANGE LEVER 1 9 76411321C RUBBER PAD 1 10 71210341A BUSH 1 11 88641161A O-RING 2 12 85211511A WASHER 1 13 85211561A SPRING WASHER 8.1X14X1 2 14 82119351AA FOOTREST PIN 2 15 79916201AA SPRING. FOOTREST 1 16 46411171AA LEFT FOOTREST 2 17 76510231A INSERT 1 18 77157283B SCREW TCEIF M8X35 8.8 2 19 82412631BB REAR L.H. PLATE 1 20 69610251A SPRING RETAINER 1 21 79910241A SPRING 1 22 84740021A BALL 1 23 87240561A PLUG 2 24 74941118B NUT 6MM 2 25 74750101A NUT 6MM 1 26 84850021A BALL JOINT 1 27 68540011A COTTER PIN 2 28 76510251A FOOT PEG COVER 1
DRAWING
DRAWING 27D - FOOTRESTS, RIGHT GROUP FRAME MULTISTRADA V2 S TRAVEL USA /24 D21000024 Page 156 / 190 SPARE PARTS CATALOGUE 25/12/2023
27D - FOOTRESTS, RIGHT GROUP FRAME SPARE PARTS CATALOGUE 25/12/2023 Page 157 / 190 MULTISTRADA V2 S TRAVEL USA /24 D21000024 POS. CODE DESCRIPTION QTY VALIDITY NOTES 1 82422892AA FRONT R.H. PLATE 1 2 77351568C SCREW 2 3 85211561A SPRING WASHER 8.1X14X1 2 4 82119351AA FOOTREST PIN 2 5 79916201AA SPRING. FOOTREST 1 6 46411161AA RIGHT FOOTREST 2 7 76510221A INSERT 1 8 77157283B SCREW TCEIF M8X35 8.8 2 9 82413131BB REAR R.H. PLATE 1 10 69610251A SPRING RETAINER 1 11 79910241A SPRING 1 12 84740021A BALL 1 13 87240561A PLUG 3 14 68540011A COTTER PIN 2 15 76510241A FOOT PEG COVER 1
DRAWING
DRAWING 28A - SWING ARM GROUP FRAME MULTISTRADA V2 S TRAVEL USA /24 D21000024 Page 158 / 190 SPARE PARTS CATALOGUE 25/12/2023
GROUP FRAME SPARE PARTS CATALOGUE 25/12/2023 Page 159 / 190 MULTISTRADA V2 S TRAVEL USA /24 D21000024 POS. CODE DESCRIPTION QTY VALIDITY NOTES 1 71140021A BUSH WITH COLLAR 2 2 36911361B AXLE, REAR SWING ARM 1 3 44711572A LOWER CHAIN SLIDING SHOE 1 4 77210841BA SCREW 4 5 74840341B NUT M8 2 6 37011955BB REAR SWINGING ARM 1 7 80810461A CLAMP 2 8 85210011B THRUST WASHER 20.5X36X1.8 MM 2 85210021B THRUST WASHER 20.5X36X0.2 MM 2 85210031B THRUST WASHER 20.5X36X0.1 MM 2 9 77210941C SCREW 1 10 44712361A UPPER CHAIN SLIDING SHOE 1 11 44610311B CHAIN GUARD 1 12 37310871BA SLIDING SHOE 1 13 81910891AA REAR WHEEL SPINDLE 1 14 37310861BA SLIDING SHOE 1 15 56510852B REAR MUDGUARD 1 16 75011891AA NUT 1 17 71313882A WASHER, THRUST 1 18 75011251A NUT, SPECIAL M8 2 19 77913722AA SCREW, SPECIAL 2 20 87240441A CAP, SWINGARM COVER 3 21 43314411A CHAIN ADJUSTMENT STICKER 1 22 77214411BA SCREW, SPECIAL 7 23 4601D971A FAIRLEAD 1
DRAWING 28A - SWING ARM
DRAWING 32A - FUEL PUMP GROUP FRAME MULTISTRADA V2 S TRAVEL USA /24 D21000024 Page 160 / 190 SPARE PARTS CATALOGUE 25/12/2023
DRAWING 32A - FUEL PUMP GROUP FRAME SPARE PARTS CATALOGUE 25/12/2023 Page 161 / 190 MULTISTRADA V2 S TRAVEL USA /24 D21000024 POS. CODE DESCRIPTION QTY VALIDITY NOTES 1 42520031A REPAIR KIT 1 2 42520021A REPAIR KIT 1 3 77156398B SCREW TCEIF M5X12 5 4 79111131B GASKET 1 5 16024311B FUEL PUMP 1 6 16014853A BRACKET, FUEL PUMP 1
DRAWING 34A - FAIRING [XCO:R] GROUP FRAME MULTISTRADA V2 S TRAVEL USA /24 D21000024 Page 162 / 190 SPARE PARTS CATALOGUE 25/12/2023
DRAWING 34A - FAIRING [XCO:R]
FRAME SPARE PARTS CATALOGUE 25/12/2023 Page 163 / 190 MULTISTRADA V2 S TRAVEL USA /24 D21000024 POS. CODE DESCRIPTION QTY VALIDITY NOTES 1 79111182A GASKET, CAP 1 2 48026893AC PROTECTOR, FUEL TANK 1 XCO:R 3 92610321A GUARD 4 4 85212181A WASHER, NYLON 9X14X1 10 5 76411141A VIBRATION DAMPER PAD 2 6 85040471A QUICK FASTENING M5 24 7 480P9321AL COVER, RADIATOR, RH 1 XCO:R 8 78811841A GASKET 2 9 77244173B SCREW TBEI M5X12 10 10 77211121C SCREW, SPECIAL 2 11 48019303A RIGHT HOLDER 1 12 77240393C SCREW TBEIF M6X10 10.9 4 13 83019171AA BRACKET 2 14 76410481A VIBRATION DAMPER 2 15 71011301A SPINDLE, TAPER 2 16 48019313A LEFT HOLDER 1 17 480P9331AL COVER, RADIATOR, LH 1 XCO:R 18 43819461A EMBLEM ITALIAN FLAG 1 19 4381F141B LEFT STICKER 1 20 4381F151B RIGHT STICKER 1 21 77354628B SCREW 6 22 85041021A QUICK FASTENING M4 6 23 85010141A RUBBER PAD 6 24 86612111A CUSHION, SEAT 2 25 78811871A GASKET 2 26 85042242A DUAL LOCK 6 27 77214411AB SCREW 10
GROUP
DRAWING 34A - FAIRING [XCO:TBST] GROUP FRAME MULTISTRADA V2 S TRAVEL USA /24 D21000024 Page 164 / 190 SPARE PARTS CATALOGUE 25/12/2023
DRAWING 34A - FAIRING [XCO:TBST] GROUP FRAME SPARE PARTS CATALOGUE 25/12/2023 Page 165 / 190 MULTISTRADA V2 S TRAVEL USA /24 D21000024 POS. CODE DESCRIPTION QTY VALIDITY NOTES 1 79111182A GASKET, CAP 1 2 48026893AJ PROTECTOR, FUEL TANK BLACK 1 3 92610321A GUARD 4 4 85212181A WASHER, NYLON 9X14X1 10 5 76411141A VIBRATION DAMPER PAD 2 6 85040471A QUICK FASTENING M5 24 7 48019324AJ COVER, RADIATOR, RH 1 8 78811841A GASKET 2 9 77244173B SCREW TBEI M5X12 10 10 77211121C SCREW, SPECIAL 2 11 48019303A RIGHT HOLDER 1 12 77240393C SCREW TBEIF M6X10 10.9 4 13 83019171AA BRACKET 2 14 76410481A VIBRATION DAMPER 2 15 71011301A SPINDLE, TAPER 2 16 48019313A LEFT HOLDER 1 17 48019334AJ COVER, RADIATOR, LH NERO 1 18 43819461A EMBLEM ITALIAN FLAG 1 19 4381H571A LEFT STICKER V2S 1 20 4381H551A RIGHT STICKER V2S 1 21 77354628B SCREW 6 22 85041021A QUICK FASTENING M4 6 23 85010141A RUBBER PAD 6 24 86612111A CUSHION, SEAT 2 25 78811871A GASKET 2 26 85042242A DUAL LOCK 6 27 77214411AB SCREW 10 28 4381H581A 1 29 4381H561A 1 30 4381H591A 1 31 4381H601A 1
DRAWING 34B - FAIRING GROUP FRAME MULTISTRADA V2 S TRAVEL USA /24 D21000024 Page 166 / 190 SPARE PARTS CATALOGUE 25/12/2023
34B - FAIRING GROUP FRAME SPARE PARTS CATALOGUE 25/12/2023 Page 167 / 190 MULTISTRADA V2 S TRAVEL USA /24 D21000024 POS. CODE DESCRIPTION QTY VALIDITY NOTES 1 77914391C SCREW 4 2 85040551A QUICK FASTENING 6 3 77210943B SCREW, SPECIAL 2 4 77211251B SCREW M5X9 2 5 85611271A WASHER 4 6 92610051A GUARD 1 7 56416431B FRONT MUDGUARD 1 8 56416491A EXTENSION, FRONT FENDER 1 9 83019431AA BRACKET 1 10 85250311AB WASHER 2 11 77916371AB SCREW, SPECIAL 2 12 76411381A VIBRATION DAMPER PAD 2 13 77211281A SCREW TCEIF M5X20 2 14 71614252AB SPACER 2 15 76410841A VIBRATION DAMPER PAD 2 16 70010311A DAMPER 1 17 77210893B SCREW 1 18 77150638B SCREW TCEI M6X12 1 19 4601E103A GUARD, ENGINE 1 20 43713361A L.H. DECAL (DUCATI SAFETY PACK) 1 21 43713351A R.H. DECAL (DUCATI SAFETY PACK) 1 22 71611071A SPACER 1 23 85240081A TOOTHED LOCK WASHER 1 24 8301A961AA RIGHT BRACKET 1 25 77354713B SCREW TCEIR M5X10 DIN6912 8.8 1
DRAWING
DRAWING 34C - WINDSHIELD GROUP FRAME MULTISTRADA V2 S TRAVEL USA /24 D21000024 Page 168 / 190 SPARE PARTS CATALOGUE 25/12/2023
GROUP FRAME SPARE PARTS CATALOGUE 25/12/2023 Page 169 / 190 MULTISTRADA V2 S TRAVEL USA /24 D21000024 POS. CODE DESCRIPTION QTY VALIDITY NOTES 1 8291D752D STAY, WINDSHIELD 1 2 8291D761D HOLDER 1 3 82719111A PLATE 1 4 74640101A SPECIAL NUT 1 5 79915921AA SPRING 2 6 8291D863A ROD 1 7 48710822A WINDSHIELD 1 8 75840621A RUBBER PAD 3 9 77918092AA SCREW, SPECIAL 3 10 77919211BA SCREW, SPECIAL 2 11 85213101A WASHER 2 12 84820441A BALL JOINT 1 13 76410241A VIBRATION DAMPER PAD 2 14 85040381A QUICK FASTENING 6 15 48111193C STAY, WINDSHIELD 1 16 86610751A PAD 4 17 77240423C SCREW 6 18 77440251A SCREW 2
DRAWING 34C - WINDSHIELD
DRAWING 34E - SIDE BODY PANELS [XCO:R] GROUP FRAME MULTISTRADA V2 S TRAVEL USA /24 D21000024 Page 170 / 190 SPARE PARTS CATALOGUE 25/12/2023
DRAWING 34E - SIDE BODY PANELS [XCO:R]
FRAME SPARE PARTS CATALOGUE 25/12/2023 Page 171 / 190 MULTISTRADA V2 S TRAVEL USA /24 D21000024 POS. CODE DESCRIPTION QTY VALIDITY NOTES 1 48212691AA COVER FRAME RH RED 1 2 48222701AA COVER FRAME LH RED 1 3 77214411AA SCREW TCEIF M5X9 7 4 85212181A WASHER, NYLON 9X14X1 7 5 85040471A QUICK FASTENING M5 2 6 86610301B RUBBER PAD 1 7 86611221C PAD 1
GROUP
DRAWING 34E - SIDE BODY PANELS [XCO:TBST] GROUP FRAME MULTISTRADA V2 S TRAVEL USA /24 D21000024 Page 172 / 190 SPARE PARTS CATALOGUE 25/12/2023
DRAWING 34E - SIDE BODY PANELS [XCO:TBST]
FRAME SPARE PARTS CATALOGUE 25/12/2023 Page 173 / 190 MULTISTRADA V2 S TRAVEL USA /24 D21000024 POS. CODE DESCRIPTION QTY VALIDITY NOTES 1 48212691AC COVER , FRAME RH 1 2 48222701AC COVER , FRAME LH 1 3 77214411AA SCREW TCEIF M5X9 7 4 85212181A WASHER, NYLON 9X14X1 7 5 85040471A QUICK FASTENING M5 2 6 86610301B RUBBER PAD 1 7 86611221C PAD 1 8 4381H611A ITA FLAG STICKER RH 1 9 4381H621A ITA FLAG STICKER LH 1
GROUP
DRAWING 35A - LEFT PANNIER GROUP FRAME MULTISTRADA V2 S TRAVEL USA /24 D21000024 Page 174 / 190 SPARE PARTS CATALOGUE 25/12/2023
35A - LEFT PANNIER
FRAME SPARE PARTS CATALOGUE 25/12/2023 Page 175 / 190 MULTISTRADA V2 S TRAVEL USA /24 D21000024 POS. CODE DESCRIPTION QTY VALIDITY NOTES 1 43819301A STICKER DUCATI 1 2 69812265A COVER INTERNAL L.H. 1 3 69812271A LEFT COVER 1 4 69812301B HOOK 1 5 69812313A FORK 1 6 69812351A COVER EXTERNAL L.H. 1 7 69812371BB CAP L.H. RED 1 XCO:R 8 69822423A PANNIER LOCK KIT L.H. 1 9 69912111A SERIES OF BELTS 1 10 69912101A PANNIER LOCKS KIT 1 11 43314222A TARGHETTA CARICO E VELOCITA' BORSE 1 12 69916801A SLIDING BLOCK 1
DRAWING
GROUP
DRAWING 35B - RIGHT PANNIER GROUP FRAME MULTISTRADA V2 S TRAVEL USA /24 D21000024 Page 176 / 190 SPARE PARTS CATALOGUE 25/12/2023
DRAWING 35B - RIGHT PANNIER GROUP FRAME SPARE PARTS CATALOGUE 25/12/2023 Page 177 / 190 MULTISTRADA V2 S TRAVEL USA /24 D21000024 POS. CODE DESCRIPTION QTY VALIDITY NOTES 1 43819301A STICKER DUCATI 1 2 4601C132A HEAT GUARD R.H. 1 3 69812282A COVER INTERNAL R.H. 1 4 69812291A RIGHT COVER 1 5 69812321B HOOK 1 6 69812333A FORK 1 7 69812341A COVER EXTERNAL (R.H. 1 8 69812361BB CAP R.H. RED 1 XCO:R 9 77240408C SCREW 6 10 85211911A WASHER 6.4X16X1.5 6 11 69822413A PANNIER LOCK KIT R.H. 1 12 69912111A SERIES OF BELTS 1 13 69912101A PANNIER LOCKS KIT 1 14 43314222A TARGHETTA CARICO E VELOCITA' BORSE 1 15 69916791A SLIDING BLOCK 1
ALPHANUMERIC INDEX MULTISTRADA V2 S TRAVEL USA /24 D21000024 Page 178 / 190 SPARE PARTS CATALOGUE 25/12/2023 CODE NO. TABLE POS. 040009050 002 21 040029126 002 17 066549680 005 2 069191030 18B 11 11210121AA 006 8 11210121AB 006 8 11210121AC 006 8 11210121AE 006 8 11210122AD 006 8 11210791A0 10A 10 11210791AA 10A 10 11210791AB 10A 10 11210791AC 10A 10 11210791AD 10A 10 11210791AE 10A 10 11723581A 025 18 11723691A 004 16 120P3121AI 007 5 120P3131AI 007 10 12110781C 007 3 12110791A 007 2 12120822A 007 4 12222262G 007 1 12222262GA 007 1 12222262GB 007 1 12222262GC 007 1 13510401A 017 3 14010842C 13A 25 14010842C 13B 25 14622162CA 006 1 14622162CB 006 1 14622162CC 006 1 14622162CE 006 1 14710811A 008 3 14710951B 010 3 14824222A 13B 15 14824232A 13A 11 14824242A 13B 14 14824252A 13A 18 14911101A 003 2 14911191A 003 12 15021962B 003 3 15021971A 003 16 15310301AA 021 14 CODE NO. TABLE POS. 15622261BA 006 5 15622261BB 006 5 15622261BC 006 5 15622261BE 006 5 16010941A 13A 10 16010941A 13B 10 16014853A 32A 6 16016371A 012 13 16022501A 026 23 16024311B 32A 5 17011751A 004 17 17122421A 008 13 17210021B 003 10 17210081C 003 22 17210103C 003 20 17210113C 003 23 17212182A 003 18 17212192A 003 13 17214621A 003 21 17214951B 003 8 17214961B 003 5 17214971B 003 9 173Z0021A 012 14 17410621B 009 1 17420591A 010 4 176Z0021A 012 10 18020511A 002 6 180Z0031A 002 11 180Z0041A 002 12 18210781A 002 8 18220772A 002 9 18710021A 023 3 18710021A 024 2 19020591A 004 9 19410751A 004 4 19510411D 023 23 19540081B 023 2 19611011A 004 12 19611021A 004 11 19820661A 004 14 20810321A 014 3 20810321A 015 3 20910491A 014 16 20910491A 015 16 CODE NO. TABLE POS. 20910501A 014 4 20910501A 015 4 21010991A 014 14 21010991A 015 14 21110991A 014 5 21110991A 015 5 22032083A 010 5 225P0171A 010 1 24221551A5 011 1 24311691A5 005 1 24511271A 008 1 24511281A 008 10 24511431A 008 2 24521071A 008 21 24713571AO 011 23 24714141AC 13B 5 24714151AC 13A 6 24714161A 13B 20 24714171A 13A 20 24714612A 010 7 24714932A 029 13 24714951A 029 12 24714984A 27A 6 24725241BI 011 4 25120131A 011 7 25440014A 005 3 25510104B 008 18 25510193A 13A 7 25510193A 13B 7 26420541A 012 12 27040107A 012 1 27611201B 012 16 28040441A 017 1 28240952A 017 8 28240953A 017 8 28643291C 18A 1 30124851DI 015 22 30124861DI 014 22 30310631BB 014 7 30310631BB 015 7 30310631BC 014 7 30310631BC 015 7 30310631BD 014 7 30310631BD 015 7 CODE NO. TABLE POS. 30411001AB 014 13 30411001AB 015 13 30411001AC 014 13 30411001AC 015 13 30411011BB 014 10 30411011BB 015 10 30411011BC 014 10 30411011BC 015 10 34111671AA 21B 18 34111671AB 21B 18 34221141AA 21B 3 34221141AB 21B 3 34913811A 21A 7 34913831A 21A 16 34913851A 21A 19 34913861A 21A 6 34913871A 21A 4 34913931A 21A 22 34913941A 21A 21 34914661A 21A 8 34914671A 21A 10 34914711A 21A 23 34914911A 21A 9 34921361A 21A 15 34921361B 21A 11 34921981A 21A 3 34922141A 21A 18 34922181A 21A 13 34922701A 21A 17 34922711A 21A 14 34922721A 21A 12 34922731A 21A 5 36011781AA 21B 17 36011781AB 21B 17 36011792AA 21B 14 36011792AB 21B 14 36012301AA 021 7 36911361B 28A 2 37011955BB 28A 6 37310861BA 28A 14 37310871BA 28A 12 38040251A 18C 13 38511473A 018 3 38511483A 018 3
ALPHANUMERIC INDEX SPARE PARTS CATALOGUE 25/12/2023 Page 179 / 190 MULTISTRADA V2 S TRAVEL USA /24 D21000024 CODE NO. TABLE POS. 38511581A 018 3 38511591A 018 3 38540073B 018 4
18B 25
18B 26
18B 21 38640132A 18E 7 38640591A 18B 19 38940191A 18B 3 38940201A 18B 3 38940211A 18B 3 38940221A 18B 3 38940231A 018 36 38940241A 18B 3 38940261A 18B 3 39040211A 20A 12 39740081B 018 32 40611963B 20B 1 40611964A 20B 1 40611972B 20B 1
20B 1 42020064A 016 6 42520021A 32A 2 42520031A 32A 1 42610341B 029 11 42610351A 036 7 42610741A 036 7 43311641A 037 3 43311651A 037 1 43311661A 037 4 43311701A 037 2 43313912A 005 15 43314222A 35A 11 43314222A 35B 14 43314281A 034 19 43314281A 034 19 43314411A 28A 21 43513501A 034 5 43513501A 034 5 43713351A 34B 21 43713361A 34B 20 43819301A 027 24 43819301A 034 17 43819301A 034 17 CODE NO. TABLE POS. 43819301A 35A 1 43819301A 35B 1 43819461A 34A 18 43819461A 34A 18 4381E001B 026 39 4381E011B 026 40 4381F141B 34A 19 4381F151B 34A 20
34A 20 4381H561A 34A 29
34A 19
34A 28 4381H591A 34A 30 4381H601A 34A 31 4381H611A 34E 8 4381H621A 34E 9 4381H631A 034 20 4381H641A 034 21 44217731A 029 14 44218441A 029 17 44440039A 10A 3 44610311B 28A 11 44711572A 28A 3 44712361A 28A 10 44910591A 026 37 44910792A 026 37 45110462A 13A 15 45110462A 13B 11 45120311C 008 4 45120321B 008 9 45520192A 010 8 45612372AA 27C 4 45622362AA 27C 8 45720771BA 025 6 46016701A 036 24 46017351A 021 27 46017361A 021 19 4601C132A 35B 2 4601C282A 021 20 4601C292A 021 25 4601C321A 019 21 4601C332A 019 20 4601C522A 21B 8 4601C581A 24A 21 CODE NO. TABLE POS. 4601C741A 018 28 4601D062A 027 21 4601D072A 027 20 4601D221BA 018 39 4601D401A 019 40 4601D441A 018 43 4601D451A 018 41 4601D461A 018 42 4601D471A 018 44 4601D971A 28A 23 4601E103A 34B 19 4601E281A 27A 19 4601F142A 026 31 4601F281A 024 27 4601H701A 016 14 4601L831A 18E 20 4601M131AA 019 30 46320222A 010 10 46320537A 003 14 46411161AA 27D 6 46411171AA 27C 16 47110523CB 027 17 47110812AB 027 1 47317902AA 025 7 48016902AC 034 16 48016902AC 034 16 48016912A 034 12 48016912A 034 12 48016922A 034 9 48016922A 034 9 48016931A 034 6 48016931A 034 6 48016942A 034 14 48016942A 034 14 48018331A 24A 17 48018791A 034 10 48018791A 034 10 48019303A 34A 11 48019303A 34A 11 48019313A 34A 16 48019313A 34A 16 48019324AJ 34A 7 48019334AJ 34A 17 48026893AC 34A 2 CODE NO. TABLE POS. 48026893AJ 34A 2 480P9321AL 34A 7 480P9331AL 34A 17 48111193C 34C 15 48113483BA 034 1 48113483BJ 034 1 48212691AA 34E 1 48212691AC 34E 1 48222701AA 34E 2 48222701AC 34E 2 48610992A 029 9 48611081A 029 8 48612611A 005 4 48710822A 34C 7 490P0270A A2 9 490P0270A C4 1 490P0303A A2 7 490P0303A S 1 490PE255A A2 1 490PE255A B2 1 490PE323A A2 3 490PE323A C2 1 490PE333A A2 5 490PE333A D2 1 491P0290A A2 10 491P0290A C4 2 491P0353A A2 8 491P0353A S 2 491PE263A A2 2 491PE263A B2 2 491PE327A A2 4 491PE327A C2 2 491PE336A A2 6 491PE336A D2 2 49241531A 026 16 49241551A 026 5 49411781AB 026 27 49720071AC 026 3 50122532AA 026 10 50122532AC 026 10 50222291AA 026 7 50222291AC 026 7 504Z0381AA 026 12 5101A252A 18B 16
38620061A
38620081A
38640132A
40611973A
4381H551A
4381H571A
4381H581A
ALPHANUMERIC INDEX MULTISTRADA V2 S TRAVEL USA /24 D21000024 Page 180 / 190 SPARE PARTS CATALOGUE 25/12/2023 CODE NO. TABLE POS. 5101A262A 18B 7 5101B164A 18B 17 5101G703C 18B 1 51310302C 018 34 51410761D 018 35 51610053C 030 10 51840251A 18E 4 52010312C 020 1 52310682B 021 9 52310692B 021 8 52510433D 20A 6 52510523B 20A 4 52910101A 27A 7 52910221A 21A 20 53010226A 20A 8 53010236A 20A 11 53010342A 021 18 53010352A 021 26 53910351A 22A 7 53940035B 025 5 53940302A 016 12 53940771A 023 20 53940801A 024 5 54040331A 018 2 54140101A 18B 2 54240744A 24A 4 54810563A 030 1 54811231A 016 1 54911142A 016 9 54911191A 016 7 55040401A 030 12 55040411A 030 13 55212111B 24A 1 55214491B 019 5 55215491E 27C 6 55215502B 24A 23 55215512B 024 30 55240121A 18A 9 55240121A 18E 3 55241321C 10A 14 55242671A 015 29 55243161B 18A 2 55243241A 028 5 55243911A 002 10 CODE NO. TABLE POS. 55243942A 011 8 55340041A 031 1 55510931AA 22A 9 55910172A 027 19 56110271A 27A 9 56113253A 27A 15 56416431B 34B 7 56416491A 34B 8 56510852B 28A 15 57014703A 019 2 57114693A 019 1 57314184A 019 6 57314192AA 019 32 57610671A 019 7 58510931A 031 12 58511041A 029 6 58540151A 025 26 58540341A 024 15 58540351A 023 12 59014541A 18A 3 59014551A 18A 4 59014671A 036 17 59014681A 036 18 59014771A 036 25 59017831A 036 13 59018121A 036 19 59018251A 029 16 59018261A 036 20 59024081C 017 7 59024081D 017 7 59210212G 032 9 59310601B 010 11 59310801B 010 59 59320641D 010 9 59340301C 019 23 59513581AA 033 2 595P2521AG 033 1 59810241A 033 10 59810361L 18E 16 59810371C 18E 15 59820611A 033 6 59821961A 18E 10 59821971N 18E 14 59821981R 18E 14 CODE NO. TABLE POS. 59840511A 18E 17 59840521A 18E 18 61041491C 024 9 61041501C 024 26 61041991A 023 25 61141623A 025 20 61240052A 023 4 61240052A 024 21 61240052A 025 15 61240201A 024 22 61240301A 025 29 61240311A 025 14 61240391A 023 19 61240391A 024 11 61240511A 024 13 61240611A 025 30 61321161A 025 13 61340121A 024 8 61811531A 24A 8 61811601A 024 20 61811611A 24A 5 61911461A 24A 11 61911471A 24A 12 62441431A 024 1 62540311B 025 16 62640561A 023 21 62640561A 024 6 63041001A 023 1 63140081A 023 9 63140081A 024 7 63140261A 025 25 63140601A 024 10 63140631A 023 18 63211021A 023 6 65010212C 021 2 65110291C 021 11 65540081A 19A 6 65540101A 036 9 66020152B 021 4 66910011E 014 6 66910011E 015 6 67040451A 18C 1 67110671E 18C 7 67110691D 18C 9 CODE NO. TABLE POS. 67621031A 026 35 67641121A 026 32 67740033A 026 33 68010131A 006 10 68010131A 008 16 68050061A 13A 12 68050061A 13B 12 68050101A 010 17 68540011A 27C 27 68540011A 27D 14 69610251A 27C 20 69610251A 27D 10 69720362A 033 7 69812245AA 035 1 69812255AA 035 2 69812265A 35A 2 69812271A 35A 3 69812282A 35B 3 69812291A 35B 4 69812301B 35A 4 69812313A 35A 5 69812321B 35B 5 69812333A 35B 6 69812341A 35B 7 69812351A 35A 6 69812361BB 35B 8 69812371BB 35A 7 69822413A 35B 11 69822423A 35A 8 69912101A 35A 10 69912101A 35B 13 69912111A 35A 9 69912111A 35B 12 69916791A 35B 15 69916801A 35A 12 69926751A 018 15 70010311A 34B 16 70010362A 010 18 70010591A 026 21 70010853A 018 14 70010901A 20B 2 70011131A 21B 10 70040251A 018 21 70140053A 003 4
ALPHANUMERIC INDEX SPARE PARTS CATALOGUE 25/12/2023 Page 181 / 190 MULTISTRADA V2 S TRAVEL USA /24 D21000024 CODE NO. TABLE POS. 70140211A 003 17 70140381A 010 28 70140491A 027 8 70140591A 012 11 70240091A 011 9 70240102A 011 10 70240131A 010 19 70240181B 012 15 70240381A 026 24 70240401B 010 20 70241231A 21B 6 70242211A 010 65 70242261A 010 27 70250081A 010 21 70250081A 011 2 70250193A 010 22 70250412A 010 66 70250621A 026 8 70250681A 026 14 70250861A 004 10 70310131A 21B 12 70310662AA 022 3 70350022A 13A 2 70350022A 13B 2 70350062A 008 12 70450091A 009 2 70450091A 010 23 71011071A 021 15 71011301A 34A 15 71011301A 34A 15 71011491A 019 11 71110922A 011 11 71110951A 010 6 71111601A 10A 4 71112191A 007 8 71113742A 13A 14 71113742A 13B 6 71114113AA 024 28 71114113AA 24A 24 71116441AA 027 5 71117391A 021 16 71140021A 28A 1 71210341A 025 10 71210341A 27C 10 CODE NO. TABLE POS. 71310141E 003 11 71311281B 011 12 71311841A 026 25 71311961A 026 17 71311973A 026 2 71312051A 026 19 71312661A 003 15 71312921A 014 9 71312921A 015 9 71312921B 014 25 71312921B 015 26 71313882A 28A 17 71313931A 003 1 71314361A 019 35 71314831B 004 15 71314901A 24A 13 71316221AA 021 29 71319151A 002 2 71319191A 012 8 71319201A 24A 13 71319331A 18B 22 7131A361AA 026 28 7131A371AA 026 20 7131A923A 20A 9 7131B251AA 021 28 7131B251AA 023 16 7131B841A 029 7 7131B851AA 028 9 7131C001AA 021 13 71410941A 026 9 71411381A 026 15 71610061A 018 6 71610431C 036 12 71610722A 008 20 71611071A 34B 22 71611071AB 27A 4 71611281A 008 17 71611641AA 016 3 71611641AA 020 4 71611641AA 18C 5 71614081A 025 32 71614102AB 019 22 71614102AB 022 12 71614102AB 025 34 CODE NO. TABLE POS. 71614141A 019 9 71614191A 030 5 71614251A 019 15 71614252AB 34B 14 71615791AA 031 22 71950538C 002 7 72010513C 026 4 72050069E 011 13 72050318C 032 5 720941616 010 24 73210552A 019 27 735001542 002 15 735033380 010 26 735033380 011 3 73740251B 008 5 74110101A 027 30 74110121A 18B 9 74110131A 18B 10 74110551A 18B 12 74113381A 019 45 74140381A 18B 13 74140431A 036 15 74140571A 036 21 74140581A 036 4 74140631A 036 22 74140641A 036 11 74140651A 029 15 74140651A 031 18 74141651A 029 2 74141711A 18A 5 74141861A 029 1 74141871A 017 9 74142251A 18A 13 74142371A 19A 7 74142401A 19A 5 74142501A 031 8 74142581A 031 6 74142591A 031 7 74142951A 023 14 74142951A 024 16 74142951A 025 17 74640101A 34C 4 74710151A 010 25 74750031A 025 28 CODE NO. TABLE POS. 74750071A 032 14 74750071A 21B 1 74750101A 27C 25 74810241A 019 13 74810351B 021 10 74810351B 023 13 74810361A 18C 10 74810461A 026 29 74810501A 014 29 74810501A 015 35 74810651A 026 1 74840341B 28A 5 74841011AA 022 5 74841091AA 019 16 74841091AA 20B 3 74910021A 018 9 74910021A 036 1 74940081A 008 7 74940321A 019 42 74940321A 22A 5 74941113B 13A 27 74941113B 13B 27 74941118B 028 6 74941118B 27C 24 74941333B 018 12 75010071A 026 34 75010121D 006 11 75010783A 004 7 75011131A 006 6 75011251A 28A 18 75011551A 033 5 75011601A 008 15 75011891AA 28A 16 75050051A 012 18 75811181A 019 43 75811232A 026 36 75840161A 018 23 75840281A 028 14 75840601A 24A 2 75840621A 34C 8 75840771A 019 28 75840801A 029 20 75840801A 27A 3 75840841A 018 40
ALPHANUMERIC INDEX MULTISTRADA V2 S TRAVEL USA /24 D21000024 Page 182 / 190 SPARE PARTS CATALOGUE 25/12/2023 CODE NO. TABLE POS. 75840901A 27A 13 75840931A 029 21 75910251A 019 39 76410011A 019 36 76410241A 016 2 76410241A 019 8 76410241A 020 5 76410241A 030 4 76410241A 18C 8 76410241A 20A 3 76410241A 24A 3 76410241A 34C 13 76410291A 036 3 76410481A 34A 14 76410481A 34A 14 76410841A 34B 15 76410981A 031 20 76411141A 019 26 76411141A 022 14 76411141A 025 33 76411141A 34A 5 76411141A 34A 5 76411321C 27C 9 76411331A 020 2 76411361A 018 22 76411361A 030 7 76411381A 34B 12 76412041A 27A 14 76412071A 027 26 76412261A 18B 20 76414191A 023 8 76414191A 024 12 76414551A 18E 19 76440572A 014 8 76440572A 015 8 76510221A 27D 7 76510231A 27C 17 76510241A 27D 15 76510251A 27C 28 76610551D 10A 2 76640191A 014 21 76640191A 015 21 76640191A 13A 26 76640191A 13B 24 CODE NO. TABLE POS. 77052508B 011 14 77110391B 13A 28 77110391B 13B 26 77110401A 27C 3 77110401B 021 3 77110401B 023 10 77110411A 022 11 77110521A 012 6 77113771B 021 5 77113801A 008 6 77116648B 016 10 77140677CF 012 5 77140697CF 012 7 77140743C 011 27 77150078B 010 12 77150478B 032 1 77150638B 34B 18 77150648B 032 10 77150653B 010 29 77150668B 027 12 77150670ZF 002 3 77150698BC 011 16 77150708B 025 2 77150723B 10A 11 77150758B 010 30 77150783B 021 12 77150808B 10A 8 77151250ZF 002 1 77151363B 10A 6 77151558B 027 18 77151588B 027 7 77156393B 025 24 77156398B 20A 10 77156398B 32A 3 77156408B 017 4 77156423B 021 24 77156628B 018 30 77156628B 031 13 77156653B 24A 16 77156658B 031 21 77156678B 025 19 77156678B 035 7 77156688B 019 10 77156688B 27C 5 CODE NO. TABLE POS. 77156698B 18C 12 77156713B 021 23 77156718B 019 38 77156718B 21B 4 77157258B 027 3 77157278B 21B 13 77157283B 27C 18 77157283B 27D 8 77157288B 21B 9 77159313B 021 6 77159414B 21B 15 77210471B 036 26 77210591A 024 18 77210591A 036 27 77210601A 24A 15 77210623B 015 32 77210623B 13A 29 77210631A 032 6 77210841BA 28A 4 77210893B 34B 17 77210941C 28A 9 77210943B 34B 3 77210971B 018 5 77211061A 18B 5 77211071B 027 14 77211082B 027 15 77211091A 21B 7 77211091C 034 4 77211091C 034 4 77211121C 34A 10 77211121C 34A 10 77211251B 34B 4 77211281A 34B 13 77211341A 030 9 77214061AA 016 4 77214061AA 020 3 77214291AB 036 23 77214411AA 018 7 77214411AA 34E 3 77214411AA 34E 3 77214411AB 34A 27 77214411AB 34A 27 77214411BA 017 2 77214411BA 28A 22 CODE NO. TABLE POS. 77215251A 004 3 77240133C 20A 5 77240253C 027 28 77240263C 019 18 77240263C 27A 12 77240273C 033 14 77240288C 019 19 77240308C 019 25 77240308C 022 13 77240308C 025 12 77240343C 024 31 77240343C 24A 25 77240393C 34A 12 77240393C 34A 12 77240398CC 010 67 77240403C 27A 1 77240408C 35B 9 77240423C 018 25 77240423C 34C 17 77240438C 27A 10 77240443C 028 8 77240463C 018 11 77240483C 030 2 77240493C 028 4 77244168B 028 11 77244173B 019 31 77244173B 34A 9 77244173B 34A 9 77250121B 030 3 77250341B 010 13 77250341C 008 22 77250988B 030 14 7725170BZ 028 1 77253300ZF 012 3 77350403B 13A 19 77350403B 13B 19 77350618B 014 20 77350658B 010 31 77351568C 27C 2 77351568C 27D 2 77354628B 34A 21 77354628B 34A 21 77354713B 34B 25 77354743B 18C 6
ALPHANUMERIC INDEX SPARE PARTS CATALOGUE 25/12/2023 Page 183 / 190 MULTISTRADA V2 S TRAVEL USA /24 D21000024 CODE NO. TABLE POS. 77354893C 023 22 77355068B 019 34 77440041A 20A 1 77440061A 018 38 77440061A 019 37 77440061A 033 12 77440111A 021 21 77440121A 029 18 77440141A 018 27 77440141A 18E 8 77440171A 018 17 77440171A 028 12 77440171A 034 13 77440171A 034 13 77440183C 18A 10 77440183C 18E 2 77440251A 019 46 77440251A 027 22 77440251A 18E 6 77440251A 34C 18 77440321A 029 4 77440321A 18A 12 77440321A 19A 4 77510311B 010 32 77510721A 005 5 77550131A 036 6 77550211B 10A 7 77550213C 026 30 77750493C 011 26 77750508CC 012 20 77910391A 010 33 77910921A 021 1 77910921A 023 7 77910991B 21B 2 77911092A 006 2 77911982A 010 34 77912371B 025 8 77912741A 017 6 77913141B 24A 9 77913311D 024 25 77913662AB 025 22 77913662AB 24A 7 77913722AA 28A 19 77913971A 023 5 CODE NO. TABLE POS. 77913971A 024 23 77914045B 006 9 77914211A 014 23 77914211A 015 23 77914391C 34B 1 77914651A 024 19 77914982B 033 9 77915041A 028 3 77915093A 13A 3 77915093A 13B 3 77915471A 006 4 77915511A 024 3 77916041DA 005 16 77916371AB 34B 11 77917241AA 22A 1 77917261AA 022 2 77918092AA 34C 9 77919101AA 022 7 77919162AA 015 31 77919171AA 027 27 77919211BA 34C 10 77919221AA 027 2 77919251B 13A 5 77919881A 010 64 77919891AA 22A 8 7791A131AA 022 6 7791A201AA 022 4 7791A211AA 022 9 7791A611AA 032 13 7791A821AA 18E 11 7791B781A 021 33 77927172B 010 35 77941992A 011 24 77942032A 005 14 77942032A 011 15 77950302A 13A 16 77950302A 13B 16 77950621A 010 37 78010161B 006 3 78010511E 014 12 78010511E 015 12 78010941B 010 60 78011001A 011 5 78011171A 010 38 CODE NO. TABLE POS. 78011281A 005 12 78020011A 019 4 78611511A 007 9 78611622B 007 7 78810542A 012 4 78810931A 13A 9 78810931A 13B 9 78811041A 18A 11 78811041A 18E 1 78811151A 010 14 78811211A 13A 8 78811211A 13B 8 78811301A 017 5 78811641C 023 24 78811801A 029 19 78811841A 34A 8 78811841A 34A 8 78811871A 34A 25 78811871A 34A 25 79010151A 019 12 79111131B 32A 4 79111182A 34A 1 79111182A 34A 1 79111231B 034 18 79111231B 034 18 79120572B 007 6 79710881A 004 1 79910241A 27C 21 79910241A 27D 11 79910491D 010 39 79912961A 002 20 79915001A 014 18 79915001A 015 18 79915011A 014 19 79915011A 015 19 79915061A 002 4 79915081A 22A 4 79915181B 014 26 79915181B 015 28 79915191B 014 27 79915191B 015 27 79915271A 22A 13 79915741B 010 61 79915881AA 025 4 CODE NO. TABLE POS. 79915921AA 34C 5 79916201AA 27C 15 79916201AA 27D 5 79920771C 010 62 79921602A 22A 3 79925121B 22A 12 79925941A 019 3 79940171A 010 40 800070139 01B 8 80011851B 031 15 80012362A 031 9 80012381C 031 5 80012393A 031 2 80012481B 031 16 80022372A 031 4 80810461A 28A 7 80811931AB 021 17 80811941AB 021 22 81110021A 010 15 81140012B 13A 21 81140012B 13B 21 81411111C 13A 32 81411111C 13B 28 81411881A 015 25 81412351B 13A 30 81413341A 13A 23 81413341A 13B 22 81415801A 036 16 81420051A 015 30 81441021A 036 5 81441041A 036 10 81510221A 016 5 81510281A 010 41 81510391A 016 15 81810162A 004 5 81910601BA 026 11 81910891AA 28A 13 82111701CA 025 9 82111701CA 27C 7 82112941A 014 17 82112941A 015 17 82112951A 014 15 82112951A 015 15 82113311A 025 1
ALPHANUMERIC INDEX MULTISTRADA V2 S TRAVEL USA /24 D21000024 Page 184 / 190 SPARE PARTS CATALOGUE 25/12/2023 CODE NO. TABLE POS. 82113471A 012 9 82113581A 22A 11 82113881A 002 13 82114731A 002 5 82114741AA 026 22 82114923AA 22A 6 82119351AA 27C 14 82119351AA 27D 4 82120151A 002 14 82412631BB 27C 19 82413131BB 27D 9 82422892AA 27D 1 82423341BA 27C 1 82610261A 002 16 82714821A 033 4 82715481A 016 8 82716031A 010 16 82716091A 011 17 82716351A 13A 22 82716351A 13B 18 82717471A 032 7 82717481A 032 8 82719021B 005 6 82719111A 34C 3 8271F191AA 036 2 8271F281AA 27A 5 82911901A 18C 4 8291A891A 024 29 8291A891A 24A 22 8291D182B 018 1 8291D391A 025 31 8291D511A 19A 1 8291D521B 18A 6 8291D653A 019 29 8291D723AB 022 10 8291D752D 34C 1 8291D761D 34C 2 8291D772AA 028 13 8291D803A 027 16 8291D813A 027 13 8291D863A 34C 6 8291D921A 018 20 8291D931A 018 19 8291E012A 033 13 CODE NO. TABLE POS. 8291E081AA 18C 11 8291E091AA 18C 3 8291E102A 18B 14 8291E111A 18B 15 8291F531B 032 11 8291H181A 018 45 8291L021AA 021 30 8291L031AA 021 31 83019171AA 34A 13 83019171AA 34A 13 83019191AA 018 24 83019202A 018 8 83019212A 018 16 83019221A 028 7 83019381AA 027 11 83019392AA 027 10 83019431AA 34B 9 83019462AA 036 8 83019521AA 027 29 83019841AA 029 10 83019871AA 035 4 83019881AA 035 6 83019891AA 011 25 83019951A 033 11 8301A131AA 024 24 8301A951AA 030 8 8301A961AA 34B 24 8301A982AA 24A 14 8301F431AA 030 6 83040071A 021 32 83110151B 010 42 84010012A 014 1 84010012A 015 1 84010022A 014 1 84010022A 015 1 84010032A 014 1 84010032A 015 1 84010042A 014 1 84010042A 015 1 84010052A 014 1 84010052A 015 1 84010062A 014 1 84010062A 015 1 84010072A 014 1 CODE NO. TABLE POS. 84010072A 015 1 84010082A 014 1 84010082A 015 1 84010092A 014 1 84010092A 015 1 84010102A 014 1 84010102A 015 1 84010112A 014 1 84010112A 015 1 84010122A 014 1 84010122A 015 1 84010132A 014 1 84010132A 015 1 84010142A 014 1 84010142A 015 1 84010152A 014 1 84010152A 015 1 84010162A 014 1 84010162A 015 1 84010172A 014 1 84010172A 015 1 84010182A 014 1 84010182A 015 1 84010192A 014 1 84010192A 015 1 84010202A 014 1 84010202A 015 1 84010212A 014 1 84010212A 015 1 84010222A 014 1 84010222A 015 1 84010232A 014 1 84010232A 015 1 84010242A 014 1 84010242A 015 1 84010252A 014 1 84010252A 015 1 84010262A 014 1 84010262A 015 1 84010272A 014 1 84010272A 015 1 84010282A 014 1 84010282A 015 1 84010292A 014 1 CODE NO. TABLE POS. 84010292A 015 1 84010302A 014 1 84010302A 015 1 84010312A 014 1 84010312A 015 1 84010322A 014 1 84010322A 015 1 84010332A 014 1 84010332A 015 1 84010342A 014 1 84010342A 015 1 84010412B 014 2 84010412B 015 2 84010422B 014 2 84010422B 015 2 84010432B 014 2 84010432B 015 2 84010442B 014 2 84010442B 015 2 84010452B 014 2 84010452B 015 2 84010462B 014 2 84010462B 015 2 84010472B 014 2 84010472B 015 2 84010482B 014 2 84010482B 015 2 84010492B 014 2 84010492B 015 2 84010502B 014 2 84010502B 015 2 84010512B 014 2 84010512B 015 2 84010522B 014 2 84010522B 015 2 84010532B 014 2 84010532B 015 2 84010542B 014 2 84010542B 015 2 84010552B 014 2 84010552B 015 2 84010562B 014 2 84010562B 015 2 84010572B 014 2
ALPHANUMERIC INDEX SPARE PARTS CATALOGUE 25/12/2023 Page 185 / 190 MULTISTRADA V2 S TRAVEL USA /24 D21000024 CODE NO. TABLE POS. 84010572B 015 2 84010582B 014 2 84010582B 015 2 84010592B 014 2 84010592B 015 2 84010602B 014 2 84010602B 015 2 84010612B 014 2 84010612B 015 2 84010622B 014 2 84010622B 015 2 84010632B 014 2 84010632B 015 2 84010642B 014 2 84010642B 015 2 84010652B 014 2 84010652B 015 2 84010662B 014 2 84010662B 015 2 84010672B 014 2 84010672B 015 2 84010682B 014 2 84010682B 015 2 84010692B 014 2 84010692B 015 2 84010702B 014 2 84010702B 015 2 84010712B 014 2 84010712B 015 2 84010722A 014 1 84010722A 015 1 84010722B 014 2 84010722B 015 2 84010732A 014 1 84010732A 015 1 84010732B 014 2 84010732B 015 2 84010742B 014 2 84010742B 015 2 84010752B 014 2 84010752B 015 2 84010762B 014 2 84010762B 015 2 84010772B 014 2 CODE NO. TABLE POS. 84010772B 015 2 84010782B 014 2 84010782B 015 2 84010792B 014 2 84010792B 015 2 84010802B 014 2 84010802B 015 2 84010812B 014 2 84010812B 015 2 84010822B 014 2 84010822B 015 2 84010832B 014 2 84010832B 015 2 84010842B 014 2 84010842B 015 2 84010852B 014 2 84010852B 015 2 84010862B 014 2 84010862B 015 2 84010872B 014 2 84010872B 015 2 84011082A 014 1 84011082A 015 1 84011092A 014 1 84011092A 015 1 84011102A 014 1 84011102A 015 1 84011112A 014 1 84011112A 015 1 84011122A 014 1 84011122A 015 1 84011132A 014 1 84011132A 015 1 84011142A 014 1 84011142A 015 1 84740021A 27C 22 84740021A 27D 12 84740061A 010 43 84810371A 028 10 84820441A 34C 12 84850021A 27C 26 85010141A 34A 23 85010141A 34A 23 85013121A 031 14 CODE NO. TABLE POS. 85040381A 27A 8 85040381A 34C 14 85040471A 034 11 85040471A 034 11 85040471A 27A 11 85040471A 34A 6 85040471A 34A 6 85040471A 34E 5 85040471A 34E 5 85040521A 27A 18 85040551A 019 33 85040551A 34B 2 85040671A 18B 8 85041021A 34A 22 85041021A 34A 22 85041711A 018 26 85041711A 18E 9 85042131A 017 10 85042242A 34A 26 85042242A 34A 26 85044691A 18C 2 85044691A 24A 20 85110041A 026 38 85110131A 008 14 85110201B 004 8 85140031A 006 12 85210011B 28A 8 85210021B 28A 8 85210031B 28A 8 85210532A 010 44 85211031AB 21B 11 85211201A 010 45 85211511A 025 3 85211511A 27C 12 85211561A 27C 13 85211561A 27D 3 85211721A 011 18 85211761A 018 13 85211911A 018 18 85211911A 35B 10 85211951A 016 11 85211961B 020 6 85211961B 032 4 85211961B 27A 2 CODE NO. TABLE POS. 85212181A 34A 4 85212181A 34A 4 85212181A 34E 4 85212181A 34E 4 85212221A 026 6 85212321A 025 35 85212511A 20A 7 85212691A 006 7 85212901A 019 41 85213021A 009 3 85213021A 010 46 85213101A 34C 11 85213601A 005 7 85213751AA 027 23 85213761A 18B 23 85214082A 010 68 85240081A 34B 23 85240171A 019 44 85240181A 24A 18 85240211A 18E 5 85240261A 13A 24 85240261A 13B 23 85241711A 018 29 85241711A 019 24 85241711A 20A 2 85250051A 10A 5 85250071A 029 22 85250211A 032 15 85250231A 014 28 85250231A 015 20 85250241A 005 13 85250241A 023 17 85250241A 024 4 85250241A 025 23 85250241A 24A 6 85250261B 014 11 85250261B 015 11 85250261B 24A 10 85250311A 019 17 85250311A 18A 7 85250311AB 34B 10 85250421A 010 47 85250421A 015 33 85250481A 011 19
ALPHANUMERIC INDEX MULTISTRADA V2 S TRAVEL USA /24 D21000024 Page 186 / 190 SPARE PARTS CATALOGUE 25/12/2023 CODE NO. TABLE POS. 85250631A 011 6 85250871A 011 30 85310021A 008 8 85310031A 10A 13 85350101A 012 19 85350101A 018 37 85350111A 21B 16 85550001B 18B 4 85550041A 27A 20 85610623A 008 19 85610642A 014 30 85610642A 015 34 85610743A 13A 4 85610743A 13B 4 85610751A 012 2 85611231A 003 19 85611261A 003 6 85611271A 34B 5 85611361A 034 15 85611361A 034 15 85611391B 004 2 85611481A 010 48 85611911A 004 13 85640121A 019 14 85640141A 010 63 85640151A 034 7 85640151A 034 7 86010051B 10A 12 86020011A 18E 13 86050061A 010 49 86050061A 014 24 86050061A 015 24 86610301B 34E 6 86610301B 34E 6 86610611A 033 3 86610751A 27A 16 86610751A 34C 16 86611001B 22A 10 86611091A 032 3 86611221A 18B 18 86611221C 34E 7 86611221C 34E 7 86611902A 018 10 86611931A 18A 8 CODE NO. TABLE POS. 86611951A 035 3 86611961A 035 5 86612111A 027 25 86612111A 34A 24 86612111A 34A 24 86612121A 034 2
034 2 86612131A 034 8
034 8
034 3 86612161A 034 3 86612211A 036 14 86640051A 24A 19 86640091A 032 16 87210081A 027 4 87210641A 18B 24 87211041A 018 33 87211051A 018 31 87211171A 022 8 87211182A 029 23 87211191A 029 24 87211681A 18B 6 87240441A 28A 20 87240561A 27C 23 87240561A 27D 13 87241051A 030 11 87310051A 13A 13 87310051A 13B 13 87310371A 10A 16 87311391AA 027 6 87511461B 010 50 87611291A 029 3 87611301A 19A 2 87611321A 19A 3 87611411A 19A 8 88110121A 002 18 88110341A 012 17 88111281A 031 3 88210031A 008 11 88210141A 003 7 88440061A 026 26 88440531A 010 51 88450341B 002 19 88450371A 009 4 CODE NO. TABLE POS. 88450371A 010 52 88450431A 011 20 88450711A 005 8 88610241A 10A 15 88610951A 011 28 88640331A 010 53 88640641A 27A 17 88640891A 029 5 88641031A 13A 31 88641061A 016 13 88641161A 025 11 88641161A 27C 11 88641321A 10A 9 88641731A 004 6 88641961A 010 36 88642231A 017 11 88642302A 005 10 88650131A 010 54 88650511A 13A 1 88650511A 13B 1 887005644 001 10 887005749 001 36 887130022 001 21 887130025 01B 12 887130031 001 14 887131010 01B 13 887131058 01B 7 887131059 01B 3 887131062 01B 9 887131074 01B 4 887131309 001 15 887131515 01B 6 887131749 001 22 887131806 001 16 887131821 001 19 887131832 001 29 887131906 001 33 887131994 001 4 887132011 001 17 887132068 001 34 887132096 001 2 887132442 001 9 887132651 001 11 887132695 001 24 CODE NO. TABLE POS. 887132863 001 3 887132870 001 13 887132877 001 12 887132906 001 6 887132913 001 35 887133219 001 8 887133367 001 20 887133406 001 37 887133417 001 1 887133501 01B 10 887133526 01B 11 887133992 001 31 887134145 001 27 887134198 001 28 887134302 01B 2 887134411 001 23 887134488 01B 1 887134791 001 25 887135013 001 26 887138871 01B 5 887138875 001 38 887651188 001 32 887651298 001 18 887651518 001 30 887651623 001 7 887651635 001 5 89310143A 031 11 89320062A 010 55 89320191A 005 9 89340111A 025 27 89340241A 023 11 89340251A 024 14 89420121F 10A 17 8A0067610 031 17 91376881AR 033 8 91376881BG 033 8 91376881CA 033 8 91376881CS 033 8 91376881DA 033 8 91376881DE 033 8 91376881EL 033 8 91376881EN 033 8 91376881ES 033 8 91376881FI 033 8
86612121A
86612131A
86612161A

979000282

979000283

979000284

ALPHANUMERIC INDEX SPARE PARTS CATALOGUE 25/12/2023 Page 187 / 190 MULTISTRADA V2 S TRAVEL USA /24 D21000024 CODE NO. TABLE POS. 91376881FR 033 8 91376881HR 033 8 91376881HU 033 8 91376881IT 033 8 91376881JA 033 8 91376881KO 033 8 91376881MX 033 8 91376881NL 033 8 91376881NO 033 8 91376881PL 033 8 91376881PT 033 8 91376881RO 033 8 91376881RU 033 8 91376881SK 033 8 91376881SL 033 8 91376881SV 033 8 91376881US 033 8 91376881ZH 033 8 91376901AR 033 8 91376901BG 033 8 91376901CA 033 8 91376901CS 033 8 91376901DA 033 8 91376901DE 033 8 91376901EL 033 8 91376901EN 033 8 91376901ES 033 8 91376901FI 033 8 91376901FR 033 8 91376901HR 033 8 91376901HU 033 8 91376901IT 033 8 91376901JA 033 8 91376901KO 033 8 91376901MX 033 8 91376901NL 033 8 91376901NO 033 8 91376901PL 033 8 91376901PT 033 8 91376901RO 033 8 91376901RU 033 8 91376901SK 033 8 91376901SL 033 8 91376901SV 033 8 CODE NO. TABLE POS. 91376901US 033 8 91376901ZH 033 8 91376911EN 033 8 92610051A 34B 6 92610321A 34A 3 92610321A 34A 3 93010041B 21B 5 93040211A 005 11 93040221A 010 56 93040932A 010 57 93041271A 010 2 93041271A 027 9 93041631B 010 58 93042191A 026 13 93042501A 026 18 93042691A 011 29 93050051A 011 21 93050062B 011 22 93050072A 13A 17 93050072A 13B 17 93310581A 025 21 93310691A 024 17 93310711A 023 15 93410111A 031 10 93410231A 031 19 93512451A 036 29 93512461A 036 31 93512471A 036 30 935Z0101A 036 28 942470014 10A 1 944650035 L 1
L 2 979000253 01C 2 979000279 01C 1
01C 6
944650037
979000281
01C 3
01C 4
01C 5
ALPHANUMERIC INDEX MULTISTRADA V2 S TRAVEL USA /24 D21000024 Page 188 / 190 SPARE PARTS CATALOGUE 25/12/2023
Ducati Motor Holding S.p.A. Uffici Commerciali Amministrativi: Via A. Cavalieri Ducati n. 3 40132 Bologna, Italy Telefono 051 6413111 Fax 051 406580 Internet www.ducati.com

Turn static files into dynamic content formats.

Create a flipbook
Issuu converts static files into: digital portfolios, online yearbooks, online catalogs, digital photo albums and more. Sign up and create your flipbook.