

GENERAL INFORMATION
The present spare parts order exactly the right spare parts.
When ordering specify:
1. the part's code number followed by its description and quantity needed;
2. the motorcycle's serial number, stamped on the steering head.
Reference to right and left apply to the vehicle in terms of its direction of move-ment.
Spare parts drawings are general and do not represent the part.
The contents of this catalogue are general and can undergo changes without prior notice.
CHARACTERISTICS LEGENDA

COLOUR
R Ducati Red

DRAWING 13A - ENGINE ELECTRIC SYSTEM

DRAWING 13B - BATTERY HOLDER

DRAWING 13D - VEHICLE ELECTRIC SYSTEM

DRAWING 13E - ELECTRICAL DEVICES

DRAWING 13F - ELECTRICAL DEVICES

DRAWING 14A - HEADLIGHT

DRAWING 14B - TAILLIGHT

DRAWING 15A - INSTRUMENT PANEL

DRAWING L - DUCATI GENUINE

DRAWING 02A - SHIFT CAM - FORK

DRAWING 03A - GEAR BOX

DRAWING 03B - CLUTCH

DRAWING 04A - CLUTCH COVER

DRAWING 04B - GENERATOR COVER

DRAWING 05A - CONNECTING RODS

DRAWING 06A - CYLINDERS - PISTONS

DRAWING 07A - TIMING SYSTEM

DRAWING 08A - OIL PUMP - FILTER

DRAWING 09A - HALF-CRANKCASES PAIR

DRAWING 09A - HALF-CRANKCASES PAIR

DRAWING 09B - HALF-CRANKCASES PAIR

DRAWING 10A - WATER PUMP

DRAWING 11A - ELECTRIC STARTING
DRAWING 12A - VERTICAL

DRAWING 12A - VERTICAL CYLINDER HEAD -
DRAWING 12A - VERTICAL

DRAWING 12A - VERTICAL CYLINDER HEAD -
DRAWING 12B - HORIZONTAL HEAD –

DRAWING 12B - HORIZONTAL HEAD – TIMING SYSTEM
DRAWING 12B - HORIZONTAL HEAD –

DRAWING 12B - HORIZONTAL HEAD – TIMING SYSTEM

DRAWING 12C - VERTICAL HEAD

DRAWING 12C - VERTICAL HEAD

DRAWING 12D - HORIZONTAL HEAD

DRAWING 12D - HORIZONTAL HEAD

DRAWING 01A - DDS TESTER
DRAWING 01B - WORKSHOP

DRAWING 01B - WORKSHOP SERVICE TOOLS (ENGINE)
DRAWING

DRAWING 01D - WORKSHOP SERVICE TOOLS (FRAME)

DRAWING A - TYRES

DRAWING B - ORIGINAL EQUIPMENT TYRES

DRAWING F - PIRELLI DIABLOâ„¢ ROSSO CORSA
DRAWING

DRAWING O - PIRELLI DIABLOâ„¢ ROSSO IV
DRAWING P - PIRELLI DIABLOâ„¢

DRAWING P - PIRELLI DIABLOâ„¢ SUPERCORSA SP V4

DRAWING 16A - SIDE STAND

DRAWING 17A - FRONT SPROCKET - CHAIN

DRAWING 18A - STEERING ASSEMBLY

DRAWING 18B - FRONT FORK

DRAWING 19A - REAR SWINGING ARM

DRAWING 20A - FRONT BRAKE PUMP

DRAWING 20B - FRONT BRAKE SYSTEM

DRAWING 20C - BRAKING SYSTEM ABS

DRAWING 20D - REAR BRAKE SYSTEM

DRAWING 21A - PLATE HOLDER [XST:CAL]

DRAWING 21A - PLATE HOLDER [XST:CDN]

DRAWING 22B - CLUTCH CONTROL

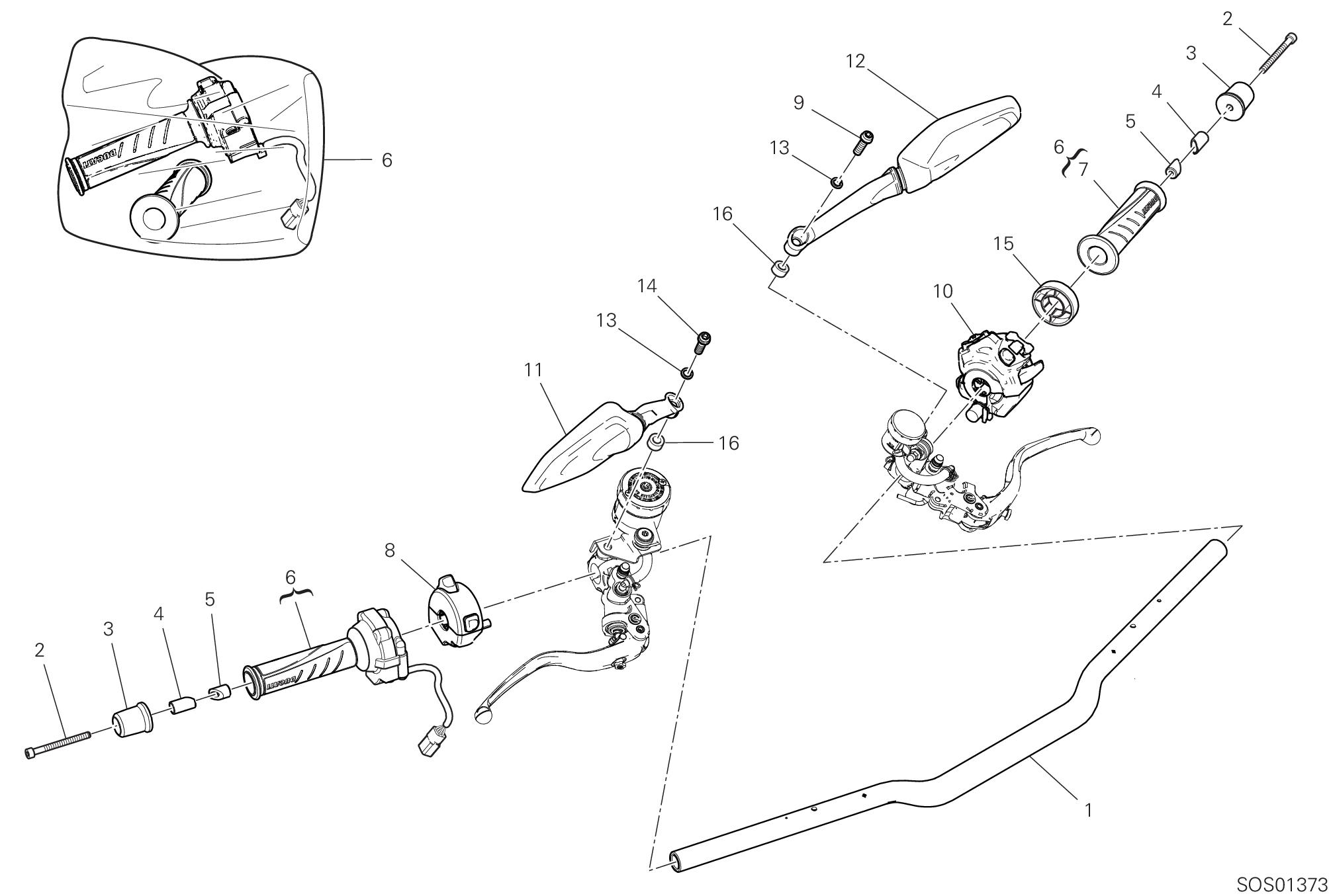
DRAWING 22C - HANDLEBAR AND CONTROLS

DRAWING 23A - REAR SHOCK ABSORBER

DRAWING 24A - FRONT MUDGUARD

DRAWING 25A - WATER COOLER

DRAWING 25B - COOLING CIRCUIT

DRAWING 26A - FOOTRESTS, LEFT

DRAWING 26B - FOOTRESTS,

DRAWING 26C - REAR FOOTREST

DRAWING 27A - REAR MUDGUARD

DRAWING 28A - FRONT WHEEL

DRAWING 29A - REAR WHEEL

DRAWING 30A - TANK

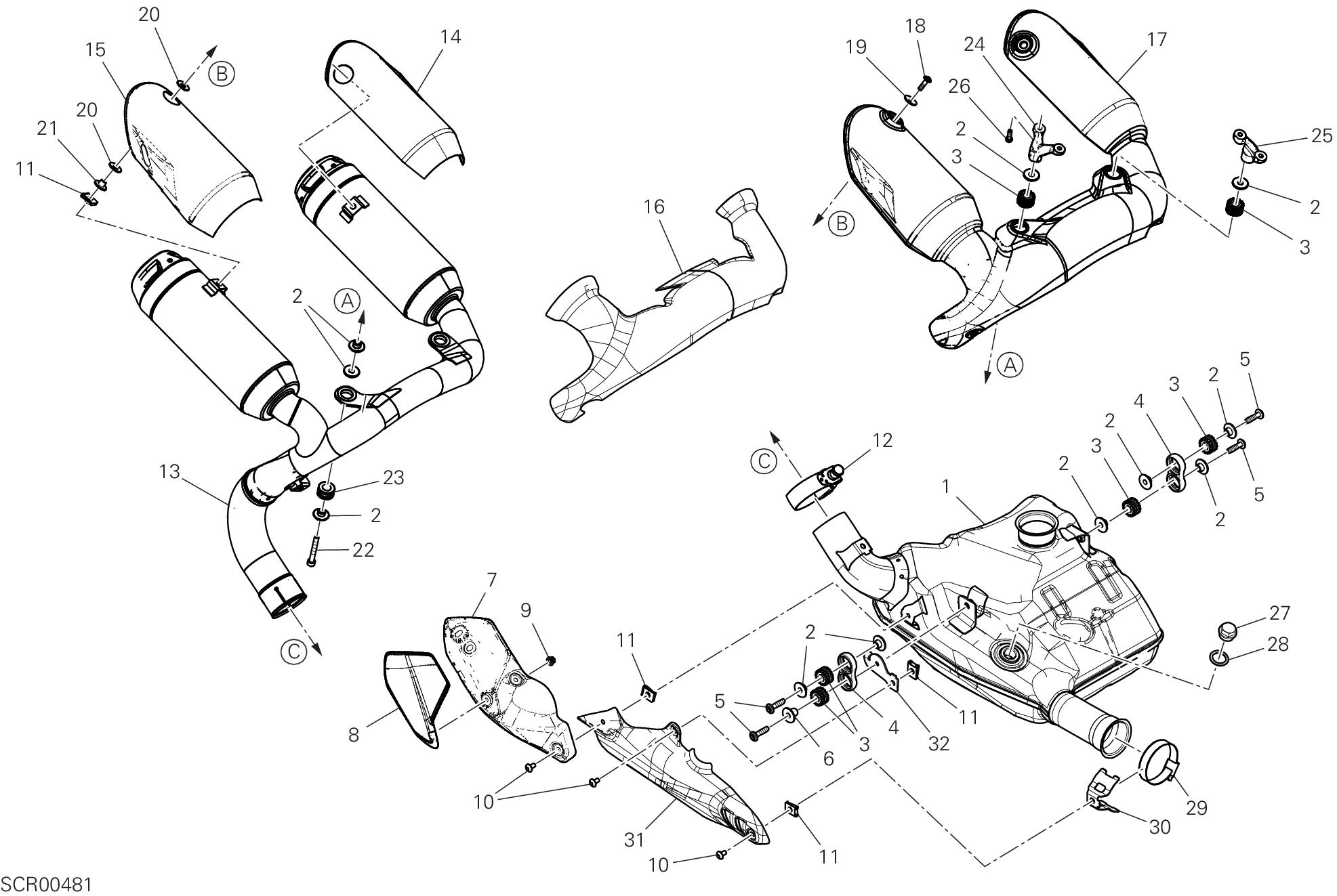
DRAWING 31A - SILENCER

DRAWING 31B - EXHAUST MANIFOLD

DRAWING 32A - SEAT

DRAWING 32A - SEAT

DRAWING 33A - FRAME

DRAWING 33B - REAR FRAME COMP.

DRAWING 33C - LOCKER

DRAWING 34A - AIR INTAKE - OIL BREATHER

DRAWING 34B - FILTER, AIR

DRAWING 35A - THROTTLE BODY

DRAWING 35B - CANISTER FILTER

DRAWING 35B - CANISTER FILTER

DRAWING 36B - FAIRING, RH

DRAWING 36C - FAIRING, LH

DRAWING 36D - REAR FAIRING

DRAWING 36E - FRONT FAIRING

DRAWING 37A - POSITIONING PLATES
12A 29
12B 28
12B 24
12A 24
03A 3
03A 12
03A 2
03A 16
22C 3
05A 7
15622371AC 05A 7 15622371AD 05A 7
15622371AE 05A 7
16024494A 30A 10
16028011A 29A 11
160Z0011A 11A 8
17011791B 03B 6
17112801A 12A 26
17112801A 12B 25
17216311A 03A 8
17216321A 03A 5
17216331A 03A 9
17216361A 03A 15
17216371A 03A 21
17216381A 03A 19
17216391A 03A 20
17217141A 03A 17
17217151A 03A 10
17217161A 03A 13
17310451A 11A 4
17411921A 10A 21
17411931A 10A 17
17420811A 08A 10
17420862A 08A 7
17620151A 11A 7
17740071E 12A 31
17740081E 12B 30
18010591A 02A 1
18010601A 02A 3
18010611A 02A 2
18120101A 02A 4
18220801A 02A 12
182P0031A 02A 11
18410241AA 26B 19
18710021A 22B 3
19020591A 03B 9
19410751A 03B 4
19510541A 22B 23
19540081C 22B 2
19611011A 03B 12
19611021A 03B 11
19820681A 03B 14
20810522C 12C 9
05A 7 CODE NO. TABLE POS.
21011311B 12C 23
21011311B 12D 23
21111271A 12C 24
21111271A 12D 24
22032083A 04A 13 22032083A 09A 14
225P0316E 09A 1
24211372A5 04B 1
24311732B5 04A 1
24716992CD 12B 1
24717002CD 12A 1
24717221BB 10A 1
24717972A 12A 2 24717972A 12B 2 24717991B5 04B 6 24718022A 34B 1 24718321AA 26B 7 24718331AA 26A 3 24718371A 15A 3 24718391AB 26C 3
11A
20810522C 12D 9 CODE NO. TABLE POS.
ALPHANUMERIC INDEX
NO.
36E 19
36B 13 4381O761A 36C 13 44213242A 34B 7
08A 11 44610741A 19A 2 44712991AA 17A 7 44713011A 19A 6
19A 4
19A 7
07A 6
07A 5
07A 1
03B 18
08A 2
12A 45
12B 44
07A 4
09A 4
26A 9 45623851AA 26A 17
26B 9
31B 7
36C 25
12A 46
12B 45
31B 8
31B 6
17A 6
31A 17 4601R921AA 31A 7
31A 8
36D 10
33B 5
33B 7
23A 2
31A 15 4601S722A 31A 14 4601S732A 31A 16 4601S741A 33B 6 4601S752A 33B 8 4601S922A 36E 3
CODE NO. TABLE POS.
4601T061AA 31A 31
46210021A 22C 13
46510961A 26B 3
46510961A 26C 7
46510971A 26A 5
46510971A 26C 13
47112381AA 33B 1
47112391AA 33B 2
47112561BA 33A 1
4801I341A 14A 5
4801I351A 14A 6
4801I361A 14A 19
4801J081B 15A 2
4801J321A 25A 14
4801J331A 36B 17
4801J341A 36C 16
4801J351A 36B 16
4801J361A 36C 11
4801J371A 36B 11
4801J381A 36C 9
4801J392A 36C 5
4801J402A 36B 5
4801J411AA 36C 15
4801J421AA 36B 15
4801J452AA 36C 1
4801J462AA 36B 1
4801J471A 36B 9
4801J531A 36C 10
4801J541A 36B 10
4801J551A 36B 26
4801J561A 36C 17
4801J571A 14A 17
4801J641A 36C 23
480PH671AA 36E 1
480PI371AB 36E 16
480PJ312A 25A 13
480PJ431AA 36C 21
480PJ441AA 36B 25
48217481AA 36D 1
48217491AA 33B 4
48217501AA 36D 2
48217511AA 33B 3
48217561A 36D 5
48217601A 36D 8
48217771A 36B 7
48312391A 33C 1
4841D011A 34B 19
48613211A 04A 4
490P0324A A 1
490P0324A B 1
490P0324A F 1
490P0333A A 3
490P0333A O 1
490P0342A A 5
490P0342A P 1
491P0388A A 2
491P0388A B 2
491P0388A F 2
491P0406A A 4
491P0406A O 2
491P0427A A 6
491P0427A P 3
49210121A 29A 6 49241011A 28A 4 49417121AA 29A 15 49720071AC 28A 9 49720071AC 29A 8 50123002AA 28A 1
50222632AA 29A 1 50410431A 03B 20 50410461AA 29A 4
504Z0381AA
48217591A 36D 9 CODE NO. TABLE POS.
CODE NO. TABLE POS.
57611071AB 31A 24
57611081AB 31A 25
58511571A 25B 1
58540311A 20D 1
58540341A 20A 5
58540351A 22B 12
58613462BA 30A 1
59015001B 13F 9 59015011B 13F 10 59018922A 34B 16
30A 14
34B 10
35A 7
30A 13
35B 11 59517861AB 32A 8 595P7612AB 32A 1 595P7641AB 32A 6
59810431A 13F 25
59822931A 13F 27
59822941A 13E 24
59840291A 13F 26
61041991A 22B 24 61042271A 20B 2 61042281A 20B 1
20D 3
20B 3 61240052A 22B 4 61240081A 20D 20 61240161A 20D 19 61240201A 20B 4
61240371A 20B 5
61241241A 20A 18
61241241A 22B 26
61241591A 20D 18 61341731A 20B 6 61341891A 20D 4
61610021A 35B 40
61610231A 25B 23 61610241A 25B 24 61812241A 20B 7 61812271C 20C 14
20C 16
20C 15
CODE NO. TABLE POS.
61912311C 20C 13
62441611A 20A 1
62540201A 20D 5
62640561A 20A 15
62640561A 22B 29
62641111A 22B 27
62641121A 20A 17
63041381A 22B 1
63140081A 20A 13
63140081A 22B 31
63140281A 20A 14
63140281A 22B 30
63140601A 20A 19
63140631A 22B 25
63211271C 22B 6
65010641B 22C 8
65010651A 22C 8
65110591F 22C 10
65220451A 13F 28
65540081A 34A 1
65540132A 35B 15
66020091C 22C 6
66810661A 12C 19
66810661A 12D 19
67040581B 12A 13
67040581B 12B 13
67621481A 17A 9
67641351A 08A 1
67641851A 17A 4
67740201A 17A 5
68050101A 09A 24
69710151A 32A 7
70011141A 18A 19
70011281A 14A 13
70011481A 29A 10
70140111B 09A 9
70140111B 10A 18
70140351A 11A 9
70140751A 03A 4
70140761A 11A 6
70141021A 19A 21
70241232A 18A 5
70241801A 09A 25
70242371A 10A 16
CODE NO. TABLE POS.
70250193A 09A 20
70250412A 09A 18
70250621A 29A 3
70250681A 29A 12
70250861A 03B 10
70250871A 09A 21
70250881A 09A 34
70251031A 28A 7
70310601BA 18A 6
70450101B 10A 14
70450123A 08A 9
70450151A 10A 22
71011071A 22C 4
71012111AA 16A 14
71110932A 09A 29
71111301A 22C 5
71111601A 12A 16
71111601A 12B 16
71113181A 09A 27
71114122AA 13A 4
71114122AA 13D 12
71114122AA 20C 23
71116941A 09B 8
71118011A 10A 10
7111E551A 04A 26
7111E551A 04B 4
7111E551A 10A 4
7111E703AC 09B 2
7111E901A 09A 28
7111E961A 36E 6
71210341A 26A 18
71210341A 26B 10
71240331A 03B 17
71314561A 36E 7
71314703A 14A 7
71314703A 14B 4
71314901A 13F 19
71315871AA 30A 5
71316171A 22C 15 71316261AA 19A 23 71316271AA 19A 18 71316311AA 29A 13 71319201A 13F 19 7131C551A 29A 2
ALPHANUMERIC INDEX
CODE NO. TABLE POS.
73210651B 33C 12
735033804 09A 19
73840141A 07A 3
74110111A 13D 22
74110121A 13D 3
74110121A 35B 41
74110131A 25A 26
74110551A 13D 7
74110551A 30A 16
74140331A 18A 29 74140331A 20C 27
22B 20
25B 21
13D 2
21A 14
21A 14
24A 6 74140381A 25A 22 74140381A 35B 36
74140431A 25B 6
74140431A 30A 15
74140431A 35B 29
74140621A 04A 27
74140631A 35B 23
74140641A 35B 25
74140651A 25B 7 74140651A 34B 17 74140651A 35B 34 74141001A 35B 28 74141711A 35B 24 74142151A 35B 26 74142241A 20D 21
74142241A 34B 27
74142371A 34A 4
74142381A 31A 29
74142401A 34A 5
74142591A 25B 20
74142801A 25B 18
74142831A 34B 29
74142841A 31A 12
74142951A 20A 10
74142951A 20D 6
74142951A 22B 14
74142951A 35B 35
SPARE PARTS CATALOGUE
CODE NO. TABLE POS.
74142971A 25B 19
74142971A 34B 9
74143021A 13F 11
74710151A 09A 36
74750011AB 26A 14
74750031A 18A 9
74750051B 26B 18
74750101A 26A 12
74810232B 19A 15
74810361A 30A 12
74810361A 31B 2
74811261A 05A 6
74811301AA 28A 10
74840241AB 18A 22
74840341B 16A 5
74840341B 29A 19
74841101AA 14A 15
74940041A 13E 10
74940041A 20D 12
74941108B 31A 9
74941113B 13E 23
74941113B 14A 16
74941501A 20C 10
74950011B 21A 13
74950011B 21A 13
75010783A 03B 7
75011211A 13B 12
75011251A 19A 10
75011491AB 36E 5
75011551A 13E 21
75011921A 20A 11
75011921A 22B 13
75812541A 33C 13
75812741A 13F 21
75812781A 13F 30
75812801A 20C 21
75812811A 20C 20
75840201A 25A 19
75840321A 34B 20
75840591A 20C 25
75840651A 13F 13
75840801A 13D 23
75840801A 33C 14
75840801A 34B 24
CODE NO. TABLE POS.
75840931A 34A 7
75841041A 13D 14
75841041A 20C 12
75841041A 35B 6
75841061A 21A 19
75841061A 21A 19
75841081A 36C 7
75841091A 13F 31
75841101A 13F 32
75841151A 13D 6
75841151A 36B 22
75841181A 20C 19
75841231A 35B 30
75841241A 35B 32
75841271A 13F 12
76410112A 26A 22
76410241A 13B 6
76410241A 13E 15
76410241A 15A 9
76410241A 25A 9
76410241A 31A 3
76410291A 36B 20
76410641A 15A 13
76410641A 20C 5
76410971A 13F 15
76411361A 25A 7
76411482A 31A 23
76411491A 14B 8
76411521A 30A 6
76411621A 34A 6
76411671A 13D 13
76411671A 33C 7
76411821A 31B 14
76411851A 34B 22
76411861A 33B 15
76412121A 12A 51
76412121A 12B
CODE NO. TABLE POS.
77157203B 13E 7
77157238B 20D 14
77157248B 18A 10
77157248B 26B 2
77157248CA 26A 2
77157253B 18A 15
7715725BG 18A 21
77157268B 26B 22
7715727AF 26C 2
77159358C 33B 13
77159414B 18A 20
7715964BF 16A 9
77210423C 15A 14
77210423C 20D 16 77210623B 12A 5
77210623B 12B 5
77210841B 34B 21
77210841B 36B 27
77210841B 36C 8
77211061A 13B 10
77211091C 36D 3
77211221A 14A 20
77211251A 13B 3
77211251A 33B 10
77211251A 33C 5
77211251A 36B 3
77211251A 36C 3
77211251A 36D 14
77211251A 36E 11
77211251B 27A 2
77213290ZF 08A 3
77214031A 32A 9
77214061AA 13E 13
77214061AA 15A 8
77214061AA 20C 9
77214371BA 35B 8
77214371BA 36B 12
77214371BA 36C 12
77214411AA 14A 9
77214411AA 15A 15
77214411AA 25A 3
77214411AA 32A 2
77214411AA 33B 17
77214411AA 36B 4
CODE NO. TABLE POS.
77214411AA 36C 4
77214411AA 36E 20
77214411BA 19A 3
77215101AA 36D 6
77215251A 03B 3
77215322A 09B 6
77240253C 33C 9
77240253C 36D 7
77240398C 20D 17
77240403CA 36C 26
77240408C 21A 10
77240408C 21A 10
77240443C 13E 12
77240443C 16A 8
77244003CA 24A 5
77244163B 13D 20
77244163B 20C 22
77244163B 31A 10
77244163B 31B 17
77244163B 33B 21
77244163B 36B 23
77244163BA 17A 8
77244163BA 25B 25
77244163BA 34B 13
77244168B 13D 17
77244168B 26A 25
77244168B 26B 23
77244168B 36D 12
77244173B 04A 28
77244173B 13A 3
77244173B 13D 11
77244173B 13F 6
77244173B 22B 21
77244173B 23A 3
77244173B 25B 22
77244173B 26C 4
77244173B 34B 15
77244173B 36D 18
77244178B 26A 4
77244178B 26B 8
77244183B 20C 11
77244183B 25A 20
77244183B 33A 8
77244183B 34B 2
CODE NO. TABLE POS.
77244183B 36E 8
77244198B 13A 2
77244203B 31A 18
77244203B 34B 28
77244203B 36D 16
77244213B 30A 11
77244218B 13F 2
77244218B 31B 11
77244233B 15A 5
77244303B 33B 28
77244318B 33B 16
77244348BA 25A 18
77244353BA 18A 25
77244353BA 20C 3
77244353BA 24A 2
77244373B 13B 4
77244378B 31A 5
77244393BA 18A 16
77244403BA 13E 19
77251053B 25A 5
77251324CF 12A 40
77251324CF 12B 39 77251387C 09B 28
77253278CA 12A 49
77253278CA 12B 48
77253280Z 12A 28
77253280Z 12B 27 77253304C 04A 19 77253317C 08A 14 77253320ZF 11A 11 77253334CF 11A 2 77253350Z 12C 3 77253350Z 12D 3
77253357C 09B 20
77253387C
ALPHANUMERIC INDEX
CODE NO. TABLE POS.
77916241A 09A 6
77918261AA 29A 7
77919121AA 26B 11
77919271A 12A 9
77919271A 12B 9
7791A381A 09A 8
7791A561AC 23A 6
7791A621B 12A 23
7791A621B 12B 23
7791A751B 12A 8
7791A751B 12B 8
7791C581C 05A 11
7791C721A 05A 8
7791D451AA 33A 2
7791D531AA 09B 26
7791D55BG 23A 7
7791D55BG 33B 12
7791D581A 04A 15
7791D581A 04B 3
7791D581A 10A 3
7791D601A 09B 18
7791D631A 09B 5
7791D671A 12A 32
7791D671A 12B 31
7791D701AA 19A 11
7791E361AA 36C 24
77927172B 09A 39
77942002A 08A 6
77942002A 10A 2
77942791A 04A 14
77942791A 04B 2
78010511C 09B 3
78010771A 09A 12
78010801A 09A 10
78010871B 09A 2
78010871B 12A 41
78010871B 12B 40
78010921A 04A 12
78010921A 09A 13
78011262A 12C 21
78011262A 12D 21
78011521C 09B 21
78011531A 09A 15
78040091A 31A 27
SPARE PARTS CATALOGUE
CODE NO. TABLE POS.
78110121AA 04A 24
78611721A 06A 6
78611731A 06A 7
78811041A 34B 4
78811961A 12B 17
78811971A 12A 17
78811991B 09B 27
78812022A 10A 5
78812031B 12A 18
78812031B 12B 18
78812251A 34B 11
79010561A 31B 19
79111561A 25A 25
79111571A 25A 24
791R0011A 06A 8
79710881A 03B 1
79810111B 12C 13
79810111B 12D 13
79910241B 26C 5
79913021A 33C 10
79913051A 09A 5
79914991A 26A 24
79914991A 26B 21
79915131C 02A 6
79915141D 02A 7
79915511A 26B 16
79915581A 25B 17
79917291A 35B 4
79925411AA 16A 13
79940121A 09A 41
80012741A 25B 11
80012751A 25B 9
80012761A 25B 10
80012771A 25B 12
80012781A 25B 13
80012791A 25B 14
81140012B 12A 3
81140012B 12B 3
81411111D 12A 35
81411111D 12B 34
81413251A 30A 7
81416941A 12A 39
81416941A 12B 36
81418011A 12A 14
CODE NO. TABLE POS.
81418171BA 12A 15
81418191A 13F 4
81441041A 35B 27
81810162A 03B 5
81910791AA 19A 13
81910991AA 28A 2
82010252A 09A 32
82110681CA 26A 6
82110681CA 26B 4
82110901B 26C 9
82111701CA 26A 19
82111701CA 26B 13
82113441B 02A 15
82113731AA 16A 10
82113811AA 26B 20
82115751AA 33C 11
82119871A 12C 8
82119871A 12D 8
8211A651AA 16A 4
821P5621D 07A 7
8241A801AB 26C 1
8241A811AB 26C 11
8241A901AA 26B 1
8241A921AA 26A 1
82510683AA 20D 13
82610421A 09A 22 82711611B 26C 8
82716091A 04B 5
82716351A 12A 4
82716351A 12B 4
82718481AA 33C 8 82719161A 04A 6 82719231AA 21A 20 82719371AA 25A 8 8271P691AA 13E 25 8291B911BA 20A 4 8291B951BA 22B 9 8291L182A 36E 10 8291R201A 35B 12
26A 11
25A 23
21A 17
21A 17
85041951AA 36C 2
85041951AA 36E 14
85042511A 14A 22
85044431A 33B 25
85044431A 36B 8
85044431A 36E 2
85044631A 36B 6
85044631A 36C 6
85044691A 20C 6
85044691A 25A 4
85044691A 31A 11
85044691A 33B 11
85044691A 35B 9
85044691A 36B 24
85044691A 36C 20
85110201B 03B 8
85210491B 23A 8
85210532A 13E 6
85210721B 21A 23
85211031AB 18A 4
85211201A 12C 17
85211201A 12D 17
85211511A 26A 21
85211511A 26B 15
85211671A 30A 4
85211671B 13E 14
85211671B 16A 7
85211671B 32A 10
85211761A 13E 11
85211811A 28A 13
85211951A 04A 21
85212271A 29A 18
85212511A 21A 12
85212511A 21A 12
85212641A 12A 12
85212641A 12B 12
85212651A 11A 12
85212661A 09A 7
85212721A 04A 7
85212801A 17A 2
85212971A 09A 37
85212971A 12A 37
85212971A 12B 37
85213002A 31B 12
CODE NO. TABLE POS.
85213101A 20C 29
85213111AA 14B 7
85213111AA 15A 7
85213111AA 31A 19
85213661AA 26A 7
85213661AA 26B 5
85213841AA 19A 17
85213981A 02A 16
85214421A 08A 4
85214791A 19A 14
85214801A 03A 18
85214821B 10A 7
85214911A 03A 11
85214961A 11A 3
85215121A 05A 5
85215521B 34B 12
85215581AA 19A 24
85215591AA 19A 22
85215601A 05A 10
85240091A 13F 3
85240091A 35B 17
85240261A 12A 44
85240261A 12B 43
85241711A 25A 11
85250061A 31A 28
85250091A 13E 22
85250211A 18A 27
85250231A 09A 17
85250231A 12A 36
85250231A 12B 35
85250241A 04A 25
85250241A 20A 2
85250241A 20B 11
85250241A 20C 18
85250241A 20D 8 85250241A 22B 17
85250261B 12C 18
85250261B 12D 18
85250401A 18A 18 85250401A 33B 27 85250491A 09A 11 85250541A 09A 31 85250941A 10A 20
ALPHANUMERIC INDEX
CODE NO. TABLE POS.
86612781A 33B 9
86612781A 33C 2
86612821A 36D 15
86613041A 15A 12
86613311A 36B 14
86613311A 36C 14
86613981A 13B 19
86614051A 13B 8
86614083A 35B 16
86614091A 13F 5
86614101A 13E 2 86614111A 25B 3
86614121A 33A 5 86614131A 33A 6 86614171A 19A 8
86614181A 19A 5
86614231A 35B 2
86614441A 33C 6
86614481A 15A 17
86614691A 34B 25
86614701A 34B 23
86640081A 13F 24
86640101A 13D 18
87210841A 36E 15 87210861A 36B 28 87210861A 36C 22 87211681A 13D 19 8721H222A 36E 12
8721H232A 36E 13
87240561A 20A 12
87240561A 22B 18
87241691A 25A 21
87310051A 12A 25
87513381C 09B 11
87513591A 09B 15 87611571A 34B 8 87611581A 34A 2
87611591A 34A 3
87713181A 04A 20 88111392C 05A 4
10A 19
03A 7
26C 10
29A 14
CODE NO. TABLE POS.
88450291A 04A 8
88450291A 10A 15
88450311A 02A 10
88450361A 02A 9
88450391B 02A 17
88450441A 26A 8
88450441A 26B 6
88450621A 09A 35
88451061A 03A 22
88610951A 04B 7
88640331A 04A 17
88640341A 12A 48
88640341A 12B 47
88640641A 21A 16
88640641A 21A 16
88640881A 12A 19
88640881A 12B 19
88640891A 04A 10
88641161A 26A 20
88641161A 26B 14
88641331A 09B 23
88641731A 03B 16
88641761A 22B 22
88641961A 09A 40
88641981A 25B 15
88642081A 07A 8
88643251A 03A 14
88643341A 09B 29
88643611A 12C 20
88643611A 12D 20
88643671A 25B 26
88650591A 09B 13
88650751A 09B 16
88650861A 10A 12
88650891A 08A 13
88650921A 12A 47
88650921A 12B 46
887130026 01D 2
887131058 01D 1
887131994 01B 7
887133452 01B 17
887133633 01B 8
887133795 01B 21
887133879 01B 24
CODE NO. TABLE POS.
887134145 01B 15
887134302 01D 3
887138857 01B 26
887138861 01B 9
887138875 01B 28
88716321A 01B 11
88716341A 01B 22
88716361A 01B 25
8871A381A 01B 12
8871A391A 01B 13
8871A401A 01B 14
8871A421A 01B 10
8871A431A 01B 6
8871A441A 01B 19
8871A451A 01B 5
8871A461A 01B 4
8871A471A 01B 27
8871A481A 01B 1
8871A611A 01B 18
8871A761A 01B 3
8871A771A 01B 20
8871B521A 01B 16
889450087 01B 2
889450110 01B 23
889450134 01D 4
89310143A 25B 2 89310153A 09A 30 89320121A 04A 9 89340241A 20D 2 89340241A 22B 11 89340251A 20A 6 89420241A 09B 24 89520411AB 13F 23 90240271A