Chassis prefix: Cylinder capacity: 1103

![]()
Chassis prefix: Cylinder capacity: 1103

The present spare parts order exactly the right spare parts.
When ordering specify:
1. the part's code number followed by its description and quantity needed;
2. the motorcycle's serial number, stamped on the steering head.
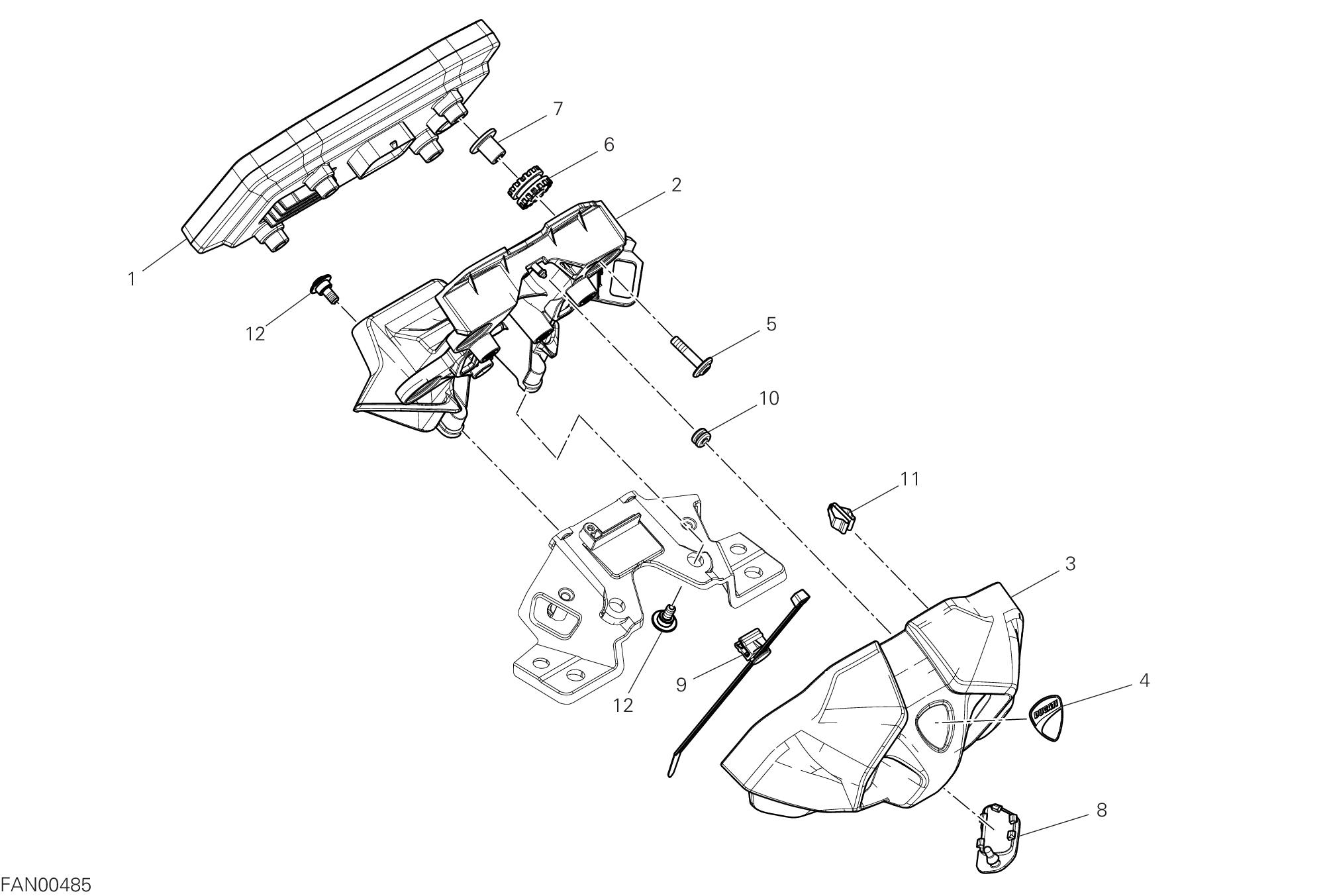
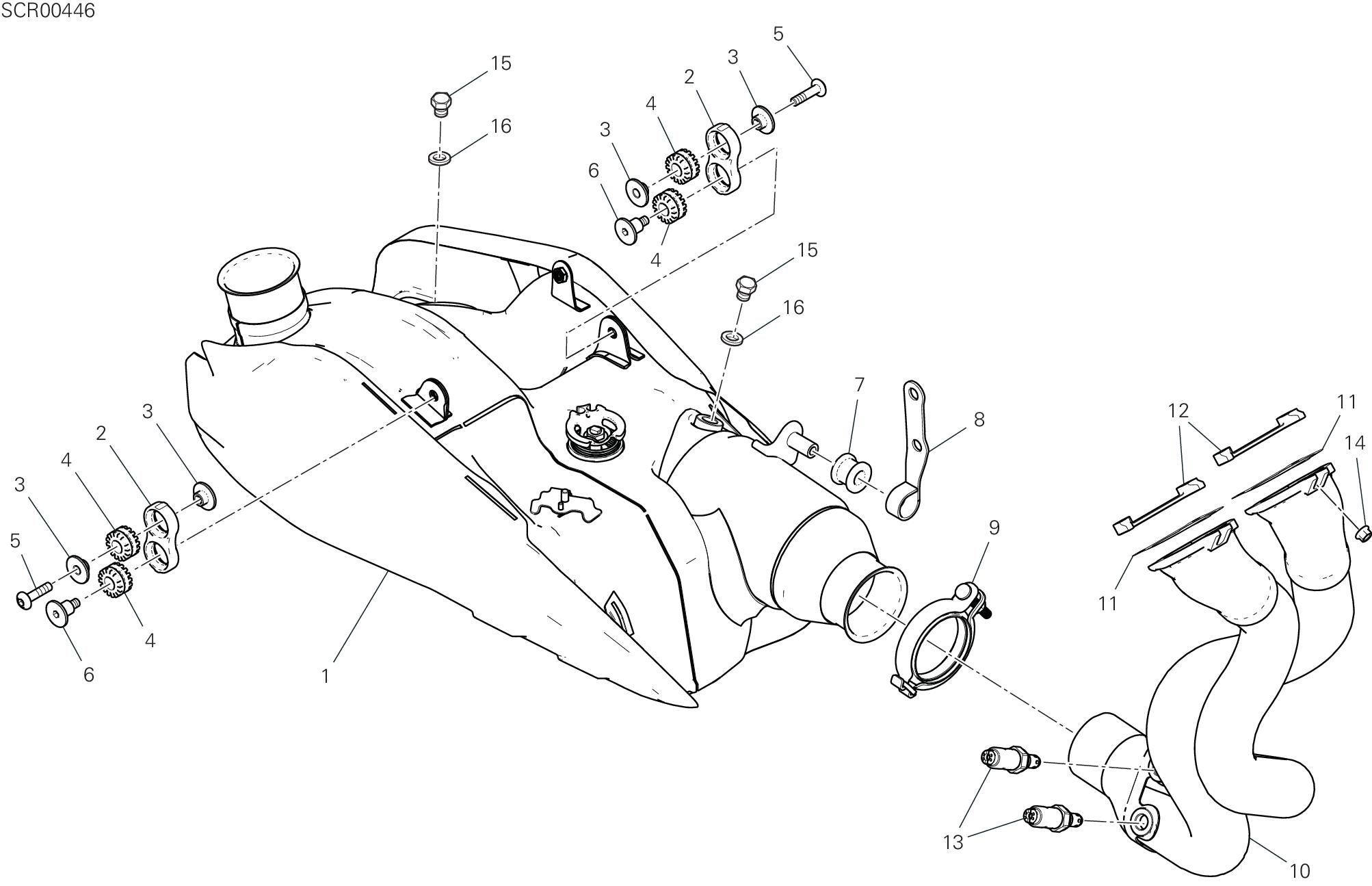
Reference to right and left apply to the vehicle in terms of its direction of move-ment.
Spare parts drawings are general and do not represent the part.
The contents of this catalogue are general and can undergo changes without prior notice.

































































































22A 3 15621141BA 05A 4 15621141BB 05A 4 15621141BC 05A 4 15621141BD 05A 4
16015522B 11A 1
16027111A 30A 27
16027802AA 29A 13 17011661C 03B 22 17021611C 03B 2 17112211A 12A 7 17112211A 12B 7 17112221C 12A 3 17112221C 12B 8
17215581B 03A 3
17215591B 03A 4
17215601B 03A 5
17215611A 03A 6
17215621A 03A 7
17215631B 03A 8
17215641B 03A 9
17215651B 03A 10
17215661B 03A 11
17215671A 03A 12
17310411A 11A 6
17410852C 10A 1
17610281A 11A 7
18010472A 02A 1
18010482A 02A 2
18010492A 02A 3
18120071A 02A 4
18220721A 02A 12
182P0012B 02A 11
18710021A 20B 13
18710021A 22B 3
19020361D 03B 3
19410511A 03B 4
19540091E 22B 24
19610711A 03B 5
19610721A 03B 6
19820501B 03B 7
20810461A 12C 20
20810461A 12D 20
CODE NO. TABLE POS.
20910781A 12C 25
20910781A 12D 25
20910791A 12C 24
20910791A 12D 24
21011194A 12C 8 21011194A 12D 8 21111191A 12C 7 21111191A 12D 7
225P0011L 09A 1 24211141B7 04B 3
24311541A7 04A 2
24311644A7 04A 18
24715791A 12A 30
24715791A 12B 30
24715873A8 12B 21
24715882A8 12A 21
24717821A 37D 4
24717831A 19A 25
24717841B 19A 26
24718273A 15A 3 24735581A8 04B 6
247P5863A 04C 4 24920511K 10A 2 24920682A 08A 10 25110101A 10A 7 25210301A7 04C 1 25440014A 09A 15 264R0011A 11A
NO. TABLE POS. 4381O081A 37B 2
37C 2 4421A462A 35A 20 442P3201B 35A 7 44440312B 04C 2
44610681A 19A 11
44610751A 19A 10
44610781A 19A 35 44712181A 17A 13
19A 12
07A 1
07A 2
03B 14
08A 8
17A 1
07A 3
36C 5
36C 6
09A 16 45612521AA 26A 5 45613411AA 26A 13 45721401BA 26B 3 46017431A 17A 9
13F 15
11A 15
31B 21
25A 18
31B 9
31B 12 4601P261B 31B 7 4601P281A 31B 14 4601P291A 33B 23
4601P302A 33B 25
4601P311B 33B 14
4601P331B 31B 6 4601P351A 25A 17 4601P361A 25A 26
4601P401A 20C 21
4601P401A 31B 27
4601P411A 31B 19
4601P421A 31B 20
4601P431A 31B 23
4601P581A 37B 7
4601R581A 19A 13
CODE NO. TABLE POS.
4601R591B 20C 19
4601R851A 33B 16
4601R941A 17A 2
4601S021AA 37A 19
4601S031AA 37A 20
4601S041AA 26B 14
4601S051AA 26A 25
4601S091A 19A 32
4601S163A 37A 7
4601S222A 19A 31
4601S461A 37C 7
4601S681A 33B 27
4601T501A 31B 1
4601T511A 31B 33
4601T521A 31B 5
4601T531A 31B 30
4601T661A 20C 26
460PP981A 33B 19
46112012A 20C 3
46210021A 22A 13
46320226A 30A 5
46410531B 26B 18
46410531B 26C 1
46410541B 26A 22
46410541B 26C 10
47112222AA 33B 4
47112232AA 33B 3
47122304AA 33A 1
4801H372A 37D 16
4801H382A 37D 17
4801H471A 37A 16
4801H481A 37A 18
4801I212AA 37A 8
4801I241A 25A 16
4801I341A 14A 1
4801I351A 14A 2
4801I361A 14A 15
4801I371AA 37A 1
4801I381AA 37C 3
4801I391AA 37B 3
4801I464A 37A 5
4801I474A 37A 6
4801I521AA 37B 6
4801I531AA 37C 6
CODE NO. TABLE POS.
4802I401A 37C 5
4802I411A 37B 5
4802I501AA 37B 4
4802I511AA 37C 4
4802I561AB 37B 1
4802I571AB 37C 1
4803I791A 14A 13
48217331A 37D 11
48217391A 33B 2
48217401A 33B 1
482P7283AA 37D 1
482P7292BA 37D 7
482P7302BA 37D 6
48312312B 33C 1
4841C911A 35A 1
4841C921A 35A 5
4841C951A 25A 1
48611191A 04A 3
48611341A 31B 26
48612271A 04A 34
48612281A 04A 37
48612293A 04A 33 48612551A 04A 38
48613201A 33B 20
48613271A 33B 15
48613281A 17A 16 48613312A 19A 30 48613322A 37C 17 48613333A 37B 18
48613341A 35A 12 48613351A 35A 11 48613352A 35A 11
48613391A 37B 19
48810093AA
28A 10
28A 4
29A 12
29A 18
28A 9
29A 11
28A 1
29A 1
05A 6
29A 7
28A 11
13C 1
13C 2
13C 1
13D 25
13D 4
NO. TABLE POS.
51411261A 13D 26
51610051H 13E 1
51840051B 13F 2
52010701C 14A 3
52310781AA 22A 12
52310791AA 22A 11
52510611B 21A 6
52510781E 14B 1
52910101A 21A 9
52910231A 21A 18
52910261A 20B 5
52910262A 20B 5
53010621A 14A 24
53010621A 14B 2
53910811A 20C 17
53940302A 34A 11
53940601A 16A 11
53940651A 16A 5
53941012A 20A 5
53941021A 22B 22
54040331A 13D 18
54140151A 13C 3
54812791A 34A 1
54812881A 25A 21
54911941A 34A 3
54911961A 34A 2
55215541A 31A 13
55215541A 31B 16
55219411D 13F 4
55219432A 13F 11
55240121A 14A 10
55241321C 04A 13
55243181A 09A 17
55243731C 13B 22
55243931A 02A 13
55244081A 25B 14
55244431B 09B 4
55340131A 25B 10
55621601AA 16A 1
56113621A 21A 11
56116502A 21A 4
56116511A 21A 5
56417082AB 24A 1
56510883B 27A 1
CODE NO. TABLE POS.
57115391B 31B 13
57611091AA 31A 2
58540341A 20A 15
58540351A 22B 12
58613441BA 30A 1
59018513A 35A 8
59028751A 36C 7
59028761A 36A 2
59029492A 36C 26
590Z0011A 13B 4
590Z0021A 13B 1
590Z0031A 13B 3
59340621A 13E 9
59340661A 13A 2 59341101A 36B 18
595P7751AA 32A 1
59810551B 13F 3
59820611AB 13E 12 59822821AB 13F 1
61041991A 22B 27
61042291AA 20B 2
61042301AA 20B 1 61140471A 20D 1 61240052A 20B 14
61240052A 22B 4
61240081A 20D 5 61240161A 20D 2
61241241A
61610221A 25B 9
61812201B 20C 13
61812211A
CODE NO. TABLE POS.
70011281A 14A 5
70011451A 36B 19
70011471A 36B 7
70140111B 09A 19
70140311A 03A 13
70140321A 03A 14
70140331A 03A 15
70140471A 11A 2
70140701A 19A 4 70240081A 19A 6 70241232A 18A 5
33A 5
03A 25
03A 26
09A 20
09A 21 70242431A 29A 15 70242491A 28A 7 70250412A 02A 14
70250601A 03B 8
70250681A 29A 2
70250801A 11A 9
70250991A 23A 6
70310931AA 18A 6
71011071A 22A 4
71012021B 03A 28
71012111AA 16A 8 71012281AA 26B 20
710P0021B 03A 27
71111301A 22A 5
71112191A 09A 2
71113742A 12A 13
71113742A 12B 13
71115051E 09A 22
71116721A 36C 9
71116941A 09B 17
71117611AA 33A 12
7111E551A 09B 6
71210341A 26A 17
71210341A 26B 7
71210631A 03A 16
71240331A 03B 15
71313091A 03B 9
71314703A 14A 28
CODE NO. TABLE POS.
71314703A 14B 4
71314901A 13F 12
71316011B 03B 10
71316101C 11A 13
71316171A 22A 9
71316331AA 20B 7
71316401AA 19A 8
71319201A 13F 12
71319961CA 18A 37
7131C211A 12C 27
7131C211A 12D 27
7131C221A 12C 32
7131C221A 12D 32
7131C231A 12C 21
7131C231A 12D 21
7131C241A 12C 29
7131C241A 12D 29
7131C821AA 19A 7
7131C881BA 30A 19
7131C961A 30A 6
7131D601AA 22A 19
7131F381BA 29A 10
7131F391BA 29A 17
7131F401BA 29A 8
7131F481A 23A 7
7131F731A 23A 8
713P0011C 03A 31
71411421AA 28A 3
71411431AA 28A 8
71413471AA 28A 12
71413782AA 29A 3
71610031A 20C 9
71610221B 13D 37
71611571C 02A 5
71611581C 02A 6
71611661AA 16A 3
71611671AA 17A 10
71611671AA 25A 7
71611721AA 32A 8
71614011B 24A 2
71614141A 31A 3
71614381AA 15A 7
71615151AA 34A 8
71615501AA 13B 12
71615501AA 36C 10
71615691AA 21A 1
71615971AA 14A 6
71616491AA 13D 30
71950370CF 04B 1
72010513C 28A 5
72050033CF 29A 9
72050173C 18A 16
72050173CA 21A 15
72050173CA 33B 24
72050173CF 36A 5
73211131A 33C 11
73211153A 13E 10
735034405 09B 7
73840052A 07A 4
73840062A 07A 5
74110111A 13C 11
74110121A 13C 10
74110131A 13C 9
74110551A 13C 7
74110551A 25C 14
74110551A 36B 26
74140381A 13C 8
74140381A 16A 13
74140381A 21A 14
74140381A 35A 13
74140431A 30A 24
74140431A 36B 13 74140651A 36B 24 74141001A 09B 21 74141711A 13B 6 74141711A 36B 25
74141721A 25C 12 74141721A 35A 14 74141721A 36B 20
74141811A
71615151AB 25A 13 CODE NO. TABLE POS.
CODE NO. TABLE POS.
75840771A 15A 9
75840771A 18A 35
75840801A 13B 16
75841041A 13D 38
75841081A 25A 15
75841081A 25C 13
75841081A 35A 25
75841081A 36B 27
75841091A 13F 13
75841101A 13F 14
75910391A 25B 13
76410112A 26A 14
76410241A 15A 6 76410241A 25A 14 76410241A 31A 4
76410621B 35A 21
76410641A 18A 34
76410641B 20C 8
76410901A 13D 23
76410971A 14A 11
76411491A 14B 8
76411501A 17A 11
76411501A 25A 8
76411501A 31B 4
76411501A 33B 26
76411501A 34A 6
76411671A 13B 14
76411671A 20C 7
76411671A 36C 11
76412121A 04A 9
76412121A 12A 22
76412121A 12B 22
76412441A 14A 8
76412451A 13B 11
76412472A 31A 7
76412501A 21A 2
76414191A 20A 12
76414191A 22B 8
76414251A 13B 17
76414272A 30A 18
76414301A 25A 6 76414381A 37B 8 76417751A 14B 3 76417781B 33C 3
CODE NO. TABLE POS.
76417811A 33B 6
76417832A 37D 20
76417851A 30A 12
76440091B 12C 36
76440091B 12D 36
76440561A 14A 14
76440561A 15A 10
76440561A 17A 4
76611231A 09A 7
76640191A 12B 12
76640381A 12A 12
77110191A 26A 4
77110381A 30A 14
77110381A 36C 28
77110401B 12A 27
77110401B 12B 27
77110471A 20A 19
77110651A 22A 15
77113691C 14A 25
77113691C 34A 5
77140697CF 36A 7
77150208B 13B 13
77150208B 36A 8
77150208B 36C 13
77150624B 12C 14
77150624B 12D 14
77150788B 22A 2
77151250ZF 18B 3
77151293BA 22A 14
77151298B 02A 16
77154337C 17A 5
77156393B 25A 10
77156398B 14A 29
77156398B 14B 5
77156403B 36B 2
77156403BA 18A 26
77156413B 37C 15
77156413BA 37B 15
77156418B 30A 22
77156453B 21A 3
77156453B 25A 27
77156628B 13D 7
77156643B 25C 3
77156643B 30A 11
CODE NO. TABLE POS.
77156643B 36B 3
77156663B 37B 17
77156663B 37C 9
77156668B 26B 22
77156678B 22B 26
77156683B 17A 6
77156728B 22B 25
77156733B 17A 7
77157203B 13E 2
77157238B 20D 6
77157243B 18A 12
77157248B 26A 15
77157248B 26B 2
77157248B 26C 6
77157253B 18A 11
7715725BG 33A 8
77157273B 18A 20
7715727BF 23A 15
77157288B 26A 2
7715936BG 23A 2
7715937BG 23A 12
77159414B 18A 23
77210423C 18A 33
77210423C 20C 5
77210501C 33A 11
77210601A 13F 9
77210841C 37C 8
77210893B 24A 3
77210943B 32A 3
77211061A 13D 14 77211091C 31B 24 77211091C 33B 21 77211201A 03B 11 77211221A 14A 18 77211251A 20C 23 77211251A 37B 9 77211251A 37D 13 77211261B
CODE NO. TABLE POS.
77244213B 37B 12
77244213B 37C 12
77244233B 13D 29
77244233B 15A 5
77244233B 25A 12
77244253C 30A 16
77244358BA 18A 10
77244358BA 26A 6 77244373B 13D 31 77244373B 31A 5 77244661A 16A 2
23A 9
12A 20
12B 20
20C 10
33C 7 77251324CF 09A 13 77251344C 09A 9 77251344C 09B 18
77251364C 09A 11
77251404C 09A 12
77253304C 04A 16
77253304CF 08A 5
77253314CF 03A 29
77253314CF 04C 5 77253334CF 11A 10
12C 5 77253350Z 12D 5 77253354C 09B 19 77253364CF 08A 4 77253384C 12A 5 77253384C 12B 5
77354623B 16A 10
77354623B 35A 15
77354713B 32A 5
77440071A 25A 25
77440101A 31B 8
77440141A 13D 5
77440203C 21A 8
77440251A 14A 4
77440391A 19A 36 77440511A 19A 28 77440511A 36B 23
31B 32
CODE NO. TABLE POS.
77440631A 14B 6
77510200CC 04A 5
77510311B 09A 25
77550131B 26A 11
77550171A 13B 9
77550171A 13D 8
77550171A 21A 7
77550353B 26B 24
77750494C 04B 8
77810101A 09B 23
77810221A 09B 24
77910921B 20A 13
77910921B 22B 7
77912981A 18A 14
77913541A 12C 9
77913541A 12D 9
77913611A 12C 11
77913611A 12D 11
77913662AB 20C 16
77913662AB 20D 7
77913662AB 22B 16
77913971A 20B 12
77913971A 22B 5
77914151A 20A 9
77915041A 23A 16
77915111B 20B 8
77915471A 05A 3
77916241A 09A 27
77916811AA 13F 10
77917231A 12A 1
77917231A 12B 1
77917391BA 18A 15
77917711AA 04A 29
77918261AA 29A 6
7791A381A 09A 28
7791A571A 05A 5
7791A621B 12A 15
7791A621B 12B 15
7791A631A 09A 4
7791A651A 09A 3
7791A661A 09A 6
7791A751B 04A 40
7791A751B 12A 24
7791A842AA 33A 6
CODE NO. TABLE POS.
7791B121A 10A 5
7791B321AA 23A 14
7791B321AA 33B 5
7791B491A 04A 10
7791B531AA 31A 6
7791C031A 03B 17
7791C041B 04B 10
7791C042A 04B 4
7791C361A 09A 10
7791C511AA 26B 5
7791C751B 09B 8
7791D181A 12B 24
7791D444AA 19A 20
7791D471AA 26B 21
7791D481AA 33A 14
7791D491AA 33A 13
7791E241A 04A 30
77927172B 09A 29
77941992A 04A 1
77941992A 04B 5
77941992A 04C 9
77941992A 10A 4
77942002A 04A 21
77942002A 04C 8
78010511C 09B 11
12C 40
12D 40
09A 34 78010871B 09A 31 78010871B 12C 41 78010921A 04A 7 78011262A 12C 13
78011262A 12D 13
78011281A 04A 14
78011591A 31A 15 78050011B 12C 17 78050011B 12D 17
78510271A 19A 27
78611421D 09B 12
78611431D 09B 13
78811602B
CODE NO. TABLE POS.
81441431A 36B 28
81446871A 25C 8
81447031A 36B 17
81810162A 03B 18
81910693AA 28A 2
81910951AA 19A 17
82010141A 09A 35
82110512AA 26A 20
82110512AA 26B 19
82110512AA 26C 9 82111701CA 26A 19 82111701CA 26B 9 82113731AA 16A 9
12C 19
12D 19 82115621B 07A 6 82115751AA 33C 8
82115801B 12C 23
82115801B 12D 28
82118261B 02A 17
82118461A 36C 15
82119211A 36C 16
82119222A 36C 17
82414681AA 26C 7
82414691AA 26C 8
8241A821AA 26B 1
8242A831AA 26A 16
82716091A 04B 2
82716141A 13E 13
82718441A 12A 28
82718441A 12B 28
82718461A 36C 18
82718481AA 33C 10
82718692A 04A 4
82718923A 04A 36
82718933A 04A 39
82718944A 04A 35
82718991A 04A 31
82719461AA 26B 23
8271F271A 12A 2
8271F271A 12B 2
8271L192BA 36C 27
8271L201A 34A 4
8271P731AA 32A 7
CODE NO. TABLE POS.
82919202A 36C 19
8291B911BA 20A 10
8291B951BA 22B 9
8291G311C 12A 18
8291G311C 12B 18
8291H082A 35A 6
8291H141A 30A 9
8291I912AA 33A 7
8291I991A 14A 20
8291J001A 14A 21
8291Q201A 20C 2
8291R321AA 26B 10
8291R361A 13D 15
8291R561A 13D 33
8291R672AA 23A 11
8291R902AA 26A 1
8291S062AA 30A 10
8291S311A 13D 28
8291S551A 13D 34
8291S682A 25B 17
8291S891A 25C 1
8292R461A 25A 24
83019481AB 13D 12
83019831A 36B 1
8301H611AA 33A 15
8301H621AB 18A 25
8301H711AA 14A 9
8301H812AA 04B 9
8301J321AA 31A 8
8301J351A 20B 15
8301N381A 13D 3
8301N392AA 13E 4
8301P601AA 18A 29
8301P701AA 18A 32
8301P711AA 18A 8
8301P721AA 04B 11
8301P731AA 04A 28
8301P741A 15A 2
8301P781A 14A 12
8301P791A 14A 17
8301P842AA 25A 3
8301R151AA 20B 4
8301R161AA 20B 3
8301R221AA 35A 24
83040071A 22A 16
83110151A 09A 36
16A
12C
12D
12C
12D
12C
12D
12C
CODE NO. TABLE POS.
8501A671AA 35A 17
8501A701A 35A 18
85040521A 21A 17
85040521A 33B 11
85041021A 33B 18
85041951AA 13D 19
85041951AA 25C 5
85041951AA 30A 21
85041951AA 32A 6
85041951AA 33C 6 85041951AA 36B 4
37A 13
37B 13
37C 13
36A 9
36C 21 85042511A 14A 16 85044281A 25A 11 85044431A 19A 34
85044431A 37D 14
85044441A 19A 9
85044441A 37D 15
85044631A 15A 11
85044631A 37B 14
85044631A 37C 14
85044691A 25A 5
85044691A 30A 20
85044691A 31B 25
85110201A 03B 19
85211201A 12C 10
85211201A 12D 10
85211511A 26A 26
85211511A 26B 6
85211951A 34A 12
85212221A 28A 13
85212511A 21A 12
85212641A 12A 26
85212641A 12B 26
85212651A 11A 11
85212661A 09A 38
85212661A 09B 16
85212721A 04A 26
85212771A 09A 14
85212801A 17A 8
SPARE PARTS CATALOGUE
CODE NO. TABLE POS.
85213111AA 14B 7
85213111AA 25A 9
85213111AA 25B 18
85213111AA 30A 13
85213111AA 31B 3
85213111AA 34A 7
85213291A 03A 17
85213311A 03A 18
85213981A 02A 18
85214051B 03B 20
85214071B 05A 8
85214071B 11A 5
85214141A 03A 19
85214421A 08A 3
85214421A 10A 3
85215391A 22A 17
85215651AA 19A 23
85219841AA 23A 17
85240261A 12C 15
85240261A 12D 15
85241831A 12C 38
85241831A 12D 38
85250231A 12A 9
85250231A 12B 9
85250241A 04A 12
85250241A 12C 18
85250241A 12D 18
85250241A 20A 4
85250241A 20B 11
85250241A 20C 15
85250241A 20D 8
85250241A 22B 17
85250261A 04A 8
85250261B 12C 28
85250261B 12D 23
85250261B 31A 16
85250291A 18A 18
85250311AB 13B 10
85250311AB 13D 24
85250401A 18A 27
85250541A 04C 7
85250871A 09B 10
85310031A 04A 15
85310031A 13A 5
CODE NO. TABLE POS.
85350061A 19A 21
85350101A 13D 16
85540091A 33A 9
85540131AA 23A 13
85550001B 13D 13
85550001B 13E 8
85611271A 26A 7
85611372A 03A 20
85611391B 03B 13
85611401A 37A 10
85611401A 37D 9
85611491A 03A 21
85611551A 04A 41
85611551A 12A 23
85611551A 12B 23
85611621A 12A 11
85611621A 12B 11
85612051A 33B 10 85612131A 35A 26
85640141A 09A 39
85651691B 09A 8
85651691B 12A 16 85651691B 12B 16 86010061A 12C 16 86010061A 12D 16 86010151A 12C 12 86010151A 12D 12 86040071A 09A 40 86050061A 12C 6
12D 6
NO. TABLE POS.
88440741A 03A 23
88440751A 03A 24
88441031A 10A 6
88450031A 26A 23
88450031A 26B 16
88450031A 26C 5
88450291A 04A 25
88450311A 02A 9
88450351A 30A 4
88450361A 02A 10 88450391B 02A 15
29A 16
04B 7
03A 30
04A 11 88640541A 08A 2 88640641A 21A 16
88640891A 04A 20
88640891A 13D 21
88641061A 18A 36
88641161A 26A 18
88641161A 26B 8
88641201A 04A 6 88641961A 09A 30 88641981A 25B 15
07A 7
08A 1
04A 22 88642721A 12C 39 88642721A 12D 39 88642751A 36C 24
88642791A 09A 26
88643141A 34A 10 88643151A 11A 16 88650321A 04A 17 88650741A 12A 17 88650741A 12B 17 88650751A 09A 43
88650761A 04C 3
88650831A 09B 5 887131010 01D 6 887131058 01D 7 887131059 01D 16
887131074 01D 4
887131994 01C 15
887132855 01D 1
887132857 01D 10
887132858 01D 11
887132951 01D 3
887133003 01B 1
887133004 01B 2
887133211 01D 5
887133529 01D 9
887133614 01B 3
887133633 01B 4
887133795 01C 14
887133853 01C 13
887133879 01B 16
887134302 01D 17
887134337 01D 2
887134338 01D 8
887135387 01B 5
887135389 01C 7
887135396 01C 8
887135397 01C 9
887135840 01B 6
887135962 01C 10
887136155 01C 11
887138851 01B 7
887138853 01B 9
887138854 01B 10
887138855 01B 11
887138856 01B 12
887138857 01B 13
887138858 01B 14
887138859 01C 1
887138860 01C 2
887138861 01C 3
887138862 01C 4
887138863 01C 5
887138864 01C 6
887138869 01C 12
887138875 01B 18
889450081 01D 15
889450082 01D 13
889450086 01D 14
889450103 01B 15
01D 12 CODE NO. TABLE POS.
889450107 01B 17
889450110 01B 8
89310143A 25C 2
89310153A 04C 6
89310241A 25A 22 89320121A 04A 19
89340241A 22B 11 89340251A 20A 14
89420231B 08A 9 89520411AE 13F 7 90240271A 01D 18 91377971AR 32A 4 91377971BG