AGRUPADOS&JUDICIAL.
con nosotros llamando al (021)
ASAMBLEA GENERAL ORDINA-
RIA. El Directorio de RABONI’S PRODUCCIONES INTERNATIONAL
S.A. en uso de sus atribuciones, convoca a los Accionistas de la firma, a la Asamblea General Ordinaria a realizarse el día 13 de noviembre de 2025, a las 10:00 horas en primera convocatoria, y a las 11:00 horas, en segunda convocatoria, en el local de la firma sito en Minga Guazú, para tratar el siguiente, orden del día: 1-Designación de un presidente y secretario de asamblea.
2-Elección de 01 Accionista para suscribir el acta con el presidente. 3-Lectura y consideración de la memoria, balance general, estado de resultados, informe del síndico, y demás documentaciones correspondientes al ejercicio cerrado al 31 de diciembre del año 2023 y 2024.
4-Consideración de la distribución de utilidad. 5-Designación de un Síndico Titular y fijación de su remuneración.
6-Designación de directores titulares y fijación de sus retribuciones. Se recuerda a los Señores Accionistas que deben dar cumplimiento al Art. 1084 del Código Civil, respecto al depósito de las acciones. 95891- 31/10 al 04/11
ASAMBLEA GENERAL ORDINA-
RIA. De conformidad a lo previsto en los Estatutos Sociales, convócase a Asamblea General Ordinaria de Accionistas de HK ESCAMAS & PIELES
S.A. resolvió convocar a Asamblea General Ordinaria para el día 14 de Noviembre del 2025 a las 08:00 horas en primera convocatoria, si no existiere el quórum legal establecido, la Asamblea se llevará a cabo en segunda convocatoria una hora después a las 09:00 horas, en Avenida, Km 10 Acaray- Ciudad del Este, Departamento de Alto Paraná, a los efectos de considerar lo siguiente, orden del día: 1-Designación del Presidente de Asamblea y Secretario. 2-Elección de Directores Titulares, Síndicos. 3-Designación de un accionista para suscribir el acta de Asamblea conjuntamente con el Presidente y el Secretario. EL Directorio 95889- 31/10 al 04/11
ASAMBLEA GENERAL EXTRAORDINARIA. Convócase a los accionistas de INMOBILIARIA TU INMUEBLE SOCIEDAD ANÓNIMA , RUC 80131741-0 a Asamblea General Extraordinaria de accionistas que tendrá lugar el día 11 de noviembre del 2025, En domicilio en el Área 3, Av. capitán a las 08:00hs, en primera convocatoria, y en segunda convocatoria a las 10:00 tratar el siguiente orden del día: 1 Elección de un presidente y secretario asamblearia. 2-Modificación de estatuto. 3-Suscripción de Acta de Asamblea. Se recuerda a los accionistas que deben dar cumplimiento en tiempo y forma a las formalidades respecto al depósito de sus acciones, de acuerdo al Art. 25 del Estatuto Social y se da orden de publicación de la presente convocatoria con la debida anticipación en el Diario la Nación de esta Capital. 9591931/10 al 04/11
ASAMBLEA GENERAL ORDINARIA. Convocase a los accionistas de Inmobiliaria Tu Inmueble Sociedad Anónima, RUC 80131741-0 a Asamblea Ordinaria de accionistas que tendrá lugar el día 11 de noviembre del 2025, En domicilio en el Área 3, Av capitán a las 14:00hs, en primera convocatoria, y en segunda convocatoria a las 15:00 tratar el siguiente orden del día: 1-Elección de un presidente y secretario asamblearia. 2-Emisión de Acciones. 3-Suscripción de Acta de Asamblea. Se recuerda a los accionistas que deben dar cumplimiento en tiempo y forma a las formalidades respecto al depósito de sus acciones, de acuerdo al Art. 25 del Estatuto Social y se da orden de publicación de la presente convocatoria con la debida anticipación en el Diario la Nacion de esta Capital. 9592031/10 al 04/11
ASAMBLEA GENERAL EXTRAORDINARIA. De conformidad a la Legislación Vigente y los Estatutos Sociales de la Sociedad, el Directorio de EMPRENDIMIENTOS HABITARE
S.A., convoca a los Señores Accionistas a Asamblea General Extraordinaria, que se efectuará el día 13 de noviembre del año dos mil veinte y cinco, a las 08:00 horas, en el local social de la Firma, para tratar los siguientes órdenes del día: 1-Elección de Presidente y Secretario para presidir la Asamblea y de un Accionista para suscribir el Acta de la Asamblea. 2-Rescate de Acciones. 3-Asuntos Varios. Se recuerda a los señores Accionistas, las previsiones establecidas en el Artículo 27, para poder asistir a la Asamblea. El Directorio. 95922- 31/10 al 04/11
CONVOCATORIA A ASAMBLEA GENERAL ORDINARIA DE ACCIONISTAS EL DIRECTORIO DE INVERSIONES HOTELERAS DEL PARAGUAY S.A., convoca a los accionistas a la Asamblea General Ordinaria de Accionistas a realizarse en el domicilio social, sito en Av. Santisima Trinidad 2372 C/ Itapua de la ciudad de Asunción, República del Paraguay, el día 16 de Noviembre del año 2025 a las 09:00 hs en primera convocatoria y a las 10:00hs. en segunda convocatoria ORDEN DEL DÍA: 1. Designación de un Presidente y un Secretario de la asamblea. 2. Lectura y Consideración de la Memoria Anual del Directorio, Balance General, Informe del Síndico y Cuadro de Pérdidas y Ganancias correspondiente al ejercicio económico finalizado al 31 de Diciembre del 2024.— 3. Destino de los Resultados del Ejercicio 2024.- 4. Designación de miembros del Directorio y determinación de sus remuneraciones. 5. Elección del Síndico Titular y Síndico suplente y determinación de sus remuneraciones. 6. Designación de Accionistas para suscribir el Acta de Asamblea. NOTA: DEPÓSITO DE ACCIONES: Se recuerda a los señores accionistas que de conformidad a los Estatutos Sociales, para poder tener derecho a voto en la Asamblea General Ordinaria de Accionistas, deberán depositar sus acciones en la Sociedad, con una anticipación no menor a 3 (tres)
días hábiles a la fecha fijada para la celebración de la Asamblea o, en su defecto, deberán presentar un Certificado Bancario de Depósito de acciones dentro del plazo señalado. QUÓRUM LEGAL PARA SESIONAR EN PRIMERA CONVOCATORIA: Se recuerda a los accionistas lo dispuesto en los Estatutos Sociales sobre el quórum legal en primera convocatoria. En este sentido la Asamblea quedará válidamente constituida en primera convocatoria con la presencia de accionistas que representen la mayoría de las acciones con derecho a voto. SEGUNDA CONVOCATORIA: El Directorio comunica a los señores accionistas que, si en la primera convocatoria no pudiera obtenerse el quórum necesario para su celebración, la Asamblea quedará válidamente constituida en segunda convocatoria, en la misma fecha a las 10:00hs. DIRECTORIO DE INVERSIONES HOTELERAS
DEL PARAGUAY S.A. – 5/11/2025
95899/05/11/2025
CONVOCATORIA A ASAMBLEA
GENERAL ORDINARIA DE ACCIONISTAS EL DIRECTORIO DE HOTELES PARAGUAYOS S.A., convoca a los accionistas a la Asamblea General Ordinaria de Accionistas a realizarse en el domicilio social, sito en Av. Santisima Trinidad 2372 C/ Itapua de la ciudad de Asunción, República del Paraguay, el día 16 de Noviembre del año 2025 a las 11:00 hs en primera convocatoria y a las 12:00hs. en segunda convocatoria ORDEN DEL DÍA: 1. Designación de Presidente y Secretario de la Asamblea; 2. Consideración de la Memoria Anual del Directorio, Balance, Estado de Cuentas de Ganancias y Pérdidas, Informe del Síndico correspondientes al ejercicio económico finalizado el 31 de diciembre de 2024; 3. Consideración de los resultados y distribución de utilidades del ejercicio económico 2024; 4. Designación de miembros del Directorio y determinación de sus remuneraciones. 5. Elección del Síndico Titular y Síndico Suplente. Determinación de su remuneración; y 6. Designación de accionistas para suscribir el Acta de Asamblea. NOTA: DEPÓSITO DE ACCIONES: Se recuerda a los señores accionistas que de conformidad a los Estatutos Sociales, para poder tener derecho a voto en la Asamblea General Ordinaria de Accionistas, deberán depositar sus acciones en la Sociedad, con una anticipación no menor a 3 (tres) días hábiles a la fecha fijada para la celebración de la Asamblea o, en su defecto, deberán presentar un Certificado Bancario de Depósito de acciones dentro del plazo señalado. QUÓRUM LEGAL PARA SESIONAR EN PRIMERA CONVOCATORIA: Se recuerda a los accionistas lo dispuesto en los Estatutos Sociales sobre el quorum legal en primera convocatoria. En este sentido la Asamblea quedará válidamente constituida en primera convocatoria con la presencia de accionistas que representen la mayoría de las acciones con derecho a voto. SEGUNDA CONVOCATORIA: El Directorio comunica a los señores accionistas que, si en la primera convocatoria no pudiera obtenerse el
quórum necesario para su celebración, la Asamblea quedará válidamente constituida en segunda convocatoria, en la misma fecha a las 12:00hs. DIRECTORIO DE HOTELES PARAGUAYOS S.A.5/11/2025 95901/05/11/2025
CONVOCATORIA A ASAMBLEA GENERAL ORDINARIA DE ACCIONISTAS EL DIRECTORIO DE DESARROLLOS INMOBILIARIOS HOTELEROS S.A., convoca a los accionistas a la Asamblea General Ordinaria de Accionistas a realizarse en el domicilio social, sito en Av. Santisima Trinidad 2372 C/ Itapua de la ciudad de Asunción, República del Paraguay, el día 16 de Noviembre del año 2025 a las 13:00 hs en primera convocatoria y a las 14:00hs. en segunda convocatoria ORDEN DEL DÍA: 1. Designación de Presidente y Secretario de la Asamblea; 2. Consideración de la Memoria Anual del Directorio, Balance, Estado de Cuentas de Ganancias y Pérdidas, Informe del Síndico correspondientes al ejercicio económico finalizado el 31 de diciembre de 2024; 3. Consideración de los resultados y distribución de utilidades del ejercicio económico 2024; 4. Designación de miembros del Directorio y determinación de sus remuneraciones. 5. Elección del Síndico Titular y Síndico Suplente. Determinación de su remuneración; y 6. Designación de accionistas para suscribir el Acta de Asamblea. NOTA: DEPÓSITO DE ACCIONES: Se recuerda a los señores accionistas que de conformidad a los Estatutos Sociales, para poder tener derecho a voto en la Asamblea General Ordinaria de Accionistas, deberán depositar sus acciones en la Sociedad, con una anticipación no menor a 3 (tres) días hábiles a la fecha fijada para la celebración de la Asamblea o, en su defecto, deberán presentar un Certificado Bancario de Depósito de acciones dentro del plazo señalado. QUÓRUM LEGAL PARA SESIONAR EN PRIMERA CONVOCATORIA: Se recuerda a los accionistas lo dispuesto en los Estatutos Sociales sobre el quórum legal en primera convocatoria. En este sentido la Asamblea quedará válidamente constituida en primera convocatoria con la presencia de accionistas que representen la mayoría de las acciones con derecho a voto. SEGUNDA CONVOCATORIA: El Directorio comunica a los señores accionistas que, si en la primera convocatoria no pudiera obtenerse el quórum necesario para su celebración, la Asamblea quedará válidamente constituida en segunda convocatoria, en la misma fecha a las 14:00hs. DIRECTORIO DE DESARROLLOS INMOBILIARIOS HOTELEROS S.A.- 5/11/2025 95902/05/11/2025
EL DIRECTORIO DE LA FIRMA EL ALEMAN S.A., CONVOCA A ASAMBLEA GENERAL EXTRAORDINARIA. de accionistas para el día 11 de Noviembre de 2.025 a las 9:00 horas, en el local social de la firma ubicada sobre calle Mcal. Lopez E/ Perpetuo Socorro y 14 de Mayo, Distrito de P.J.C., Departamento de Amambay, Republica del Paraguay para tratar el
siguiente orden del día que a continuación se expone: 1) Elección de Presidente y Secretario de la Asamblea 2) Aumento de Capital 3) Modificación parcial del Estatuto Social 4) Designación de dos Accionista para suscribir el Acta- 5/11/2025 95945/05/11/2025
EL DIRECTORIO DE LA FIRMA EL ALEMAN S.A., CONVOCA A ASAMBLEA GENERAL ORDINARIA. de accionistas para el día 11 de Noviembre de 2.025 a las 16:00 horas, en el local social de la firma ubicada sobre calle Mcal. Lopez E/ Perpetuo Socorro y 14 de Mayo, Distrito de P.J.C., Departamento de Amambay, Republica del Paraguay para tratar el siguiente orden del día que a continuación se expone: 1) Elección de Presidente y Secretario de la Asamblea 2) Emisión de Acciones 3) Designación de dos Accionistas para suscribir el Acta de Asamblea.- 5/11/2025 95946/05/11/2025
CAMDEN SOCIEDAD ANÓNIMA ASAMBLEA GENERAL ORDINARIA. CONVOCATORIA El Directorio de CAMDEN Sociedad Anónima RUC 80159284-4 convoca a sus Accionistas a la Asamblea General Ordinaria a llevarse a cabo el día martes 18 de Noviembre del 2025 a las 10:00 hrs. en el local social, para tratar lo siguiente: 1.Elección del Presidente y Secretario de Asamblea. 2.Elección y remuneración de Directores Titulares. 3.Elección y remuneración de Síndicos Titular y Suplente. 4.Designación de accionistas para suscribir el Acta de Asamblea. ORDEN DEL DIA Nota: Se recuerda a los señores Accionistas que, para la participación de la Asamblea según los Estatutos Sociales, deberán depositar sus acciones en la Empresa con tres días de anticipación a la fecha fijada. EL DIRECTORIO 95940/05/11/2025
CAMDEN SOCIEDAD ANÓNIMA
ASAMBLEA GENERAL EXTRAORDINARIA. CONVOCATORIA El Directorio de CAMDEN Sociedad Anónima RUC 80159284-4 convoca a sus Accionistas a la Asamblea General Extraordinaria a llevarse a cabo el día martes 18 de Noviembre del 2025 a las 11:00 hs. en el local social, para tratar lo siguiente: ORDEN DEL DIA95941/05/11/2025
EL DIRECTORIO CAMPOFE S.A.
CONVOCA A ASAMBLEA GENERAL EXTRAORDINARIA. a realizarse el 17 de noviembre del 2025 a las 07:00 horas, a llevarse a cabo en forma excepcional en la casa de la calle 12 de octubre casi América B° Loma Merlo de la ciudad de Luque, para tratar el siguiente Orden del Día: 1) Elección de Presidente y Secretario de la Asamblea. 2) Modificación Parcial de Estatutos Sociales. 3) Designación de dos socios para la firma del acta de Asamblea, juntamente con el Presidente y Secretario. NOTA: Se recuerda a los Accionistas el cumplimiento de lo dispuesto en acta de los Estatutos Sociales. EL DIRECTORIO. 5/11/2025 95954/05/11/2025
EL DIRECTORIO CAMPOFE S.A.

CONVOCA A ASAMBLEA GENERAL ORDINARIA. a realizarse el 17 de noviembre del 2025 a las 16:00 horas, a llevarse a cabo en forma excepcional en la casa de la calle 12 de octubre casi América B° Loma Merlo de la ciudad de Luque, para tratar el siguiente Orden del Día: 1) Elección de Presidente y Secretario de la Asamblea. 2) Emisión de Acciones. 3) Elección de Directores y fijación de sus retribuciones. 4) Elección de Síndico y determinación de su remuneración. 5) Designación de dos socios para la firma del acta de Asamblea, juntamente con el Presidente y Secretario. NOTA: Se recuerda a los Accionistas el cumplimiento de lo dispuesto en acta de los Estatutos Sociales. EL DIRECTORIO.- 5/11/2025/ 95955/05/11/2025
ASAMBLEA EXTRAORDINARIA DE ACCIONISTAS “AGROPECUARIA SARMIENTO S.A.” . Se convoca a los accionistas de “AGROPECUARIA SARMIENTO S.A.” a la Asamblea Extraordinaria de accionistas a realizarse en fecha 17 de noviembre de 2025, a las 08:30 horas en primera convocatoria, y a las 09:30 horas en segunda convocatoria, en el domicilio social de la empresa sito en la calle Lomas Valentinas Nro. 363 casi Caballero de la ciudad de Asunción, para tratar el siguienteORDEN DEL DÍA 1) Designación de un Presidente y Secretario de Asamblea. 2) Disolución Anticipada de la Sociedad. 3) Nombramiento del Liquidador. 4) Designación de dos accionistas para suscribir el acta de Asamblea juntamente con el Presidente y Secretario de Asamblea. Se recuerda a los señores accionistas lo establecido en los Estatutos Sociales, para tener derecho de asistencia a la Asamblea.Asunción, 31 de octubre de 2025.EL DIRECTORIO 95970/05/11/2025
CONVOCATORIA A ASAMBLEA GENERAL ORDINARIA. DE ACCIONISTAS SISAK S.A. – RUC Nro. 80105533-4 El Directorio de SISAK S.A con domicilio en la Avda. Santa Teresa entre Avda. Aviadores del Chaco y Herminio Maldonado Torres del Paseo La Galeria Torre 2 Piso 25 de la ciudad de Asunción Republica del Paraguay, convoca a los señores Accionistas a Asamblea General Ordinaria a desarrollarse en forma presencial el día 14 de noviembre de 2025, a las 12:00 horas y a las 13:00 horas, en primera y segunda convocatoria respectivamente, en la que, previa acreditación de asistencia y representación, se tratarán los siguien-

tes puntos del Orden del día: 1. Designación de Presidente y Secretario de la Asamblea; 2. Considerar y resolver sobre las Memorias anuales del Directorio,los Balances Generales y Cuentas de Ganancias y Pérdidas e Informe del Síndico, correspondientes a los ejercicios del 2020, 2021,2022, 2023 y 2024;3. Considerar y resolver sobre la Distribución de utilidades; 4. Designación de Directores Titulares, Suplentes y Síndicos Titulares y Suplentes, y fijación de su retribución; 5. Designación de dos accionistas para suscribir el acta de la asamblea. Para asistir a las asambleas los accionistas deben depositar en la sociedad sus acciones, o un certificado bancario de depósito librado al efecto, para su registro en el libro de asistencia a las asambleas, con no menos de tres (3) días hábiles de anticipación al de la fecha fijada. En dicho lapso no podrán disponer de ellas. La sociedad les entregará los comprobantes necesarios de recibo, que servirán para la admisión a la asamblea. Los accionistas o sus representantes que concurran a la asamblea firmarán el libro de asistencia en el que se dejará constancia de su domicilio y del número de votos que corresponda. Los certificados de depósito deben especificar la clase de las acciones, su numeración y la de los títulos. El Directorio 95829/05/11/2025
CONVOCATORIA A ASAMBLEA
ORDINARIA DE ACCIONISTAS
NOVA CONSTRUCTIONS S.A
R.U.C. NRO. 80141237-4 Se convoca a Asamblea Ordinaria de Accionistas para el día 11 de noviembre de 2025, a las 07:00 horas y a las 08:00 horas en primera y segunda convocatoria respectivamente en la sede social, ciudad de Asunción, para tratar el siguiente ORDEN DEL DIA: 1.Designación del Presidente y Secretario de la Asamblea; 2.Consideración de la Memoria del Directorio, el Balance General, el Cuadro de Pérdidas y Ganancias, el Informe del Síndico y destino de las Utilidades del ejercicio 2024; y 3.Designación de los accionistas para firmar el acta de asamblea de conformidad con el Art. 1096 del Código Civil. Se recuerda a los socios o sus representantes la obligación de depositar las acciones o los certificados de depósito de las acciones con no menos de tres días de antelación a la fecha fijada para la asamblea. ELDIRECTORIO. 95974/05/11/2025
CONVOCATORIA A ASAMBLEA
GENERAL EXTRAORDINARIA DE ACCIONISTAS.En cumplimiento de las disposiciones estatutarias, se convoca a los Señores Accionistas de INDIO S.A. con RUC 80074853-0 a Asamblea General Extraordinaria a llevarse a cabo el 18 de noviembre del 2025, a las 09:00 horas en primera convocatoria y a las 10:00 horas en segunda convocatoria, en el local de la firma sito en Isaac Kostianowski 6101, para tratar el siguiente: ORDEN DEL DÍA 1. Designación de un Presidente y Secretario de Asamblea. 2. Modificación de Estatuto Social. 3. Designación de los Accionistas para suscribir el Acta de Asamblea junto con el Presidente y el Secretario. Se recuerda a los Señores Accionistas que para asistir a la Asamblea, el depósito de las acciones, deberá
hacerse como mínimo con tres días de anticipación, de conformidad con lo establecido en el artículo N°. 1084 del Código Civil. EL DIRECTORIO 96015/08/11/2025
A.C. IMPORTACIONES S.A. CONVOCATORIA ASAMBLEA ORDINARIA. De conformidad con lo dispuesto en los Estatutos Sociales, se convoca a los accionistas, a la Asamblea General Ordinaria a realizarse el día 14 de noviembre , a las 10:00 horas en el domicilio fiscal de la empresa, Capitán Dematei Nº 161 C/ Avenida Artigas de la ciudad de Asunción, para considerar el siguiente Orden del Día 1) Nombramiento del Presidente y Secretario de la Asamblea 2) Distribución de utilidades acumuladas y dividendos 3) Designación de dos accionistas para la firma del Acta de Asamblea. EL DIRECTORIO- 8/10/2025
ASAMBLEA GENERAL EXTRAORDINARIA. El Directorio de PRONTODOG PY S.A., en uso de sus atribuciones convoca a los accionistas de la firma a la Asamblea General Extraordinaria, a realizarse el día 14 de noviembre del 2025, a las 11:00 horas, primera convocatoria y 12:00 horas, segunda convocatoria, en el local de la firma ubicado en Avda. Campo Via c/ Villa Montes, Área 3, Ciudad Del Este, para tratar el siguiente orden del día: 1. Elección de un presidente y secretario de Asamblea; 2. Modificación Parcial de Estatutos Sociales. 3. Designación de dos accionistas que suscriban el Acta de Asamblea. EL Directorio. 95978- 4 al 8/11
ASAMBLEA GENERAL ORDINARIA. El Directorio de PRONTODOG PY S.A., en uso de sus atribuciones convoca a los accionistas de la firma a la Asamblea General Ordinaria, a realizarse el día 14 de noviembre del 2025, a las 09:00 horas, primera convocatoria y 10:00 horas, segunda convocatoria, en el local de la firma ubicado en Avda. Campo Vía c/ Villa Montes, Área 3, Ciudad Del Este, para tratar el siguiente orden del día: 1. Designación de un presidente y secretario de asamblea. 2. Lectura y consideración de la Memoria del Directorio, Balance General, Cuadro de Pérdidas y Ganancias e Informe del Síndico, correspondiente a los ejercicios cerrado al 31 de diciembre de 2023 y 2024. 3. Designación y Remuneración de Miembros del Directorio para el periodo 2025/2026 y Síndico respectivamente.M4. Resolución y Determinación sobre los Resultados de los Ejercicios 2023 y 2024. 5. Emisión de nuevas acciones. 6. Elección de dos accionistas o sus representantes para firmar el Acta de Asamblea. EL Directorio. 95980- 4 al 8/11
ASAMBLEA GENERAL ORDINARIA .En cumplimiento de las disposiciones legales vigentes, y de conformidad con lo prescrito por el Artículo Nº 19 de los Estatutos Sociales, el Directorio de AACE PROPIEDADES SOCIEDAD ANÓNIMA convoca a los Señores Accionistas de la entidad a Asamblea Ordinaria de Accionistas para las 10:00 horas del día sábado 15 de noviembre de 2.025 en el local social de la firma, sito en la Asunción, con el objeto de
considerar el siguiente, orden del día: 1-Lectura y consideración de la memoria del directorio, balance general, estado de resultado, estado de flujo de efectivo, estado de variación del patrimonio neto, y anexo, de informe del síndico correspondiente al ejercicio económico cerrado el 31 de diciembre de 2024. 2-Eleccion de miembros del directorio para el año 2.025, y sus remuneraciones.3-Elección del síndico titular para el año 2.025 y sus remuneraciones. 4-Destino de las utilidades. NOTA: Se recuerda a los Señores Accionistas lo dispuesto en los Artículos Nº 1.084 y 1.085 del Código Civil y el Artículo Nº 19 de los Estatutos Sociales. EL Directorio. 95987- 4 al 8/11
ASAMBLEA GENERAL EXTRAORDINARIA. En cumplimiento de las disposiciones legales vigentes, y de conformidad con lo prescrito por el Artículo Nº 19 de los Estatutos Sociales, el Directorio de AACE PROPIEDADES SOCIEDAD ANÓNIMA convoca a los Señores Accionistas de la entidad a Asamblea Extraordinaria de Accionistas para las 09:00 horas del día sábado 15 de noviembre de 2025 en el local social de la firma, sito en la Asunción, con el objeto de considerar el siguiente, orden del día: 1-Modificación del Artículo 5° (quinto) de los estatutos sociales. Nota: Se recuerda a los Señores Accionistas lo dispuesto en los Artículos Nº 1.084 y 1.085 del Código Civil y el Artículo Nº 19 de los Estatutos Sociales. El Directorio 95988- 4 al 8/11
ASAMBLEA GENERAL ORDINARIA. En cumplimiento de las disposiciones legales vigentes y de conformidad con lo prescripto por el Artículo No. 26º de los Estatutos Sociales, el Directorio de la firma CELM S.A. convoca a los señores Accionistas de la entidad a Asamblea General Ordinaria, para las 14:00 Hs., primera convocatoria y a las 15:00 Hs. en segunda convocatoria., el día 19 de noviembre de 2025, en el local social de la firma, sito en la Calle Dr. José Domingo Montanaro esquina Juan de Ayolas Barrio Santa Ana Ciudad del Este, con el objeto de tratar el siguiente orden del día: 1-Elección de secretario de Asamblea. 2-Lectura y consideración de la memoria del directorio, balance general, cuadro de resultados, flujo de efectivo, e Informe del Síndico, correspondiente al Ejercicio Cerrado al 31 de diciembre de 2024. 3-Designación de directores y Síndicos; y fijación de su retribución. 4-Destino de las Utilidades. 5-Nombramiento de los firmantes de actas. Se recuerda a los Señores Accionistas la obligatoriedad de presentar las Acciones o Certificado Bancario de Depósito conforme para el Artículo 27° de los Estatutos Sociales. El Directorio. 95994- 4 al 8/11
así el artículo 5º del Estatuto Social.Inscripto en la Sección Personas Jurídicas y Asociaciones y Comercio, Matrícula Jurídica N.º 8772, Serie Comercial, bajo el Nº 6, Folio 57, en fecha 16/10/2025. 95979- 4 al 6/11
CONSTITUCION DE SOCIEDAD. EMPRESA DE TRANSPORTES TAPIRACUAY SOCIEDAD DE RESPONSABILIDAD LIMITADA, Constituida por E.P.N° 32 de fecha 28/02/2014, pasada ante la N.P. LINA M. LEGUIZAMON con Reg. N° 579 de Fdo. De la Mora. Duración: 99 años. Objeto social: Transporte en todas sus formas terrestre, fluvial, aéreo, de personas, mercaderías, cargas y fletes generales y otras actividades licitas. Capital Social: Gs. 200.000.000.Socios Gerentes: Fidencio Rolon Sosa y Alcides Ramón Villalba Villalba. Inscripto en la Dir.Gral. De los registros Públicos, Sección Personas Jurídicas y Comercio, Matricula Jurídica N° 250 Serie Comercial, bajo el N° 250 al folio 2627 y sgte. en fecha 14/03/2014. 95949/03/11/2025
CONSTITUCIÓN DE SOCIEDAD. Por escritura pública Nº _07_ de fecha 02/09/2021_, autorizada por el N.P. AMANCAY VARELA ZARZA DE ZAYAS., se constituyó la firma “IDEANDO S.R.L”. Domicilio: CARAYA ESQUINA MILLER Ciudad de FILADELFIA República del Paraguay. Duración:99 años. Objeto: dedicarse por cuenta propia y/o de terceros o asociada a terceros en el país o en el extranjero a actividades comerciales, industriales y de servicios. Capital suscripto e integrado: Gs.50.000.000:. .Inscripción: a) Secciones Personas Jurídicas y Asociaciones, bajo el Nº 1204 y al folio Nº_1204 y sgtes., serie: Comercial en fecha 10/11/2021 y b) Registro Público de Comercio, Registro de Contratos, bajo el/ Nº_1204 serie Comercial folio _1204 y sgtes, /en fecha 10/11/2021.6/11/2025/06/11/2025
INSCRIPCIÓN DE SOCIEDADES. para VISIÓN COMERCIAL S.A. 96019/06/11/2025
del Registro N° 853. Denominación. AML SOCIEDAD ANONIMA, RUC N° 80163532-2. Domicilio: Ciudad del Este. Duración: 99 años. Capital social gs. 3.000.000.000, Objeto: Venta al por menor y mayor de perfumes y cosméticos en general. Presidente. Adel Hassan Awad. Vicepresidente. Lucas Matías Correa Avalos. Síndico titular María Luisa Saldívar Moreira. Inscripto en la D.G.R.P., Sección Personas Jurídicas y Comercio, Matr. Jurídica N° 47012 serie comercial, entrada N° 15171971. Inscripto bajo el N° 01, folio 01, en fecha 15/10/2025. 95985- 4 al 6/11
DISOLUCION CONYUGAL. EL JUEZ DE PRIMERA INSTANCIA EN LO CIVIL Y COMERCIAL DEL PRIMER TURNO DE LA CIRCUNSCRIPCIÓN JUDICIAL DE PEDRO JUAN CABALLERO, Departamento del Amambay, DR. JUAN MARCELINO GONZALEZ G., emplaza por quince (15) veces a los que tengan interés en reclamar derechos contra la sociedad conyugal formada por los esposos CARLOS ALBERTO CORONEL GODOY y MARTA APARECIDA CUBA, para que en el perentorio término de treinta (30) días contados desde la publicación del presente edicto, comparezcan a deducir sus acciones, bajo apercibimiento de lo dispuesto en el Art. 55 de la Ley 1/92.- El juicio radica en la Secretaría a cargo de la Actuaria Judicial, Abg. ANNY GREGORIA ACOSTA G.PEDRO JUAN CABALLERO, 21 de Mayo de 2025 - 4/11/2025 95454/04/11/2025
GODOY MORAN Y NANCY MARILUZ SOLIS GALEANO, para que en el perentorio término de treinta días contados desde la publicación del presente edicto comparezcan a deducir sus acciones, bajo apercibimiento de lo dispuesto en el Art. 55 de la Ley 1/92 del Código Civil. El juicio radica en la Secretaría Nº 1 a cargo del Actuario Abg. FRANCISCO LUIS RECALDE DENIS. SAN PEDRO DE YCUAMANDYYU, 30 de Julio de 2025 Se hace saber al destinatario de este edicto que el mismo cuenta con el Código QR, por lo cual, para tener certeza de que este documento es válido, deberá utilizar el lector del Código QR, siendo ya en consecuencia, innecesaria la autenticación manual del Actuario del Juzgado conforme Acordada 1366/2019. 95547 -.05/11/2025
DISOLUCIÓN CONYUGAL. La Juez de 1ra. Inst. en lo Civil de Yuty, Dra. Carol María Escobar Lapierre, cita y emplaza por quince veces a los que tengan interés en reclamar derechos contra la sociedad conyugal formada por los esposos TERESITA DUARTE DE JARA Y SEVERIANO JARA, para que en el término de 30 días, contados desde la publicación del presente Edicto, comparezcan a deducir sus acciones bajo apercibimiento de lo dispuesto en el Art. 55 de la Ley 1/92 modificado del Código Civil Paraguayo vigente. El Juicio radica en la Secretaria a mi cargo. Yuty, 22 de Setiembre de 2.025. Abg. Orlando Miranda P. Secretario. 95548 -05/11/2025
AUMENTO DE CAPITAL. Por Escritura Pública Nº 58 de fecha 14/10/2.025, autorizada por la N.P. Limpia Stela García Cano, se formalizó el Aumento de Capital de la firma PROGRESS GROUP S.A, a la suma de Gs. 9.825.000.000, y la emisión de acciones, modificándose
CONSTITUCION DE SOCIEDAD. Por Esc. Pub. N° 35, de fecha 18/09/2025 autorizada por la N.P Lilian Beatriz Rodríguez C., se ha realizado la Constitución de la Firma LE BEIRUT FRAGANCE S.A. Domic.: Avda. Carlos A. López Edif. Jebay Center de Ciudad del Este. Durac.: 99 años. Cap. Integ.: Gs. 400.000.000. Objeto: Comercio al por mayor de productos cosméticos y de perfumería, compraventa, importación, exportación, comercialización, representación y distribución. Pdte. Karim Ali Hijazi. Vice Pdte: Ali Hussein Hijazi, Sindico Youssef Ahmad Zeihoun. Inscrip. En el Reg. de Pers. Jurid. y Comercio; con Mat. N° 47088, Serie Comercial bajo el N° 1 folio:1 en fecha 27/10/2025. 96017- 4 al 6/11
CONSTITUCION DE SOCIEDAD. Por Esc. Pub N° 187 del 26/09/2025, Autorizada por la N.P Gladys Beatriz Chaparro Bareiro N. y Esc. Pub. Titular
DISOLUCION Y LIQUIDACION DE LA COMUNIDAD CONYUGAL. El Juez Penal de Garantías de Iruña e Interino del Juzgado de Primera Instancia en lo Civil y Comercial del Primer Turno de Presidente Franco, de la Sexta Circunscripción Judicial, Alto Paraná, Abg. Miguel Ángel Brítez Piris, cita y emplaza por quince veces a los que tengan interés en reclamar derechos contra la sociedad conyugal formada por los esposos SULLY RAMONA OTAZO CAÑETE Y LUIS ARNULFO PAREDES GAONA, para que en término de 30 días contados desde la publicación del presente Edicto, comparezcan a deducir sus acciones bajo apercibimiento de los dispuesto en el Art. 55 de la ley 1/92 modificado del Código Civil Paraguayo vigente. El juicio radica en la secretaría a mi cargo. (Actuario Abog. Rodney E. Gonzalez G.). Se hace saber al destinatario, para tener certeza de que este documento es válido, que el mismo cuenta con el Código QR, por lo cual, deberá utilizar el lector del Código QR, a fin de constatar su autenticidad. Presidente Franco, 10 de Oct ubre de 2025. 95503- 22/10 al 05/11
DISOLUCIÓN CONYUGAL. LA JUEZ DE PRIMERA INSTANCIA EN LO CIVIL, COMERCIAL, LABORAL DEL PRIMER TURNO, DE LA CIRCUNSCRIPCIÓN JUDICIAL DE SAN PEDRO, ABG. NORMA MABEL FLEITAS A. Cita y emplaza por quince veces a los que tengan interés en reclamar derechos contra la Sociedad Conyugal conformada por los esposos: NESTOR
DISOLUCIÓN CONYUGAL. La Jueza de Primera Instancia en lo Civil y Comercial del Vigésimo Cuarto Turno, Dra. Magali Zavala cita y emplaza por quince veces a los que tengan interés en reclamar derechos contra la sociedad conyugal formada por los esposos OLGA HAYDEE PORTILLO DE ALDERETE y FIDELINO ALDERETE para que en el pazo de 30 días contados desde la publicación del presente Edicto comparezcan a deducir sus acciones bajo apercibimiento de lo dispuesto en el Art. 55 de la Ley 1/92 modificatoria del Código Civil Paraguayo vigente. El juicio radica en la Secretaría a mi cargo. EDGAR ADRIAN JARA MENDOZA, Actuario Judicial. Asunción, 13 de octubre de 2025. Se hace saber al destinatario de este Edicto que el mismo cuenta con el Código QR, por lo cual, para tener certeza de que este documento es válido, deberá utilizar el lector del Código QR, siendo ya en consecuencia innecesaria la autenticación manual del Actuario del Juzgado. Conforme Acordadas 1366/2019 y 1370/2020 de la Excma. Corte Suprema de Justicia. 95553 -6/11/2025
DISOLUCION CONYUGAL. La Jueza de Primera Instancia en lo Civil, Comercial y Laboral del Segundo Turno de Paraguarí, Secretaría Nº 3, Dra. LIDUVINA OTAZU DE MERELES, cita y emplaza por quince veces a los que tengan interés en reclamar derechos contra la sociedad conyugal formada por los esposos “MIRIAN LUCIA QUINTEROS CAMARA Y BLAS ESTIGARRIBIA MARTINEZ” para que en términos de 30 días contados
desde la publicación del presente Edicto, comparezcan a deducir sus acciones bajo apercibimiento de lo dispuesto en el Art. 55 de la Ley 1/92 reforma parcial del Código Civil Paraguayo vigente. El juicio radica en la secretaría a mi cargo. ABG. HADY LORENA GIMENEZ PEREZ (ACTUARIA JUDICIAL).- PARAGUARI, 20 de Marzo de 2025. 95564/06/11/2025.
DISOLUCIÓN CONYUGAL. El Juez de primera instancia en lo civil, comercial y laboral de San Juan Nepomuceno, Abog Carlos Alberto Rojas Cañete Cita y EMPLAZA por quince veces a los que tengan interés en reclamar derechos contra la sociedad conyugal conformado por los esposos: CLARA ALMEIDA VAZQUEZ C/ CLAUDIO NUÑEZ LÓPEZ para que en el perentorio término de treinta días, contados desde la publicación del presente edicto, comparezca a deducir sus acciones, bajo apercibimiento de lo dispuesto en el Art. 212 del Código Civil. El juicio radica en la Secretaría a mi cargo. San Juan Nepomuceno, 03 de octubre 2025, Abog Leónida E. PEREIRA, Actuaria Judicial. Secretaría N°1. 95568 -6/11/2025.
DISOLUCION CONYUGAL. La Juez de Primera Instancia en lo Civil, Comercial y Laboral de la Ciudad de Paraguarí, Abg. LIDUVINA OTAZÚ DE MERELES, cita y emplaza por quince veces a los que tengan interés en reclamar derechos contra la sociedad conyugal formada por los esposos MIGUEL ANGEL RAMON FLEITAS RUIZ DIAZ Y LAURA ELIZABETH COLMAN QUINTANA, que en término de 30 días contados desde la publicación del presente Edicto, comparezcan a deducir sus acciones bajo apercibimiento de lo dispuesto en el Art. 55 de la Ley 1/92 modificado del Código Civil Paraguayo vigente. El Juicio radica en la Secretaria a mi cargo. PARAGUARI, 22 de Octubre de 2025 SECRETARIO: Abg. Néstor Garcete Servín. 95569 -6/11/2025.
DISOLUCIÓN CONYUGAL. La Jueza de Primera Instancia en lo Civil, Comercial y Laboral del Segundo Turno de Paraguarí, Secretaría Nº 3, Dra. LIDUVINA OTAZU DE MERELES, cita y emplaza por quince veces a los que tengan interés en reclamar derechos contra la sociedad conyugal formada por los esposos “GABRIELA RAMIREZ LEZCANO Y CARLOS RAMON PEREIRA CACERES” para que en términos de 30 días contados desde la publicación del presente Edicto, comparezcan a deducir sus acciones bajo apercibimiento de lo dispuesto en el Art. 55 de la Ley 1/92 reforma parcial del Código Civil Paraguayo vigente. El juicio radica en la secretaría a mi cargo. ABG. HADY LORENA GIMENEZ PEREZ (ACTUARIA JUDICIAL). PARAGUARI, 22 de Octubre de 2025. 95604 -7/11/2025.
DISOLUCIÓN CONYUGAL. El juez de primera instancia en lo civil, comercial y laboral del primer turno de Cordillera, Dr. Germán Santiago Bernal Pacher, cita y emplaza por quince veces a los que tengan interés en reclamar
derechos contra la sociedad conyugal conformada por los esposos DEYSI DEYMA OVELAR GIMÉNEZ y JAVIER ADRIAN FIGUEREDO PEÑA, para que en el perentorio término de treinta (30) días, contados desde la publicación del presente edicto, comparezcan a deducir sus acciones, bajo apercibimiento de lo dispuesto en el Art. 55 de la ley 1/92. El juicio radica en la secretaría a cargo de la actuaria Abog. Teresa Parquet de Gauto. Caacupé, 17 de setiembre de 2025. 95595 -7/11/2025.
DISOLUCIÓN CONYUGAL. La Juez de Primera Instancia en lo Civil, Comercial y Laboral de San Pedro del Paraná, de la Tercera Circunscripción Judicial de la República, Abg. Francisca Solana Aquino, cita y emplaza por quince veces a los que tengan interés en reclamar derechos contra la sociedad conyugal formada por los esposos RAMÓN EUSEBIO PALACIO ROJAS con C.I.N° 1.249.707 y SINTIA FABER ROMERO con C.I.N° 3.532.286 para que en el término de 30 días, contados desde la publicación del presente edicto, comparezcan a deducir sus acciones bajo apercibimiento de lo dispuesto en el Art. 55 de la ley 1/92 y 614 inc. C) del C.P.C. El juicio radica en la secretaría (única) a mi cargo. Abg. Aníbal Amarilla Navarro, Actuario Judicial. San Pedro del Paraná, 20 de octubre de 2025. De igual manera se hace saber al destinatario de este edicto, que el mismo cuenta con el Código QR, por lo cual, para tener certeza de que este documento es válido, deberá utilizar el lector del Código QR, siendo ya en consecuencia, innecesaria la autenticación manual por parte del Actuario del Juzgado, conforme a la Acordada N° 1366/2019. 95585- 24/10 al 07/11.
DISOLUCIÓN CONYUGAL. EL JUEZ DE PRIMERA INSTANCIA EN LO CIVIL Y COMERCIAL DEL VIGESIMO SEGUNDO TURNO E INTERINO DEL JUZGADO DE IGUAL CLASE Y COMPETENCIA DEL DECIMO OCTAVO TURNO, CAPITAL, SECRETARÍA N° 35, MARTIN DIEGO ACOSTA CONDE, cita y emplaza por quince veces a los que tengan interés en reclamar derechos contra la sociedad conyugal formada por los esposos SILVIA LORENA AQUINO Y NELSON ANTONIO VILLALBA IBARRA para que en el término de 30 días, contados desde la publicación del presente Edicto, comparezcan a deducir sus acciones bajo apercibimiento de lo dispuesto en el Art. 55 de la Ley N° 1/92 y 614 inc. c) del C.P.C. El juicio radica en la Secretaría N° 35. Abg. RODRIGO AYALA (Actuario Judicial). Asunción, 22 de septiembre de 2025.OBSERVACIÓN: Se hace saber al destinatario de éste Edicto que el mismo cuenta con el Código QR, por lo cual, para tener certeza de que este documento es válido, deberá utilizar el lector del Código QR, siendo ya en consecuencia, innecesaria la autenticación manual por parte del Actuario del Juzgado conforme a lo dispuesto por Acordada N° 1335/19 de la Corte Suprema de Judicial. 95705 -8/11/2025.
DISOLUCIÓN CONYUGAL. El Juez
de Primera Instancia en lo Civil y Comercial del Tercer Turno de la ciudad de Coronel Oviedo, Abg. WILFRIDO OVELAR, cita y emplaza por 15 veces a los que tengan interés en reclamar derechos contra la sociedad conyugal formada por los esposos GLORIA BEATRIZ SANGUINA MORINIGO Y WILLIAM ARIEL SANCHEZ ARIAS, para que el termino de 30 dias contados desde la publicación del presente Edicto, comparezcan a deducir sus acciones bajo apercibimiento de lo dispuesto en el Art. 212 del Código Civil Paraguayo. El juicio radica ante la Secretaria N° 05 a mi cargo. Abog. EVER MARTINEZ, Actuario Judicial, CORONEL OVIEDO, 24 de Octubre de 2025. Se hace saber al destinatario de este edicto que el mismo cuenta con el Código QR, por lo cual, para tener certeza de que este documento es válido, deberá utilizar el lector del Código QR, siendo ya en consecuencia, innecesaria la autenticación manual del Actuario Judicial del Juzgado conforme Acordada 1366/2019 Y 1370/2020 de la Corte Suprema de Justicia. 95684 -8/11/2025.
DISOLUCIÓN CONYUGAL. LA JUEZ DE PRIMERA INSTANCIA EN LO CIVIL, COMERCIAL Y LABORAL DE LA TERCERA CIRCUNSCRIPCIÓN JUDICIAL DE LA REPÚBLICA, CON SEDE EN MARIA AUXILIADORA LA Abg. R. EVELIN CABRERA PAREDES, cita y emplaza por quince veces a los que tengan interés en reclamar derechos contra la sociedad conyugal formada por los esposos RIGOBERTO YAHARI LEGUIZA y DOMINGA MABEL VILLAR CACERES, para que en el término de 30 días, contados desde la publicación del presente edicto, comparezcan a deducir sus acciones bajo apercibimiento de lo dispuesto en el Art. 212 del Código Civil Paraguayo vigente. El juicio radica en la secretaría N° 2 a mi cargo Abg. Mirian Ortiz Yurtz, Actuaria Judicial. MARÍA AUXILIADORA, 11 de Setiembre de 2025. Se hace saber al destinatario de este edicto que el mismo cuenta con el Código QR, por lo cual, para tener certeza de que este documento es válido, deberá utilizar el lector del Código QR, siendo ya en consecuencia, innecesaria la autenticación manual de la Actuaria del Juzgado conforme Acordada 1366/2019. 95720 -8/11/2025.
DISOLUCIÓN CONYUGAL. El Juez de Primera Instancia en lo Civil, Comercial del Octavo Turno de la Capital, Abg. Walter Mendoza, cita y emplaza por quince veces a los que tengan interés en reclamar derechos contra la sociedad conyugal formada por los esposos LILIAN RAQUEL ARECO CAÑIZA Y BRAULIO ABRAHAN BOGADO FARIÑA, para que en el término de 30 días, contados desde la publicación del presente edicto, comparezcan a deducir sus acciones bajo apercibimiento de lo dispuesto en el Art. 212 del Código Civil Paraguayo vigente. El juicio radica en la secretaría N° 16 a cargo del Abg. Alexis Brambilla, Actuario. Asunción, 2 de Octubre de 2025 . 95709 -8/11/2025.
DISOLUCIÓN CONYUGAL. EL JUEZ DE PRIMERA INSTANCIA EN LO
CIVIL Y COMERCIAL DEL PRIMER TURNO DE L CIRCUNSCRIPCIÓN JUDICIAL DE AMAMBAY, Abg. JUAN MARCELINO GONZALEZ, emplaza por quince (15) veces a los que tengan interés en reclamar derechos contra la sociedad conyugal formada por los esposos LIZ MABEL ROJAS AYALA y RAUL ANTONIO BENITEZ CANO para que en el perentorio término de treinta (30) días contados desde la publicación del presente edicto, comparezcan a deducir sus acciones, bajo apercibimiento de lo dispuesto en el Art. 55 de la Ley 1/92.- El juicio radica en la Secretaría a cargo de la Actuaria Judicial, Abg. CAROLINA FRANCO VÁZQUEZ.- PEDRO JUAN CABALLERO, 7 de Octubre de 2025- 11/11/2025. 95746 /11/11/2025.
DISOLUCIÓN CONYUGAL. La Jueza del Juzgado Civil, Comercial, Laboral, de Curuguaty, ABG. SONIA MARIELA MEDINA PAREDES, cita y emplaza por quince veces a los que tengan interés en reclamar derechos contra la sociedad conyugal conformada por los esposos MARTIN GOMEZ MARTINEZ con C.I. N° 2.938.239 y CYNTHIA RAQUEL
AQUINO ALDERETE con C.I. N° 1.953.733, para el efecto ordenase la publicación de los edictos correspondientes en el DIARIO LA NACION de la Capital para que en el perentorio termino de treinta días, contados desde la publicación del presente edicto, comparezcan a deducir sus acciones, bajo apercibimiento de lo dispuesto en el Art. 55 de la Ley 1/92 del Código Civil Paraguayo. El juicio radica en la secretaria N° 02 mi cargo Abg. HUGO
DANIEL SERVIN GONZALEZ, Actuario Judicial. Conste. CURUGUATY, 13 de Octubre de 2025. 95758/11/11/2025
DISOLUCIÓN CONYUGAL. La Juez de Primera Instancia en lo Civil del Primer Turno de la Circunscripción Judicial de Caaguazú con asiento en la ciudad de Coronel Oviedo, Abg. LILIAN ROSMARY GONZALEZ DE DUARTE, cita y emplaza por quince veces a los que tengan interés en reclamar derechos contra la sociedad conyugal formada por los esposos JORGE RENE RIVAS PAREDES y SOLEDAD NOEMI AGUILERA ROBLES, para que en el término de 30 días, contados desde la publicación del presente edicto, comparezcan a deducir sus acciones bajo apercibimiento de lo dispuesto en el Art. 55 de la Ley 1/91 de la Reforma Parcial del Código Civil Paraguayo. El juicio radica en la secretaría a mi cargo. CORONEL OVIEDO, 21 de Octubre de 2025.-Abg. ADELA BENITEZ RAMOS - Actuaria Judicial.- Se hace saber al destinatario de este edicto que el mismo cuenta con el Código QR, por lo cual, para tener certeza de que este documento es válido, deberá utilizar el lector del Código QR, siendo ya en consecuencia, innecesaria la autenticación manual de la Actuaria del Juzgado conforme Acordada 1366/2019.95761/11/11/2025
DISOLUCIÓN CONYUGAL. La Juez de Primera Instancia en lo Civil, Comercial, y Laboral de la Ciudad de Juan León Mallorquín de la VI Circunscripción Judi-
MARTES 4 DE NOVIEMBRE DE 2025
cial del Alto Paraná, Abg. Gloria Liz González V., cita y emplaza por quince días a los que tengan interés en reclamar derechos contra la sociedad conyugal formada por los esposos “FELICIANA
ORTEGA ENCINA y MAXIMINO
IBARRA GOMEZ” para que, en el término de treinta días contados desde la publicación del presente Edicto, comparezcan a deducir sus acciones bajo apercibimiento de lo dispuesto en el Art. 55 de la Ley 1/92 del Código Civil Paraguayo. El juicio de referencia radica en la secretaría N°1, a cargo del Actuario Judicial Interino Abg. Orlando Trinidad. Se hace saber al destinatario del presente edicto, que el mismo cuenta con el Código QR, por lo cual, para tener certeza que este documento es válido, deberá utilizar el lector del Código QR, siendo ya en consecuencia, innecesaria la autenticación manual del Actuario del Juzgado, conforme a las Acordadas 1366/2019 y 1370/2020, de la Corte Suprema de Justicia. Doctor Juan León Mallorquín, 21 de Octubre de 2025. 95760- 28/10 al 11/11
DISOLUCIÓN CONYUGAL. El Juez de Primera Instancia en lo Civil y Comercial del Cuarto Turno, de la Sexta Circunscripción Judicial - Alto Paraná, con asiento en Ciudad del Este, cita y emplaza por quince veces a los que tengan interés en reclamar derechos contra la sociedad conyugal formada por los esposos OSVALDO EUSEBIO GONZALEZ GONZALEZ y LIZ CONCEPCION OCAMPOS LEZCANO, para que en el término de 30 días, contados desde la publicación del presente edicto, comparezcan a deducir sus acciones bajo apercibimiento de lo dispuesto en el Art. 55 de la Ley 1/92, en concordancia con el Art. 614 inc. c) del C.P.C. El juicio radica en la secretaría a mi cargo. Ciudad del Este, 27 de Octubre de 2025. Abg. Fredy A. Colman, Actuario Judicial. Se hace saber al destinatario de este edicto que el mismo cuenta con el Código QR, por lo cual, para tener certeza de que este documento es válido, deberá utilizar el lector del Código QR, siendo en consecuencia, innecesaria la autenticación. 9574028/10 al 11/11
DISOLUCION CONYUGAL. El Juez de Primera Instancia en lo Civil del Segundo Turno, Abg. LAURA BEATRIZ ROJAS CAÑETE, cita y emplaza por quince veces a los que tengan interés en reclamar derechos contra la sociedad conyugal formada por los esposos GLORIA ESTELA GONZÁLEZ GIMÉNEZ con C.I.C. Nº 1.369.211 y LUIS ALBERTO SILVERO ÁLVAREZ con C.I.C. Nº 856.041, para que en el término de 30 días, contados desde la publicación del presente edicto, comparezcan a deducir sus acciones bajo apercibimiento de lo dispuesto en el Art 55 de la ley1/92. El juicio radica en la secretaría a mi cargo. CORONEL OVIEDO, 28 de Octubre de 2025.Abg. JUAN A. ONIEVA, Actuario Judicial.-Secretaria Nº 3. Se hace saber al destinatario de este edicto que el mismo cuenta con el Código QR, por lo cual, para tener certeza de que este documento es válido, deberá utilizar el lector del Código QR, siendo ya en consecuencia, innecesaria la autenticación manual del
Actuario del Juzgado conforme Acordada 1366/2019.-95864/13/11/2025
DISOLUCION Y LIQUIDACION DE LA COMUNIDAD CONYUGAL. La jueza de primera instancia en lo Civil y Comercial del Primer turno de presidente franco, de la Sexta Circunscripción Judicial, Alto Paraná, abg. Sara Silva Figueredo, cita y emplaza por quince veces a los que tengan interés en reclamar derechos contra la sociedad conyugal formada por los esposos EFREN TEODORO ZORRILLA ARGUELLO y LIZ ALICIA AGUAYO, para que, en término de 30 días contados desde la publicación del presente Edicto, comparezcan a deducir sus acciones bajo apercibimiento de los dispuesto en el Art. 55 de la ley 1/92 modificado del Código Civil Paraguayo vigente. El juicio radica en la secretaría a mi cargo. (Actuario Abog. Rodney E. González G.). Se hace saber al destinatario, para tener certeza de que este documento es válido, que el mismo cuenta con el Código QR, por lo cual, deberá utilizar el lector del Código QR, a fin de constatar su autenticidad. Presidente Franco, 28 de octubre de 2025. 9592331/10 al 14/11
DISOLUCIÓN CONYUGAL. El Juez de Primera Instancia en lo Civil y Comercial del Tercer Turno de la Ciudad de San Lorenzo, Secretaría 5, Abg. Felipe Mercado Navarro cita y emplaza por quince veces a los que tengan interés en reclamar derechos contra la sociedad conyugal formada por los esposos IDALINO ARISTE ENCINA LEGUIZAMON y MELISA ELIZABETH ROJAS. San Lorenzo, 20 de junio de 2024. Nelida Rosa Venialgo Torres, Actuaria Judicial. 75910/14/11/2025
DISOLUCIÓN CONYUGAL. LA JUEZA DE PRIMERA INSTANCIA EN LO CIVIL, COMERCIAL, LABORAL DE LA CIUDAD DE CURUGUATY, ABG. SONIA MARIELA MEDINA PAREDES, cita y emplaza por el término de Ley a los que tengan interés legítimo en reclamar derechos en contra de la Sociedad conyugal conformada por los esposos JUANA ALMIRON BRITOS y MIGUEL ANGEL CAMPUZANO S/ DISOLUCIÓN DE LA COMUNIDAD CONYUGAL para que en el perentorio termino de treinta días, contado desde la publicación del presente edicto, comparezcan a deducir sus acciones, bajo apercibimiento de lo dispuesto en el Art. 55 de la Ley 1/92 modificado del Código Civil paraguayo. El juicio radica en la secretaria Nº 1, a cargo de la Actuaria Judicial Abg. MIRIAN ESTELA PERALTA RODRIGUEZ. CURUGUATY, 30 de Octubre de 2025. 75911/14/11/2025
DISOLUCIÓN CONYUGAL. El Juez de Primera Instancia en lo Civil, Comercial y Laboral del Tercer Turno de la ciudad de Caaguazú, Abg. FRANCISCO LUIS ASTIGARRAGA FELTES, cita y emplaza por quince veces a los que tengan interés en reclamar derechos contra la sociedad conyugal formada por los esposos MARIA DOLORES RODA TOLEDO Y ALFREDO NUÑEZ NOGUERA, para que, en el término de 30 días, contados desde la publicación del presente edicto, com-
parezcan a deducir sus acciones bajo apercibimiento de Ley. El juicio radica en la secretaría a mi cargo. CAAGUAZU, 11 de Agosto de 2025. Abg. FIDENCIA MARTINEZ RIVEROS, Actuaria Judicial. – Se hace saber al destinatario de este edicto que el mismo cuenta con el Código QR, por lo cual, para tener certeza de que este documento es válido, deberá utilizar el lector del Código QR, siendo ya en consecuencia, innecesaria la autenticación manual de la Actuaria del Juzgado conforme Acordada 1366/2019. 95915/ 31/10 al 14/11
DISOLUCIÓN CONYUGAL. La Jueza de Primera Instancia en lo Civil y Comercial del Primer Turno, Abg. LIZ NATHALIA LOBO RUIZ DIAZ, cita y emplaza por quince veces a los que tengan interés en reclamar derechos contra la sociedad conyugal formada por los esposos ARNALDO DELGADO GOMEZ Y LETICIA PAOLA FRANCO VELAZQUEZ, para que, en el término de 30 días, contados desde la publicación del presente edicto, comparezcan a deducir sus acciones bajo apercibimiento de lo dispuesto en el art. 55 de la Ley 1/92. El juicio caratulado ARNALDO DELGADO GOMEZ C/ LETICIA PAOLA FRANCO VELAZQUEZ S/DISOLUCIÓN DE LA COMUNIDAD CONYUGAL– AÑO 2025 – N° 178., radica en la Secretaria N°1 del Juzgado de Primera Instancia en lo Civil y Comercial del 1° Turno, del Poder Judicial de la ciudad de Dr. J. Eulogio Estigarribia Abg. Silvio Paul Cano Raggini. Actuario Judicial – Secretaría Nº 1., DOCTOR J. EULOGIO ESTIGARRIBIA, 28 de Octubre de 2025 95917/ 31/10 al 14/11
DISOLUCIÓN CONYUGAL. LA JUEZ DE PRIMERA INSTANCIA EN LO CIVIL, COMERCIAL, LABORAL, DE LA NIÑEZ Y ADOLESCENCIA DE LA CIUDAD DE KATUETÉ, CIRCUNSCRIPCIÓN JUDICIAL DE CANINDEYÚ, ABG. JOSEFINA GUNSETT MELGAREJO, de citación y emplazamiento en el diario, por quince veces convocando a todos los que tengan derechos o créditos que reclamar en la presente comunidad conyugal, para que en el perentorio plazo de treinta días contados desde la última publicación del edicto, comparezcan a ejercer sus acciones, bajo apercibimiento de no poder hacerlo en adelante sino contra los bienes propios del deudor, en el JUICIO: “ANDRESA MAIARA AQUINO DA SILVA Y MARCELO AGUERO BARRETO S/ DISOLUCIÓN DE LA COMUNIDAD CONYUGAL. EXP N° 68, AÑO 2025.”, que radica en la secretaria Nro. 01, a cargo del Actuario Judicial ABOG. JUSTO ARIEL ROJAS BALBUENA. - Se hace saber al destinatario de este edicto que el mismo cuenta con el Código QR, por lo cual, para tener certeza de que este documento es válido, deberá utilizar el lector del Código QR, siendo ya en consecuencia, innecesaria la autenticación manual del actuario del Juzgado conforme Acordada 1335/19.- KATUETE, 13 de Agosto de 2025.- - 18/11/2025
DISOLUCIÓN CONYUGAL. LA JUEZ DE PRIMERA INSTANCIA, DEL
JUZGADO CIVIL, COMERCIAL Y LABORAL DE LA CIUDAD DE CURUGUATY, ABG. SONIA MARIELA MEDINA PAREDES, cita y emplaza por el término de Ley a los que tengan interés legítimo en reclamar derechos contra la sociedad conyugal conformada por los señores FERMINA GONZALEZ DE ZARACHO y VICENTE ZARACHO VILLALBA que en el perentorio término de treinta días, contados desde la publicación del presente edicto, comparezcan a deducir sus acciones, bajo apercibimiento de lo dispuesto en el Art. 55 de la Ley 1/92 modificado del Código Civil Paraguayo. El juicio radica en la secretaria Nº 1, a cargo de la Actuaria Judicial ABG. MIRIAN ESTELA PERALTA RODRÍGUEZ. CURUGUATY, 11 de Setiembre de 2025. 95996/18/11/2025
DISOLUCIÓN CONYUGAL. La Jueza de Primera Instancia en lo Civil y Comercial del Segundo Turno de la Circunscripción Judicial de Concepción, Abogada CELSA ESTELA SANGUINEZ DE GALIANO, cita y emplaza por quince veces a los que tengan interés en reclamar derechos contra la comunidad conyugal conformada por los esposos "DOLLY ESTHER FERREIRA ACOSTA y CRISTHIAN RUBEN ACUÑA VALDEZ" para que en el perentorio término de treinta días contados desde la publicación del presente edicto, comparezcan a deducir sus acciones, bajo apercibimiento de lo dispuesto en el Art. 55 de la Ley 1/92 del Código Civil Paraguayo vigente. El juicio radica en la secretaria Nº 4 a mi cargo. Se hace saber al destinatario de este documento que el mismo cuenta con el Código QR, por lo cual, para tener certeza de que este documento es válido, deberá utilizar el lector del Código QR, siendo ya en consecuencia, innecesaria la autenticación manual de la Actuaria del Juzgado conforme Acordada 1366/2019 de la Corte Suprema de Justicia. Firmado digitalmente por: ROSA ELIZABETH MISKINICH LESME (ACTUARIO/A). CONCEPCION, 18 de Junio de 2025.-96005/18/11/2025
DISOLUCIÓN CONYUGAL.‘‘NOEMI VERA VERA Y SANTIAGO ARIEL ALFONZO OSORIO ’’.LA ACTUARIA DEL JUZGADO DE PRIMERA INSTANCIA EN LO CIVIL, COMERCIAL y LABORAL DEL SEGUNDO TURNO DE CAACUPÉ, Abogada ADRIANA FERNANDEZ, cita y emplaza por quince veces a los que tengan interés en reclamar derechos contra la sociedad conyugal formada por los esposos NOEMI VERA VERA Y SANTIAGO ARIEL ALFONZO OSORIO, para que, en el término de 30 días, contados desde la publicación del presente edicto, comparezcan a deducir sus acciones bajo apercibimiento de lo dispuesto en el Art. 212 del Código Civil Paraguayo vigente. CAACUPE, 4 de Junio de 2024.- Se hace saber al destinatario de este edicto que el mismo cuenta con el Código QR, por lo cual, para tener certeza de que este documento es válido, deberá utilizar el lector del Código QR, siendo ya en consecuencia, innecesaria la autenticación manual de la Actuaria del Juzgado conforme Acordada 1366/2019. –
96004/18/11/2025
. EDICTO. DE CITACIÓN EL JUEZ DE PRIMERA INSTANCIA EN CIVIL Y COMERCIAL DEL SEGUNDO TURNO DE LA CIRCUNSCRIPCIÓN JUDICIAL DE VILLARRICA Abg. Oscar Alfredo Ortega Varela, cita, llama y emplaza por el término de 15 veces a la Sra. ALBA ALICIA ORTIZ BOVEDA para que comparezca a estar en juicio por sí o por apoderado en los autos caratulados: “NAVID AKHTAR KHAVARI C/ ALBA ALICIA ORTIZ BÓVEDA, ELADIA ISABEL OR TIZ DE GONZÁLEZ, PERLA SUSANA ORTIZ BOVEDA Y GRACIELA CONCEPCIÓN ORTIZ BOVEDA S/ ACCIÓN REVOCATORIA”, bajo apercibimiento de que, si así no lo hiciere, se nombrará al Defensor de Ausentes de esta Circunscripción. Los autos se tramitan ante la Secretaria N° 4 del Juzgado en lo Civil y Comercial del segundo Turno, 5° Piso, a cargo del Actuario Celso Ariel Benitez Denis.- VILLARRICA, 21 de Octubre de 2025. 95509/05/11/2025
EDICTO. La Juez de Primera Instancia de la Niñez y la Adolescencia del Segundo Turno, de la Circunscripción Judicial del Alto Paraná, ha dictado en los autos caratulados: “LUISA BEATRIZ VZAL MOREL S/ REGIMEN DE CONVIVENCIA”, la providencia de fecha 27 de octubre de 2025, que transcripta en su parte pertinente dice: “Atenta al informe del Registro de Poderes. Cítase por edictos al Sr. JORGE PATRICIO VZAL ORTIZ, por siete veces, que se publicarán en los diarios la Nación de la capital, para que comparezcan por sí o por apoderado a estar en el presente juicio, bajo apercibimiento de que, si así no lo hicieren dentro del término establecido, se les nombrará como representante al Defensor de Pobres y Ausentes de Turno. Expídase por secretaría los edictos correspondientes. Firmado: Abog. Graciela Ovelar Viñales (Juez). Ciudad del Este, 28 de octubre de 2025. Abog. Elba Patricia Herrera de Ortiz (Actuaria Judicial) 95790- 29/11 al 04/11
FUSIÓN POR ABSORCIÓN DE CREO NORTE S.A. Y CREO CHACO S.A. POR PARTE DE CREO PY. S.A. ANUNCIO EN CUMPLIMIENTO DEL ART. 1193, INC. “B” DEL CÓDIGO CIVIL Antecedentes: CREO NORTE, CREO CHACO S.A. con domicilio en Bulnes N° 830 casi España y CREO PY. S.A. con domicilio Bulnes N° 830 esquina Avda. España de la ciudad de Asunción, han acordado fusionarse mediante la absorción de esta última por parte de las dos sociedades primeras. La decisión de suscribir un acuerdo de fusión ha sido tomada en la Asamblea General Extraordinaria llevada a cabo en fecha 22 de octubre de 2025, por las respectivas Asambleas de Accionistas no habiendo los accionistas ejercidos el derecho de receso previsto en el Art. 1092 del Código Civil Paraguayo. El resumen del compromiso es el siguiente: 1. Creo Py. S.A. será la Sociedad absorbente manteniendo su nombre y convirtiéndose en titular de los derechos y obligaciones de Creo
Norte S.A. y Creo Chaco S.A. en un todo, de acuerdo con lo dispuesto en el Art. 1192 del Código Civil. 2. Las partes convienen implementar la Fusión de ambas sociedades tomándose como base contable los Balances de las sociedades al 31 de agosto de 2025. 3. Por el monto del Patrimonio Neto, Creo Py. S.A. procederá a entregar a los accionistas de Creo Norte S.A. y Creo Chaco S.A. acciones de la clase nominativa de Voto Simple en la misma proporción a sus respectivas tenencias accionarias y a valor nominal. 4. Detalles y aclaraciones sobre las bases del acuerdo mencionado más arriba y los Balances correspondientes a ambas entidades al 31/08/2025, se encuentra a disposición de los interesados en la secretaría del Directorio de las sociedades, sitas en Bulnes N° 830 esquina Avda. España Asunción, 23 de octubre de 2025. CREO PY. S.A. Directorio,, CREO NORTE S.A. Directorio, CREO CHACO S.A. Directorio- 5/11/2025 95952/05/11/2025
EDICTO.El Juez de Primera Instancia en lo Civil y Comercial del Octavo Turno, Dr. Walter Raúl Mendoza Orue, cita y emplaza por 30 días a los acreedores de MARIA ROMINA RIOS PRIETO, para que presenten los títulos justificativos de sus respectivos créditos, cuya convocatoria de acreedores fue admitida ante este Juzgado.- ASUNCIÓN, 31 de Octubre de 2025 - Firmado digitalmente por Alexis Nicolas Arturo Brambilla –Actuario Judicial- 5/11/2025
EDICTO. AVISO A LOS ACCIONISTAS Se comunica a los señores accionistas del CENTRO OFTALMOLÓGICO DE DIAGNÓSTICO Y TRATAMIENTO S.A. que se ha dispuesto la emisión de 93 (noventa y tres) acciones, con valor nominal de Gs. 3.500.000 cada una y condición de pago al contado. Los accionistas podrán ejercer su derecho de preferencia, conforme al artículo 6º del Estatuto Social, dentro del plazo de sesenta (60) días contados a partir del último día en que se publique este aviso, el cual será difundido por dos días en forma alternada y consecutiva, en dos diarios de gran circulación, incluyendo este diario, siendo las fechas de publicación el 1, 2, 3 y 4 de noviembre del cte. año.El Directorio. 95953/4/11/2025
EDICTO. La Actuaria del Tribunal Electoral de Alto Paraná y Canindeyú, Wilma Villagra, de Conformidad al Art. 22 de la ley 834/96. cita y emplaza por tres veces a Partidos y Movimientos Políticos que tengan derecho a deducir oposición al reconocimiento del Movimiento Político Distrital transitorio denominado MOVIMIENTO POLÍTICO INDEPENDIENTE JUNTOS PODEMOS HERNANDARIAS, Distrito Hernandarias Departamento de Alto Paraná, debiendo hacerlo dentro del de plazo de quince días contados desde de la última publicación, conforme lo estipula el A.I. N° 95 de fecha 28 de octubre del 2025; acompañando las pruebas pertinentes, el acta de fundación, declaración de principios y estatuto del citado movimiento político, datan del 27/08/2025, y consta en la Escritura
Pública Nro. 21 Folio 36 al 40, Sección "b", ambas pasadas ante la Notaría y Escribana Pública: Angelica Beatriz Garayo Ayala adopta la denominación: "Movimiento Político Independiente Juntos Podemos Hernandarias", con las siguientes características: una bandera que adopta el color violeta (código hexadecimal del color elegido: #ae4fd1) y como símbolo una estrella de cinco punta entrelazada y cinco puntos que simbolizan personas que se unen, su Eslogan: Podemos Confiar y su sigla es: "M.J.P.H". Conste. Wilma Villagra de Espínola, Actuaria Judicial. Ciudad del Este, 30 de octubre de 2025. 96002- 4 al 6/11
CONVOCATORIA DE ACREEDORES. LA JUEZ DEL JUZGADO DE PRIMERA INSTANCIA EN LO CIVIL Y COMERCIAL DEL PRIMER TURNO DE LA CIRCUNSCRIPCIÓN DEL GUAIRA, Abg. LIZA MARIA ALFONSO VERA, Secretaría N° 1, a cargo del Actuario Judicial, Abg. César Rigoberto Battaglia Mereles, ha dictado el A. I. N° 362, de fecha 27 de agosto del 2.025, cuya parte resolutiva se le transcribe a continuación: “…1.- TÉNGASE por presentado al señor PAULO EFREN NICOLICCHIA GRECO y por constituido su domicilio en el lugar señalado. Agréguense los documentos anexados al sistema de gestión de casos previa autenticación digital por el actuario. 2.- ADMITIR la convocación de acreedores del el Señor PAULO EFREN NICOLICCHIA GRECO con Cédula de Identidad N° 2.940.216 y decretase la inhibicion general de gravar y vender del mismo, para el efecto oficese. 3.- DEJAR establecido que el convocatario no es comerciante. 4.- CITAR a los acreedores del convocatario para que en el plazo de 30 (treinta) días presenten los títulos justificativos de sus respectivos créditos.5.- ORDENAR la publicación de los edictos respectivos, haciendo saber la admisión de la presente convocación en el diario “LA NACION”, por el término de 5 (cinco) días. 6.ORDENAR la suspensión todo tipo de descuentos y/o acciones ejecutivas iniciadas o a iniciarse contra el patrimonio del convocatario, con la excepción de los que tuvieren como objeto el cobro de un crédito con garantía real o del que corresponda al trabajador, como consecuencia de un contrato de trabajo, para cuyo efecto se librarán los oficios correspondientes a los Juzgados de Primera Instancia en lo Civil y Comercial donde sean tramitados los juicios. 7.- ADJUNTAR toda la documentación dentro de los plazos previstos en la Ley. 8.- DAR intervención al Ministerio Público. 9.- COMUNICAR esta Resolución al Registro General de Quiebras y a la Dirección Nacional de los Registros Públicos, librándose los correspondientes oficios. 10.- LIBRAR los oficios en la forma y a los efectos solicitados. 11.DESIGNAR al Síndico de turno, a los efectos de la intervención correspondiente. Notifíquese por cédula.12.- ANOTAR, registrar y conservar en el gestor documental del
Poder Judicial, en los términos del art. 66 de la ley 6822/2021 y a la Acordada N° 1108 en su ítem 5, de la Excelentísima Corte Suprema de Justicia. Firmado: ABG. LIZA MARIA ALFONSO VERA (JUEZ). VILLARRICA, 24 de Octubre de 2025. 96008/08/11/2025 96008/08/2025
EDICTO DE ESCISIÓN. JF COURIER SOCIEDAD DE RESPONSABILIDAD LIMITADA con Ruc 80026802-4 y domicilio en Jejui N° 1064 c/ Colón y Hernandarias, ha aprobado en reunión de socios de fecha 29 de octubre de 2025 el proceso de escisión parcial de la sociedad, en el marco de una reestructuración empresarial. Este proceso tiene como finalidad la separación de unidades de negocio, transfiriéndose determinados activos a una nueva sociedad a constituirse. El bien afectado a la escisión es el siguiente: • Identificación de los bienes: Inmueble que incluye terreno y construcción existente, ubicado en la ciudad de Asunción, Paraguay, Distrito La Encarnación, Cta. Cte. N° 10-472-11 Certificado Catastral N° 99758 con superficie de 842,60 m2. Caja por Gs. 5.988.342.-• Valor según balance al 31 de diciembre de 2024: Gs. 3.250.000.000 que formarán parte del patrimonio neto de la sociedad escindida. Se informa que el balance estará disponible para los interesados en cumplimiento de las disposiciones legales y estatutarias, por el plazo de treinta (30) días corridos contados desde la primera comunicación para que puedan formular las manifestaciones que consideren pertinentes y, en su caso, otorgar su consentimiento expreso o tácito respecto al proceso de escisión. Asimismo, se informa que el proceso será publicado en dos diarios de gran circulación, cinco veces alternadas durante diez días, conforme a lo establecido en los artículos 113º de la Ley 1034 del Comerciante y 1193 del Código Civil. 95887/08/11/2025
CIRCULAR DE MENSURA JUDICIAL. Comunico a quienes puedan tener interés y en particular a sus linderos en la Mensura de conformidad al Art. 657 del C. P. C., el día 18 de noviembre de 2025 a las 13:30 hs. Iniciaré las operaciones técnicas de mensura de una fracción de terreno individualizado en la Dirección General de los Registros Públicos como Matricula N°F13/3000, Padrón N° 3075 del Distrito de Juan Manuel Frutos, Lugar Calle 7, propiedad del Sr. Severo Martínez Riveros. El agrimensor comisionado hará uso de lo estipulado en el Art. 662 del C. P. C., durante la ejecución de los trabajos. La comisión de Mensura ha sido conferida por el Juzgado de Primera Instancia en lo civil de Caa-
guazú. El punto de inicio será el esquinero Sur Este, Coordenadas UTM 21J E = 622215,05 N = 7191937,62. Ing. Geodésico Ambiental Edgar Osvaldo C. Rivarola Ullón, Reg. MOPC N°3998 Mat. CSJ N°4324 Cel. 0971690869.Ing. Edgar Rivarola Ullón, Agrimensor. 95999/08/11/2025
CIRCULAR DE MENSURA JUDICIAL. Comunico a quienes pudieran tener interés y en especial a las partes linderas. Que el día 27 de Noviembre del año 2025, a las 10:00 horas daré inicio a las operaciones técnicas de mensura judicial, del inmueble identificado en la Dirección General de los Registros Públicos como finca N° 3700, Padrón N° 5485, Distrito de Caazapa Hoy Abai, Departamento de Caazapa, lote N°6 manzana 1, Fracción B, Lugar Denominada Colonia Rogelio R. Benítez, Caratulado Bacilia Ramirez de Acosta S/ Mensura Judicial, Expediente N° 253, Folio N° 168 -Año 2025 . Finca N° 3700, Padrón N°5485 Los linderos de la Propiedad según títulos son los Siguientes: Al Norte: linda con lote N°2 de. Fermín Ramirez Martinez.-La comisión de mensura Judicial fue conferido por el Juez de 1ra. Instancia Civil, Comercial y Laboral de San Juan Nepomuceno, circunscripcion judicial de Caazapa, Abog Carlos Alberto Rojas C. El expediente se tramita en la secretaria N° 1 a cargo de la Actuaria judicial Abg. Leónida E. PEREIRA.- Las operaciones técnicas arrancarán del esquinero Sur - Este. SAN Juan Nepomuceno, 31 de Octubre del Año 2025. LIC. Geog Lino Diaz Villar, Reg MOPC N° 377, Matrícula CSJ N 2913, Cel 0981165598. 96023/08/2025
MODIFICACIÓN DE ESTATUTOS. de SUSTAGRO S.R.L. 96018/06/11/2025
MODIFICACIÓN DEL ESTATUTO SOCIAL/EMISIÓN DE NUEVAS SERIES DE ACCIONES NOMINATIVAS: FALCÓ INGENIERÍA S.A. - RUC N° 80085922–7. Por Escritura Pública Nº 189 (Ciento Ochenta y Nueve) Folio N° 488 y siguientes, en la Ciudad de Asunción, Capital de la República del Paraguay, a los 10 días del Mes de Octubre del 2.025.-, ante la N.P. Sra. Virginia Rosalba Portillo de Ochipinti, Registro N° 647; realizó la: MODIFICACIÓN DEL ARTÍCULO QUINTO: AUMENTO DE CAPITAL Y LA EMISIÓN DE NUEVAS SERIES DE ACCIONES NOMINATIVAS DE LA RAZÓN SOCIAL DE FALCÓ INGENIERÍA SOCIEDAD ANÓNIMA, DONDE EL CAPITAL SOCIAL ACTUAL SE FIJA EN LA SUMA DE GUARANÍES, DOS MIL, OCHOCIENTOS OCHENTA MILLONES, (GS.2.880.000.000).- REPRESENTADAS POR 288 (DOSCIENTOS OCHENTA Y OCHO) ACCIONES NOMINATIVAS DE UN VALOR NOMINAL DE GUARANÍES, DÍEZ MILLONES, (GS. 10.000.000).- CADA UNA.Inscripta en la Dirección de los Registros Públicos, Sección Personas Jurídicas y Comercio: Con Matrícula Jurídica Nro. 11.749, Serie: Comercial, Entrada Nº 15170311, Modificación de Falcó Ingeniería S.A., Inscripto Bajo el Nº 08, Folio
N° 63, de Fecha: 15/10/2.025, Dictamen DRFS N° 117.844 de Fecha: 14-10-2.025.Inscrito de Conformidad a la Acordada CSJ N° 1539/21 – DTR N° 4/21.- Con fecha de Entrega a la Razón Social de la Dirección General de los Registros Públicos el día, Miércoles: 29-10-2.025. 96024/06/2025
MODIFICACIÓN DE ESTATUTOS/ AUMENTO DE CAPITAL Y EMISIÓN DE NUEVAS SERIES DE ACCIONES NOMINATIVAS. CAUCE S.A. - RUC N° 80082143 –2. Por Escritura Pública Nº 157 (Ciento Cincuenta y siete), en la Ciudad de Fernando de la Mora, Central de la República del Paraguay, a los 11 días del Mes de Agosto del 2.025.-, ante la N.P. Sra. Virginia Rosalba Portillo de Ochipinti, Registro N° 647; realizó la: MODIFICACIÓN DEL ESTATUTO SOCIAL /EMISIÓN–ARTÍCULO QUINTO, DONDE SE DECIDIÓ EL AUMENTO DEL CAPITAL SOCIAL Y LA EMISIÓN DE NUEVAS SERIES DE ACCIONES NOMINATIVAS DE LA RAZÓN SOCIAL DE CAUCE SOCIEDAD ANÓNIMA, INTEGRADA POR LOS ACCIONISTAS, SR. WILFRIDO SOTO FELIU, SRA. RENEE ROCIO RAQUEL RECALDE COEFFIER, DONDE EL CAPITAL SOCIAL ACTUAL SE FIJA EN LA SUMA DE GUARANÍES, DOS MIL CIENTO SEIS MILLONES (GS. 2.106.000.000).- REPRESENTADAS EN 702 (SETECIENTOS DOS) ACCIONES NOMINATIVAS DE UN VALOR NOMINAL DE GUARANÍES TRES MILLONES, (GS. 3.000.000). Inscripta en la Dirección de los Registros Públicos: 01 - Sección Persona Jurídica y Comercio. Con Matrícula Jurídica Nro. 27.083, Serie: Comercial, Entrada Nº 15141588, Modificación/Emisión de: CAUCE S.A., Inscripto Bajo el Nº 07, Folio N° 53, de Fecha: 06/10/2.025, Abogacía del Tesoro - Dictamen Modificación/ Emisión - DRFS N° 116.533 de Fecha: 25-08-2.025.- INSCRIPTO DE CONFORMIDAD A LA ACORDADA C.S.J. N° 1539/21 – DTR N° 4/21. Con fecha de Entrega a la Razón Social de la Dirección General de los Registros Públicos el día, Martes: 21-10-2.025.96025/06/2025

PATENTE DE INVENCIÓN. (19)
DIRECCION NACIONAL DE PROPIEDAD INTELECTUAL PARAGUAY
PARAGUÁI TETÁYGUA AKÁPYROKY MBA'ETEE MOAKÁHA (11) Nro. Publi-
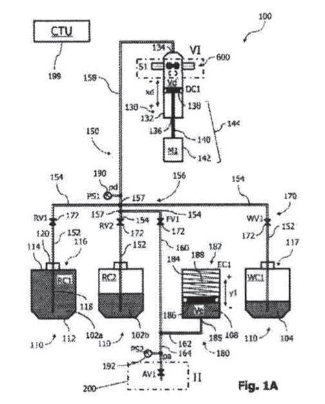
cación: PY2442226A (43) Asunción, 24 de Junio de 2025.- Orden de Publicación de SOLICITUD de Patente de Invención (12) DATOS DE LA SOLICITUD (21) Nº de Solicitud: 2442226 (22) Fecha de Solicitud: 24/05/2024 12:02:48 (71) Solicitante: SYNGENTA CROP PROTECTION AG Domicilio Solicitante: Rosentalstrasse 67, 4058 Basel, Suiza, CH (72) Inventor: 1)OBRIST, LUKAS; 2)SUTTER, MANUEL; 3)KARLEN, ROGER; y 4) SZALONTAI, LASZLO Domicilio Inventor: 1), 2) y 3)Valenco GmbH, Challerenweg 1, 4303 Kaiseraugst, Suiza, CH; 4)Syngenta Crop Protection AG Rrosentalstrasse 67, 4058 Basel, Suiza, CH (54) Título: MÉTODOS PARA PROPORCIONAR Y APLICAR COMPOSICIÓN AGRÍCOLA, DISPOSITIVOS DE SUMINISTRO, DISPOSITIVO DE AGITACIÓN, Y DISPOSITIVO DE APLICACIÓN (74) Agente: Juan Pablo Salomoni Guanes – 4795 (30) Prioridad/es: EP 23176427.5 - 31/05/2023 (51) Int. Cl 8: A 01C 1/06(2006.01), A 01C 23/00(2006.01), A 01C 23/04(2006.01) En cumplimiento al Artículo 1 de la Ley Nº 2593/05 que modifica el Artículo 23 de publicaciones de la Ley Nº 1630/00 de Patentes de Invención, se dispone que a partir de la fecha de la presente orden de publicación, esta solicitud de patente se hace pública y se ordena su publicación por el término de la Ley. (57) Resumen: (140/24). La invención descrita en la presente incluye un método para proporcionar una composición agrícola, el método que incluye: dosificar una cantidad predeterminada de una composición agrícola a granel desde un contenedor de depósito (RC1, RC2) en un contenedor de dosificación (DC1), preferentemente por presión de vacío; y alimentar un contenido del contenedor de dosificación (DC1), como la composición agrícola, a un dispositivo de aplicación agrícola (200), que incluye preferentemente por sobrepresión. La invención también implica un dispositivo de suministro (100) para proporcionar una composición agrícola, el dispositivo de suministro (100) que incluye: al menos una unidad de admisión de composición a granel (116), cada una de las cuales se forma para comunicarse con un respectivo contenedor de depósito (RC1, RC2); un contenedor de dosificación (DC1); una unidad de interfaz de aplicación (180) que se puede conectar a un dispositivo de aplicación (200) para aplicar una composición agrícola a plantas o material de propagación vegetal (K); una tubería (150) que conecta el contenedor de dosificación (DC1) con cada unidad de admisión de composición a granel (116) y la unidad de interfaz de aplicación (180); una disposición de válvula (170) formada para comunicar o cerrar selectivamente cada unidad de admisión de composición a granel (116) y la unidad de interfaz de aplicación (180) con o desde el recipiente de dosificación (DC1) a través de la tubería (150), un medio de presurización (144) para proporcionar sobrepresión o presión de vacío al contenedor de dosificación (DC1), para dosificar o alimentar el contenido del contenedor de dosificación (DC1); y una unidad de control (199, CTU) formada y conectada para controlar la disposición de válvula (170) y los medios de presurización (144) en
donde el contenedor de dosificación (DC1) incluye preferentemente un cilindro (130) que tiene un pistón impulsado (138) para controlar el volumen de trabajo (Vd). La invención también implica un método para aplicar una composición agrícola, un dispositivo de agitación para usarse en el contenedor de dosificación (DC1), un dispositivo de aplicación (200), y un sistema de tratamiento de plantas. (Figura 1A) Farm. Berta Segovia, Directora InterinaDirección de Patentes. 95888/05/11/2025

PATENTE DE INVENCIÓN. (19) DIRECCION NACIONAL DE PROPIEDAD INTELECTUAL PARAGUAY PARAGUÁI TETÁYGUA AKÁPYROKY MBA'ETEE MOAKÁHA (11) Nro. Publicación: PY2440971A (43) Asunción, 24 de Junio de 2025. Orden de Publicación de SOLICITUD de Patente de Invención (12) DATOS DE LA SOLICITUD (21) Nº de Solicitud: 2440971 (22) Fecha de Solicitud: 22/05/2024 10:11:28 (71) Solicitante: SYNGENTA CROP PROTECTION AG Domicilio Solicitante: Rosentalstrasse 67, 4058 Basel, Suiza, CH (72) Inventor: 1)KARLEN, ROGER; y 2) OBRIST, LUKAS Domicilio Inventor: 1) y 2) Valenco Gmbh, Challerenweg 1, 4303 Kaiseraugst, Suiza, CH (54) Título: "MÉTODO Y UNIDAD DE APLICACIÓN PARA APLICAR LA COMPOSICIÓN DE RECUBRIMIENTO DE SEMILLAS, DISPOSITIVO DE APLICACIÓN DE RECUBRIMIENTO, TUBO DE SEMILLAS Y DISPOSITIVO DE SIEMBRA" (74) Agente: Juan Pablo Salomoni Guanes - 4795 (30) Prioridad/es: EP 23176431.7 -31/05/2023 (51) Int. Cl 8: A 01C 1/06(2006.01), A 01C 7/04(2006.01), A 01C 7/20(2006.01) En cumplimiento al Artículo 1 de la Ley Nº 2593/05 que modifica el Artículo 23 de publicaciones de la Ley Nº 1630/00 de Patentes de Invención, se dispone que a partir de la fecha de la presente orden de publicación, esta solicitud de patente se hace pública y se ordena su publicación por el término de la Ley. (57) Resumen: (138/24). La invención se refiere a un método para aplicar una composición de recubrimiento a materiales de propagación vegetal que caen (K). El método incluye: detectar un material de propagación vegetal (K) que cae libremente dentro de una zona de detección predeterminada (E); determinar, en función de la detección del material de propagación vegetal (K), un tiempo de activación (ta) para activar un dispositivo aplicador activable (330) proporcionado para descargar alícuotas (D) de la composición de recubrimiento hacia una zona de impacto predeterminada (T) donde el material de
5 MARTES 4 DE NOVIEMBRE DE 2025
propagación vegetal (K) puede ser impactado por las alícuotas (D), definiéndose la zona de impacto (T) preferentemente por una trayectoria de pulverización (I) de la composición de recubrimiento descargada del dispositivo aplicador (330); activar el dispositivo aplicador activable (330) en el tiempo de activación (ta) determinado para descargar una alícuota (D) de la composición de recubrimiento hacia la zona de impacto (T); escanear una zona de escaneo predeterminada (A.) dentro, alrededor o después de la zona de impacto (T); estimar, en función de un resultado del escaneo, si el material de propagación vegetal (K) fue impactado o no por la alícuota (D), siendo el resultado del escaneo preferiblemente una información de distancia. La invención también se refiere a una unidad de aplicación respectiva (200), dispositivo de aplicación (130), dispositivo de siembra (100) y tubos de semillas (210). Los tubos de semillas (210) incluyen segundos medios de montaje de sensores para montar una segunda disposición de sensores (370) para cubrir una zona de escaneo (A) definida dentro o alrededor o después de la zona de impacto (T) en una dirección de caída del material de propagación vegetal individual (K); y/ o medios de montaje electrónicos (210b) para montar una unidad de control para controlar la primera disposición de sensores (310) y/o el dispositivo aplicador (330) y/o la segunda disposición de sensores (370); y/o un canal de guía formado por el cuerpo entre e incluyendo la zona de detección (E) y el extremo de liberación, teniendo el canal una anchura (b) al menos en una dirección transversal que está adaptada a un tamaño de grano de un tipo particular de material de propagación vegetal (K). La invención, entre otras cosas, mejora la precisión, fiabilidad y controlabilidad de la aplicación del recubrimiento.Farm. Berta Segovia, Directora Interina - Dirección de Patentes. 95888/05/11/2025

PATENTE DE INVENCIÓN. (19) DIRECCION NACIONAL DE PROPIEDAD INTELECTUAL PARAGUAY PARAGUÁI TETÁYGUA AKÁPYROKY MBA'ETEE MOAKÁHA (11) Nro. Publicación: PY2412479A (43) Asunción, 23 de Julio de 2025. Orden de Publicación de SOLICITUD de Patente de Invención (12) DATOS DE LA SOLICITUD (21) Nº de Solicitud: 2412479 (22) Fecha de Solicitud: 21/02/2024 11:02:11 (71) Solicitante: SYNGENTA CROP PROTECTION AG Domicilio Solicitante: Rosentalstrasse 67, 4058 Basel, Suiza, CH (72) Inventor: 1)FELLMANN, JULIA; y 2) WATKINS, MELANIE JAYNE Domicilio Inventor: 1)Syngenta Crop Protection AG Rosentalstrasse 67,4058 Basel, Suiza, CH; y 2) Syngenta Limited Syngenta, Jealott's Hill Internacional Research Centre Bracknell, Berkshire RG42 6EY Gran Bretaña, GB (54) Título: COMPOSICIONES HERBICIDAS (74)
Agente: Juan Pablo Salomoni Guanes - 4795 (30) Prioridad/es: EP 23158618.1 - 24/02/2023 y EP y 23207284.301/11/2023 (51) Int. Cl 8: A 01N 37/26(2006.01), A 01N 57/20(2006.01), A 01P 13/02(2006.01) En cumplimiento al Artículo 1 de la Ley Nº 2593/05 que modifica el Artículo 23 de publicaciones de la Ley Nº 1630/00 de Patentes de Invención, se dispone que a partir de la fecha de la presente orden de publicación, esta solicitud de patente se hace pública y se ordena su publicación por el término de la Ley. (57) Resumen: (50/24) La presente invención se refiere a una composición herbicida que comprende (A) una cantidad herbicidamente efectiva de un compuesto de Fórmula (I): o un éster o sal agroquímicamente aceptable del mismo; y (B) glufosinato o L-glufosinato. Farm. Berta Segovia, Directora Interina - Dirección de Patentes. 95888/05/11/2025

PATENTE DE INVENCIÓN. (19) DIRECCION NACIONAL DE PROPIEDAD INTELECTUAL PARAGUAY PARAGUÁI TETÁYGUA AKÁPYROKY MBA'ETEE MOAKÁHA (11) Nro. Publicación: PY2389146A (43) Asunción, 23 de Junio de 2025. Orden de Publicación de SOLICITUD de Patente de Invención (12) DATOS DE LA SOLICITUD (21) Nº de Solicitud: 2389146 (22) Fecha de Solicitud: 31/10/2023 12:57:43 (71) Solicitante: SYNGENTA CROP PROTECTION AG Domicilio Solicitante: Rosentalstrasse 67, 4058 Basel, Suiza, CH (72) Inventor: 1)Edmunds Andrew; 2)Scarborough, Christopher Charles; 3) Mahajan Atul; 4)El Qacemi Myriem; y 5) Quetglas Vincent Domicilio Inventor: 1), 2), 4) y 5) Syngenta Crop Protection AG Schaffhauserstrasse 4332 Stein Suiza, CH; 3)Syngenta Biosciences Prívate Limited Santa Monica Works Corlim, Ilhas 403 110 Goa India, IN (54) Título: DERIVADOS DE PIRAZOL MICROBIOCIDAS (74) Agente: Juan Pablo Salomoni Guanes - 4795 (30) Prioridad/es: IN 2022110639809/11/2022; EP 22215344.7-21/12/2022; EP 23192672.6-22/08/2023, EP 23193406.8 - 25/08/2023 (51) Int. Cl 8: A 01N 43/56(2006.01), A 01N 43/82(2006.01), A 01N 43/90(2006.01) En cumplimiento al Artículo 1 de la Ley Nº 2593/05 que modifica el Artículo 23 de publicaciones de la Ley Nº 1630/00 de Patentes de Invención, se dispone que a partir de la fecha de la presente orden de publicación, esta solicitud de patente se hace pública y se ordena su publicación por el término de la Ley. (57) Resumen: (289 /23) Un compuesto de fórmula (I): donde los sustituyentes son como se definen en la reivindicación 1, y las sales, estereoisómeros, enantiómeros, tautómeros y N-óxidos agroquímicamente aceptables de estos compuestos, que pueden usarse como fungicidas.Farm. Berta Segovia, Direc-











