SUPLEMENTO - AGRUPADOS - EDICIÓN 11.059

Page 1


AGRUPADOS&JUDICIAL.

Anuncia con nosotros llamando al (021) 614

HORTENCIA S.A. CONVOCATORIA A ASAMBLEA GENERAL EXTRAORDINARIA. En cumplimiento de las disposiciones estatutarias, en fecha 27 de octubre de decide convocar a Asamblea General Extraordinaria de Accionistas de la Sociedad para el día 13 de Noviembre de 2025 a las 10:00 horas para la primera convocatoria, y a las 11:00 horas para la segunda convocatoria en el local social sito en la calle Progreso Nro. 241 casi Fortín Toledo, de esta capital para tratar el siguiente Orden del Día: 1.Elección de un (1) Presidente y un (1) Secretario de la Asamblea; 2.Modificación de Estatuto, Disolución de Sociedad; 3. Designación de Accionistas para suscribir el Acta de la Asamblea. Se recuerda a los Señores Accionistas que para asistir a la Asamblea se deberá contar con el cumplimiento de lo establecido en el Art. 1084 del Código Civil. EL DIRECTORIO. 95854/03/11/2025

ASAMBLEA GENERAL EXTRAORDINARIA

DOÑA MARINA S.A. San Estanislao, 28 de octubre de 2025 De conformidad a lo establecido en el Art. 1080 del Código Civil y el Articulo 22º de los Estatutos Sociales, se convoca a los Señores Accionistas de la firma DOÑA MARINA SOCIEDAD ANONIMA a Asamblea General Extraordinaria a llevarse a cabo el día 20 de noviembre de 2025,a las 08:00 hs. En la sede Social sito en FLIA SERRATI ESQ. PA'I LORENZO de San Pedro del Ycuamandyyú el sgte. ORDEN DEL DIA: 1.-Designación de dos accionistas para firmar el Acta de Asamblea; 2.-Aumento de Capital de la Empresa. NOTA: Para asistir a las Asambleas los Accionistas deben depositar en la sede social las acciones o certificado bancario de depósito, para su registro, con no menos de tres días hábiles de anticipación. EL DIRECTORIO. 95856/03/11/2025

CONVOCATORIA A ASAMBLEA GENERAL ORDINARIA DE ACCIONISTAS EL DIRECTORIO DE MULTIFRUT S.A. de conformidad a lo establecido en el Art. 1079 del Código Civil Paraguayo, convoca a los Señores accionistas a la Asamblea General Ordinaria, a realizarse el día 17 de

Noviembre de 2025 a las 08:00 horas, en Eloy Fariña Núñez casi Marcelino Pérez de Lambaré, para tratar el siguiente: [ORDEN DEL DÍA:] 1.- Elección de Presidente y Secretario de Asamblea. 2.Lectura y consideración de la Memoria del Directorio, Balance General, Cuadro de Resultados e Informe del Síndico correspondiente al ejercicio cerrado el 31 de diciembre de 2024.- 3.- Elección de Directores y Síndicos.- 4.Destino de las utilidades.- 5.Remuneración para Directores y Síndicos.- 6.- Designación dos Accionistas para firmar el Acta de Asamblea conjuntamente con el presidente y secretario.EL DIRECTORIO. 95868/03/11/2025

ASAMBLEA GENERAL ORDINARIA. El Directorio de RABONI’S PRODUCCIONES INTERNATIONAL S.A. en uso de sus atribuciones, convoca a los Accionistas de la firma, a la Asamblea General Ordinaria a realizarse el día 13 de noviembre de 2025, a las 10:00 horas en primera convocatoria, y a las 11:00 horas, en segunda convocatoria, en el local de la

firma sito en Minga Guazú, para tratar el siguiente, orden del día: 1-Designación de un presidente y secretario de asamblea. 2-Elección de 01 Accionista para suscribir el acta con el presidente. 3-Lectura y consideración de la memoria, balance general, estado de resultados, informe del síndico, y demás documentaciones correspondientes al ejercicio cerrado al 31 de diciembre del año 2023 y 2024. 4-Consideración de la distribución de utilidad. 5-Designación de un Síndico Titular y fijación de su remuneración. 6-Designación de directores titulares y fijación de sus retribuciones. Se recuerda a los Señores Accionistas que deben dar cumplimiento al Art. 1084 del Código Civil, respecto al depósito de las acciones. 95891- 31/10 al 04/11

ASAMBLEA GENERAL ORDINARIA. De conformidad a lo previsto en los Estatutos Sociales, convócase a Asamblea General Ordinaria de Accionistas de HK ESCAMAS & PIELES S.A. resolvió convocar a Asamblea General Ordinaria para el día 14 de

Noviembre del 2025 a las 08:00 horas en primera convocatoria, si no existiere el quórum legal establecido, la Asamblea se llevará a cabo en segunda convocatoria una hora después a las 09:00 horas, en Avenida, Km 10 Acaray- Ciudad del Este, Departamento de Alto Paraná, a los efectos de considerar lo siguiente, orden del día: 1-Designación del Presidente de Asamblea y Secretario. 2-Elección de Directores Titulares, Síndicos. 3-Designación de un accionista para suscribir el acta de Asamblea conjuntamente con el Presidente y el Secretario. EL Directorio 9588931/10 al 04/11

ASAMBLEA GENERAL EXTRAORDINARIA. Convócase a los accionistas de INMOBILIARIA TU INMUEBLE SOCIEDAD ANÓNIMA , RUC 80131741-0 a Asamblea General Extraordinaria de accionistas que tendrá lugar el día 11 de noviembre del 2025, En domicilio en el Área 3, Av. capitán a las 08:00hs, en primera convocatoria, y en segunda convocatoria a las 10:00 tra-

tar el siguiente orden del día: 1 Elección de un presidente y secretario asamblearia. 2-Modificación de estatuto. 3-Suscripción de Acta de Asamblea. Se recuerda a los accionistas que deben dar cumplimiento en tiempo y forma a las formalidades respecto al depósito de sus acciones, de acuerdo al Art. 25 del Estatuto Social y se da orden de publicación de la presente convocatoria con la debida anticipación en el Diario la Nación de esta Capital. 95919- 31/10 al 04/11

ASAMBLEA GENERAL ORDINARIA. Convocase a los accionistas de Inmobiliaria Tu Inmueble Sociedad Anónima, RUC 80131741-0 a Asamblea Ordinaria de accionistas que tendrá lugar el día 11 de noviembre del 2025, En domicilio en el Área 3, Av capitán a las 14:00hs, en primera convocatoria, y en segunda convocatoria a las 15:00 tratar el siguiente orden del día: 1-Elección de un presidente y secretario asamblearia. 2-Emisión de Acciones. 3-Suscripción de Acta de Asamblea. Se recuerda a los accionistas

que deben dar cumplimiento en tiempo y forma a las formalidades respecto al depósito de sus acciones, de acuerdo al Art. 25 del Estatuto Social y se da orden de publicación de la presente convocatoria con la debida anticipación en el Diario la Nacion de esta Capital. 95920- 31/10 al 04/11

ASAMBLEA GENERAL EXTRAORDINARIA. De conformidad a la Legislación Vigente y los Estatutos Sociales de la Sociedad, el Directorio de EMPRENDIMIENTOS HABITARE S.A ., convoca a los Señores Accionistas a Asamblea General Extraordinaria, que se efectuará el día 13 de noviembre del año dos mil veinte y cinco, a las 08:00 horas, en el local social de la Firma, para tratar los siguientes órdenes del día: 1-Elección de Presidente y Secretario para presidir la Asamblea y de un Accionista para suscribir el Acta de la Asamblea. 2-Rescate de Acciones. 3-Asuntos Varios. Se recuerda a los señores Accionistas, las previsiones establecidas en el Artículo 27, para poder asistir a la

2 JUDICIAL .

Asamblea. El Directorio. 95922- 31/10 al 04/11

CONVOCATORIA A ASAMBLEA GENERAL ORDINARIA DE ACCIONISTAS EL DIRECTORIO DE INVERSIONES HOTELERAS DEL PARAGUAY

S.A., convoca a los accionistas a la Asamblea General Ordinaria de Accionistas a realizarse en el domicilio social, sito en Av. Santisima Trinidad 2372 C/ Itapua de la ciudad de Asunción, República del Paraguay, el día 16 de Noviembre del año 2025 a las 09:00 hs en primera convocatoria y a las 10:00hs. en segunda convocatoria ORDEN DEL DÍA: 1. Designación de un Presidente y un Secretario de la asamblea. 2. Lectura y Consideración de la Memoria Anual del Directorio, Balance General, Informe del Síndico y Cuadro de Pérdidas y Ganancias correspondiente al ejercicio económico finalizado al 31 de Diciembre del 2024.— 3. Destino de los Resultados del Ejercicio 2024.- 4. Designación de miembros del Directorio y determinación de sus remuneraciones. 5. Elección del Síndico Titular y Síndico suplente y determinación de sus remuneraciones. 6. Designación de Accionistas para suscribir el Acta de Asamblea. NOTA: DEPÓSITO

DE ACCIONES: Se recuerda a los señores accionistas que de conformidad a los Estatutos Sociales, para poder tener derecho a voto en la Asamblea General Ordinaria de Accionistas, deberán depositar sus acciones en la Sociedad, con una anticipación no menor a 3 (tres) días hábiles a la fecha fijada para la celebración de la Asamblea o, en su defecto, deberán presentar un Certificado Bancario de Depósito de acciones dentro del plazo señalado. QUÓRUM LEGAL PARA SESIONAR EN PRIMERA

CONVOCATORIA: Se recuerda a los accionistas lo dispuesto en los Estatutos Sociales sobre el quórum legal en primera convocatoria. En este sentido la Asamblea quedará válidamente constituida en primera convocatoria con la presencia de accionistas que representen la mayoría de las acciones con derecho a voto. SEGUNDA

CONVOCATORIA: El Directorio comunica a los señores accionistas que, si en la primera convocatoria no pudiera obtenerse el quórum necesario para su celebración, la Asamblea quedará válidamente constituida en segunda convocatoria, en la misma fecha a las 10:00hs.

DIRECTORIO DE INVERSIONES HOTELERAS DEL PARAGUAY S.A. – 5/11/2025

95899/05/11/2025

CONVOCATORIA A ASAMBLEA GENERAL ORDINARIA DE ACCIONISTAS EL DIRECTORIO DE HOTELES PARAGUAYOS S.A. , convoca a los accionistas a la Asamblea General Ordinaria de Accionistas a realizarse en el domicilio social, sito en Av. Santisima Trinidad 2372 C/ Itapua de la ciudad de Asunción, República del Paraguay, el día 16 de Noviembre del año 2025 a las 11:00 hs en primera convocatoria y a las 12:00hs. en segunda convocatoria ORDEN DEL DÍA: 1. Designación de Presidente y Secretario de la Asamblea; 2. Consideración de la Memoria Anual del Directorio, Balance, Estado de Cuentas de Ganancias y Pérdidas, Informe del Síndico correspondientes al ejercicio económico finalizado el 31 de diciembre de 2024; 3. Consideración de los resultados y distribución de utilidades del ejercicio económico 2024; 4. Designación de miembros del Directorio y determinación de sus remuneraciones. 5. Elección del Síndico Titular y Síndico Suplente. Determinación de su remuneración; y 6. Designación de accionistas para suscribir el Acta de Asamblea. NOTA: DEPÓSITO DE ACCIONES: Se recuerda a los señores accionistas que de conformidad a los Estatutos Sociales, para poder tener derecho a voto en la Asamblea General Ordinaria de Accionistas, deberán depositar sus acciones en la Sociedad, con una anticipación no menor a 3 (tres) días hábiles a la fecha fijada para la celebración de la Asamblea o, en su defecto, deberán presentar un Certificado Bancario de Depósito de acciones dentro del plazo señalado. QUÓRUM LEGAL PARA SESIONAR EN PRIMERA

CONVOCATORIA: Se recuerda a los accionistas lo dispuesto en los Estatutos Sociales sobre el quorum legal en primera convocatoria. En este sentido la Asamblea quedará válidamente constituida en primera convocatoria con la presencia de accionistas que representen la mayoría de las acciones con derecho a voto. SEGUNDA CONVOCATORIA: El Directorio comunica a los señores accionistas que, si en la primera convocatoria no pudiera obtenerse el quórum necesario para su celebración, la Asamblea quedará válidamente constituida en

segunda convocatoria, en la misma fecha a las 12:00hs. DIRECTORIO DE HOTELES PARAGUAYOS S.A.- 5/11/2025

95901/05/11/2025

CONVOCATORIA A ASAMBLEA GENERAL ORDINARIA DE ACCIONISTAS EL DIRECTORIO DE DESARROLLOS INMOBILIARIOS HOTELEROS S.A., convoca a los accionistas a la Asamblea General Ordinaria de Accionistas a realizarse en el domicilio social, sito en Av. Santisima Trinidad 2372 C/ Itapua de la ciudad de Asunción, República del Paraguay, el día 16 de Noviembre del año 2025 a las 13:00 hs en primera convocatoria y a las 14:00hs. en segunda convocatoria ORDEN DEL DÍA: 1. Designación de Presidente y Secretario de la Asamblea; 2. Consideración de la Memoria Anual del Directorio, Balance, Estado de Cuentas de Ganancias y Pérdidas, Informe del Síndico correspondientes al ejercicio económico finalizado el 31 de diciembre de 2024; 3. Consideración de los resultados y distribución de utilidades del ejercicio económico 2024; 4. Designación de miembros del Directorio y determinación de sus remuneraciones. 5. Elección del Síndico Titular y Síndico Suplente. Determinación de su remuneración; y 6. Designación de accionistas para suscribir el Acta de Asamblea. NOTA: DEPÓSITO DE ACCIONES: Se recuerda a los señores accionistas que de conformidad a los Estatutos Sociales, para poder tener derecho a voto en la Asamblea General Ordinaria de Accionistas, deberán depositar sus acciones en la Sociedad, con una anticipación no menor a 3 (tres) días hábiles a la fecha fijada para la celebración de la Asamblea o, en su defecto, deberán presentar un Certificado Bancario de Depósito de acciones dentro del plazo señalado. QUÓRUM LEGAL PARA SESIONAR EN PRIMERA

CONVOCATORIA: Se recuerda a los accionistas lo dispuesto en los Estatutos Sociales sobre el quórum legal en primera convocatoria. En este sentido la Asamblea quedará válidamente constituida en primera convocatoria con la presencia de accionistas que representen la mayoría de las acciones con derecho a voto. SEGUNDA

CONVOCATORIA: El Directorio comunica a los señores accionistas que, si en la primera convocatoria no pudiera obtenerse el quórum necesario para su celebra-

ción, la Asamblea quedará válidamente constituida en segunda convocatoria, en la misma fecha a las 14:00hs. DIRECTORIO DE DESARROLLOS INMOBILIARIOS

HOTELEROS S.A.- 5/11/2025 95902/05/11/2025

EL DIRECTORIO DE LA FIRMA EL ALEMAN S.A., CONVOCA A ASAMBLEA GENERAL EXTRAORDINARIA. de accionistas para el día 11 de Noviembre de 2.025 a las 9:00 horas, en el local social de la firma ubicada sobre calle Mcal. Lopez E/ Perpetuo Socorro y 14 de Mayo, Distrito de P.J.C., Departamento de Amambay, Republica del Paraguay para tratar el siguiente orden del día que a continuación se expone: 1) Elección de Presidente y Secretario de la Asamblea 2) Aumento de Capital 3) Modificación parcial del Estatuto Social 4) Designación de dos Accionista para suscribir el Acta5/11/2025 95945/05/11/2025

EL DIRECTORIO DE LA FIRMA EL ALEMAN S.A., CONVOCA A ASAMBLEA GENERAL ORDINARIA. de accionistas para el día 11 de Noviembre de 2.025 a las 16:00 horas, en el local social de la firma ubicada sobre calle Mcal. Lopez E/ Perpetuo Socorro y 14 de Mayo, Distrito de P.J.C., Departamento de Amambay, Republica del Paraguay para tratar el siguiente orden del día que a continuación se expone: 1) Elección de Presidente y Secretario de la Asamblea 2) Emisión de Acciones 3) Designación de dos Accionistas para suscribir el Acta de Asamblea.- 5/11/2025 95946/05/11/2025

CAMDEN SOCIEDAD ANÓNIMA ASAMBLEA GENERAL ORDINARIA. CONVOCATORIA El Directorio de CAMDEN Sociedad Anónima RUC 80159284-4 convoca a sus Accionistas a la Asamblea General Ordinaria a llevarse a cabo el día martes 18 de Noviembre del 2025 a las 10:00 hrs. en el local social, para tratar lo siguiente: 1. Elección del Presidente y Secretario de Asamblea. 2. Elección y remuneración de Directores Titulares. 3.Elección y remuneración de Síndicos Titular y Suplente. 4. Designación de accionistas para suscribir el Acta de Asamblea. ORDEN DEL DIA Nota: Se recuerda a los señores Accionistas que, para la participación de la Asamblea según los Estatutos Sociales, deberán depositar sus acciones en la

Empresa con tres días de anticipación a la fecha fijada. EL DIRECTORIO 95940/05/11/2025

CAMDEN SOCIEDAD ANÓNIMA ASAMBLEA GENERAL EXTRAORDINARIA. CONVOCATORIA

El Directorio de CAMDEN Sociedad Anónima RUC 80159284-4 convoca a sus Accionistas a la Asamblea General Extraordinaria a llevarse a cabo el día martes 18 de Noviembre del 2025 a las 11:00 hs. en el local social, para tratar lo siguiente: ORDEN DEL DIA95941/05/11/2025

EL DIRECTORIO CAMPOFE S.A. CONVOCA A ASAMBLEA GENERAL EXTRAORDINARIA. a realizarse el 17 de noviembre del 2025 a las 07:00 horas, a llevarse a cabo en forma excepcional en la casa de la calle 12 de octubre casi América B° Loma Merlo de la ciudad de Luque, para tratar el siguiente Orden del Día: 1) Elección de Presidente y Secretario de la Asamblea. 2) Modificación Parcial de Estatutos Sociales. 3) Designación de dos socios para la firma del acta de Asamblea, juntamente con el Presidente y Secretario. NOTA: Se recuerda a los Accionistas el cumplimiento de lo dispuesto en acta de los Estatutos Sociales. EL DIRECTORIO. 5/11/2025 95954/05/11/2025

EL DIRECTORIO CAMPOFE S.A. CONVOCA A ASAMBLEA GENERAL ORDINARIA. a realizarse el 17 de noviembre del 2025 a las 16:00 horas, a llevarse a cabo en forma excepcional en la casa de la calle 12 de octubre casi América B° Loma Merlo de la ciudad de Luque, para tratar el siguiente Orden del Día: 1) Elección de Presidente y Secretario de la Asamblea. 2) Emisión de Acciones. 3) Elección de Directores y fijación de sus retribuciones. 4) Elección de Síndico y determinación de su remuneración. 5) Designación de dos socios para la firma del acta de Asamblea, juntamente con el Presidente y Secretario. NOTA: Se recuerda a los Accionistas el cumplimiento de lo dispuesto en acta de los Estatutos Sociales. EL DIRECTORIO.5/11/2025/ 95955/05/11/2025

ASAMBLEA EXTRAORDINARIA DE ACCIONISTAS

“AGROPECUARIA SARMIENTO S. A.” . Se convoca a los accionistas de “AGROPECUARIA SARMIENTO S.A.” a la Asamblea Extraor-

dinaria de accionistas a realizarse en fecha 17 de noviembre de 2025, a las 08:30 horas en primera convocatoria, y a las 09:30 horas en segunda convocatoria, en el domicilio social de la empresa sito en la calle Lomas Valentinas Nro. 363 casi Caballero de la ciudad de Asunción, para tratar el siguienteORDEN DEL DÍA 1) Designación de un Presidente y Secretario de Asamblea. 2) Disolución Anticipada de la Sociedad. 3) Nombramiento del Liquidador. 4) Designación de dos accionistas para suscribir el acta de Asamblea juntamente con el Presidente y Secretario de Asamblea. Se recuerda a los señores accionistas lo establecido en los Estatutos Sociales, para tener derecho de asistencia a la Asamblea. Asunción, 31 de octubre de 2025.EL DIRECTORIO 95970/05/11/2025

CONVOCATORIA A ASAMBLEA GENERAL ORDINARIA. DE ACCIONISTAS SISAK S.A. – RUC Nro. 80105533-4 El Directorio de SISAK S.A con domicilio en la Avda. Santa Teresa entre Avda. Aviadores del Chaco y Herminio Maldonado Torres del Paseo La Galeria Torre 2 Piso 25 de la ciudad de Asunción Republica del Paraguay, convoca a los señores Accionistas a Asamblea General Ordinaria a desarrollarse en forma presencial el día 14 de noviembre de 2025, a las 12:00 horas y a las 13:00 horas, en primera y segunda convocatoria respectivamente, en la que, previa acreditación de asistencia y representación, se tratarán los siguientes puntos del Orden del día: 1. Designación de Presidente y Secretario de la Asamblea; 2. Considerar y resolver sobre las Memorias anuales del Directorio,los Balances Generales y Cuentas de Ganancias y Pérdidas e Informe del Síndico, correspondientes a los ejercicios del 2020, 2021,2022, 2023 y 2024;3. Considerar y resolver sobre la Distribución de utilidades; 4. Designación de Directores Titulares, Suplentes y Síndicos Titulares y Suplentes, y fijación de su retribución; 5. Designación de dos accionistas para suscribir el acta de la asamblea. Para asistir a las asambleas los accionistas deben depositar en la sociedad sus acciones, o un certificado bancario de depósito librado al efecto, para su registro en el libro de asistencia a las asambleas, con no menos de tres (3) días hábiles de anticipación al de la fecha fijada. En dicho lapso no podrán disponer de ellas.

La sociedad les entregará los comprobantes necesarios de recibo, que servirán para la admisión a la asamblea. Los accionistas o sus representantes que concurran a la asamblea firmarán el libro de asistencia en el que se dejará constancia de su domicilio y del número de votos que corresponda. Los certificados de depósito deben especificar la clase de las acciones, su numeración y la de los títulos. El Directorio 95829/05/ 11/ 2025

CONVOCATORIA A ASAMBLEA ORDINARIA DE ACCIONISTAS NOVA CONSTRUCTIONS S.A

R.U.C. NRO. 80141237-4 Se convoca a Asamblea Ordinaria de Accionistas para el día 11 de noviembre de 2025, a las 07:00 horas y a las 08:00 horas en primera y segunda convocatoria respectivamente en la sede social, ciudad de Asunción, para tratar el siguiente ORDEN DEL DIA:

1.Designación del Presidente y Secretario de la Asamblea; 2.Consideración de la Memoria del Directorio, el Balance General, el Cuadro de Pérdidas y Ganancias, el Informe del Síndico y destino de las Utilidades del ejercicio 2024; y 3.Designación de los accionistas para firmar el acta de asamblea de conformidad con el Art. 1096 del Código Civil. Se recuerda a los socios o sus representantes la obligación de depositar las acciones o los certificados de depósito de las acciones con no menos de tres días de antelación a la fecha fijada para la asamblea. EL DIRECTORIO. 95974/05/11/2025

SOCIEDAD. EMPRESA DE TRANSPORTES TAPIRACUAY SOCIEDAD DE RESPONSABILIDAD LIMITADA, Constituida por E.P.N° 32 de fecha 28/02/2014, pasada ante la N.P. LINA M. LEGUIZAMON con Reg. N° 579 de Fdo. De la Mora. Duración: 99 años. Objeto social: Transporte en todas sus formas terrestre, fluvial, aéreo, de personas, mercaderías, cargas y fletes generales y otras actividades licitas. Capital Social: Gs. 200.000.000.Socios Gerentes: Fidencio Rolon Sosa y Alcides Ramón Villalba Villalba. Inscripto en la Dir.Gral. De los registros Públicos, Sección Personas Jurídicas y Comercio, Matricula Jurídica N° 250 Serie Comercial, bajo el N° 250 al folio 2627 y sgte. en fecha 14/03/2014. 95949/03/11/2025

contados desde la publicación del presente Edicto, comparezcan a deducir sus acciones bajo apercibimiento de los dispuesto en el Art. 55 de la ley 1/92 modificado del Código Civil Paraguayo vigente. El juicio radica en la secretaría a mi cargo. (Actuario Abog. Rodney E. Gonzalez G.). Se hace saber al destinatario, para tener certeza de que este documento es válido, que el mismo cuenta con el Código QR, por lo cual, deberá utilizar el lector del Código QR, a fin de constatar su autenticidad. Presidente Franco, 10 de Oct ubre de 2025. 95503- 22/10 al 05/11

a mi cargo. Yuty, 22 de Setiembre de 2.025. Abg. Orlando Miranda P. Secretario. 95548 - 05/ 11/ 2025

AUMENTO DE CAPITAL Y MODIFICACIÓN DE ESTATUTO SOCIAL DE LA FIRMA F. S.D.J SOCIEDAD ANÓNIMA. Por Esc. N°34, de fecha 12/06/2025, autorizada ante la Esc. Pca.

GLADYS LOCATTI DE VILLALBA , fue modificado el Estatuto Social de la Firma por aumento de capital, e inscripto en la D.G.R.P., Sección Personas Jurídicas y Comercio, con Matrícula Jurídica N° 19.653, Serie Comercial, entrada N° 15183292, inscripto bajo el N° 07, Folio 43, en fecha 20/10/2025. 95876/03/11/2025

CONSTITUCION DE

DISOLUCION CONYUGAL. EL JUEZ DE PRIMERA INSTANCIA EN LO CIVIL Y COMERCIAL DEL PRIMER TURNO DE LA CIRCUNSCRIPCIÓN JUDICIAL DE PEDRO JUAN CABALLERO, Departamento del Amambay, DR. JUAN MARCELINO

GONZALEZ G., emplaza por quince (15) veces a los que tengan interés en reclamar derechos contra la sociedad conyugal formada por los esposos CARLOS ALBERTO CORONEL GODOY y MARTA APARECIDA

CUBA, para que en el perentorio término de treinta (30) días contados desde la publicación del presente edicto, comparezcan a deducir sus acciones, bajo apercibimiento de lo dispuesto en el Art. 55 de la Ley 1/92.- El juicio radica en la Secretaría a cargo de la Actuaria Judicial, Abg. ANNY GREGORIA ACOSTA G.- PEDRO JUAN CABALLERO, 21 de Mayo de 2025 - 4/11/2025 95454/04/11/2025

DISOLUCION Y LIQUIDACION DE LA COMUNIDAD CONYUGAL. El Juez Penal de Garantías de Iruña e Interino del Juzgado de Primera Instancia en lo Civil y Comercial del Primer Turno de Presidente Franco, de la Sexta Circunscripción Judicial, Alto Paraná, Abg. Miguel Ángel Brítez Piris, cita y emplaza por quince veces a los que tengan interés en reclamar derechos contra la sociedad conyugal formada por los esposos

SULLY RAMONA OTAZO

CAÑETE Y LUIS ARNULFO

PAREDES GAONA , para que en término de 30 días

DISOLUCIÓN CONYUGAL. LA JUEZ DE PRIMERA INSTANCIA EN LO CIVIL, COMERCIAL, LABORAL DEL PRIMER TURNO, DE LA CIRCUNSCRIPCIÓN JUDICIAL DE SAN PEDRO, ABG. NORMA MABEL FLEITAS A. Cita y emplaza por quince veces a los que tengan interés en reclamar derechos contra la Sociedad Conyugal conformada por los esposos: NESTOR GODOY MORAN Y NANCY MARILUZ SOLIS GALEANO, para que en el perentorio término de treinta días contados desde la publicación del presente edicto comparezcan a deducir sus acciones, bajo apercibimiento de lo dispuesto en el Art. 55 de la Ley 1/92 del Código Civil. El juicio radica en la Secretaría Nº 1 a cargo del Actuario Abg. FRANCISCO LUIS RECALDE DENIS. SAN PEDRO DE YCUAMANDYYU, 30 de Julio de 2025 Se hace saber al destinatario de este edicto que el mismo cuenta con el Código QR, por lo cual, para tener certeza de que este documento es válido, deberá utilizar el lector del Código QR, siendo ya en consecuencia, innecesaria la autenticación manual del Actuario del Juzgado conforme Acordada 1366/2019. 95547 -.05/ 11/2025

DISOLUCIÓN CONYUGAL. La Juez de 1ra. Inst. en lo Civil de Yuty, Dra. Carol María Escobar Lapierre, cita y emplaza por quince veces a los que tengan interés en reclamar derechos contra la sociedad conyugal formada por los esposos TERESITA DUARTE DE JARA Y SEVERIANO JARA, para que en el término de 30 días, contados desde la publicación del presente Edicto, comparezcan a deducir sus acciones bajo apercibimiento de lo dispuesto en el Art. 55 de la Ley 1/92 modificado del Código Civil Paraguayo vigente. El Juicio radica en la Secretaria

DISOLUCIÓN CONYUGAL. La Jueza de Primera Instancia en lo Civil y Comercial del Vigésimo Cuarto Turno, Dra. Magali Zavala cita y emplaza por quince veces a los que tengan interés en reclamar derechos contra la sociedad conyugal formada por los esposos OLGA HAYDEE PORTILLO DE ALDERETE y FIDELINO ALDERETE para que en el pazo de 30 días contados desde la publicación del presente Edicto comparezcan a deducir sus acciones bajo apercibimiento de lo dispuesto en el Art. 55 de la Ley 1/92 modificatoria del Código Civil Paraguayo vigente. El juicio radica en la Secretaría a mi cargo. EDGAR ADRIAN JARA MENDOZA, Actuario Judicial. Asunción, 13 de octubre de 2025. Se hace saber al destinatario de este Edicto que el mismo cuenta con el Código QR, por lo cual, para tener certeza de que este documento es válido, deberá utilizar el lector del Código QR, siendo ya en consecuencia innecesaria la autenticación manual del Actuario del Juzgado. Conforme Acordadas 1366/2019 y 1370/2020 de la Excma. Corte Suprema de Justicia. 95553 - 6/ 11/ 2025

DISOLUCION CONYUGAL. La Jueza de Primera Instancia en lo Civil, Comercial y Laboral del Segundo Turno de Paraguarí, Secretaría Nº 3, Dra. LIDUVINA OTAZU DE MERELES, cita y emplaza por quince veces a los que tengan interés en reclamar derechos contra la sociedad conyugal formada por los esposos “MIRIAN LUCIA QUINTEROS CAMARA Y BLAS ESTIGARRIBIA MARTINEZ” para que en términos de 30 días contados desde la publicación del presente Edicto, comparezcan a deducir sus acciones bajo apercibimiento de lo dispuesto en el Art. 55 de la Ley 1/92 reforma parcial del Código Civil Paraguayo vigente. El juicio radica en la secretaría a mi cargo. ABG. HADY LORENA GIMENEZ PEREZ (ACTUARIA JUDICIAL).- PARAGUARI, 20 de Marzo de 2025. 95564/06/11/2025.

DISOLUCIÓN CONYUGAL. El Juez de primera instancia en lo civil, comercial y laboral de San Juan Nepomuceno, Abog Carlos Alberto Rojas Cañete Cita y EMPLAZA por quince veces a los que

LUNES 3 DE NOVIEMBRE DE 2025

tengan interés en reclamar derechos contra la sociedad conyugal conformado por los esposos: CLARA ALMEIDA

VAZQUEZ C/ CLAUDIO

NUÑEZ LÓPEZ  para que en el perentorio término de treinta días, contados desde la publicación del presente edicto, comparezca a deducir sus acciones, bajo apercibimiento de lo dispuesto en el Art. 212 del Código Civil. El juicio radica en la Secretaría a mi cargo. San Juan Nepomuceno, 03 de octubre 2025, Abog Leónida E. PEREIRA, Actuaria Judicial. Secretaría N°1. 95568 -6/11/2025.

DISOLUCION CONYUGAL. La Juez de Primera Instancia en lo Civil, Comercial y Laboral de la Ciudad de Paraguarí, Abg. LIDUVINA

OTAZÚ DE MERELES, cita y emplaza por quince veces a los que tengan interés en reclamar derechos contra la sociedad conyugal formada por los esposos MIGUEL ANGEL RAMON FLEITAS

RUIZ DIAZ Y LAURA ELIZABETH COLMAN QUINTANA, que en término de 30 días contados desde la publicación del presente Edicto, comparezcan a deducir sus acciones bajo apercibimiento de lo dispuesto en el Art. 55 de la Ley 1/92 modificado del Código Civil Paraguayo vigente. El Juicio radica en la Secretaria a mi cargo. PARAGUARI, 22 de Octubre de 2025 SECRETARIO: Abg. Néstor Garcete Servín. 95569 -6/11/2025.

DISOLUCIÓN CONYUGAL. La Jueza de Primera Instancia en lo Civil, Comercial y Laboral del Segundo Turno de Paraguarí, Secretaría Nº 3, Dra. LIDUVINA OTAZU DE MERELES, cita y emplaza por quince veces a los que tengan interés en reclamar derechos contra la sociedad conyugal formada por los esposos “GABRIELA RAMIREZ LEZCANO Y CARLOS RAMON PEREIRA CACERES” para que en términos de 30 días contados desde la publicación del presente Edicto, comparezcan a deducir sus acciones bajo apercibimiento de lo dis-

puesto en el Art. 55 de la Ley 1/92 reforma parcial del Código Civil Paraguayo vigente. El juicio radica en la secretaría a mi cargo. ABG. HADY LORENA GIMENEZ PEREZ (ACTUARIA JUDICIAL). PARAGUARI, 22 de Octubre de 2025. 95604 -7/11/2025.

DISOLUCIÓN CONYUGAL. El juez de primera instancia en lo civil, comercial y laboral del primer turno de Cordillera, Dr. Germán Santiago Bernal Pacher, cita y emplaza por quince veces a los que tengan interés en reclamar derechos contra la sociedad conyugal conformada por los esposos DEYSI DEYMA OVELAR GIMÉNEZ y JAVIER ADRIAN FIGUEREDO PEÑA, para que en el perentorio término de treinta (30) días, contados desde la publicación del presente edicto, comparezcan a deducir sus acciones, bajo apercibimiento de lo dispuesto en el Art. 55 de la ley 1/92. El juicio radica en la secretaría a cargo de la actuaria Abog. Teresa Parquet de Gauto. Caacupé, 17 de setiembre de 2025. 95595 -7/11/2025.

DISOLUCIÓN CONYU -

GAL. La Juez de Primera Instancia en lo Civil, Comercial y Laboral de San Pedro del Paraná, de la Tercera Circunscripción Judicial de la República, Abg. Francisca Solana Aquino, cita y emplaza por quince veces a los que tengan interés en reclamar derechos contra la sociedad conyugal formada por los esposos RAMÓN EUSEBIO PALACIO ROJAS con C.I.N° 1.249.707 y SINTIA FABER ROMERO con C.I.N° 3.532.286 , para que

en el término de 30 días, contados desde la publicación del presente edicto, comparezcan a deducir sus acciones bajo apercibimiento de lo dispuesto en el Art. 55 de la ley 1/92 y 614 inc. C) del C.P.C. El juicio radica en la secretaría (única) a mi cargo. Abg. Aníbal Amarilla Navarro, Actuario Judicial. San Pedro del Paraná, 20 de octubre de 2025. De igual manera se hace saber al destinatario de este edicto, que el mismo cuenta con el Código QR, por lo cual, para tener certeza de que este documento es válido, deberá utilizar el lector del Código QR, siendo ya en consecuencia, innecesaria la autenticación manual por parte del Actuario del Juzgado, conforme a la Acordada N° 1366/2019. 95585- 24/10 al 07/11.

DISOLUCIÓN CONYUGAL. EL JUEZ DE PRIMERA INSTANCIA EN LO CIVIL Y COMERCIAL DEL VIGESIMO SEGUNDO TURNO E INTERINO DEL JUZGADO DE IGUAL CLASE Y COMPETENCIA DEL DECIMO OCTAVO

TURNO, CAPITAL, SECRETARÍA N° 35, MARTIN DIEGO ACOSTA CONDE, cita y emplaza por quince veces a los que tengan interés en reclamar derechos contra la sociedad conyugal formada por los esposos SILVIA LORENA AQUINO Y NELSON ANTONIO VILLALBA IBARRA , para que en el término de 30 días, contados desde la publicación del presente Edicto, comparezcan a deducir sus acciones bajo apercibimiento de lo dispuesto en el Art. 55 de la Ley N° 1/92 y 614 inc. c) del C.P.C. El juicio radica en la Secretaría N° 35. Abg. RODRIGO AYALA (Actuario Judicial).

Asunción, 22 de septiembre de 2025.OBSERVACIÓN: Se hace saber al destinatario de éste Edicto que el mismo cuenta con el Código QR, por lo cual, para tener certeza de que este documento es válido, deberá utilizar el lector del Código QR, siendo ya en consecuencia, innecesaria la autenticación manual por parte del Actuario del Juzgado conforme a lo dispuesto por Acordada N° 1335/19 de la Corte Suprema de Judicial. 95705 -8/11/2025.

DISOLUCIÓN CONYU -

GAL. El Juez de Primera Instancia en lo Civil y Comercial del Tercer Turno de la ciudad de Coronel Oviedo, Abg. WILFRIDO OVELAR, cita y emplaza por 15 veces a los que tengan interés en reclamar derechos contra la sociedad conyugal formada por los

esposos GLORIA BEATRIZ SANGUINA MORINIGO Y WILLIAM ARIEL SANCHEZ ARIAS, para que el termino de 30 dias contados desde la publicación del presente Edicto, comparezcan a deducir sus acciones bajo apercibimiento de lo dispuesto en el Art. 212 del Código Civil Paraguayo. El juicio radica ante la Secretaria N° 05 a mi cargo. Abog. EVER MARTINEZ, Actuario Judicial, CORONEL OVIEDO, 24 de Octubre de 2025. Se hace saber al destinatario de este edicto que el mismo cuenta con el Código QR, por lo cual, para tener certeza de que este documento es válido, deberá utilizar el lector del Código QR, siendo ya en consecuencia, innecesaria la autenticación manual del Actuario Judicial del Juzgado conforme Acordada 1366/2019 Y 1370/2020 de la Corte Suprema de Justicia. 95684 -8/11/2025.

DISOLUCIÓN CONYUGAL. LA JUEZ DE PRIMERA INSTANCIA EN LO CIVIL, COMERCIAL Y LABORAL DE LA TERCERA CIRCUNSCRIPCIÓN JUDICIAL DE LA REPÚBLICA, CON SEDE EN MARIA

AUXILIADORA LA Abg. R. EVELIN CABRERA PAREDES, cita y emplaza por quince veces a los que tengan interés en reclamar derechos contra la sociedad conyugal formada por los esposos RIGOBERTO YAHARI LEGUIZA y DOMINGA MABEL VILLAR CACERES, para que en el término de 30 días, contados desde la publicación del presente edicto, comparezcan a deducir sus acciones bajo apercibimiento de lo dispuesto en el Art. 212 del Código Civil Paraguayo vigente. El juicio radica en la secretaría N° 2 a mi cargo Abg. Mirian Ortiz Yurtz, Actuaria Judicial. MARÍA AUXILIADORA, 11 de Setiembre de 2025. Se hace saber al destinatario de este edicto que el mismo cuenta con el Código QR, por lo cual, para tener certeza de que este documento es válido, deberá utilizar el lector del Código QR, siendo ya en consecuencia, innecesaria la autenticación manual de la Actuaria del Juzgado conforme Acordada 1366/2019. 95720 -8/11/2025.

DISOLUCIÓN CONYUGAL. El Juez de Primera Instancia en lo Civil, Comercial del Octavo Turno de la Capital, Abg. Walter Mendoza, cita y emplaza por quince veces a los que tengan interés en reclamar derechos contra la sociedad conyugal

formada por los esposos LILIAN RAQUEL ARECO CAÑIZA Y BRAULIO ABRAHAN BOGADO FARIÑA, para que en el término de 30 días, contados desde la publicación del presente edicto, comparezcan a deducir sus acciones bajo apercibimiento de lo dispuesto en el Art. 212 del Código Civil Paraguayo vigente. El juicio radica en la secretaría N° 16 a cargo del Abg. Alexis Brambilla, Actuario. Asunción, 2 de Octubre de 2025 . 95709 -8/11/2025.

DISOLUCIÓN CONYUGAL. EL JUEZ DE PRIMERA INSTANCIA EN LO CIVIL Y COMERCIAL DEL PRIMER TURNO DE L CIRCUNSCRIPCIÓN JUDICIAL DE AMAMBAY, Abg. JUAN MARCELINO GONZALEZ, emplaza por quince (15) veces a los que tengan interés en reclamar derechos contra la sociedad conyugal formada por los esposos LIZ MABEL ROJAS AYALA y RAUL ANTONIO BENITEZ CANO, para que en el perentorio término de treinta (30) días contados desde la publicación del presente edicto, comparezcan a deducir sus acciones, bajo apercibimiento de lo dispuesto en el Art. 55 de la Ley 1/92.- El juicio radica en la Secretaría a cargo de la Actuaria Judicial, Abg. CAROLINA FRANCO VÁZQUEZ.PEDRO JUAN CABALLERO, 7 de Octubre de 202511/11/2025. 95746 /11/11/2025.

DISOLUCIÓN CONYUGAL. La Jueza del Juzgado Civil, Comercial, Laboral, de Curuguaty, ABG. SONIA MARIELA MEDINA PAREDES, cita y emplaza por quince veces a los que tengan interés en reclamar derechos contra la sociedad conyugal conformada por los esposos MARTIN GOMEZ MARTINEZ con C.I. N° 2.938.239 y CYNTHIA RAQUEL AQUINO ALDERETE con C.I. N° 1.953.733, para el efecto ordenase la publicación de los edictos correspondientes en el DIARIO LA NACION de la Capital para que en el perentorio termino de treinta días, contados desde la publicación del presente edicto, comparezcan a deducir sus acciones, bajo apercibimiento de lo dispuesto en el Art. 55 de la Ley 1/92 del Código Civil Paraguayo. El juicio radica en la secretaria N° 02 mi cargo Abg. HUGO DANIEL SERVIN GONZALEZ, Actuario Judicial. Conste. CURUGUATY, 13 de Octubre de 2025. 95758/11/11/2025

DISOLUCIÓN CONYUGAL. La Juez de Primera Instancia en lo Civil del Primer Turno de la Circunscripción Judicial de Caaguazú con asiento en la ciudad de Coronel Oviedo, Abg. LILIAN ROSMARY GONZALEZ DE DUARTE, cita y emplaza por quince veces a los que tengan interés en reclamar derechos contra la sociedad conyugal formada por los esposos JORGE RENE RIVAS PAREDES y SOLEDAD NOEMI AGUILERA ROBLES , para que en el término de 30 días, contados desde la publicación del presente edicto, comparezcan a deducir sus acciones bajo apercibimiento de lo dispuesto en el Art. 55 de la Ley 1/91 de la Reforma Parcial del Código Civil Paraguayo. El juicio radica en la secretaría a mi cargo. CORONEL OVIEDO, 21 de Octubre de 2025.-Abg. ADELA BENITEZ RAMOS - Actuaria Judicial.- Se hace saber al destinatario de este edicto que el mismo cuenta con el Código QR, por lo cual, para tener certeza de que este documento es válido, deberá utilizar el lector del Código QR, siendo ya en consecuencia, innecesaria la autenticación manual de la Actuaria del Juzgado conforme Acordada 1366/2019.-95761/11/11/2025

DISOLUCIÓN CONYUGAL. La Juez de Primera Instancia en lo Civil, Comercial, y Laboral de la Ciudad de Juan León Mallorquín de la VI Circunscripción Judicial del Alto Paraná, Abg. Gloria Liz González V., cita y emplaza por quince días a los que tengan interés en reclamar derechos contra la sociedad conyugal formada por los esposos “FELICIANA ORTEGA ENCINA y MAXIMINO IBARRA GOMEZ” para que, en el término de treinta días contados desde la publicación del presente Edicto, comparezcan a deducir sus acciones bajo apercibimiento de lo dispuesto en el Art. 55 de la Ley 1/92 del Código Civil Paraguayo. El juicio de referencia radica en la secretaría N°1, a cargo del Actuario Judicial Interino Abg. Orlando Trinidad. Se hace saber al destinatario del presente edicto, que el mismo cuenta con el Código QR, por lo cual, para tener certeza que este documento es válido, deberá utilizar el lector del Código QR, siendo ya en consecuencia, innecesaria la autenticación manual del Actuario del Juzgado, conforme a las Acordadas 1366/2019 y 1370/2020, de la Corte Suprema de Justicia. Doctor Juan León Mallorquín, 21 de Octubre de

2025. 95760- 28/10 al 11/11

DISOLUCIÓN CONYUGAL. El Juez de Primera Instancia en lo Civil y Comercial del Cuarto Turno, de la Sexta Circunscripción Judicial - Alto Paraná, con asiento en Ciudad del Este, cita y emplaza por quince veces a los que tengan interés en reclamar derechos contra la sociedad conyugal formada por los esposos OSVALDO EUSEBIO GONZALEZ GONZALEZ y LIZ CONCEPCION OCAMPOS LEZCANO, para que en el término de 30 días, contados desde la publicación del presente edicto, comparezcan a deducir sus acciones bajo apercibimiento de lo dispuesto en el Art. 55 de la Ley 1/92, en concordancia con el Art. 614 inc. c) del C.P.C. El juicio radica en la secretaría a mi cargo. Ciudad del Este, 27 de Octubre de 2025. Abg. Fredy A. Colman, Actuario Judicial. Se hace saber al destinatario de este edicto que el mismo cuenta con el Código QR, por lo cual, para tener certeza de que este documento es válido, deberá utilizar el lector del Código QR, siendo en consecuencia, innecesaria la autenticación. 95740- 28/10 al 11/11

DISOLUCION CONYUGAL. El Juez de Primera Instancia en lo Civil del Segundo Turno, Abg. LAURA BEATRIZ ROJAS CAÑETE, cita y emplaza por quince veces a los que tengan interés en reclamar derechos contra la sociedad conyugal formada por los esposos GLORIA ESTELA GONZÁLEZ GIMÉNEZ con C.I.C. Nº 1.369.211 y LUIS ALBERTO SILVERO ÁLVAREZ con C.I.C. Nº 856.041, para que en el término de 30 días, contados desde la publicación del presente edicto, comparezcan a deducir sus acciones bajo apercibimiento de lo dispuesto en el Art 55 de la ley1/92. El juicio radica en la secretaría a mi cargo. CORONEL OVIEDO, 28 de Octubre de 2025.Abg. JUAN A. ONIEVA, Actuario Judicial.-Secretaria Nº 3. Se hace saber al destinatario de este edicto que el mismo cuenta con el Código QR, por lo cual, para tener certeza de que este documento es válido, deberá utilizar el lector del Código QR, siendo ya en consecuencia, innecesaria la autenticación manual del Actuario del Juzgado conforme Acordada 1366/2019.95864/13/11/2025

DISOLUCION Y LIQUIDACION DE LA COMUNIDAD CONYUGAL. La jueza de

primera instancia en lo Civil y Comercial del Primer turno de presidente franco, de la Sexta Circunscripción Judicial, Alto Paraná, abg. Sara Silva Figueredo, cita y emplaza por quince veces a los que tengan interés en reclamar derechos contra la sociedad conyugal formada por los esposos EFREN TEODORO ZORRILLA ARGUELLO y LIZ ALICIA AGUAYO para que, en término de 30 días contados desde la publicación del presente Edicto, comparezcan a deducir sus acciones bajo apercibimiento de los dispuesto en el Art. 55 de la ley 1/92 modificado del Código Civil Paraguayo vigente. El juicio radica en la secretaría a mi cargo. (Actuario Abog. Rodney E. González G.). Se hace saber al destinatario, para tener certeza de que este documento es válido, que el mismo cuenta con el Código QR, por lo cual, deberá utilizar el lector del Código QR, a fin de constatar su autenticidad. Presidente Franco, 28 de octubre de 2025. 95923- 31/10 al 14/11

DISOLUCIÓN CONYUGAL. El Juez de Primera Instancia en lo Civil y Comercial del Tercer Turno de la Ciudad de San Lorenzo, Secretaría 5, Abg. Felipe Mercado Navarro cita y emplaza por quince veces a los que tengan interés en reclamar derechos contra la sociedad conyugal formada por los esposos IDALINO ARISTE ENCINA LEGUIZAMON y MELISA ELIZABETH ROJAS. San Lorenzo, 20 de junio de 2024. Nelida Rosa Venialgo Torres, Actuaria Judicial. 75910/14/11/2025

DISOLUCIÓN CONYUGAL. LA JUEZA DE PRIMERA INSTANCIA EN LO CIVIL, COMERCIAL, LABORAL DE LA CIUDAD DE CURUGUATY, ABG. SONIA MARIELA MEDINA PAREDES, cita y emplaza por el término de Ley a los que tengan interés legítimo en reclamar derechos en contra de la Sociedad conyugal conformada por los esposos JUANA ALMIRON BRITOS y MIGUEL ANGEL CAMPUZANO S/DISOLUCIÓN DE LA COMUNIDAD CONYUGAL para que en el perentorio termino de treinta días, contado desde la publicación del presente edicto, comparezcan a deducir sus acciones, bajo apercibimiento de lo dispuesto en el Art. 55 de la Ley 1/92 modificado del Código Civil paraguayo. El juicio radica en la secretaria Nº 1, a cargo de la Actuaria Judicial Abg. MIRIAN ESTELA PERALTA RODRIGUEZ.

CURUGUATY, 30 de Octubre de 2025. 75911/14/11/2025

DISOLUCIÓN CONYU -

GAL. El Juez de Primera Instancia en lo Civil, Comercial y Laboral del Tercer Turno de la ciudad de Caaguazú, Abg. FRANCISCO LUIS ASTIGA-

RRAGA FELTES, cita y emplaza por quince veces a los que tengan interés en reclamar derechos contra la sociedad conyugal formada por los esposos MARIA

DOLORES RODA TOLEDO Y ALFREDO NUÑEZ

NOGUERA , para que, en el término de 30 días, contados desde la publicación del presente edicto, comparezcan a deducir sus acciones bajo apercibimiento de Ley. El juicio radica en la secretaría a mi cargo. CAAGUAZU, 11 de Agosto de 2025. Abg. FIDENCIA MARTINEZ RIVEROS, Actuaria Judicial. – Se hace saber al destinatario de este edicto que el mismo cuenta con el Código QR, por lo cual, para tener certeza de que este documento es válido, deberá utilizar el lector del Código QR, siendo ya en consecuencia, innecesaria la autenticación manual de la Actuaria del Juzgado conforme Acordada 1366/2019. 95915/ 31/10 al 14/11

DISOLUCIÓN CONYU -

GAL. La Jueza de Primera Instancia en lo Civil y Comercial del Primer Turno, Abg. LIZ NATHALIA LOBO RUIZ

DIAZ, cita y emplaza por quince veces a los que tengan interés en reclamar derechos contra la sociedad conyugal formada por los esposos ARNALDO DELGADO

GOMEZ Y LETICIA PAOLA

FRANCO VELAZQUEZ para que, en el término de 30 días, contados desde la publicación del presente edicto, comparezcan a deducir sus acciones bajo apercibimiento de lo dispuesto en el art. 55 de la Ley 1/92. El juicio caratulado ARNALDO DELGADO

GOMEZ C/ LETICIA PAOLA

FRANCO VELAZQUEZ S/ DISOLUCIÓN DE LA COMUNIDAD CONYUGAL– AÑO 2025 – N° 178., radica en la Secretaria N°1 del Juzgado de Primera Instancia en lo Civil y Comercial del 1° Turno, del Poder Judicial de la ciudad de Dr. J. Eulogio Estigarribia Abg. Silvio Paul Cano Raggini. Actuario Judicial – Secretaría Nº 1., DOCTOR J. EULOGIO ESTIGARRIBIA, 28 de Octubre de 202595917/ 31/10 al 14/11

. EDICTO. DE CITACIÓN EL JUEZ DE PRIMERA INSTAN-

CIA EN CIVIL Y COMERCIAL DEL SEGUNDO TURNO DE LA CIRCUNSCRIPCIÓN

JUDICIAL DE VILLARRICA

Abg. Oscar Alfredo Ortega Varela, cita, llama y emplaza por el término de 15 veces a la Sra. ALBA ALICIA ORTIZ

BOVEDA para que comparezca a estar en juicio por sí o por apoderado en los autos caratulados: “NAVID AKHTAR KHAVARI C/ ALBA ALICIA ORTIZ BÓVEDA, ELADIA ISABEL OR TIZ DE GONZÁLEZ, PERLA SUSANA ORTIZ BOVEDA Y GRACIELA CONCEPCIÓN ORTIZ BOVEDA S/ ACCIÓN REVOCATORIA”, bajo apercibimiento de que, si así no lo hiciere, se nombrará al Defensor de Ausentes de esta Circunscripción. Los autos se tramitan ante la Secretaria N° 4 del Juzgado en lo Civil y Comercial del segundo Turno, 5° Piso, a cargo del Actuario Celso Ariel Benitez Denis.- VILLARRICA, 21 de Octubre de 2025. 95509/05/11/2025

EDICTO. La Juez de Primera Instancia de la Niñez y la Adolescencia del Segundo Turno, de la Circunscripción Judicial del Alto Paraná, ha dictado en los autos caratulados:

“LUISA BEATRIZ VZAL

MOREL S/ REGIMEN DE CONVIVENCIA”, la providencia de fecha 27 de octubre de 2025, que transcripta en su parte pertinente dice: “Atenta al informe del Registro de Poderes. Cítase por edictos al Sr. JORGE PATRICIO VZAL ORTIZ , por siete veces, que se publicarán en los diarios la Nación de la capital, para que comparezcan por sí o por apoderado a estar en el presente juicio, bajo apercibimiento de que, si así no lo hicieren dentro del término establecido, se les nombrará como representante al Defensor de Pobres y Ausentes de Turno. Expídase por secretaría los edictos correspondientes. Firmado: Abog. Graciela Ovelar Viñales (Juez). Ciudad del Este, 28 de octubre de 2025. Abog. Elba Patricia Herrera de Ortiz (Actuaria Judicial) 95790- 29/11 al 04/11

EDICTO. El Directorio de DIVISA AUTOMOTORES

S.A. (en adelante, la “Sociedad”), en cumplimiento de las disposiciones estatutarias y legales vigentes, comunica a los señores accionistas lo siguiente:1.La Asamblea Ordinaria N.º 44, celebrada con fecha 23 de octubre de 2025, ha resuelto la emisión de nuevas acciones ordinarias, nominativas y no endosables, con un valor nominal de Gs.

2.000.000 (dos millones de guaraníes) cada una; 2.Las acciones emitidas ascienden a un monto total de Gs. 64.800.000.000 (sesenta y cuatro mil ochocientos millones de guaraníes); 3.La suscripción e integración de las acciones se realizará de forma privada; 4.Los señores accionistas que deseen ejercer su derecho de preferencia para la suscripción de las nuevas acciones emitidas contarán con un plazo de treinta (30) días, contados desde la primera publicación del presente aviso, para comunicar por escrito su intención al Directorio; 5.El plazo para la integración de las acciones suscriptas será de cinco (5) días hábiles, contados a partir de la fecha en que el accionista comunique al Directorio su decisión de ejercer el derecho de preferencia previsto en el punto anterior; 6.La comunicación mencionada deberá presentarse en la sede social de la Sociedad, ubicada en Supercarretera Avda. Mariscal Francisco Solano López esquina Teniente Rojas Silva, Ciudad del Este, Departamento de Alto Paraná. 95972/03/11/2025

FUSIÓN POR ABSORCIÓN DE CREO NORTE S.A. Y CREO CHACO S.A. POR PARTE DE CREO PY. S.A. ANUNCIO EN CUMPLIMIENTO DEL ART. 1193, INC. “B” DEL CÓDIGO CIVIL Antecedentes: CREO NORTE, CREO CHACO S.A. con domicilio en Bulnes N° 830 casi España y CREO PY. S.A. con domicilio Bulnes N° 830 esquina Avda. España de la ciudad de Asunción, han acordado fusionarse mediante la absorción de esta última por parte de las dos sociedades primeras. La decisión de suscribir un acuerdo de fusión ha sido tomada en la Asamblea General Extraordinaria llevada a cabo en fecha 22 de octubre de 2025, por las respectivas Asambleas de Accionistas no habiendo los accionistas ejercidos el derecho de receso previsto en el Art. 1092 del Código Civil Paraguayo. El resumen del compromiso es el siguiente: 1. Creo Py. S.A. será la Sociedad absorbente manteniendo su nombre y convirtiéndose en titular de los derechos y obligaciones de Creo Norte S.A. y Creo Chaco S.A. en un todo, de acuerdo con lo dispuesto en el Art. 1192 del Código Civil. 2. Las partes convienen implementar la Fusión de ambas sociedades tomándose como base contable los Balances de las sociedades al 31 de agosto de 2025. 3. Por

el monto del Patrimonio Neto, Creo Py. S.A. procederá a entregar a los accionistas de Creo Norte S.A. y Creo Chaco S.A. acciones de la clase nominativa de Voto Simple en la misma proporción a sus respectivas tenencias accionarias y a valor nominal. 4. Detalles y aclaraciones sobre las bases del acuerdo mencionado más arriba y los Balances correspondientes a ambas entidades al 31/08/2025, se encuentra a disposición de los interesados en la secretaría del Directorio de las sociedades, sitas en Bulnes N° 830 esquina Avda. España Asunción, 23 de octubre de 2025. CREO PY. S.A. Directorio,, CREO NORTE S.A. Directorio, CREO CHACO S.A. Directorio- 5/11/2025

95952/05/11/2025

EDICTO. El Presidente del Tribunal Electoral de Alto Paraná y Canindeyú, Magistrada Nilda Elizabeth López Brítez, de conformidad al Art. 22 de la Ley 834/96, cita y emplaza por tres veces a Partidos y Movimientos Políticos que tengan derecho a deducir oposición al Reconocimiento del Movimiento Político Distrital transitorio denominado MOVIMIENTO POLÍTICO INDEPENDIENTE IMPULSO POPULAR DE LOS TRABAJADORES (MIIPT) para el Distrito de Yasy Cañy, Dpto. de Canindeyú, debiendo hacerlo dentro del plazo de quince días contados desde la última publicación, conforme lo estipula el AI N° 94 de fecha 28 de octubre del 2025; Acompañando las pruebas pertinentes del Acta de Fundación, Declaración de Principios y Estatuto del citado Movimiento Político, datan del 04/09/2025, y consta en la Escritura Pública N° 288, Folio 683 y sgtes, Sección “A” ambas pasadas ante la Notaria y Escribana Púbica: Mirta Elizabeth Benitez de Sachelaridi, Adopta la denominación: “MOVIMIENTO POLÍTICO INDEPENDIENTE IMPULSO POPULAR DE LOS TRABAJADORES”, con las siguientes características: SIMBOLO BANDERA DE COLOR ROJO BLANCO Y AZUL, su eslogan: IMPULSO POPULAR DE LOS TRABAJADORES y su sigla es: “M.I.I.P.T.”. Ante Mi: Actuaria Judicial Wilma Villagra. Ciudad del Este, 29 de octubre de 2025.-95939/03/11/2025

EDICTO. El Juez de Primera Instancia en lo Civil y Comercial del Octavo Turno, Dr. Walter Raúl Mendoza Orue, cita y emplaza por 30 días a los acreedores de MARIA

ROMINA RIOS PRIETO, para que presenten los títulos justificativos de sus respectivos créditos, cuya convocatoria de acreedores fue admitida ante este Juzgado.ASUNCIÓN, 31 de Octubre de 2025 - Firmado digitalmente por Alexis Nicolas Arturo Brambilla –Actuario Judicial- 5/11/2025

MODIFICACIÓN DE LOS

ESTATUTOS . Por Emisión e Integración de Acciones. Por Escritura Pública Nº 186, de fecha 23/09/2025, autorizada por la N.P Mirtha Estela Domínguez D., la firma KALA HUALA S.A. Aumentó el Capital Social Integrado de la empresa de Gs. 34.020.000.000 a Gs.37.450.000.000 dividida en acciones de Gs.500.000 cada una. Se halla inscripta en la Dirección Gral. de los Registros Públicos Sección Personas Jurídicas y Comercio bajo el N° 12, folio 123-133, serie Comercial, de fecha 15/10/2025. 95947-1 al 3/11

MODIFICACIÓN DEL ARTÍCULO 5 °. de los Estatutos Sociales de LEIBALE SA., Por Esc. Pub. Nº 07 del 25/09/2019, ante la N.P Miryam Elizabeth Rolón. Artículo Quinto: El Capital Social se fija en la cantidad guaraníes Setecientos Millones (GS. 700.000.000) representado por 14 (Catorce) Acciones Nominativas, denominadas correlativamente por los números arábigos del 1 al 14, por un valor nominal de Guaraníes: Cincuenta Millones (GS. 50.000.000). La emisión de las acciones se formaliza de conformidad a las disposiciones del Artículo 37º de este Estatuto Social. Los demás artículos del Estatuto Social permanecen invariables. Firma: Ramon Julián Sánchez Acuña y Eleonora Caracelli. Inscripto en la D.G.R.P. Secc. Personas Jurídicas y Asociaciones Inscripto Bajo el Nº 1.- Folio 1. Ambos de fecha 02/06/2020. Secc. Comercio Inscripto Bajo el N° 1.-Folio 1 de fecha 02/06/2020. 95937- 1 al 3/11

MODIFICACIÓN DEL ESTATUTO SOCIAL. Por Transformación de Sociedad de la firma PANADERÍA

LIBANO S.A. Por Escritura Pública N° 451, Civil A, de fecha 06/10/25 pasada ante el N.P. Abraao Jubilo Silva Monteiro, Insc. en la Dir. Gral. de Reg. Pub. Personas Jurídicas y Comercio bajo el N° 1, Serie Comercial, de fecha 17/10/25, folio 1, Mat. Jurídica N° 47.082. 95967- 1 al 3/11

MODIFICACIÓN DE ESTATUTOS. DE LA FIRMA PAL PARAGUAY S.R.L. N°14, 27/06/2024, PASADA ANTE LA N.P. MA. CRISTINA LEZCANO. MODIFICACION DE ESTATUTO EN EL ART. 5°, INSCRIPTA EN EL REGISTRO DE PER. JURID. Y COMERCIO, COMO MATRICULA N°15211, SERIE COMERCIAL, BAJO EL N°2 Y AL FOLIO 14, E L 01/07/2025.95958/03/11/2025

PATENTE DE INVENCIÓN (19)Dirección Nacional de Propiedad Intelectual, PARAGUAY (11)Nro. Publicación: PY24106842A (43) Asunción, 3 de Julio de 2025. Orden de Publicación de SOLICITUD de Patente de Invención (12) DATOS DE LA SOLICITUD (21)N° de Solicitud: 24106842 (22)Fecha de Solicitud: 29/11/2024 12:12:34 (71)Solicitante: BASF SE Domicilio Solicitante: Carl-BoschStrasse 38, 67056 Ludwigshafen am Rhein, Alemania, DE (72)Inventor: 1)Dr. Parra Rapado, Liliana; 2)Dr. Seiser, Tobias; 3)Asher, Brady Scott; 4)Dr. Lewis, Dustin Franklin; 5) Findley, Douglas; 6) Manuchehri Byrd, Misha Rose 7) Nunes Bressanin, Fernanda; 8)Zeyer, Silke; y 9)Sudakir, Sudakir Domicilio Inventor: 1)Speyerer Straße 2, 67117 Limburgerhof, Alemania, DE; 2)Carl-Bosch-Straße 38, 67056 Ludwigshafen am Rhein, Alemania, DE; 3)2 TW Alexander Drive, Durham, North Carolina 27709, Estados Unidos de América, US; 4) 2683 Needle Pine Drive, Apex, NC 27539, Estados Unidos de América, US; 5)26 Davis Drive, Durham, North Carolina 27709-3528, Estados Unidos de América, US; 6) 26 Davis Drive, Durham, North Carolina 27709-3528, Estados Unidos de América, US; 7) SP-340, km 144, 13830-000 Santo Antonio de Posse, Brasil, BR; 8) Speyerer Straße 2,67117 Limburgerhof, Alemania, DE; y 9) Ciputra World 1, DBS Bank Tower, 27th Floor, 12940 Jakarta, Indonesia, ID. (54)Título: COMPOSICIONES HERBICIDAS QUE COMPRENDEN GLUFOSINATO (74) Hugo Teodoro Berkemeyer - 6 (30)Prioridad/ es: EP 23213612.7 - 01/12/2023 Int. Cl 8: A 01N 43/54(2006.01), A 01N 43/84(2006.01), A 01P 13/00(2006.01) En cumplimiento al Articulo 1 de la Ley Nº 2593/05 que modifica el Artículo 23 De publicaciones de la Ley Nº 1630/00 de Patentes Invención, se dispone que a partir de la fecha de la presente orden de publicación, esta solicitud de

6 JUDICIAL .

patente se hace pública y se ordena su publicación por el término de la Ley. (57) Resumen: (342/24). La presente invención se refiere a un método para un control de malezas postemergentes, que comprende aplicar una cantidad eficaz de una composición que comprende herbicida A (componente A) 2[2-[[3-cloro-5-fluoro-6-[3-metil-2,6-dioxo-4-(trifluorometil)pirimidin-1-il]-2-piridil]oxi] acetato de etilo, glufosinato (componente B) que incluye sus sales aceptables en la agricultura, a una zona donde crecen las malezas y opcionalmente el herbicida C (componente C) a malezas emergentes o a un área donde crecen malezas, seleccionado del grupo que consiste en saflufenacil, trifludimoxazin y glifosato, incluidas sus sales aceptables en la agricultura. Dirección de Patentes. Farm. Berta Segovia. 95869/03/11/2025

PATENTE DE INVENCIÓN.

(19)Dirección Nacional de Propiedad Intelectual, PARAGUAY (11)Nro. Publicación: PY24108140A (43) Asunción, 4 de Julio de 2025. Orden de Publicación de SOLICITUD de Patente de Invención (12) DATOS DE LA SOLICITUD (21)N° de Solicitud: 24108140 (22)Fecha de Solicitud: 04/12/202411:05:01 (71)Solicitante: BAYER AKTIENGESELLSCHAFT Domicilio Solicitante: Kaiser-Wilhelm-Allee 1, Leverkusen (51373), Alemania, DE (72)Inventor: 1)PEROS URQUIJO, GORKA; 2) MARIENHAGEN, CHRISTIAN; y 3) SCHULZ, RALF Domicilio Inventor: 1) a 3) C/o Bayer Aktiengesellschaft, Kaiser-Wilhelm-Alle 1, 51373 Leverkusen, Alemania, DE (54)Título: FORMULACIONES AGROQUÍMICAS LÍQUIDAS QUE COMPRENDEN FLUPIRADIFURONA (74) Hugo Teodoro Berkemeyer - 6 (30)Prioridad/es: EP 23214470.9 - 05/12/2023 Int. Cl 8: A 01N 25/00(2006.01), A 01N 25/30(2006.01), A 01P 7/04(2006.01) En cumplimiento al Articulo 1 de la Ley Nº 2593/05 que modifica el Artículo 23 De publicaciones de la Ley Nº 1630/00 de Patentes Invención, se dispone que a partir de la fecha de la presente orden de publicación, esta solicitud de

patente se hace pública y se ordena su publicación por el término de la Ley. (57) Resumen: (345/24). La presente invención se refiere a nuevas formulaciones agroquímicas líquidas que comprenden flupiradifurona (4-[(6-cloro3-piridilmetil)(2,2 difluoroetil) amino]furan-2(5H)-ona). Dirección de Patentes. Farm. Berta Segovia. 95869/03/11/2025

PATENTE DE INVENCIÓN. (19)Dirección Nacional de Propiedad Intelectual, PARAGUAY (11)Nro. Publicación: PY2501099A (43) Asunción, 6 de Agosto de 2025. Orden de Publicación de SOLICITUD de Patente de Invención (12)DATOS DE LA SOLICITUD (21)N° de Solicitud: 2501099 (22)Fecha de Solicitud: 07/01/2025 11:46:28 (71)Solicitante: MONSANTO TECHNOLOGY LLC Domicilio

Solicitante: 800 North Lindbergh Blvd, St. Louis, Missouri 63167, Estados Unidos de América, US (72)Inventor: 1)BOWEN, DAVID J.; 2)CHAY, CATHERINE A.; y 3)FLASINSKI, STANISLAW Domicilio Inventor: 1) a 3) 800 North Lindbergh Boulevard, St. Louis, Missouri 63167, Estados Unidos de América, US (54)Título: PROTEÍNAS INHIBIDORAS DE INSECTOS (74) Hugo Teodoro Berkemeyer - 6 (30)Prioridad/es: US 63/618,849 - 08/01/2024 Int. Cl 8: C 07K 14/00(2006.01), C 07K 14/32(2006.01), C 12N 15/82(2006.01) En cumplimiento al Artículo 1 de la Ley Nº 2593/05 que modifica el Artículo 23 De publicaciones de la Ley Nº 1630/00 de Patentes Invención, se dispone que, a partir de la fecha de la presente orden de publicación, esta solicitud de patente se hace pública y se ordena su publicación por el término de la Ley. (57) Resumen: (4/25) Se describen proteínas pesticidas que presentan actividad tóxica contra especies de plagas de lepidópteros, coleópteros y hemípteros, que incluyen, sin limitación, TIC3410, TIC4123 y TIC4124 y proteínas pesticidas relacionadas. Se proporcionan construcciones de ADN que codifican las proteínas pesticidas divulgadas. Se proporcionan plantas, células vegetales, semillas y partes de plantas transgénicas resistentes a la infestación por lepidópteros, coleópteros y hemípteros que contienen secuencias de ácido nucleico recombinante que codifican las proteínas pesticidas de la presente invención, y se describen vectores que contienen por lo

menos una secuencia codificante para la expresión y el suministro de las proteínas de toxinas codificadas. También se proporcionan métodos para detectar la presencia de las secuencias de ácidos nucleicos recombinantes o las proteínas de la presente invención en una muestra biológica, y métodos para controlar plagas de especies de lepidópteros, coleópteros y hemípteros utilizando TIC3410, TIC4123 y TIC4124 y proteínas pesticidas relacionadas. Dirección de Patentes. Farm. Berta Segovia. 95869/03/11/2025

PATENTE DE INVENCIÓN. (19)Dirección Nacional de Propiedad Intelectual, PARAGUAY (11)Nro. Publicación: PY2465441A (43) Asunción, 27 de Mayo de 2025. Orden de Publicación de SOLICITUD de Patente de Invención (12)DATOS DE LA SOLICITUD (21)N° de Solicitud: 2465441 (22)Fecha de Solicitud: 31/07/2024 11:07:48 (71)Solicitante: LES LABORATOIRES SERVIER Domicilio Solicitante: 35 rue de Verdun 92284 Suresnes Cedex, Francia, FR (72)Inventor: 1)LEBLANC, NICOLAS; 2)COINTEPAS, PATRICK; 3) VIEL, QUENTIN; y 4) ESCOLIVET, VINCENT Domicilio Inventor: 1 ) y 2) c/o Technologie Servier, 25-27 rue Eugene Vignat 45000 Orléans, Francia, FR; 3) y 4) c/o Oril Industrie, 13 rue Auguste Desgenetais 76210 Bolbec, Francia, FR (54)Título: COCRISTAL DE UN INHIBIDOR DE IDH1, PROCESO DE PREPARACIÓN DEL MISMO, COMPOSICIONES FARMACÉUTICAS DEL MISMO, Y MÉTODOS DE TRATAMIENTO QUE IMPLICAN EL MISMO (74) Hugo Teodoro Berkemeyer - 6 (30)Prioridad/ es: EP 23306322.101/08/2023 Int. Cl 8: A 61K 31/444(2006.01), A 61K 9/20(2006.01), C 07D 401/14(2006.01) En cumplimiento al Articulo 1 de la Ley Nº 2593/05 que modifica el Artículo 23 De publicaciones de la Ley Nº 1630/00 de Patentes Invención, se dis-

pone que a partir de la fecha de la presente orden de publicación, esta solicitud de patente se hace pública y se ordena su publicación por el término de la Ley. (57) Resumen: (219/24). Se proporciona un cocristal de un compuesto útil para tratar el cáncer y un proceso para la preparación del mismo, composiciones farmacéuticas del mismo y uso para el tratamiento del cáncer que comprende administrar el cocristal descrito en la presente memoria a un paciente que lo necesita. Dirección de Patentes. Farm. Berta Segovia. 95869/03/11/2025

PATENTE DE INVENCIÓN. (19) DIRECCION NACIONAL DE PROPIEDAD INTELECTUAL PARAGUAY PARAGUÁI TETÁYGUA AKÁPYROKY MBA'ETEE MOAKÁHA (11) Nro. Publicación: PY2442226A (43) Asunción, 24 de Junio de 2025.Orden de Publicación de SOLICITUD de Patente de Invención (12) DATOS DE LA SOLICITUD (21) Nº de Solicitud: 2442226 (22) Fecha de Solicitud: 24/05/2024 12:02:48 (71) Solicitante: SYNGENTA CROP PROTECTION AG Domicilio Solicitante: Rosentalstrasse 67, 4058 Basel, Suiza, CH (72) Inventor: 1)OBRIST, LUKAS; 2)SUTTER, MANUEL; 3)KARLEN, ROGER; y 4) SZALONTAI, LASZLO Domicilio Inventor: 1), 2) y 3)Valenco GmbH, Challerenweg 1, 4303 Kaiseraugst, Suiza, CH; 4)Syngenta Crop Protection AG Rrosentalstrasse 67, 4058 Basel, Suiza, CH (54) Título: MÉTODOS PARA PROPORCIONAR Y APLICAR COMPOSICIÓN AGRÍCOLA, DISPOSITIVOS DE SUMINISTRO, DISPOSITIVO DE AGITACIÓN, Y DISPOSITIVO DE APLICACIÓN (74) Agente: Juan Pablo Salomoni Guanes – 4795 (30) Prioridad/es: EP 23176427.5 - 31/05/2023 (51) Int. Cl 8: A 01C 1/06(2006.01), A 01C 23/00(2006.01), A 01C 23/04(2006.01) En cumplimiento al Artículo 1 de la Ley

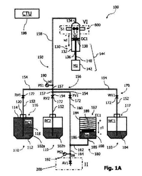
Nº 2593/05 que modifica el Artículo 23 de publicaciones de la Ley Nº 1630/00 de Patentes de Invención, se dispone que a partir de la fecha de la presente orden de publicación, esta solicitud de patente se hace pública y se ordena su publicación por el término de la Ley. (57) Resumen: (140/24). La invención descrita en la presente incluye un método para proporcionar una composición agrícola, el método que incluye: dosificar una cantidad predeterminada de una composición agrícola a granel desde un contenedor de depósito (RC1, RC2) en un contenedor de dosificación (DC1), preferentemente por presión de vacío; y alimentar un contenido del contenedor de dosificación (DC1), como la composición agrícola, a un dispositivo de aplicación agrícola (200), que incluye preferentemente por sobrepresión. La invención también implica un dispositivo de suministro (100) para proporcionar una composición agrícola, el dispositivo de suministro (100) que incluye: al menos una unidad de admisión de composición a granel (116), cada una de las cuales se forma para comunicarse con un respectivo contenedor de depósito (RC1, RC2); un contenedor de dosificación (DC1); una unidad de interfaz de aplicación (180) que se puede conectar a un dispositivo de aplicación (200) para aplicar una composición agrícola a plantas o material de propagación vegetal (K); una tubería (150) que conecta el contenedor de dosificación (DC1) con cada unidad de admisión de composición a granel (116) y la unidad de interfaz de aplicación (180); una disposición de válvula (170) formada para comunicar o cerrar selectivamente cada unidad de admisión de composición a granel (116) y la unidad de interfaz de aplicación (180) con o desde el recipiente de dosificación (DC1) a través de la tubería (150), un medio de presurización (144) para proporcionar sobrepresión o presión de vacío al contenedor de dosificación (DC1), para dosificar o alimentar el contenido del contenedor de dosificación (DC1); y una unidad de control (199, CTU) formada y conectada para controlar la disposición de válvula (170) y los medios de presurización (144) en donde el contenedor de dosificación (DC1) incluye preferentemente un cilindro (130) que tiene un pistón impulsado (138) para controlar el volu-

men de trabajo (Vd). La invención también implica un método para aplicar una composición agrícola, un dispositivo de agitación para usarse en el contenedor de dosificación (DC1), un dispositivo de aplicación (200), y un sistema de tratamiento de plantas. (Figura 1A) Farm. Berta Segovia, Directora Interina - Dirección de Patentes. 95888/05/11/2025

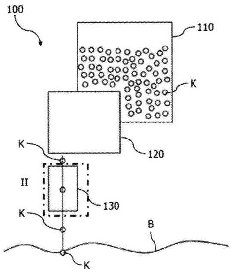
PATENTE DE INVENCIÓN. (19) DIRECCION NACIONAL DE PROPIEDAD INTELECTUAL PARAGUAY PARAGUÁI TETÁYGUA AKÁPYROKY MBA'ETEE MOAKÁHA (11) Nro. Publicación: PY2440971A (43) Asunción, 24 de Junio de 2025. Orden de Publicación de SOLICITUD de Patente de Invención (12) DATOS DE LA SOLICITUD (21) Nº de Solicitud: 2440971 (22) Fecha de Solicitud: 22/05/2024 10:11:28 (71) Solicitante: SYNGENTA CROP PROTECTION AG Domicilio Solicitante: Rosentalstrasse 67, 4058 Basel, Suiza, CH (72) Inventor: 1) KARLEN, ROGER; y 2) OBRIST, LUKAS Domicilio Inventor: 1) y 2) Valenco Gmbh, Challerenweg 1, 4303 Kaiseraugst, Suiza, CH (54) Título: "MÉTODO Y UNIDAD DE APLICACIÓN PARA APLICAR LA COMPOSICIÓN DE RECUBRIMIENTO DE SEMILLAS, DISPOSITIVO DE APLICACIÓN DE RECUBRIMIENTO, TUBO DE SEMILLAS Y DISPOSITIVO DE SIEMBRA" (74) Agente: Juan Pablo Salomoni Guanes - 4795 (30) Prioridad/es: EP 23176431.7 -31/05/2023 (51) Int. Cl 8: A 01C 1/06(2006.01), A 01C 7/04(2006.01), A 01C 7/20(2006.01) En cumplimiento al Artículo 1 de la Ley Nº 2593/05 que modifica el Artículo 23 de publicaciones de la Ley Nº 1630/00 de Patentes de Invención, se dispone que a partir de la fecha de la presente orden de publicación, esta solicitud de patente se hace pública y se ordena su publicación por el término de la Ley. (57) Resumen: (138/24). La invención se refiere a un método para

aplicar una composición de recubrimiento a materiales de propagación vegetal que caen (K). El método incluye: detectar un material de propagación vegetal (K) que cae libremente dentro de una zona de detección predeterminada (E); determinar, en función de la detección del material de propagación vegetal (K), un tiempo de activación (ta) para activar un dispositivo aplicador activable (330) proporcionado para descargar alícuotas (D) de la composición de recubrimiento hacia una zona de impacto predeterminada (T) donde el material de propagación vegetal (K) puede ser impactado por las alícuotas (D), definiéndose la zona de impacto (T) preferentemente por una trayectoria de pulverización (I) de la composición de recubrimiento descargada del dispositivo aplicador (330); activar el dispositivo aplicador activable (330) en el tiempo de activación (ta) determinado para descargar una alícuota (D) de la composición de recubrimiento hacia la zona de impacto (T); escanear una zona de escaneo predeterminada (A.) dentro, alrededor o después de la zona de impacto (T); estimar, en función de un resultado del escaneo, si el material de propagación vegetal (K) fue impactado o no por la alícuota (D), siendo el resultado del escaneo preferiblemente una información de distancia. La invención también se refiere a una unidad de aplicación respectiva (200), dispositivo de aplicación (130), dispositivo de siembra (100) y tubos de semillas (210). Los tubos de semillas (210) incluyen segundos medios de montaje de sensores para montar una segunda disposición de sensores (370) para cubrir una zona de escaneo (A) definida dentro o alrededor o después de la zona de impacto (T) en una dirección de caída del material de propagación vegetal individual (K); y/ o medios de montaje electrónicos (210b) para montar una unidad de control para controlar la primera disposición de sensores (310) y/o el dispositivo aplicador (330) y/o la segunda disposición de sensores (370); y/o un canal de guía formado por el cuerpo entre e incluyendo la zona de detección (E) y el extremo de liberación, teniendo el canal una anchura (b) al menos en una dirección transversal que está adaptada a un tamaño de grano de un tipo particular de material de propa -

gación vegetal (K). La invención, entre otras cosas, mejora la precisión, fiabilidad y controlabilidad de la aplicación del recubrimiento.Farm. Berta Segovia, Directora Interina - Dirección de Patentes. 95888/05/11/2025

PATENTE DE INVENCIÓN. (19) DIRECCION NACIONAL DE PROPIEDAD INTELECTUAL PARAGUAY PARAGUÁI TETÁYGUA AKÁPYROKY MBA'ETEE MOAKÁHA (11) Nro. Publicación: PY2412479A (43) Asunción, 23 de Julio de 2025. Orden de Publicación de SOLICITUD de Patente de Invención (12) DATOS DE LA SOLICITUD (21) Nº de Solicitud: 2412479 (22) Fecha de Solicitud: 21/02/2024 11:02:11 (71) Solicitante: SYNGENTA CROP PROTECTION AG Domicilio

Solicitante: Rosentalstrasse 67, 4058 Basel, Suiza, CH (72) Inventor: 1)FELLMANN, JULIA; y 2) WATKINS, MELANIE JAYNE Domicilio Inventor: 1)Syngenta Crop Protection AG Rosentalstrasse 67,4058 Basel, Suiza, CH; y 2) Syngenta Limited Syngenta, Jealott's Hill Internacional Research Centre Bracknell, Berkshire RG42 6EY Gran Bretaña, GB (54) Título: COMPOSICIONES

HERBICIDAS (74) Agente: Juan Pablo Salomoni Guanes - 4795 (30) Prioridad/es: EP 23158618.1 - 24/02/2023 y EP y 23207284.301/11/2023 (51) Int. Cl 8: A 01N 37/26(2006.01), A 01N 57/20(2006.01), A 01P 13/02(2006.01) En cumplimiento al Artículo 1 de la Ley Nº 2593/05 que modifica el Artículo 23 de publicaciones de la Ley Nº 1630/00 de Patentes de Invención, se dispone que a partir de la fecha de la presente orden de publicación, esta solicitud de patente se hace pública y se ordena su publicación por el término de la Ley. (57) Resumen: (50/24) La presente invención se refiere a una composición herbicida que comprende (A) una cantidad herbicidamente efectiva de un compuesto de Fórmula (I): o un éster o sal agroquímicamente aceptable del mismo; y (B) glufosinato o L-glufosinato. Farm. Berta Segovia, Directora Interina - Dirección de Patentes.

95888/05/11/2025

PATENTE DE INVENCIÓN. (19) DIRECCION NACIONAL DE PROPIEDAD INTELECTUAL PARAGUAY PARAGUÁI TETÁYGUA AKÁPYROKY MBA'ETEE MOAKÁHA (11) Nro. Publicación: PY2389146A (43) Asunción, 23 de Junio de 2025. Orden de Publicación de SOLICITUD de Patente de Invención (12) DATOS DE LA SOLICITUD (21) Nº de Solicitud: 2389146 (22) Fecha de Solicitud: 31/10/2023 12:57:43 (71) Solicitante: SYNGENTA CROP PROTECTION AG Domicilio Solicitante: Rosentalstrasse 67, 4058 Basel, Suiza, CH (72) Inventor: 1)Edmunds Andrew; 2)Scarborough, Christopher Charles; 3) Mahajan Atul; 4)El Qacemi Myriem; y 5) Quetglas Vincent Domicilio Inventor: 1), 2), 4) y 5) Syngenta Crop Protection AG Schaffhauserstrasse 4332 Stein Suiza, CH; 3)Syngenta Biosciences Prívate Limited Santa Monica Works Corlim, Ilhas 403 110 Goa India, IN (54) Título: DERIVADOS DE PIRAZOL MICROBIOCIDAS (74) Agente: Juan Pablo Salomoni Guanes - 4795 (30) Prioridad/es: IN 20221106398 - 09/11/2022; EP 22215344.7-21/12/2022; EP 23192672.6-22/08/2023, EP 23193406.8 - 25/08/2023 (51) Int. Cl 8: A 01N 43/56(2006.01), A 01N 43/82(2006.01), A 01N 43/90(2006.01) En cumplimiento al Artículo 1 de la Ley Nº 2593/05 que modifica el Artículo 23 de publicaciones de la Ley Nº 1630/00 de Patentes de Invención, se dispone que a partir de la fecha de la presente orden de publicación, esta solicitud de patente se hace pública y se ordena su publicación por el término de la Ley. (57) Resumen: (289 /23) Un compuesto de fórmula (I): donde los sustituyentes son como se definen en la reivindicación 1, y las sales, estereoisómeros, enantiómeros, tautómeros y N-óxidos agroquímicamente aceptables de estos compuestos, que pueden usarse como fungicidas.Farm.

Berta Segovia, Directora Interina - Dirección de Patentes. 95888/05/11/2025

PATENTE DE INVENCIÓN. (19) DIRECCION NACIONAL DE PROPIEDAD INTELECTUAL PARAGUAY PARAGUÁI TETÁYGUA AKÁPYROKY MBA'ETEE MOAKÁHA (11) Nro. Publicación: PY24107365A (43) Asunción, 17 de Julio de 2025. Orden de Publicación de SOLICITUD de Patente de Invención (12) DATOS DE LA SOLICITUD (21) Nº de Solicitud: 24107365 (22) Fecha de Solicitud: 02/12/2024 13:18:16 (71) Solicitante: SYNGENTA CROP PROTECTION AG Domicilio Solicitante: Rosentalstrasse 67, 4058 Basel, Suiza, CH (72) Inventor: MORRIS, JAMES ALAN Domicilio Inventor: Syngenta, Jealott's Hill International Research Centre, Gran Bretaña, GB (54) Título: DERIVADOS HERBICIDAS (74) Agente: Juan Pablo Salomoni Guanes - 4795 (30) Prioridad/ es: EP 23214390.9 - 05/12/2023 (51) Int. Cl 8: A 01N 43/40(2006.01), A 61K 31/4412(2006.01), C 07D 401/06(2006.01 En cumplimiento al Artículo 1 de la Ley Nº 2593/05 que modifica el Artículo 23 de publicaciones de la Ley Nº 1630/00 de Patentes de Invención, se dispone que a partir de la fecha de la presente orden de publicación, esta solicitud de patente se hace pública y se ordena su publicación por el término de la Ley. (57) Resumen: (343/24). Los compuestos de Fórmula (I) en donde los sustituyentes son como se definen en la reivindicación 1. La invención se refiere además a composiciones herbicidas que comprenden un compuesto de Fórmula (I) y al uso de compuestos de Fórmula (I) para controlar malezas, en particular en cultivos de plantas útiles. Farm. Berta Segovia, Directora InterinaDirección de Patentes. 95888/05/11/2025

PATENTE DE INVENCIÓN. (19) DIRECCIÓN NACIONAL DE PROPIEDAD INTELECTUAL GOBIERNO DEL PARAGUAY / PARAGUÁI REKUÁI (11) Nro. Publicación: PY24104267A (43) Asunción, 25 de Junio de 2025. Orden

de Publicación de SOLICITUD de Patente de Invención (12) DATOS DE LA SOLICITUD (21) Nº de Solicitud: 24104267 (22) Fecha de Solicitud: 25/11/2024 10:27:06 (71) Solicitante: SYNGENTA CROP PROTECTION AG Domicilio Solicitante: Rosentalstrasse 67, 4058 Basel, Suiza, CH (72) Inventor: RAMBACH JANKOWSKI, ODILE Domicilio Inventor: Syngenta Crop Protection AG Rosentalstrasse 67 CH-4058 Basel, Suiza (54) Título: COMPOSICIONES FUNGICIDAS (74) Agente: Juan Pablo Salomoni Guanes - 4795 (30) Prioridad/es: EP 23213021.129/11/2023 (51) Int. Cl 8: A 01N 25/04(2006.01), A 01N 25/30(2006.01), A 01N 43/54(2006.01) En cumplimiento al Artículo 1 de la Ley Nº 2593/05 que modifica el Artículo 23 de publicaciones de la Ley Nº 1630/00 de Patentes de Invención, se dispone que a partir de la fecha de la presente orden de publicación, esta solicitud de patente se hace pública y se ordena su publicación por el término de la Ley. (57) Resumen: (339/24). Composición fungicida que comprende una mezcla de los componentes (A), (B) y (C) como principios activos, en el que el componente (A) es pidiflumetofeno, el componente (B) es mefentrifluconazol y el componente (C) es azoxistrobina, o sales aceptables desde el punto de vista agroquímico, N-óxidos, diastereoisómeros, enantiómeros o tautómeros de los mismos, y uso de las composiciones en agricultura u horticultura para controlar o evitar la infestación de plantas por microorganismos fitopatógenos, preferiblemente hongos. Farm. Berta Segovia, Directora Interina - Dirección de Patentes. 95888/05/11/2025

PATENTE DE INVENCIÓN. (19) DIRECCION NACIONAL DE PROPIEDAD INTELECTUAL PARAGUAY PARAGUÁI TETÁYGUA AKÁPYROKY MBA'ETEE MOAKÁHA (11) Nro. Publicación: PY2499860A (43) Asunción, 6 de Junio de 2025. Orden de Publicación de SOLICITUD de Patente de Invención (12) DATOS DE LA SOLICITUD (21) N° de Solicitud: 2499860 (22) Fecha de Solicitud: 11/11/2024 12:53:01 (71) Solicitante: SYNGENTA

CROP PROTECTION AG Domicilio Solicitante: Rosentalstrasse 67, 4058 Basel, Suiza, CH (72) Inventor: LE GOUPIL, GAEL ANNE Domicilio Inventor: Syngenta Crop Protection AG Rosentalstrasse 67 4058, Basel, Suiza, CH (54) Título: COMPOSICIONES HERBICIDAS (74) Agente: Juan Pablo Salomoni Guanes - 4795 (30) Prioridad/ es: EP 23209737.8 - 14/11/2023 (51) Int. Cl 8: A 01N 35/06(2006.01), A 01N 37/06(2006.01), A 01N 47/06(2006.01), A 01P 13/00(2006.01) En cumplimiento al Artículo 1 de la Ley Nº 2593/05 que modifica el Artículo 23 de publicaciones de la Ley Nº 1630/00 de Patentes de Invención, se dispone que a partir de la fecha de la presente orden de publicación, esta solicitud de patente se hace pública y se ordena su publicación por el término de la Ley. (57) Resumen: (326/24). La presente invención se refiere a una composición herbicida que comprende (A) una cantidad eficaz como herbicida de un compuesto de Fórmula (I) en el que G se selecciona del grupo que consiste en hidrógeno, -C(O)CH3 y -C(O) OCH3; y (B) al menos un herbicida, o un éster o sal del mismo aceptable desde el punto de vista agroquímico, seleccionado del grupo que consiste en icafolin (B1) (o icafolin-metilo (B1a)) benquitriona (B2), broclozona (B3), butacloro (B4), clomazona (B5), ciclopiranilo (B6), flucloraminopir (B7) [o flucloraminopir-tefuril (B7a)], flufenoximacil (B8), piraquinato (B9), 2-[2-[2-bromo-4-fluoro-5-[3metil-2, 6-dioxo-4-( trifluorometil)pirimidin- 1-il] fenoxi] fenoxi]-2-metoxi-acetato de metilo (B 10), 6-cloro-4-(2,7dimetil-1-naftil)-5-hidroxi-2-metil-piridazin-3-ona (B 11), 3-[2cloro-5- [3, 6-dihidro-3-metil-2, 6-dioxo-4-( trifluorometil)-1 (2H)-pirimidinil]-4- fluorofenil]-3a, 4 ,5, 6-tetrahidro-6-metil-6aH-ciclopent[d]isoxazol-6a-carboxilato de metilo (B12), 2-[1-[[2-( 4-clorofenoxi)propoxi)imino]butil]-5-[2-( etiltio ) propil]-3-hidroxi-2- ciclohexen1-ona (B13), 2-[(2-bromo-6-fluoro-fenil)metoxi]-4-isopropil-1-metil-7-oxabiciclo[2.2.1] heptano (B14) y diflufenicán (B15). Farm. Berta Segovia, Directora Interina - Dirección de Patentes. 95888/05/11/2025

8 JUDICIAL .

PATENTE DE INVENCIÓN. (19) DIRECCION NACIONAL DE PROPIEDAD INTELECTUAL PARAGUAY PARAGUÁI TETÁYGUA AKÁPYROKY MBA'ETEE

MOAKÁHA (11) Nro. Publicación: PY2496753A (43) Asunción, 4 de Junio de 2025. Orden de Publicación de SOLICITUD de Patente de Invención (12) DATOS DE LA SOLICITUD (21) Nº de Solicitud: 2496753 (22) Fecha de Solicitud: 31/10/2024 12:34:06 (71) Solicitante: SYNGENTA

CROP PROTECTION AG

Domicilio Solicitante: Rosentalstrasse 67, 4058 Basel, Suiza, CH (72) Inventor: 1) DALE, SUZANNA JANE; 2) ELVES, PHILIP MICHAEL; y 3) SIKERVAR, VIKAS Domicilio Inventor: 1) a 3) Syngenta

Limited Syngenta, Jealott's Hill International Research Centre Bracknell Berkshire RG42 6EY, Gran Bretaña, GB (54) Título: COMPUESTOS

HERBICIDAS DE PIRAZOL (74) Agente: Juan Pablo Salomoni Guanes - 4795 (30) Prioridad/es: EP 23208005.106/11/2023 (51) Int. Cl 8: A 01N 43/54(2006.01), C 07D 401/14(2006.01), C 07D

403/14(2006.01), C 07D 409/14(2006.01)En cumplimiento al Artículo 1 de la Ley Nº 2593/05 que modifica el Artículo 23 de publicaciones de la Ley Nº 1630/00 de Patentes de Invención, se dispone que a partir de la fecha de la presente orden de publicación, esta solicitud de patente se hace pública y se ordena su publicación por el término de la Ley. (57) Resumen: (314/24). La presente invención se refiere a compuestos de Fórmula (I), o una sal agronómicamente aceptable de dichos compuestos, en donde A, Q, R1, R2, R4 y m son como se definen en el presente documento. La invención se refiere además a composiciones herbicidas que comprenden un compuesto de Fórmula (I) y al uso de los compuestos de Fórmula (I) para controlar malezas, en particular en cultivos de plantas útiles. Farm. Berta Segovia, Directora InterinaDirección de Patentes. 95888/05/11/2025

PATENTE DE INVENCIÓN. (19) DIRECCION NACIONAL DE PROPIEDAD INTELECTUAL PARAGUAY PARAGUÁI TETÁYGUA

AKÁPYROKY MBA'ETEE

MOAKÁHA (11) Nro. Publicación PY2495511A (43) Asunción, 7 de Mayo de 2025. Orden de Publicación de SOLICITUD de Patente de Invención (12) DATOS DE LA SOLICITUD (21) Nº de Solicitud: 2495511 (22) Fecha de Solicitud: 29/10/2024 10:13:42 (71) Solicitante: SYNGENTA CROP PROTECTION AG Domicilio Solicitante: Rosentalstrasse 67, 4058 Basel, Suiza, CH (72) Inventor: DAVIS, SARAH JANE Domicilio Inventor: Syngenta Limited Syngenta, Jealott's Hill International Research Centre Bracknell, Berkshire RG42 6EY, Gran Bretaña, GB (54) Título: MÉTODO DE CONTROL DE MALEZAS (74) Agente: Juan Pablo Salomoni Guanes - 4795 (30) Prioridad/ es: EP 23207619.0 - 03/11/2023 (51) Int. Cl 8: A 01N 35/06(2006.01), A 01N 37 /06(2006.01), A 01P 13/00(2006.01) En cumplimiento al Artículo 1 de la Ley Nº 2593/05 que modifica el Artículo 23 de publicaciones de la Ley Nº 1630/00 de Patentes de Invención, se dispone que a partir de la fecha de la presente orden de publicación, esta solicitud de patente se hace pública y se ordena su publicación por el término de la Ley. (57) Resumen: (310/24). La presente invención se refiere a un método para controlar el crecimiento de malezas monocotiledóneas que son resistentes a un herbicida inhibidor de la ACCasa distinto de un compuesto de Fórmula (I) en una ubicación, comprendiendo dicho método aplicar en la ubicación una composición herbicida que comprende un compuesto de Fórmula (I). Farm. Berta Segovia, Directora Interina - Dirección de Patentes. 95888/05/11/2025

PATENTE DE INVENCIÓN. (19) DIRECCION NACIONAL DE PROPIEDAD INTELECTUAL PARAGUAY PARAGUÁI TETÁYGUA AKÁPYROKY MBA'ETEE MOAKÁHA (11) Nro. Publicación: PY2492657A (43) Asunción, 3 de Junio de 2025.Orden de Publicación de SOLICITUD de Patente de Invención (12) DATOS DE LA SOLICITUD (21) Nº de Solicitud: 2492657 (22) Fecha de Solicitud: 21/10/2024 11:58:36 (71) Solicitante: SYNGENTA

CROP PROTECTION AG

Domicilio Solicitante: Rosentalstrasse 67, 4058 Basel , Suiza,CH (72) Inventor: 1)WATKINS, MELANIE JAYNE; y 2) ROBINSON, SAMUEL BLAKE Domicilio Inventor: 1)Syngenta Limited Syngenta, Jealott's Hill International Research Centre Bracknell, Berkshire RG42 6EY Gran Bretaña, GB; y 2)Syngenta Crop Protection AG Rosentalstrasse 67, 4058 Basel, Suiza, CH (54) Título: COMPOSICIONES HERBICIDAS (74) Agente: Juan Pablo Salomoni Guanes - 4795 (30) Prioridad/es: EP 23205308.223/10/2023 (51) Int. Cl 8: A 01N 35/10(2006.01), A 01N 37/40(2006.01), A 01P 13/02(2006.01) En cumplimiento al Artículo 1 de la Ley Nº 2593/05 que modifica el Artículo 23 de publicaciones de la Ley Nº 1630/00 de Patentes de Invención, se dispone que a partir de la fecha de la presente orden de publicación, esta solicitud de patente se hace pública y se ordena su publicación por el término de la Ley. (57) Resumen (301/24). La presente invención se refiere a una composición herbicida que comprende (A) un compuesto de Fórmula (I) o un derivado agroquímicamente aceptable, por ejemplo, una sal o un éster del mismo; y (B) al menos un herbicida seleccionado del grupo que consiste en: B1 un herbicida inhibidor de la acetil CoA carboxilasa (ACCasa); B2 un herbicida inhibidor de la acetolactato sintasa (ALS); B3 un herbicida imitador de la auxina; B4, un herbicida inhibidor del fotosistema II (PSII); B5 un herbicida inhibidor de la hidroxifenilpiruvato dioxigenasa (HPPD); B6 un herbicida inhibidor de los ácidos grasos de cadena muy larga (VLCFA); B7 un herbicida seleccionado del grupo que consiste en beflubutamida (B7a), bixlozona (B7b), cinmetilina (B7c), diflufenicán (B7d), icafolin –(B7e), pendimetalin (B7f) y tetflupirrolimet (B7g). La presente invención se refiere además a métodos para controlar malezas que comprenden las composiciones herbicidas de la invención. Farm. Berta Segovia, Directora Interina - Dirección de Patentes. 95888/05/11/2025

PATENTE DE INVENCIÓN .(19) DIRECCION NACIONAL DE PROPIEDAD INTELECTUAL PARAGUAY PARAGUÁI TETÁYGUA AKÁPYROKY MBA'ETEE MOAKÁHA (11) Nro. Publicación: PY2492654A (43) Asunción, 28 de Mayo de 2025.Orden de Publicación de SOLICITUD de Patente de Invención (12) DATOS DE LA SOLICITUD (21) Nº de Solicitud: 2492654 (22) Fecha de Solicitud: 21/10/2024 11:56:58 (71) Solicitante: SYNGENTA CROP PROTECTION AG Domicilio Solicitante: Rosentalstrasse 67, 4058 Basel, Suiza, CH (72) Inventor: 1) ELVES, PHILIP MICHAEL; 2) MORRIS, JAMES ALAN; y 3) SIKERVAR, VIKAS Domicilio Inventor: 1) a 3) Syngenta Limited Syngenta, Jealotts Hill International Research Centre Bracknell, Berkshire RG42 6EY, Gran Bretaña, GB (54) Título: COMPUESTOS HERBICIDAS (74) Agente: Juan Pablo Salomoni Guanes - 4795 (30) Prioridad/es: EP 23205313.2 - 23/10/2023 (51) Int. CI 8: A 01N 43/54(2006.01), C 07D 239/34(2006.01), C 07D 401/06(2006.01) En cumplimiento al Artículo 1 de la Ley Nº 2593/05 que modifica el Artículo 23 de publicaciones de la Ley Nº 1630/00 de Patentes de Invención, se dispone que a partir de la fecha de la presente orden de publicación, esta solicitud de patente se hace pública y se ordena su publicación por el término de la Ley. (57) Resumen (300/24). La presente invención se refiere a compuestos de Fórmula (I), en el que A1, A2, A3, R1 , R3, Q y X son como se definen en el presente documento. La invención se refiere además a composiciones herbicidas que comprenden un compuesto de Fórmula (I) y al uso de compuestos de Fórmula (I) para el control de malas hierbas, en particular en cultivos de plantas útiles. Farm. Berta Segovia, Directora Interina - Dirección de Patentes. 95888/05/11/2025

PATENTE DE INVENCIÓN. (19) DIRECCION NACIONAL DE PROPIEDAD INTELEC-

TUAL PARAGUAY PARAGUÁI TETÁYGUA AKÁPYROKY MBA'ETEE MOAKÁHA (11) Nro. Publicación: PY2479731A (43) Asunción, 22 de Mayo de 2025.Orden de Publicación de SOLICITUD de Patente de Invención (12) DATOS DE LA SOLICITUD (21) Nº de Solicitud: 2479731 (22) Fecha de Solicitud: 12/09/2024 11:01:12 (71) Solicitante: SYNGENTA CROP PROTECTION AG Domicilio Solicitante: Rosentalstrasse 67, 4058 Basel, Suiza, CH (72) Inventor: 1) BOU HAMDAN, FARHAN; 2) GODINEAU, EDOUARD; 3) SMEJKAL, TOMAS; 4)DUMEUNIER, RAPHAEL; 5)BOUSSEMGHOUNE, MOHAMED ABDELOUAHAB ; y 6) BLUM, MATHIAS Domicilio Inventor: 1) a 6) Syngenta Crop Protection AG Schaffhauserstrasse 4332 Stein Suiza, CH (54) Título: PROCESO PARA LA PREPARACIÓN DE AMINAS ALIFÁTICAS ENANTIOMÉRICAMENTE ENRIQUECIDAS (74) Agente: Juan Pablo Salomoni Guanes –4795 (30) Prioridad/es: EP 23197738.0 – 15/09/2023 (51) Int. Cl 8: A 01N 43/78(2006.01), C 07C 209/26(2006.01), C 07C 211/16(2006.01), A 01P 3/00(2006.01) En cumplimiento al Artículo 1 de la Ley Nº 2593/05 que modifica el Artículo 23 de publicaciones de la Ley Nº 1630/00 de Patentes de Invención, se dispone que a partir de la fecha de la presente orden de publicación, esta solicitud de patente se hace pública y se ordena su publicación por el término de la Ley. (57) Resumen (259/24). La presente invención se refiere a un proceso para la preparación de ciclobutilaminas enantioméricamente enriquecidas de fórmula (I) de ciclobutanonas α-terciarias y hacer reaccionar dichas ciclobutilaminas enantioméricamente enriquecidas con ciclobutilamidas enantioméricamente enriquecidas. Dichos compuestos son productos intermedios útiles en la síntesis de compuestos microbicidas de tiazol. Farm. Berta Segovia, Directora Interina –Dirección de Patentes. 95888/05/11/2025

PATENTE DE INVENCIÓN. (19) DIRECCION NACIONAL DE PROPIEDAD INTELEC-

TUAL PARAGUAY PARAGUÁI TETÁYGUA AKÁPYROKY MBA'ETEE MOAKÁHA (11) Nro. Publicación: PY2474653A (43) Asunción, 21 de Mayo de 2025.Orden de Publicación de SOLICITUD de Patente de Invención (12) DATOS DE LA SOLICITUD (21) Nº de Solicitud: 2474653 (22) Fecha de Solicitud: 29/08/2024 10:26:07 (71) Solicitante: SYNGENTA CROP PROTECTION AG Domicilio Solicitante: Rosentalstrasse 67, 4058 Basel, Suiza, CH (72) Inventor: 1)LE CHAPELAIN, CAMILLE; 2)JEANGUENAT, ANDRÉ;3)KILARU, JAGADEESH PRATHAP; 4)MUEHLEBACH, MICHEL; 5)SCARBOROUGH, CHRISTOPHER CHARLES; 6)STOLLER, ANDRE; 7) EL QACEMI, MYRIEM, y 8) DUMEUNIER, RAPHAEL Domicilio Inventor: 1) a 2) ; y de 4) a 8) Syngenta Crop Protection AG Schaffhauserstrasse, 4332 Stein, Suiza, CH; 3)Syngenta Biosciences Pvt Ltd Santa Monica Works, Corlim, Ilhas, 403 110 Goa, India, IN. (54) Título: COMPUESTOS DE BENZOISOTIAZOL CON ACTIVIDAD PESTICIDA (74) Agente: Juan Pablo Salomoni Guanes - 4795 (30) Prioridad/ es: EP 24176938.9 - 21/05/2023 y IN 20231105845131/08/2023 (51) Int. CI 8: A 01N 43/80(2006.01), C 07D 417/14(2006.01) En cumplimiento al Artículo 1 de la Ley Nº 2593/05 que modifica el Artículo 23 de publicaciones de la Ley Nº 1630/00 de Patentes de Invención, se dispone que a partir de la fecha de la presente orden de publicación, esta solicitud de patente se hace pública y se ordena su publicación por el término de la Ley. (57) Resumen. (247/24). Compuestos de fórmula (I) en el que los sustituyentes son como se definen en la reivindicación 1, y las sales, estereoisómeros, enantiómeros, tautómeros y N-óxidos agroquímicamente aceptables de dichos compuestos, pueden utilizarse como insecticidas. Berta Segovia, Directora Interina - Dirección de Patentes. 95888/05/11/2025

PATENTE DE INVENCIÓN. (19) DIRECCION NACIONAL DE PROPIEDAD INTELECTUAL PARAGUAY PARAGUÁI TETÁYGUA AKÁPYROKY MBA'ETEE MOAKÁHA (11) Nro. Publicación: PY2470611A (43) Asunción, 24 de Abril de 2025.Orden de Publicación de SOLICITUD de Patente de Invención (12) DATOS DE LA SOLICITUD (21) Nº de Solicitud: 2470611 (22) Fecha de

Solicitud: 16/08/2024 11:14:22 (71) Solicitante: SYNGENTA

CROP PROTECTION AG

Domicilio Solicitante: Rosentalstrasse 67, 4058 Basel, Suiza, CH (72) Inventor: 1) Bowser, Terry Alan; 2) Giri, Nicola; 3)Warne, Bamaby; y 4)Wesley, Robin Domicilio Inventor: 1) y 2) Syngenta Crop Protection, LLC 410 Swing Road Greensboro NC 27409 Estados Unidos de América, US; 3) y 4) Syngenta Limited Syngenta, Jealott's Hill International Research Centre Bracknell, Berkshire RG42 6EY Gran Bretaña, GB (54) Título: COMPOSICIÓN

HERBICIDA (74) Agente: Juan Pablo Salomoni Guanes4795 (30) Prioridad/es: GB 2314049.4 - 14/09/2023 (51) Int. Cl 8: A 01N 47/20(2006.01), A 01P 13/00(2006.01) En cumplimiento al Artículo 1 de la Ley Nº 2593/05 que modifica el Artículo 23 de publicaciones de la Ley Nº 1630/00 de Patentes de Invención, se dispone que a partir de la fecha de la presente orden de publicación, esta solicitud de patente se hace pública y se ordena su publicación por el término de la Ley. (57) Resumen. (236/24). La presente invención se refiere a una composición herbicida de concentrado emulsionable que comprende: (a) carbonato de 3-[2-metoxi-4-(1-propin-1-il)fenil]-4-oxobiciclo[3.2.l]oct-2-en-2-ilo y metilo; (b) una mezcla de disolventes que comprende carbonato de propileno y uno o más disolventes orgánicos distintos; y (c) uno o más emulsionantes. La presente invención se refiere además a métodos para controlar malezas utilizando el concentrado herbicida emulsionable. Farm. Berta Segovia, Directora Interina- Dirección de Patentes. 95888/05/11/2025

PATENTE DE INVENCIÓN. (19) DIRECCION NACIONAL DE PROPIEDAD INTELECTUAL PARAGUAY PARAGUÁI TETÁYGUA AKÁPYROKY MBA'ETEE MOAKÁHA (11) Nro. Publicación:PY2448879A (43) Asunción, 26 de Junio de 2025.Orden de Publicación de SOLICITUD de Patente de Invención (12) DATOS DE LA SOLICITUD (21) Nº de Solicitud: 2448879 (22) Fecha de Solicitud: 13/06/2024 10:32:11 (71) Solicitante: SYNGENTA CROP PROTECTION AG Domicilio Solicitante: Rosentalstrasse 67, 4058 Basel, Suiza, CH (72) Inventor: 1) EDMUNDS, ANDREW; 2) SCARBOROUGH, CHRISTOPHER CHARLES; 3)WOLF, HANNO CHRISTIAN y 4) GRASSO, VALERIA Domicilio

Inventor: 1) a 4) Syngenta Crop Protection AG Schaffhauserstrasse 4332 Stein Suiza, CH (54) Título: COMPOSICIONES FUNGICIDAS (74) Agente: Juan Pablo Salomoni Guanes - 4795 (30) Prioridad/es: EP 23179120.3 -14/06/2023 (51) Int. Cl 8: A 01N 43/04(2006.01), A 01N 43/24(2006.01), A 01P 3/00(2006.01) En cumplimiento al Artículo 1 de la Ley Nº 2593/05 que modifica el Artículo 23 de publicaciones de la Ley Nº 1630/00 de Patentes de Invención, se dispone que a partir de la fecha de la presente orden de publicación, esta solicitud de patente se hace pública y se ordena su publicación por el término de la Ley. (57) Resumen. (162/24). Una composición fungicida que comprende una mezcla de componentes (A) y (B), caracterizada porque los componentes (A) y (B) se definen en la reivindicación 1, y el uso de las composiciones en agricultura o horticultura para controlar o prevenir la infestación de plantas por microorganismos fitopatógenos, preferiblemente hongos. Farm. Berta Segovia, Directora Interina - Dirección de Patentes.95888/05/11/2025

PATENTE DE INVENCIÓN. (19) DIRECCION NACIONAL DE PROPIEDAD INTELECTUAL PARAGUAY PARAGUÁI TETÁYGUA AKÁPYROKY MBA'ETEE MOAKÁHA (11) Nro.Publicación: PY2503719A (43) Asunción, 5 de Agosto de 2025.Orden de Publicación de SOLICITUD de Patente de Invención (12) DATOS DE LA SOLICITUD (21) Nº de Solicitud: 2503719 (22) Fecha de Solicitud: 21/01/2025 12:11:16 (71) Solicitante: SYNGENTA CROP PROTECTION AG Domicilio Solicitante: Rosentalstrasse 67, 4058 Basel, Suiza, CH (72) Inventor: GRIBKOV, DENIS Domicilio Inventor: Breitenloh 5 4333 Münchwilen, Suiza, CH (54) Título: PROCESO QUÍMICO (74) Agente: Juan Pablo Salomoni Guanes - 4795 (30) Prioridad/es: EP 24154219.026/01/2024 (51) Int. Cl 8: C 07C 231/12(2006.01), C 07C 233/15(2006.01), C 07C 233/66(2006.01) En cumpli-

miento al Artículo 1 de la Ley Nº 2593/05 que modifica el Artículo 23 de publicaciones de la Ley Nº 1630/00 de Patentes de Invención, se dispone que a partir de la fecha de la presente orden de publicación, esta solicitud de patente se hace pública y se ordena su publicación por el término de la Ley. (57) Resumen. (18/25) La presente invención proporciona, entre otras cosas, un proceso para preparar un compuesto de fórmula (I) en donde los sustituyentes son como se definen en la reivindicación 1. R1 se selecciona del grupo que consiste en alquilo C1-C6, alcoxi C1-C6, fenilo, bencilo, fenoxi, benzoxi y 3-(difluorometil)-1-metil-pirazol-4-ilo, en donde dicho fenilo, bencilo, fenoxi o benzoxi están opcionalmente sustituidos con 1, 2 o 3 sustituyentes R2, que pueden ser iguales o diferentes; cada R2 se selecciona independientemente del grupo que consiste en halógeno, ciano, hidroxi, alquilo C1-C6, alcoxi C1-C6 y haloalquilo C1-C6;A es el grupo A-I o A-II. Farm. Berta Segovia, Directora Interina - Dirección de Patentes. 95888/05/11/2025

PATENTE DE INVENCIÓN. (19) DIRECCION NACIONAL DE PROPIEDAD INTELECTUAL PARAGUAY PARAGUÁI TETÁYGUA AKÁPYROKY MBA'ETEE MOAKÁHA (11) Nro.Publicación: PY24113579A (43) Asunción, 30 de Julio de 2025.Orden de Publicación de SOLICITUD de Patente de Invención (12) DATOS DE LA SOLICITUD (21) Nº de Solicitud: 24113579 (22) Fecha de Solicitud: 19/12/2024 13:42:50 (71) Solicitante: SYNGENTA CROP PROTECTION AG Domicilio Solicitante: Rosentalstrasse 67, 4058 Basel, Suiza, CH (72) Inventor: 1) JEANGUENAT, ANDRÉ; 2) MUEHLEBACH, MICHEL; 3) KILARU, JAGADEESH PRATHAP; 4) WEISS, MATTHIAS; 5) SCARBOROUGH, CHRISTOPHER CHARLES; 6) STOLLER, ANDRE; y 7) FERNANDES, RUSHIL Domicilio Inventor: 1), 2), 4), 5) y 6) Schaffhauserstrasse, 4332 Stein, Suiza, CH; 3) y 7) Santa Monica Plant, Corlim, Ilhas, Goa 403 110, India, IN (54) Título: COMPUESTOS DE

QUINAZOLINA CON ACTIVIDAD PLAGUICIDA (74) Agente: Juan Pablo Salomoni Guanes - 4795 (30) Prioridad/ es: EP 24178590.6 - 05/12/2023 y IN 20231108760228/05/2023 (51) Int. Cl 8: A 01N 43/653(2006.01), A 01N 43/78(2006.01), A 01P 7/04(2006.01), C 07D 403/14(2006.01) En cumplimiento al Artículo 1 de la Ley Nº 2593/05 que modifica el Artículo 23 de publicaciones de la Ley Nº 1630/00 de Patentes de Invención, se dispone que a partir de la fecha de la presente orden de publicación, esta solicitud de patente se hace pública y se ordena su publicación por el término de la Ley. (57) Resumen. (361/24) Compuesto de fórmula (1) en el que los sustituyentes son como se definen en la reivindicación 1, y las sales, estereoisómeros, enantiómeros, tautómeros y N-óxidos agroquímicamente aceptables de dichos compuestos, pueden utilizarse como insecticidas. Farm. Berta Segovia, Directora Interina - Dirección de Patentes.95888/05/11/2025

CONCESIÓN DE PATENTE DE INVENCIÓN. (19) DIRECCION NACIONAL DE PROPIEDAD INTELECTUAL PARAGUAY PARAGUÁI TETÁYGUA AKÁPYROKY MBA'ETEE MOAKÁHA (11) Nro. PY1663788 (43) Asunción, 20 de Octubre de 2025.- Orden de Publicación de CONCESIÓN de Patente de Invención (12) DATOS DE LA PATENTE (21) Nº de Solicitud: 1663788 (22) Fecha de Solicitud: 29/09/2016 (71) Solicitante: SYNGENTA CROP PROTECTION AG Domicilio Solicitante: Rosentalstrasse 67, 4058 Basel, Suiza, CH (72) Inventor: 1) HOFFMAN, THOMAS JAMES; 2)BEAUDEGNIES, RENAUD; 3)POULIOT, MARTIN; y 4) STIERLI, DANIEL Domicilio Inventor: 1) a 4) Schaffhauserstrasse, 4332 Stein, Suiza, CH (54) Título: DERIVADOS DE OXADIAZOL DE TIPO 4-[5- (TRIFLUOROMETIL)-1,2,4- OXADIAZOL-3-IL] FENIL CON ACCIÓN MICROBICIDA (74)

Agente: Rafael Augusto Salomoni Flores - 462 (30) Prioridad/es: EP 15188234.702/10/2015; EP 15201433.8-18/12/2015; y EP 15202189.5 - 22/12/2015 (51) Int. CI 8: A 01N

LUNES 3 DE

43/82(2006.01), C 07D

271/06(2006.01), C 07D

413/04(2006.01) Registro Nº: 4592 En Fecha: 13/10/2025

Vencimiento: 29/09/2036 En cumplimiento al Artículo 1 de la Ley Nº 2593/05 que modifica el Artículo Nº 23 de la Ley Patentes de Invenciones N° 1630/2000, el Decreto Reglamentario, y conforme al dictamen favorable de la Asesoría Técnica, publíquese por el término de la Ley, la concesión de la presente patente de INVENCIÓN y su resumen (57)

Resumen: (230/16) La presente invención se refiere a compuestos derivados de oxadiazol de tipo 4-[5- (trifluorometil)-1, 2, 4-oxadiazol-3-il] fenil de fórmula (I) donde los sustituyentes son tal como se definen en la reivindicación 1, útiles como pesticidas, especialmente como fungicidas. Farm. Berta Segovia, Directora Interina - Dirección de Patentes.95888/05/11/2025

herederos y acreedores de la sucesión de CANTALICIO LOPEZ VILLALBA S/ SUCESIÓN INTESTADA. El juicio radica en la secretaría N°1 a mi cargo Abg. Elcira Haydé González Ojeda, Actuaria Judicial. MARIA AUXILIADORA, 23 de Octubre de 2025. Se hace saber al destinatario de este edicto que el mismo cuenta con el Código QR, por lo cual, para tener certeza de que este documento es válido, deberá utilizar el lector del Código QR, siendo ya en consecuencia, innecesaria la autenticación manual de la Actuaria del Juzgado conforme Acordada 1366/2019. 95706 -3/11/2025.

SUCESIÓN. LA JUEZA DE PRIMERA INSTANCIA EN LO CIVIL, COMERCIAL Y LABORAL DEL PRIMER TURNO E INTERINA DEL SEGUNDO TURNO DE LA CIRCUNSCRIPCION JUDICIAL DE SAN PEDRO, Abg. NORMA MABEL FLEITAS, cita y emplaza por sesenta días a herederos y acreedores de la sucesión de CRISPIN ARGUELLO RIVAS y CRISTINA MENA DE ARGUELLO. El juicio radica en la Secretaría N° 03 a cargo de la Abg. MERCEDES RAMIREZ, Actuaria Judicial. SAN PEDRO DE YCUAMANDYYU, 9 de Octubre de 2025. 95702 -3/11/2025.

SUCESIÓN. La Jueza de Paz, en lo Civil, Comercial, Laboral y de la Niñez y Adolescencia del Primer Turno, de la Ciudad de Carapegua.  Abog. MARÍA MARCELA DIAZ MEDINA, cita y emplaza por sesenta días a herederos y Acreedores de la sucesión intestada de: ROBERTA OJEDA DE ROJAS. CARAPEGUA, 23 de Octubre de 2025.  95701 -3/11/2025.

SUCESIÓN. LA JUEZA DE PRIMERA INSTANCIA EN LO CIVIL, COMERCIAL Y LABORAL DE LA TERCERA CIRCUNSCRIPCION JUDICIAL DE LA REPUBLICA, CON SEDE EN MARIA AUXILIADORA Abg. R. EVELIN CABRERA PAREDES, cita y emplaza por sesenta días a

SUCESIÓN. El Juez de Primera Instancia en lo Civil, Comercial y Laboral del Tercer Turno de la ciudad de Caaguazú, Abg. FRANCISCO LUIS ASTIGARRAGA FELTES, cita y emplaza por sesenta días a herederos y acreedores de la sucesión de VENANCIO ESPINOLA ENCINA . El juicio radica en la secretaría N° 5 a mi cargo. CAAGUAZU, 23 de Octubre de 2025. Abg. Fidencia Martinez Riveros, Actuaria Judicial. Se hace saber al destinatario de este edicto que el mismo cuenta con el Código QR, por lo cual, para tener certeza de que este documento es válido, deberá utilizar el lector del Código QR, siendo ya en consecuencia, innecesaria la autenticación manual de la Actuaria del Juzgado conforme Acordada 1366/2019. 95697 -3/11/2025.

SUCESIÓN. La Juez del Juzgado de Paz de la Ciudad de San Antonio, Abg. Eugenia Elizabeth Campuzano Casco cita y emplaza por sesenta días a herederos y acreedores de la sucesión de ANA DIAZ VALDEZ s/ Sucesión. Expte. N° 460. Folio 24. Año 2025. San Antonio, 13 de octubre de 2025. Alejandra Ayala Melgarejo, Actuaria Judicial. 95676 -3/11/2025.

SUCESIÓN. El Juez de Paz en lo Civil y Comercial de la ciudad de San Jose de los Arroyos, Abg. JUSTO HERNAN VALDEZ, cita y emplaza por sesenta días a herederos y acreedores de la sucesión de ANASTACIO SILVERIO CARDOZO, NEMESIA TORRES DE CARDOZO. SAN JOSE DE LOS ARROYOS., 21 de Octubre de 2025. Se hace saber al destinatario de este edicto que el mismo cuenta con el Código QR, por lo cual, para tener certeza de que este documento es válido, deberá

utilizar el lector del Código QR, siendo ya en consecuencia, innecesaria la autenticación manual de la Actuaria del Juzgado conforme Acordada 1366/2019.-Firmado digitalmente por LIZ ARMINDA RODRIGUEZ IRALA (ACTUARIO/A).  95643 -3/11/2025.

SUCESIÓN. LA JUEZ DE PAZ DE CAPIBARY DE LA CIRCUNSCRIPCIÓN JUDICIAL DE SAN PEDRO ABO -

GADA MARIA DEL ROSARIO PEZOA MARTINEZ, Cita y Emplaza, por el término de sesenta (60) días, a los herederos y acreedores de la Sucesión de VICENTE FERNANDEZ CACERES YIO

VICENTE FERNANDEZ, con C.I.N° 1.939.783 y MELITONA VAZQUEZ DE FERNANDEZ, con C.I.N° 1.939.723. El Juicio radica en la Secretaria Única, a cargo del Actuario ABOGADO JORGE SANTIAGO

GARAY FLORENTÍN Capiibary, 17 de octubre de 2025. 95653- 3/11/2025

SUCESIÓN. LA JUEZ DE PAZ DE CAPIBARY DE LA CIRCUNSCRIPCIÓN JUDICIAL DE SAN PEDRO ABO -

GADA MARIA DEL ROSARIO PEZOA MARTINEZ, Cita y Emplaza, por el término de sesenta (60) días, a los herederos y acreedores de la Sucesión de RAMONA LOPEZ DE VELAZQUEZ, con C.I.N° 2.919.560 y el señor LAZARO VELAZQUEZ OVELAR, con C.I.N° 4.529.200. El Juicio radica en la Secretaria Única, a cargo del Actuario ABOGADO JORGE SANTIAGO

GARAY FLORENTÍN Capiibary, 16 de octubre de 2025. 95653- 3/11/2025

SUCESIÓN.  LA JUEZ DE PAZ DE CAPIBARY DE LA CIRCUNSCRIPCIÓN JUDICIAL DE SAN PEDRO ABO -

GADA MARIA DEL ROSARIO PEZOA MARTINEZ, Cita y Emplaza, por el término de sesenta (60) días, a los herederos y acreedores de la Sucesión de EMILIANA

CASTEL VERA Y/O EMI -

LIANA CASEL VDA. DE ROMERO Y/O EMILIANA

CARTES DE ROMERO Y/O EMILIANA CASTELL DE ROMERO. El Juicio radica en la Secretaría Única, a cargo del Actuario ABOGADO JORGE SANTIAGO

GARAY FLORENTIN Ante mi: Abog. Jorge Garay Actuario de Paz Capiibary, 17 de octubre de 2025. 95653- 3/11/2025

SUCESIÓN. La Juez de Primera Instancia en lo Civil y Comercial del Quinto Turno,

Abg. Gabriela Noemí Ramírez Morínigo, cita y emplaza por sesenta días a herederos y acreedores de la sucesión de FELIPA CASCO DE AVALOS Y MARIANO AVALOS, a cargo de la Abg. Sara Ojeda (Actuaria Judicial, Secretaría N° 10). Ciudad del Este, 16 de octubre de 2025. Se hace saber al destinatario de este edicto que el mismo cuenta con el Código QR, por lo cual, para tener certeza de que este documento es válido, deberá utilizar el lector del Código QR, siendo ya en consecuencia, innecesaria la autenticación manual de la Actuaria del Juzgado conforme Acordada 1366/201. 95722- 25/10 al 03/11

SUCESIÓN. La Jueza del Juzgado de Paz de la Ciudad de Villa Elisa, Abg. Martha Benítez Alderete, cita y emplaza por sesenta días a herederos y acreedores de la sucesión de MARIA ASUNCIÓN BENITEZ DE GAUTO. Villa Elisa, 24 de octubre de 2025. Abg. Liz Karol Cáceres Candia, Actuaria Judicial. 95715- 25/10 al 03/11

SUCESIÓN. La Jueza de Paz en lo Civil y Comercial del Segundo Turno de la Circunscripción Judicial de Caaguazú con asiento en la ciudad de Coronel Oviedo, Dra. LAURA VERÓNICA CENTURIÓN AYALA, en los autos caratulados: EDUARDO VELAZQUEZ VILLAGRA S/ SUCESION INTESTADA. AÑO 2025. N° 202. FOLIO 135. cita y emplaza en la presente sucesión de EDUARDO VELAZQUEZ VILLAGRA con C.I. N.º 1.593.915, a fin de que aquellos que tengan interés legítimo de reclamar en la presente sucesión en el plazo de sesenta (60) días contados desde la primera publicación puedan hacerlo. CORONEL OVIEDO., 24 de Octubre de 2025 Abg. ANTONIO RUIZ DIAZ, Actuario Judicial Interino. Se hace saber al destinatario de este edicto que el mismo cuenta con el Código QR, por lo cual, para tener certeza de que este documento es válido, deberá utilizar el lector del Código QR, siendo ya en consecuencia, innecesaria la autenticación manual de la Actuaria del Juzgado conforme Acordada 1366/2019. 95713- 25/10 al 03/11

SUCESIÓN. LA JUEZ DE PAZ DE YATYTAY, CIRCUNSCRIPCIÓN JUDICIAL DE ITA-

PUA, ABOGADA VILMA BEATRIZ SALCEDO CARDOZO, cita y emplaza  por sesenta días a  herederos y acreedores de la Sucesión de MILCIADES  ANDRES CASCO. YATYTAY, 02 de octubre de 2025.NORA MELIZA DELVALLE (ACTUARIA). 95711- 25/10 al 03/11

SUCESIÓN. EL JUEZ DE PRIMERA INSTANCIA EN LO CIVIL, COMERCIAL Y LABORAL DEL PRIMER TURNO DE SAN ESTANISLAO, Abg. LILIO FRANCO BOBADILLA RODRIGUEZ, en el expediente caratulado "EDUARDO LARREA GALEANO S/ SUCESIÓN INTESTADA", Nº 65, Año: 2021, Secretaria N° 2, cita y emplaza por sesenta días contados desde la primera publicación del presente edicto, a los que tengan interés en reclamar derechos en la sucesión de Don EDUARDO LARREA GALEANO, con Cédula de Identidad N° 1.882.085; de conformidad a lo dispuesto por el Art. 741, primera parte del Código Procesal Civil. El juicio radica en la Secretaría N° 2 a mi cargo. Abg. RUTH OCAMPOS, Actuaria Judicial. SAN ESTANISLAO, 23 de Octubre de 2025. 9572825/10 al 03/11

SUCESIÓN. El Juez de Paz de la Colonia Tupa Renda Circunscripción judicial de Caazapa Abg Porfirio Guzmán Bernal Ramirez Cita y Emplaza por el término de 60 Sesenta días contado a partir de la primera Publicación a todos los que tengan interés en la sucesión de Victor Romero Giménez y María Pabla Ortigoza de Romero. Secretaría a cargo de la Abg Débora Pedro Maurich. Tupã Rendá 09 de Octubre 2025. 95749/06/11/2025

SUCESIÓN. La Jueza de Primera Instancia en lo Civil y Comercial del Segundo Turno, Abg. LAURA BEATRIZ ROJAS CAÑETE, cita y emplaza por sesenta días a herederos y acreedores de la sucesión de ALBERTO JOSE ARCE. CORONEL OVIEDO, 24 de Octubre de 2025. Ante mi: JUAN A. ONIEVA. Actuario JudicialSecretaría 3.Se hace saber al destinatario de este edicto que el mismo cuenta con el Código QR, por lo cual, para tener certeza de que este documento es válido, deberá utilizar el lector del Código QR, siendo ya en consecuencia, innecesaria la autenticación manual del Actuario del Juzgado conforme Acordada 1366/2019.-95755/06/11/2025

SUCESION. El Juez de Paz en lo Civil y Comercial de la Ciudad de Ñemby, Dr. Miguel Angel Pereira, cita y emplaza por sesenta días a herederos y acreedores de la sucesión de EDUARDO NUÑEZ Ñemby, 27 de octubre de 2025. Cecilia Celeste Martínez López – Actuaria Judicial. 95773/06/11/2025

SUCESIÓN. El Juez de Paz de Gral E. Aquino Abog Ramon Ríos Cristaldo, cita y emplaza a herederos y acreedores de la sucesión de los señores Trifon Prieto Valdez y Ramona Portillo de Prieto por el término de (60) sesenta días para ejercer sus legítimos derechos si las tuviere. FDO. Abog Arnold Rodas Ricardo (Actuario). El expediente radica en la Secretaría de este juzgado a mi cargo. Gral E. Aquino, 03 de Octubre de 2025. 95779/06/11/2025

SUCESIÓN. El juez de Paz de Tavai , de la 11° Circunscripcion Judicial de Caazapá, Abog Ruben Dario Benítez Martin Cita y Emplaza por 60 Sesenta días a herederos y acreedores de la sucesión de Heriberta Franco de Samudio y Panfilo Samudio Gómez. (Alberto Flores Vega, Secretario) Tavai 24 de Octubre 2025 /95780/06/11/2025

SUCESION. La Juez de Paz de Ñacunday e Interina del Juzgado de Paz de la Ciudad de Presidente Franco, de la Sexta Circunscripción Judicial del Alto Paraná, Abog. Diana BelénJ Gabriaguez, cita y emplaza por sesenta veces a los herederos y acreedores de la sucesión del causante ELVIO SEGOVIA SILVERO s/ Sucesión Intestada. El juicio radica en la secretaría a mi cargo. Presidente Franco, 21 de octubre de 2.025. secretario/a. Abog. Laura Lorena Lopez (Actuaria Judicial) 95831- 29/10 al 07/11

SUCESION. LA JUEZA DE PRIMERA INSTANCIA EN LO CIVIL, COMERCIAL, LABORAL DEL PRIMER TURNO DE LA CIRCUNSCRIPCIÓN JUDICIAL DE SAN PEDRO, ABOG. NORMA MABEL FLEITAS AQUINO, cita y emplaza por sesenta días a herederos y acreedores de la Sucesión de FATIMA INES ORTIZ VDA DE SANCHEZ. El juicio radica en la Secretaría Nº 2 a cargo del Actuario Interino Abg. FRANCISCO LUIS RECALDE DENIS. SAN PEDRO DE YCUAMANDYYU, 28 de Octubre de 2025.- Se hace

saber al destinatario de este edicto que el mismo cuenta con el Código QR, por lo cual, para tener certeza de que este documento es válido, deberá utilizar el lector del Código QR, siendo ya en consecuencia, innecesaria la autenticación manual del Actuario del Juzgado conforme Acordada 1366/2019.7/11/202595816/07/11//2025

SUCESIÓN. La Juez de Primera Instancia en lo Civil y Comercial del Primer Turno, Abg. Gabriela Maricel Meaurio Samudio, cita y emplaza por sesenta días a herederos y acreedores de la sucesión del señor ANGEL TRANQUILINO GIMENEZ , CIUDAD DEL ESTE, 6 de Agosto de 2021. Abg. Emilce Y. Rodríguez Ovelar (Actuaria Judicial – Secretaría N° 02). Se hace saber al destinatario de este edicto que el mismo cuenta con el Código QR, por lo cual, para tener certeza de que este documento es válido, deberá utilizar el lector del Código QR, siendo ya en consecuencia, innecesaria la autenticación manual de la Actuaria del Juzgado conforme Acordada 1366/201.-95809/07/11//2025

SUCESIÓN . El Juez de Primera Instancia en lo Civil y Comercial del Vigésimo Segundo Turno e Interino del Décimo Octavo Turno de la Capital, Martín Diego Acosta Conde, cita y emplaza por sesenta (60) días a herederos y acreedores de la sucesión de los señores EUSTACIO ROJAS DEL PUERTO y CARMEN ESTELA ALLEGRETTI DE ROJAS.- El juicio de referencia radica en la Secretaría N° 36 a mi cargo.- Abog. Julio D. Cabral Almada (Actuario Judicial). Asunción, 24 de octubre de 2025.OBSERVACIÓN: Se hace saber al destinatario del presente edicto, que el mismo cuenta con el Código QR, por lo cual, para tener certeza de su validez, deberá utilizar el lector del Código QR, siendo ya en consecuencia, innecesaria la autenticación manual del Actuario del Juzgado conforme a la Acordada Nº 1335/2019 de la Corte Suprema de Justicia. 95784/07/11/2025

SUCESION. El Juez de Paz en lo Civil y Comercial de Ñemby, Dr. Miguel Ángel Pereira, cita y emplaza por sesenta días a herederos y acreedores de la sucesión de DELFINA VILLALBA DE GONZALEZ. Ñemby, 26 de septiembre de 2025. Abg. Cecilia C. Martínez L. -

Actuaria Judicial. 95835/07/11/2025

SUCESIÓN. EL JUEZ DE PRIMERA INSTANCIA EN LO CIVIL Y COMERCIAL DEL TERCER DE LA CIRCUNSCRIPCION JUDICIAL DEL GUAIRA, ABG. HECTOR OSVALDO MARECOS, ordena la publicación de los edictos de citación y emplazamiento por diez días en un diario de gran circulación, en el Juicio caratulado: “SILVIO ANDINO S/ SUCESIÓN INTESTADA”, a fin de que los interesados dentro del plazo de sesenta días, contados desde la primera publicación, se presenten a reclamar sus derechos, conforme prescribe el Art. 741 del C.P.C. El juicio radica en la secretaria Nro. 6 a mi cargo. Firmado digitalmente por: Nidia Beatriz Duarte Villalba(Actuaria). VILLARRICA, 22 de Octubre de 2025. 95850/08/11/2025

SUCESIÓN. LA JUEZA DE PAZ DE LA CIUDAD DE LOMA GRANDE E INTERINA DEL JUZGADO DE PAZ DE NUEVA COLOMBIA, ABG. MIRNA BENITEZ LEGUIZAMON y la Actuaria Autorizante ABG. KARIN MARLENE LEITE ZARACHO, ordena la publicación del presente edicto por el plazo de 10 (diez) días, citando y emplazando a los que tengan o pudieran tener interés en reclamar derechos contra la sucesión de REINALDO BORJA ROJAS con C.I. N° 1.305.221 y a deducir sus acciones dentro del término de 60 (sesenta) dias contados desde la publicación del presente edicto, de conformidad a lo establecido en el Art. 741 del C.P.C. y demás concordantes. Nueva Colombia, 25 de agosto de 2025. 95861/08/11/2025

SUCESIÓN. El Juez de Paz en lo Civil y Comercial de la Ciudad de Ñemby, Dr. Miguel Angel Pereira, cita y emplaza por sesenta días a herederos y acreedores de la sucesión de FRANCISCO DEL CARMEN VILLALBA MORAN Y EUGENIA CASTRO VDA. DE VILLALBA. Ñemby, 23 de octubre de 2025. Cecilia C. Martínez L. – Actuaria Judicial. 95843/08/11/2025

SUCESIÓN. La juez de Paz Interina en lo Civil, Comercial, Laboral, Niñez y Adolescencia del distrito de Katueté, Abg. BÁRBARA ANALÍA PERALTA J.; CITA Y EMPLAZA, por todo el término de SESENTA DIAS (60) DIAS, a los herederos y acreedores de la sucesión en

los autos caratulados: "DOMINGO IREMON

RAMÍREZ MORÍNIGO S/ SUCESION INTESTADA. "Expet № 42- AÑO: 2025, con documentos que acrediten para el efecto debiendo presentarse a reclamar su reconocimiento para obtener su derecho dentro del término de la Ley en la secretaria a cargo del Abg. VICTOR FERNÁNDEZ. 95865/08/11/2025

SUCESIÓN. La Juez de Primera Instancia en lo Civil y Comercial del Quinto Turno, Abg. Gabriela Ramírez, cita y emplaza por sesenta días a herederos y acreedores de la sucesión de ELCIDA RUTH ROA GALARZA. Ciudad del Este, 21 de octubre de 2025. Abg. Sara Ojeda (Actuaria Judicial, Secretaría N° 10). Se hace saber al destinatario de este edicto que el mismo cuenta con el Código QR, por lo cual, para tener certeza de que este documento es válido, deberá utilizar el lector del Código QR, siendo ya en consecuencia, innecesaria la autenticación manual de la Actuaria del Juzgado conforme Acordada 1366/201. 95866- 30/10 al 08/11

SUCESION. La Juez de Paz de Minga Guazú de la VI Circunscripción del Alto Paraná, Abg. Maribel Concepción Rojas Martínez, cita y emplaza por sesenta (60) días a herederos y acreedores de la sucesión de BRÍGIDA FRANCO DE ROA, CRISTOBAL ROA

El juicio radica en la Secretaría del Juzgado de Paz a cargo de la Actuaria Judicial Abg. Liz Maida Guato González. Minga Guazú, 23 de Octubre de 2025. Se hace saber al destinatario de este edicto que el mismo cuenta con el Código QR, por lo cual, para tener certeza de que este documento es válido, deberá utilizar el lector del Código QR, siendo ya en consecuencia, innecesaria la autenticación manual de la Actuaria del Juzgado conforme Acordada 1366/201. 95872- 30/10 al 08/11

SUCESIÓN. El Juez del TERCER Turno del Juzgado Civil y Comercial, de Coronel Oviedo, comunica a la ciudadanía en general y emplaza por 60 días a los herederos y acreedores de la Sucesión de los Sres. DOROTEA

PERALTA VDA. DE BOGARIN e ISAAC BOGARIN, para que se presenten a ejercer sus derechos. El Juicio radica ante la Secretaria Nº 05 a mi cargo, Abg. Ever Eduardo Martínez GaleanoActuario Judicial. CORONEL OVIEDO, 24 de Octubre de 2025/95873/30/10 al 08/11

SUCESION. La Juez de Paz del Juzgado del Segundo Turno de la Ciudad de Hernandarias, Abg. Perla Rosana Garcete, cita y emplaza por el término de 60 días, a Herederos y Acreedores de la Sucesión de JOSÉ AMADO BRITEZ

VALLEJOS para que se presenten ante la secretaría del Juzgado a cargo del Abg. Eduardo Trinidad, si así creyeren a sus derechos. Hernandarias Juzgado de Paz, 27 de octubre de 2025. 95882- 31/10 al 09/11

SUCESIÓN. EL JUEZ DE PRIMERA INSTANCIA EN LO CIVIL, COMERCIAL Y LABORAL DEL SEGUNDO TURNO DE CAPIATA, ABG. BLAS ALCIDES FIGUEREDO MIRANDA, cita y emplaza por sesenta días a herederos y acreedores de la sucesión de CIRILO ACUÑA SANDOVAL Y RAMONA RUFINA CHAVEZ DE ACUÑA. El Juicio radica en la Secretaría N°4 a cargo de La Actuaria Judicial Interina Abg. Analía Balbuena. CAPIATA, 3 de Octubre de 2025. Firmado digitalmente con Código QR. 95893/09/11/2025

SUCESIÓN. El Juez de Primera Instancia en lo Civil y Comercial del Vigésimo Segundo Turno e Interino del Décimo Octavo Turno de la Capital, Martín Diego Acosta Conde, cita y emplaza por sesenta (60) días a herederos y acreedores de la sucesión del señor MOISES DANIEL LOPEZ VELAZQUEZ. El juicio de referencia radica en la Secretaría N° 36 a mi cargo.Asunción, 29 de octubre de 2025.- OBSERVACIÓN: Se hace saber al destinatario de este edicto, que el mismo cuenta con el Código QR, por lo cual, para tener certeza de su validez, deberá utilizar el lector del Código QR, siendo ya en consecuencia, innecesaria la autenticación manual del Actuario del Juzgado conforme a la Acordada N.° 1335/2019 de la Corte Suprema de Justicia. Firmado digitalmente por Julio Dario Cabral Almada(Actuario). 95896/09/11/2025

SUCESIÓN. EL JUEZ DE PRIMERA INSTANCIA EN LO CIVIL y COMERCIAL DEL PRIMER TURNO DE LA CIRCUNSCRIPCIÓN JUDICIAL DE AMAMBAY, DR. JUAN MARCELINO GONZALEZ G., cita y emplaza por el termino de 60 (sesenta) días, contados desde la publicación del presente edicto, a los que tengan interés en reclamar derechos en la sucesión de BRANDO ALEJANDRO ROJAS GONZALEZ, de conformidad con

lo dispuesto en el Art. 741 del Código Procesal Civil.- El juicio radica en la Secretaria a cargo de la Actuaria Judicial Abg. ANNY GREGORIA ACOSTA. PEDRO JUAN CABALLERO, 24 de Octubre de 2025.-95906/09/11/2025

SUCESIÓN. La Juez de Primera Instancia en lo Civil, Comercial y Laboral del Primer Turno de la ciudad de Caaguazú, Abg. MARÍA IGNACIA FRANCO, cita y emplaza por sesenta días a herederos y acreedores de la sucesión de “ABRAHAN SOSA GONZALEZ”. CAAGUAZÚ, 29 de Octubre de 2025. Ante mí: Abg. Ariel Orlando Ibarra López, Actuario Judicial –Secretaría 02. 95914/09/11/2025

SUCESIÓN. EL JUEZ DE PAZ DEL 2º TURNO DE CONCEPCIÓN DE LA CIRCUNSCRIPCIÓN JUDICIAL DE CONCEPCIÓN, A CARGO DEL ABOG. MIGUEL A. GONZÁLEZ SILVA, cita y emplaza por sesenta (60) días a herederos y acreedores de la sucesión de: “CEVERIANA QUINTANA VDA. DE DURE”. Firmado digitalmente por: LIDA RAQUEL SAMUDIO CUELLAR (ACTUARIO/A), Concepción, 28 de octubre de 2025. 95916/09/11/2025

SUCESIÓN. La Juez de Primera Instancia en lo Civil y Comercial del Quinto Turno de Ciudad del Este, Abg. Gabriela Ramírez, cita y emplaza por sesenta días a herederos y acreedores de la sucesión de ELEUTERIO BENÍTEZ PAOLI. Ciudad del Este, 15 de octubre de 2025. Abg. Sara Ojeda Ramos (Actuaria Judicial, Secretaría N° 10). Se hace saber al destinatario de este edicto que el mismo cuenta con el Código QR, por lo cual, para tener certeza de que este documento es válido, deberá utilizar el lector del Código QR, siendo ya en consecuencia, innecesaria la autenticación manual de la Actuaria del Juzgado conforme Acordada 1366/201. 95944- 1 al 10/11

SUCESIÓN. La Jueza de Primera Instancia en lo Civil y Comercial del Primer Turno de la ciudad de Dr. Juan E. Estigarribia, Abg. LIZ NATHALIA LOBO RUIZ DIAZ, cita y emplaza por sesenta días a herederos y acreedores de la sucesión de CRISPIN BRITEZ CANDIA y MARIA CELINA GONZALEZ DE BRITEZ para que se presenten al juzgado a reclamar sus derechos. El juicio caratulado “CRISPIN BRITEZ CANDIA y MARIA CELINA GONZALEZ DE BRI-

TEZ S/ SUCESIÓN INTESTADA- AÑO 2025 - N.º 170”, radica en la secretaría a mi cargo. DOCTOR J. EULOGIO ESTIGARRIBIA, 27 de Octubre de 2025. ABG. SILVIO PAUL CANO RAGGINI. Actuario Judicial – Secretaría N.º 1 del Juzgado de Primera Instancia del Fuero Civil y Comercial del Primer Turno de la Ciudad de Dr. Juan E. Estigarribia. 95943/10/11/2025

SUCESION. El Juez de Paz en lo Civil y Comercial de la Ciudad de Dr. Juan León Mallorquín, Abog. Héctor Pastor Ibarra Gonzales, conforme a la Ley 6059/2018, Cita y Emplaza por sesenta (60) días a herederos y acreedores de la sucesión de SIXTO GAYOSO GONZALEZ. Juan León Mallorquín., 30 de octubre de 2025. 95971- 1 al 10/11

SUCESIÓN. La Jueza de Primera Instancia del Fuero Civil, Comercial y Laboral del Primer Turno de la ciudad de Caaguazú, Abogada MARIA IGNACIA FRANCO cita y emplaza por 60 dias a herederos y acreedores de la sucesión de "JACINTA ACOSTA DE BENITEZ Y CAYETANO BENITEZ RAMIREZ" para que se presenten a ejercer sus derechos. El juicio radica ante la secretaria N° 1 a mi cargo Abogada Mónica Espinola de Kim, Actuaria Judicial. La presente orden cuenta con firma digital y su validez podrá ser verificada mediante lectura del código QR. CAAGUAZU, 31 de Octubre de 2025. 95966/10/11/2025

SUCESIÓN .La Juez de Primera Instancia en lo Civil y Comercial del Vigésimo Cuarto Turno, Dra. Magali Zavala cita y emplaza por 60 días a herederos y acreedores de la sucesión de ROBERTO DANIEL TORRES SERVIAN. El juicio radica en la Secretaría a mi cargo. Edgar Adrián Jara Mendoza, Actuario Judicial. Asunción, 31 de octubre de 2025.95964/10/11/2025

TRANSCRIPCION DEL ACTA. DE ASAMBLEA GENERAL ORDINARIA, SOLICITADO POR LA FIRMA "HOTEL AUSTRIA” S.A., Esc. Públ. Nº 119, fecha 01/10/2025, Esc. Pública AMANDA CARLA ORTIZ F., solicitada por la socia RENATE VOGEL DE BAYER, en su carácter de PRESIDENTE.INSCRIPCION: D.G.R.P. Sección Personas Jurídicas y Comercio.- Matrícula Jurídica Nº 24.465, Serie Comercial, bajo el Nº 5, folio 48 y sgts, en fecha 16/10/2025.95936/03/ 11/ 2025

16

HORIZONTALES

1 . Herramienta de mano utilizada para excavar o mover materiales.

5. Alimento de origen indígena preparado generalmente con masa de maíz rellena de carnes, vegetales, etc.

10. Concubina de Abraham, desterrada por Sara.

14. Bastante, harto, muy.

15. Curva cerrada de forma parecida a la de la elipse.

16. Condensación de vapor de agua en la atmósfera.

17. Reconcentramiento.

20. Capital de Yemen.

21 . Dícese despectivamente de quien adula en exceso (f.)

22 . Instrumento mecánico para levantar grandes pesos.

25. Servicio que los indios filipinos hacían a los españoles en la época colonial.

26. Resina sólida y amarillenta extraída de ciertos árboles tropicales que se emplea en ungüentos y barnices.

30 . Dícese del mamífero pequeño de incisivos en continuo crecimiento como la ardilla o el castor.

33. Dad vueltas en círculos en el mar.

34. Acrónimo latino rótulo de la Santa Cruz.

35. (..."King" Cole) Cantante y pianista de jazz (1919-1965).

38 . Parte de una construcción que está bajo el nivel del suelo.

42 . Buque, nave.

43. Preposición que indica el fin a que se encamina una acción.

44 . Matemático suizo (17071783) que desarrolló el cálculo con números complejos.

45. Oficial de policía que protagoniza varias obras de la escritora inglesa Agatha Christie.

47. Especie de cacto típico de Bolivia.

CRUCIGRAMA SOLUCIÓN ANTERIOR

48. Tela muy sutil fabricada en Filipinas con los pecíolos de las hojas del abacá

51 . (Fritz...) Director de cine alemán (1890-1976), autor del filme "Metrópolis".

53 . Impuesto o derecho de aduana que se cobra sobre una mercancía cuando ésta se importa o exporta.

56 . Saqué punta a un instrumento en la muela.

60. Eliminación de un deportista como sanción por una falta cometida.

64. Prefijo que significa opuesto.

65. Comida fraternal de carácter religioso entre los primeros cristianos.

66 . Aureola con que se repre-

sentan las imágenes sagradas.

67. Moneda de Brasil.

68. Sujetar con lazo.

69. Palo de la baraja española.

VERTICALES

1 . Conjunto de dos personas u objetos.

2 . Tomas con la mano.

3. Barniz duro y brillante muy empleado por los chinos y japoneses.

4. Sufijo que forma sustantivos derivados de verbos con significado de acción y efecto.

5. Llegar con la mano a un objeto o persona.

6. Vertebrado ovíparo de respiración pulmonar, sangre caliente y cubierto de plumas.

7. (Isla de...) Isla autónoma del mar de Irlanda, capital: Douglas.

8. De elevada estatura (f.)

9. Individuo de la primera nobleza en Inglaterra.

10. Quedar una nave sujeta por medio del ancla.

11 . Signo ortográfico con que se unen las dos partes de algunas palabras compuestas.

12 . Lote de entradas o billetes que se adquieren conjuntamente.

13. Registro Nacional de Armas (abr.)

18. Venida a la vida.

19. Prefijo griego que significa "propio" o "'por uno mismo".

23. Presentar un cuerpo reflejos de luz con colores semejantes a

los del arco iris.

24. Vigilancia, registro, examen.

26. Nombre gaélico de Irlanda.

27. Tela fuerte usada para velas de navío, toldos y tiendas de campaña.

28. Genio aéreo en la mitología escandinava.

29. Masa de agua salada que cubre gran parte de la superficie terrestre.

31 . Error cometido en lo impreso o manuscrito.

32 . Dispositivo anticonceptivo de uso femenino interno (sigla).

35. Que tiene valor igual a cero (f.).

36. Criba grande para limpiar el trigo en la era.

37. Defecto psíquico o físico, por lo general hereditario.

39. Prefijo griego que significa "sobre".

40. Zeugma.

41 . Tejido delgado y transparente de seda, algodón o hilo, que forma malla.

45. Instrumento usado para pintar.

46. Individuo de uno de los antiguos pueblos de la Italia central (f.)

48 . Flotar y desplazarse en el agua.

49. Emperatriz bizantina (752803) que convocó el II Concilio de Nicea.

50. Masa preparada con harina, con la que se hacen los fideos.

52 . Empezar un astro a dejarse ver en el horizonte.

54. Empresa israelí de transporte aéreo de pasajeros.

55. Agrupación de individuos o colectividades humanas con algún designio común.

57. (...y medio) Filme de Federico Fellini de 1963.

58 . Armar un cigarro envolviendo el tabaco con el papel.

59. Dios griego de los vientos.

61 . Anverso de monedas o medallas.

62 . Asociación Internacional de Fonética (sigla, inglés).

63. Pron. pers. de dat. y acus. en 1ª pers. plural.

Turn static files into dynamic content formats.

Create a flipbook
Issuu converts static files into: digital portfolios, online yearbooks, online catalogs, digital photo albums and more. Sign up and create your flipbook.
SUPLEMENTO - AGRUPADOS - EDICIÓN 11.059 by La Nación - Issuu