AUSILI PER IPOVISIONE
Ausili ottici - Accessori - Postura



![]()



Si definisce ipovedente colui che è affetto da disabilità della funzione visiva anche dopo un trattamento medico-chirurgico e/o una correzione della refrazione standard e possiede un'acuità visiva inferiore a 3/10 o un campo visivo inferiore a 60 gradi dal punto di fissazione, ma che utilizza o che potenzialmente è in grado di far uso del residuo visivo per la programmazione e l'esecuzione di un determinato compito.
Questi individui presentano nella vita pratica gravi difficoltà nella lettura, nella scrittura, nel lavoro manuale fine, nel riconoscere la fisionomia delle persone. Quando viene compromesso il campo visivo il soggetto ipovedente presenta notevoli difficoltà a muoversi in un ambiente interno poco familiare, difficoltà ad orientarsi in una strada ed in una piazza. Il soggetto ipovedente presenta quindi un livello di capacità visiva insufficiente per svolgere attività quotidiane, lavorative o di svago che sono abituali per individui della medesima età, sesso e stato socio-culturale. Attualmente il numero dei soggetti ipovedenti è in costante

aumento sia per il miglioramento delle cure mediche, chirurgiche o parachirurgiche di patologie che prima portavano a cecità, sia per il progressivo aumento della vita media della popolazione.
L' ipovisione è una condizione che colpisce più di una persona su 100 nella popolazione dei paesi indutrializzati. Si è valutato che in Europa esistano 11 milioni di ipovedenti in aggiunta ad un milione di non vedenti.
Oltre agli ipovedenti vi sono numerose persone con gravi problemi visivi che non hanno ancora raggiunto il limite dell’ipovisione (3/10). Per queste persone un ausilio per ipovisione potrebbe non essere adatto e altrettanto inadatte potrebbero essere le normali lenti oftalmiche. In queste condizioni (molto frequenti) si può ricorrere alle lenti oftalmiche speciali AMD COMFORT.
Il 60-80% della popolazione ipovedente può essere aiutato mediante ausilii visivi:ciò significa che in Europa potrebbero trarne giovamento 6,6 - 8,8 milioni di persone.

Fattori importanti per un miglioramento della capacità e qualità di visione
L’aumento del comfort visivo



Più luce più visione è un concetto importante. Una corretta illuminazione dell’ambiente in cui ci si trova o l’utilizzo di una luce idonea a LED, normalmente a 4500°K può essere di grande aiuto per ottenere un miglioramento di immagine e di contrasto di visione. Lenti di ingrandimento con luce e lampade a LED contribuiscono in modo signi cativo al miglioramento della qualità di visione di tutti noi.
Una riduzione dei ri essi e l’utilizzo di lenti speciche con ltri selettivi o ltri comfort, possono migliorare nettamente il contrasto di immagine e di conseguenza la qualità di visione che risulterà essere molto più confortevole. I ltri selettivi rappresentano lo step successivo qualitativamente parlando rispetto ad un normale ltro solare.
Rispetto agli occhiali da sole tradizionali, gli occhiali con ltro selettivo utili al processo visivo permettono ai nostri occhi di ricevere maggiori informazioni eliminando i fattori disturbanti come ad esempio i ri essi. Riducono l’a aticamento oculare Il ltro aumenta il contrasto, il che rappresenta un grande vantaggio in attività come il golf, il tiro a segno, il ciclismo, lo sci, la pesca e la vela.
LEGGERE FIRMARE DOCUMENTI
CONTROLLARE LE BOLLET TE
SCRIVERE E AT TIVITÀ QUOTIDIANE
FARE LA SPESA
HOBBIES
DEAMBULA ZIONE GUIDA
GUARDARE LA TELEVISIONE UTILIZZARE IL COMPUTER
FILTRI MEDICALI A TAGLIO NANOMETRICO NEUTRI E GRADUABILI
pag. 4-19
OCCHIALI
IPERCORRE T TIVI
PRISMATICI
MLBINOVA PRO
pag. 23
LENTI APLANATICHE PER VICINO MLAPLANAT MLA2
pag. 30
LENTI MULTIFOCALI AD ALTO POTERE MLOPTIO
pag. 45
VIDEO INGRANDITORI E SINTESI VOCALE
OCCHIALI
IPERCORRE T TIVI
PRISMATICI
MLBINOVA PRO
pag. 23
LENTI SPECIALI AMDCOMFORT MLNIGHT Cover
pag. 30
VIDEO INGRANDITORI E SINTESI VOCALE
OCCHIALI
IPERCORRE T TIVI
PRISMATICI
MLBINOVA PRO
OCCHIALI
IPERCORRE T TIVI
PRISMATICI MLBINOVA PRO
pag. 23 pag. 23
GALILEIANO AD AMPIO CAMPO VISIVO MLCOMBI
pag. 43
LENTI SPECIALI AMDCOMFORT MLNIGHT Cover pag. 19/11
VIDEO INGRANDITORI E SINTESI VOCALE
GALILEIANO PER VICINO E LONTANO MLVIDI MLFOCUS pag. 37-41
GALILEIANO PER VICINO E LONTANO MLVIDI MLFOCUS pag. 37-41
Indice per argomenti




F il tri F oto se lettiv i
Pagina 5
F il tri C omf or t
Pagina 9
F il tri per guida notturna
Pagina 11
Biocover-Sun Guard - Filter cover - Cover KID
Pagina 13
Aggiuntivi con ltro fotoselettivo
Pagina 17
AMD C omf or t
Pagina 1 9
Occhiali Ipercorrettivi prismatici
Pagina 23
ML Aplanat - MLVIDI – MLFOCUS – MLCOMBI
Pagina 29
Lenti speciali ML OPTIO
Pagina 45
Galileiano telescopico 2X per TV
Pagina 1 9
KI T di pr ov a per l o spec ia list a
Pagina 5 0
Filtri fotoselettivi per un miglior comfort di visione e protezione dalla luce

Range: 400-585 nm
Lenti su prescrizione:
Indice 1.5 (Polar, Transition Gen S)
Indice 1.6 (Polar, Transition Gen S)
Indice 1.74 (Non polarizzati)
I ltri selettivi elimano o riducono la trasmissione della luce UV e luce blu.
La luce blu è spesso percepita, soprattutto dai soggetti ipovedenti, come causa di abbagliameno e discomfort.
I ltri fotoselettivi contribuiscono ad incrementare la qualità della visione. M igliorano anche la qualità della visione durante lo sport e la guida notturna.
Per una corretta prescrizione contattare uno specialista per e ettuare controlli, prove e misurazioni.
È possibile realizzare lenti su prescrizione con ltri fotoselettivi, polarizzati, transition GEN S Le lenti con ltro fotoselettivo sono disponibili in indice 1.5 - 1.6 - 1.74
•MONOFOCALI
•BIFOCALI - TRIFOCALI (ML OPTIO)
•PROGRESSIVE
•BIFOCALI CON ALTE ADDIZIONI
•BIFOCALI CON SEGMENTI ALTI
•LENTICOLARI
Per informazioni e ordini: e-mail: info.ipovisione@centrostyle.it - Linea diretta 0332-270.210
Disponibili ed ordinabili come:





























•filtra l’80% della luce fino a 450 nm
•colore: giallo tenue
400 nm
•filtra la luce fino a 400 nm e una parte fino a 420 nm
•colore: giallo chiaro
FILTRO FOTOSELETTIVO

B6 • Ref. M31231S
B8 • Ref. M31221S Cat. 1 (τ 79%)

B6 • Ref. M31240S
B8 • Ref. M31908
450 nm
•filtra la luce fino a 450 nm
•colore: giallo limone

B6 • Ref. M31245S
B8 • Ref. M31222S Cat. 1 (τ 77%)
FILTRO FOTOSELETTIVO - Polarizzato Light 65%

B6 • Ref. M31531S
B8 • Ref. M31521S Cat. 2 (τ 27%)

B6 • Ref. M31540S
B8 • Ref. M31917

B6 • Ref. M31545S
B8 • Ref. M31522S Cat. 2 (τ 26%)
FILTRO FOTOSELETTIVO - Polarizzato Dark 85%

B6 • Ref. M31602S
B8 • Ref. M31603S Cat. 3 (τ 14%)

B6 • Ref. M31600S
B8 • Ref. M31925
FILTRI FOTOSELETTIVI
PC B6 • 72x53 mm
PC B8 • 72x53 mm
CR39
B8 senza Pol. • Ø 75 mm
CR39 B8 con Pol. • Ø 72 mm

B6 • Ref. M31604S
B8 • Ref. M31605S Cat. 3 (τ 13%)
500 nm
•filtra il 95% della luce fino a 500 nm
•colore: giallo

B6 • Ref. M31250S
B8 • Ref. M31223S Cat. 1 (τ 70%)

B6 • Ref. M31550S
B8 • Ref. M31523S Cat. 2 (τ 26%)

B6 • Ref. M31606S
B8 • Ref. M31607S Cat. 3 (τ 13%)
511 nm
•filtra la luce fino a 511 nm
•colore: giallo-arancione

B6 • Ref. M31251S
B8 • Ref. M31224S Cat. 1 (τ 50%)

B6 • Ref. M31551S
B8 • Ref. M31524S Cat. 2 (τ 19%)

B6 • Ref. M31608S
B8 • Ref. M31609S Cat. 3 (τ 8%)
527 nm
•filtra la luce fino a 527 nm
•colore: arancione-rosso

B6 • Ref. M31252S
B8 • Ref. M31225S Cat. 1 (τ 45%)

B6 • Ref. M31552S
B8 • Ref. M31525S Cat. 3 (τ 12%)

B6 • Ref. M31610S
B8 • Ref. M31611S Cat. 4 (τ 7%)
PC B6 • 72x53 mm
PC B8 • 72x53 mm
CR39 B8 senza Pol. • Ø 75 mm
CR39 B8 con Pol. • Ø 72 mm
550 nm
•filtra la luce fino a 550 nm
•colore: rosso

B6 • Ref. M31255S B8 • Ref. M31226S Cat. 2 (τ 24%)

B6 • Ref. M31555S
B8 • Ref. M31922 Cat. 3 (τ 9%)

B6 • Ref. M31612S
B8 • Ref. M31930 Cat. 4 (τ 4%)
585 nm
•filtra la luce fino a 585 nm
•colore: rosso scuro

B6 • Ref. M31258S B8 • Ref. M31915 Cat. 2 (τ 22%)

B6 • Ref. M31558S
B8 • Ref. M31923 Cat. 4 (τ 6%)

B6 • Ref. M31957
B8 • Ref. M31931 Cat. 4 (τ 3%)
SOLO FILTRO ind. 1.5 - 1.6 - 1.74
FILTRO POL1 ind. 1.5
FILTRO POL 3 ind. 1.5 - 1.6
Filtri fotoselettivi neutri COMFORT - Policarbonato
deterioramenti, questo comporterebbe una sovra stimolazione che si manifesta con problemi di fotosensibilità, mantenimento dell’equilibrio, acufene e in alcuni casi emicrania.
Grazie a recenti test clinici i Filtri COMFORT in diversi casi, si sono mostrati utili per ridurre i sintomi di stress visivo.
FORNIBILI SU PRESCRIZIONE DI UN MEDICO SPECIALISTA
ML41 - ROSA
Filtro di colore rosa che assorbe la luce soprattutto nel banda del blu e verde. ML41
SPESSO USATI PER: migliorare il Comfort visivo, Blefarospasmi, Emicrania, problemi neuro visivi.



Light 50%
Medium 65%
Dark 77%
Ref. M31720S
Ref. M31719S
Ref. M31229S
Filtro di colore verde smeraldo che assorbe le onde più corte della luce blu e parte della luce gialla, permettendo la trasmissione della luce blu a onde lunghe e della luce verde. SPESSO USATI PER: migliorare il Comfort visivo e problemi neuro visivi.



SAPPHIRE - BLU ZAFFIRO
Light 50%
Medium 65%
Ref. M31726S
Ref. M31725S
Dark 77%
Ref. M31224S
luce blu. SPESSO USATI PER: migliorare il Comfort visivo e problemi neuro visivi.



Lenti viola che assorbono sia la luce blu sia la luce verde.
Light 50%
Medium 65%
Ref. M31723S
Ref. M31722S
Dark 77%
Ref. M31221S



SPESSO USATI PER: migliorare il Comfort visivo e problemi neuro visivi.



Light 50%
Medium 65%
Dark 77%
Ref. M31718S
Ref. M31717S
Ref. M31216S
Flipper
1.

Flipper
2.

Flipper
3.

Flipper
4.

Flipper
5.

Flipper
6.


Emerald Light
Emerald Medium
Emerald Dark
Sapphire Dark Sapphire Light
Sapphire Medium
ML41 Light
ML41 Medium
ML41 Dark
ML Lavender Dark
ML Lavender Light
ML Lavender Medium
Nota:
I colori dei Filtri Comfort risultano essere nella realtà più chiari, rispetto a quelli rappresentati nelle foto.
Filtro
La colorazione è appositamente studiata per eliminare la fastidiosa luce bluastra emessa dai fari delle auto (LED e Xeno). Molto utili anche per chi utilizza il PC o strumenti con Display LCD. Colore giallo tenue per il massimo rispetto della percezione dei colori.


Filtro LLR
B4 • Ref. M31150S
• Ref. M31204S

Lenti in policarbonato con trattamento antiri esso SUNCOAT incluso. Disponibili anche su prescrizione in CR39 , con diversi indici 1.5 1.6 1.74 e diverse geometrie. Ideali per la guida notturna e l’utilizzo prolungato di monitor LCD o PC, aumentano il comfort visivo.

Flip Up LLR
Calibro 54
Ref. M32255
Calibro 57
Ref. M322255


Filtro C1

Filtro 450 nm

Filtro 500 nm

Filtro 511 nm

Filtro 527 nm

Filtro 550 nm

Filtro 585 nm

Filtro LLR

Filtro ML41
Di tonalità molto lieve, garantisce comfort e rilassamento visivo per la lettura e l’utilizzo del computer. Assorbe una parte di luce blu ed ha un colore paglierino.
Assorbe l’ 80% della luce blu. Molto utili sia in caso di Ipovisione, sia per normo vedenti per l’utilizzo del computer, per la vita all’aperto e lo Sport. Colore Giallo tenue
Garantisce protezione totale dalla luce blu. È indicato per migliorare la performance visiva nello Sport e per Ipovisione. Colore giallo limone
Assorbe il 95% della luce blu. La piccola parte di luce blu non filtrata, garantisce la naturale visione dei colori. È indicato per la lettura e per il computer, lo sport e le attività outdoor e come filtro medicale per Ipovisione.
Colore giallo
Assorbe tutta la luce blu. È indicato per lo Sport e le attività all’aperto. Comunemente prescritto dagli specialisti di Ipovisione. Colore arancio
Assorbe tutta la luce blu e una parte della luce green dello spettro elettromagnetico. È da considerarsi esclusivamente filtro medicale per patologie oculari.
Colore arancio scuro
Assorbe tutta la luce blu e la maggior parte della luce verde dello spettro elettromagnetico. È da considerarsi esclusivamente filtro medicale per patologie oculari.
Colore arancio-rosso
Permette solamente la trasmittanza di una parte di luce gialla e della luce rossa. È da considerarsi esclusivamente filtro medicale per patologie oculari. Colore rosso scuro
La colorazione è appositamente studiata per eliminare la fastidiosa luce bluastra emessa dai fari delle moderne auto (LED e Xeno). Molto utili anche per il computer.
Colore giallo tenue
È una colorazione studiata per lenire i fastidi dell’emicrania, per persone che hanno subito traumi celebrali con ripercussioni sulla visione e per ridurre lo stress visivo. Colore rosa





MEDIUM CON FILTRO FOTOSELETTIVO
FLIP UP
M32257 ML FLIP UP C1
M32256 ML FLIP UP 400 nm
M32258 ML FLIP UP 450 nm
M32259 ML FLIP UP 500 nm
M32260 ML FLIP UP 511 nm
M32261 ML FLIP UP 527 nm
M32262 ML FLIP UP 550 nm
M32263 ML FLIP UP 585 nm
Calibro 54 H 43 14
FLIP UP POL 65%
M32266 ML FLIP UP C1
M32265 ML FLIP UP 400 nm
M32267 ML FLIP UP 450 nm
M32268 ML FLIP UP 500 nm
M32269 ML FLIP UP 511 nm
M32270 ML FLIP UP 527 nm
M32271 ML FLIP UP 550 nm
M32272 ML FLIP UP 585 nm
LARGE CON FILTRO FOTOSELETTIVO
FLIP UP
M322257 ML FLIP UP C1
M322256 ML FLIP UP 400 nm
M322258 ML FLIP UP 450 nm
M322259 ML FLIP UP 500 nm
M322260 ML FLIP UP 511 nm
M322261 ML FLIP UP 527 nm
M322262 ML FLIP UP 550 nm
M322263 ML FLIP UP 585 nm
Calibro 57 H 46 14
FLIP UP POL 65%
M322266 ML FLIP UP C1
M322265 ML FLIP UP 400 nm
M322267 ML FLIP UP 450 nm
M322268 ML FLIP UP 500 nm
M322269 ML FLIP UP 511 nm
M322270 ML FLIP UP 527 nm
M322271 ML FLIP UP 550 nm
M322272 ML FLIP UP 585 nm
MEDIUM - LARGE FILTRI COMFORT Calibro 54 H 43 14
FLIP UP MEDIUM
M93953 ML FLIP UP ML41 Light
M93954 ML FLIP UP ML41 Medium

M32553 ML FLIP UP ML41 Dark
M33566 ML FLIP UP Emerald Light
M93959 ML FLIP UP Emerald Medium
M93961 ML FLIP UP Emerald Dark
M93963 ML FLIP UP Sapphire Light
M93965 ML FLIP UP Sapphire Medium
M93967 ML FLIP UP Sapphire Dark
FLIP UP POL 85%
M32275 ML FLIP UP C1
M32274 ML FLIP UP 400 nm
M32276 ML FLIP UP 450 nm
M32277 ML FLIP UP 500 nm
M32278 ML FLIP UP 511 nm
M32279 ML FLIP UP 527 nm
M32280 ML FLIP UP 550 nm
M32281 ML FLIP UP 585 nm
FLIP UP POL 85%
M322275 ML FLIP UP C1
M322274 ML FLIP UP 400 nm
M322276 ML FLIP UP 450 nm
M322277 ML FLIP UP 500 nm
M322278 ML FLIP UP 511 nm
M322279 ML FLIP UP 527 nm
M322280 ML FLIP UP 550 nm
M322281 ML FLIP UP 585 nm
Calibro 57 H 46 14
FLIP UP LARGE
M93952 ML FLIP UP ML41 Light
M93955 ML FLIP UP ML41 Medium
M93953 ML FLIP UP ML41 Dark
M93957 ML FLIP UP Emerald Light
M93960 ML FLIP UP Emerald Medium
M93962 ML FLIP UP Emerald Dark
M93964 ML FLIP UP Sapphire Light
M93966 ML FLIP UP Sapphire Medium
M93968 ML FLIP UP Sapphire Dark ML

Fornibili anche in versione polarizzata 70% o 83% Per informazioni: info.ipovisione@centrostyle.it Linea ipovisione Tel. 0332-270.210
KIT FILTRI FOTOSELETTIVI SU FLIPPER

Ref. M94040C
ML FLIP UP BOX 6 pz Calibro 57
e Flipper Polarizzato 1 - 3
01- Flip up M32256 420 nm
01- Flip up M32257 C1
01- Flip up M32258 450 nm
01- Flip up M32259 500 nm
01- Flip up M32260 511 nm
01- Flip up M32261 527 nm
01- FlipperPOL1 70% / POL3 83% +

Utilizzabile per aggiungere una polarizzazione al ltro selettivo
Ref. M39941
SET BASE
01-Flipper 400 nm / LLR
01-Flipper C1 / 500 nm
01-Flipper 450 nm / 511 nm
01-Flipper 527 nm / 550 nm
01-Flipper POL 1 / POL 3
Ref. M39945
SET COMPLETO
01-Flipper 400 nm / LLR
01-Flipper C1 / 500 nm
01-Flipper 450 nm / 511 nm
01-Flipper 527 nm / 550 nm
01-Flipper POL 1 / POL 3
01-Flipper 585 nm / ML41

Poteri: da -8 a +8
Addizioni: 0.75 - 6.00
Materiale: CR39
Filtro: Comfort Filter, C1
Trattamento: ML Prima+
Tipi: Monofocali, bifocali e progressive
Disponibili anche trasparenti senza ltro selettivo
Utili in alcuni casi anche per il rinnovo patente previo prove soggettive di uno specialista
Le persone con degenerazione maculare senile hanno di coltà nel trovare soluzioni in grado di aiutarle in modo signi cativo.
Normalmente, vengono proposte lenti standard che non possono aiutarli signi cativamente. Un occhio con degenerazione maculare senile ha bisogno di qualcosa di più di una correzione diottrica . C’è qualcosa di più e cace da proporre.
AMD C OMFORT o re a coloro che so rono di degenerazione maculare senile un signi cativo miglioramento della vista, abbinato ad uno stato di comfort visivo. È facile da comprendere, facile da provare e ultimo, ma non meno importante, facile da prescrivere e ordinare.
AMD COMFORT è un programma speciale di lenti oftalmiche sviluppate per le persone che soffrono di degenerazione maculare senile. AMD COMFORT offre un sensibile miglioramento alla loro capacità visiva con un ottimo comfort.
COMFORT FILTER
Il filtro comfort appositamente sviluppato offre agli occhi la migliore protezione possibile dall'aggressività della luce UV, mentre riduce la sensibilità all'eccessiva luminosità della luce diurna. Questo filtro in sostanza riduce il passaggio della parte blu dello spettro UV, mentre il resto dello spettro del visibile è mantenuto e contribuisce a garantire una visione del colore naturale.
INGRANDIMENTI
Le lenti per AMD forniscono un ingrandimento che implica un impiego di una parte maggiore di retina nel processo della visione. L'ingrandimento è sufficiente per fare la differenza per chi lo indossa ma non così forte da ridurre il campo visivo.
L’ingrandimento è raggiunto con una speciale molatura che rende le lenti leggermente più curve e più spesse. Ci sono due ingrandimenti disponibili AMD-I e AMD-II. AMD-I fornisce un equilibrio tra aspetto estetico e ingrandimento, mentre AMD-II garantisce un maggiore ingrandimento a fronte di uno spessore maggiore. AMD-I significa un ingrandimento del 3% circa mentre AMD-II è del 6% circa. L’esatto ingrandimento può variare leggermente in eccesso o in difetto, in ragione della prescrizione o delle lenti scelte. Altre percentuali di ingrandimento possono essere richieste fino al 9%.

RIDUZIONE RIFLESSI
Il trattamento antiriflesso è standard sulle lenti AMD COMFORT, per migliorare il comfort e ridurre l’abbagliamento.
CORREZIONI INCORPORATE
Tutte le lenti AMD COMFORT sono realizzate appositamente su prescrizione per fornire la miglior correzione possibile.
FACILE DA USARE, FACILE DA PRESCRIVERE
Le lenti AMD COMFORT sono ausili di provata tecnologia ottica, semplice da prescrivere e molto efficace per aiutare pazienti con DEGENERAZIONE
MACULARE SENILE o altre situazioni in cui risulti ridotta la capacità visiva.
FACILE DA PROVARE
Per testare le lenti AMD COMFORT su un paziente si possono utilizzare dei semplici set di prova. Fate sperimentare al paziente la differenza fissando un flip up AMD COMFORT sul suo occhiale o posizionando il flirp davanti alle lenti già in uso.
FACILE DA ORDINARE
La procedura per ordinare una lente con AMD COMFORT, è la stessa utilizzata per ordinare delle normali lenti di prescrizione.
FACILE DA USARE
Le lenti AMD COMFORT non richiedono tempi di adattamento per l’utilizzatore finale; il paziente sarà immediatamente in grado di cogliere il beneficio che deriva dal maggior contrasto, dalla maggiore acuità visiva e dal miglior comfort.

VANTAGGI
•Massima protezione
•Miglioramento della visione
•Ottimo contrasto
Le lenti AMD COMFORT offrono alle persone che soffrono di degenerazione maculare senile un ottimo miglioramento del comfort visivo proteggendo gli occhi dai nocivi raggi UV.
LENTI AMD COMFORT
Qui sotto troverete le principali informazioni per realizzare lenti di prescrizione con AMD COMFORT. In caso di richieste al di fuori di quanto già specificato, contattateci per una verifica.
PROGRESSIVE
•ampio campo visivo
•design semplice
•possibilità di forti addizioni
• possibilità di aggiungere polarizzazione e trattamento fotocromatico.
MONOFOCALI
• possibilità di aggiungere polarizzazione e trattamento fotocromatico.
BIFOCALI
•possibilità di alte addizioni
• possibilità di aggiungere polarizzazione e trattamento fotocromatico.
AMD COMFORT LENS limiti di costruzione
Attenzione alle seguenti note tecniche:
• Correzione cilindrica fino a -6, curvatura massima non oltre Base 6.
• Per poteri oltre i limiti sopra riportati e livelli di ingrandimento, contattateci.
• Lenti con diametro fino a 75 mm (73 mm per le polarizzate).
• Tutte le lenti AMD COMFORT sono in indice 1.5.
Progressive AMD I +8-84
Progressive AMD II +6-63
Progressive AMD I con polarizzazione o transition+6-64
Progressive AMD II con polarizzazione o transition+4-43
Monofocali AMD I +8-84
Monofocali AMD II +6-63
Monofocali AMD I con polarizzazione o transition+6-64
Monofocali AMD II con polarizzazione o transition+4-43
Bifocali S28 AMD I, neutre e polarizzate +8-64
Bifocali S28 AMD II, neutre e polarizzate +6-83
Bifocali C28 AMD I, neutre e transition +8-64
Bifocali C28 AMD II, neutre e transition +6-83
Bifocali S28 High Add AMD I, neutre +8-62
Bifocali S28 High Add AMD II, neutre +6-82


LENTI AMD COMFORT SU
LENTI AMD COMFORT TEST BOX CON TRATTAMENTO ANTIRIFLESSO PRIMA +
Ref. M09050
Due paia LENTI AMD COMFORT su aggiuntivo
•01 Flip-up con lenti AMDI
Ingrandimento 3%
•01 Flip-up con lenti AMD COMFORT-II
Ingrandimento 6%
LENTI AMD COMFORT FLIPPER KIT CON TRATTAMENTO ANTIRIFLESSO PRIMA +
Ref. M09037
Flipper con lenti piane AMD COMFORT.
•1 coppia AMD I Ingrandimento 3%
•1 coppia AMD II Ingrandimento 6%
Occhiale ipercorrettivo prismatico per vicino, graduabile su prescrizione

Range poteri: da +3 a +16
Campo visivo: >70°
Peso: 26-45 gr
Distanza di utilizzo: 8-33 cm
Materiale lenti: CR39
Lente asferica con prisma
Trattamenti antiri esso

Occhiali disponibili anche su prescrizione e-mail: info.ipovisione@centrostyle.it Linea Vision Care Tel. 0332/270.210
PRO
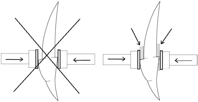
Guardando un oggetto o un testo a distanza ravvicinata rende l’immagine retinica ingrandita. Questo è molto utile per alcuni lavori manuali oppure per la lettura dei soggetti ipovedenti. La visione binoculare molto ravvicinata tuttavia richiede uno sforzo di convergenza che gli occhi non sono in grado di sostenere. Per questa ragione agli occhiali da lettura ML BINOVA PRO oltre ad una forte diottria positiva (fino + 16D.) vengono integrati prismi a base nasale che spostando esternamente l’immagine riducono la necessità di convergenza oculare. In questo modo è possibile leggere in maniera comfortevole a breve distanza e con forte ingrandimento A richiesta sono disponibili anche gli ipercorrettivi prismatici ML BINO Bifo, versione bifocale di ML BINOVA PRO. ML BINOVA PRO e ML BINO Bifo sono inclusivi del trattamento antiriflesso Prima + e possono essere realizzati di costruzione con la correzione cilindrica.

L'illustrazione mostra la distanza di messa a fuoco (A) per la naturale convergenza degli assi visivi, mentre con l'ausilio dei prismi è possibile ottenere una convergenza a distanza più ravvicinata (B) ovviando allo sforzo muscolare che altrimenti comporterebbe (convergere più da vicino).
Le montature in plastica con lenti prismatiche a base nasale
nel prezzo)

ANTIRIFLESSO PRIMA
Nuovo trattamento antiri esso e indurente multistrato.
24 • 135 FLEX D.P. 64 HALV 12
BROWN DIOT TRIA REF.
+3 M41231
+3,5 M41235
+4 M41241
+5 M41251
+6 M41261
+8 M41281
+10 M41201
+12 M41221
+14 M41211
+16 M41291

GREY RED BLUE DIOT TRIA REF REF REF
+3 M41431 M41531 M41631

+3,5 M41435 M41535 M41635
+4 M41441 M41541 M41641
+5 M41451 M41551 M41651
+6 M41461 M41561 M41661
+8 M41481 M41581 M41681
+10 M41401 M41501 M41601
+12 M41421 M41521 M41621
+14 M41411 M41511 M41611
+16 M41491 M41591 M41691


Le montature in plastica con lenti prismatiche a base nasale

DIOT TRIA REF.
ANTIRIFLESSO
indurente multistrato.
+3 M44450
+3,5 M44451
+4 M44452
+5 M44453
+6 M44454
+8 M44455
+10 M44456
+12 M44457
+14 M44458
+16 M44459
DIOT TRIA REF.
+3 M44402
+3,5 M44403
+4 M44404
+5 M44405
+6 M44406
+8 M44407
+10 M44408
+12 M44409
+14 M44410
+16 M44411


Le montature in metallo/ plastica con lenti prismatiche a base nasale
TAMENTI (inclusi nel prezzo)

ANTIRIFLESSO PRIMA indurente multistrato.
42 25 • 135 FLEX D.P. 64 HALV 13
ME TALLO DIOT TRIA REF.
+3 M41331
+3,5 M41335
+4 M41341
+5 M41342 +6 M41361 +8 M41381 +10 M41301 +12 M41321
+14 M41311
+16 M41391

45 28 • 135 FLEX D.P. 64
DIOT TRIA REF
+4 M41110
+5 M41111
+6 M41112
+8 M41113
Filtro Relax incluso PLASTICA

ASTE DI RICAMBIO HALV 12 - HALV 13 - HALV 14










M120DX
M120SX
M130DX
M130SX
M140DX
M140SX
M141DX
M141SX
M142DX
M142SX
Asta destra per HALV 12 DEMI
Asta sinistra per HALV 12 DEMI
Asta destra per HALV 13 METALLO
Asta sinistra per HALV 13 METALLO
Asta destra per HALV 14 GREY/RED
Asta sinistra per HALV 14 GREY/RED
Asta destra per HALV 14 BLUE
Asta sinistra per HALV 14 BLUE
Asta destra per HALV 14 RED/GREY
Asta sinistra per HALV 14 RED/GREY

Ref. 01495
Placchetta anatomica in silicone, attacco a pressione. 26,5 mm



DATI TECNICI
Ingrandimento: da 2X a 9X
(Back Vertex Power)
Campo visivo: 46°
Peso: 20 g
Limite di correzione: Cyl -4 D
Distanza di lavoro: 8-3 cm
Trattamento antiri esso
ML Prima+
Le persone con problemi di vista, di solito desiderano ottenere un alto ingrandimento con un ampio campo visivo. Non è facile soddisfare questo desiderio poiché un alto ingrandimento normalmente signi ca avere una distorsione dell'immagine nella zona periferica del campo visivo.
Il sistema ML APL ANAT risolve questo problema, dividendo il potere risultante in due lenti aplanatiche contrapposte. La par ticolare combinazione delle due lenti, consente di ottenere elevati ingrandimenti senza distorsione dell'immagine. In caso di necessità le lenti possono essere facilmente sostituite con lenti di potere superiore.
ML APL ANAT è un sistema essibile per l'utilizzo monoculare che o re alta qualità delle immagini e un ampio campo visivo.



Lente obiettivo Sistema base (lente aplanatica)

(BACK VERTEX POWER)
ML APLANAT 36 MM INCLUSO TRATTAMENTO ANTIRIFLESSO E LENTE DI MONTAGGIO
LENTE APLANAT 36 MM (da +8 a +36 diottrie)

M67080KIT +8 2x
M67140KIT +14 3,5x
M67200KIT +20 5x
M67280KIT +28 7x Ref. Diottrie
M67100KIT +10 2,5x
M67160KIT +16 4x
M67240KIT +24 6x
M67320KIT +32 8x Ref. Diottrie
Ref. ML APLANAT SU PRESCRIZIONE
ML Aplanat su ricetta con M67160P correzione e/o ltro incluso e lente montaggio
Ref. M04075 Lente smerigliata per appaiamento.
Ref. M60007 Lente di montaggio per ML Aplanat
M67120KIT +12 3x
M67180KIT +18 4,5x
M67360KIT +36 9x Ref. Diottrie

QUALITÀ DI IMMAGINE
La qualità d’immagine è eccellente con un’ottima messa a fuoco su tutta la superficie della lente. Questo si ottiene dividendo la potenza in due lenti e girando le superfici piane verso l'occhio e l'oggetto che viene guardato. La lettura con Aplanat A1 risulta semplice e veloce.
CAMPO VISIVO
Il campo visivo è una parte essenziale di un dispositivo per ipovisione. Uno dei principali vantaggi di questo sistema di lettura rispetto ai sistemi telescopici, è il suo ampio campo visivo, ancora più ampio di quello di una telecamera utilizzata ad una distanza di 40 centimetri.
CORREZIONI
Questo nuovo sistema permette facilmente di incorporare una correzione cilindrica. Basta inserire una lente piano-cilindro tra le due lenti.






UTILIZZO
Questo sistema è inteso per un utilizzo di lettura a breve distanza. Utilizzato esclusivamente per visione monoculare.
DESIGN
Dal momento che le lenti sono costruite in minerale ad alto Indice, è stato possibile ridurre lo spessore del sistema del 30%. Un sistema esteticamente migliore con un maggior campo visivo e qualità di immagine.
SEMPLICE DA MONTARE
I l montaggio di una lente Aplanat ML non potrebbe essere più facile. Grazie alla lente di montaggio preforata, facile da molare ed il sistema di innesto a pressione, si potrà effettuare il montaggio in pochi minuti.



Lenti aplanatiche contrapposte *
Lenti aplanatiche contrapposte * + correzione sfero cilindrica (su prescrizione)
Lenti aplanatiche contrapposte * +lente di correzione sfero cilindrica (su prescrizione) +filtro selettivo (su prescrizione)
* Ottima qualità ottica, design sottile (9 mm), nessuna aberrazione periferica
CONFRONTO TRA ML APLANAT E ML APLANAT A2
Solo un test sul paziente con le lenti della cassetta di prova consente di determinare l’ausilio corretto da prescrivere. Anche se i due sistemi aplanatici non sono esattamente corrispondenti come scala di lettura, possono comunque essere utilizzati per la prova. La tavola sotto riportata consente una facile conversione dei poteri impressi sui sistemi aplanatici in valori diottrici corrispondenti.
SCALA DI COMPARAZIONE DI POTERI
CONFRONTO DATI TECNICI
Ingrandimento: 3 - 9x
Campo visivo: 46°
Peso: 20 gr.
Distanza di utilizzo: 8-3 cm. BACK VERTEX POWER

Ingrandimento: 2,5 -13x
Campo visivo: 44°
Peso: 10 gr.
Distanza di utilizzo: 8-2 cm. EQUIVALENT POWER
lente obiettivo Ø 36 mm
44° 46° Ø 36 mm
lente oculare Ø 25 mm


DATI TECNICI
Ingrandimento: 2,5X - 13X
(Equivalent Power)
Campo visivo: 44°
Peso: 10 g
Limite di correzione: ± 4 - 10 D
Distanza di lavoro: 8-2 cm
Trattamento antiri esso
ML Prima+

Di solito è abbastanza di cile soddisfare il desiderio di alto ingrandimento in combinazione con un ampio campo visivo. La lente ML APLANAT A2 è stata progettata per ottenere un ampio campo visivo nonostante gli ingrandimenti no a 52 diottrie. Il segreto è una combinazione di due lenti aplanatiche; la lente interna più piccola di quella esterna e le super ci piane rivolte verso l'esterno.
La lente oculare più piccola amplia la scelta di di erenti modelli di montature. Le lenti possono essere facilmente sostituite con altre di potere superiore. MLA2 è un sistema studiato per l'utilizzo monoculare a breve distanza.

Lente oculare +


Lente aplan a ti ca
Lente obiettivo Sistema base (lente aplanatica)

Ref. Diottrie
M62101KIT +10 2,5x
M62121KIT +12 3x
M62141KIT +14 3,5x
M62161KIT +16 4x
M62181KIT +18 4,5x
Ref. Diottrie
M62201KIT +20 5x
M62241KIT +24 6x
M62281KIT +28 7x
M62321KIT +32 8x
M62361KIT +36 9x
Trattamento multicoat INCLUSO

Ref. Diottrie
M62401KIT +40 10x
M62481KIT +48 12x
M62521KIT +52 13x

Ref. MLA2 SU PRESCRIZIONE
MLA2 su ricetta con M60344P correzione e/o ltro
• Trattamento antiri esso: INCLUSO
•Anello correttivo+lente Ø 22 mm: INCLUSO
•Lente di montaggio: INCLUSA
ACCESSORI PER MONTAGGIO

Ref. M70110
Lente per montaggio neutra

Ref. M70300 Anello correttivo
•Lente per montaggio INCLUSA
•Anello di correzione INCLUSO
Ref. M04075 Lente smerigliata per appaiamento.
QUALITÀ DI IMMAGINE
La qualità d’immagine è eccellente con un’ottima messa a fuoco su tutta la superficie della lente. Questo si ottiene dividendo la potenza in due lenti e girando le superfici piane verso l'occhio e l'oggetto che viene guardato. La lettura con Aplanat A1 risulta semplice e veloce.
CAMPO VISIVO
Il campo visivo è una parte essenziale di un dispositivo per ipovisione. Uno dei principali vantaggi di questo sistema di lettura rispetto ai sistemi telescopici, è il suo ampio campo visivo, ancora più ampio di quello di una telecamera utilizzata ad una distanza di 40 centimetri.
INGRANDIMENTO
S econdo la nuova normativa ISO il sistema MLA2 si misura in potenza equivalente. Questa da il reale potere per i sistemi o le lenti utilizzate a brevi distanze. Un sistema +40 da un reale ingrandimento retinico pari a 10X su un soggetto emmetrope.
CORREZIONI
ML A2 permette facilmente di incorporare una correzione cilindrica, semplicemente aggiungendo l’anello correttivo sul retro, ed inserendo la lente correttiva di 22 mm, si otterrà la correzione voluta.
UTILIZZO
Questo sistema è inteso per un utilizzo di lettura a breve distanza. Utilizzato esclusivamente per visione monoculare.
DESIGN
Dal momento che le lenti sono costruite in minerale ad alto Indice, è stato possibile ridurre lo spessore del sistema del 30%. Un sistema esteticamente migliore con un maggior campo visivo e qualità di immagine.
FACILE DA MONTARE
I l montaggio di una lente Aplanat ML non potrebbe essere più facile. Grazie alla lente di montaggio preforata, facile da molare ed il sistema di innesto a pressione, si potrà effettuare il montaggio in pochi minuti.
Ampio campo visivo Leggero e compatto
Filtro selettivo
Lente correttiva
* Possibilità di aggiunta di un filtro selettivo e/o di una correzione sfero, cilindrica

ML APLANAT


Ref. M99039
KIT MLAPLANAT - MLA2
Il sistema aplanatico MLAPLANAT che garantisce elevati ingrandimenti (da +8 a +36D) preservando il campo visivo, è comporto da 2 lenti minerali in alto indice che forniscono un’immagine di elevata qualità e rendono il sistema sottile (9 mm) ed esteticamente apprezzabile. E’ possibile incorporare al sistema ML Aplanat una correzione cilindrica e/o un ltro fotoselettivo. Le operazioni di montaggio del sistema sulla montatura sono molto semplici: la lente di montaggio è già preforata e una volta sagomata, l’innesto del sistema è a pressione e non è mai necessario l’utilizzo di collante o spessori. Solitamente abbinato ad una lente smerigliata.
ML A2
Progettato per preservare come nel caso di MLAPLANAT un buon campo visivo anche con poteri di ingrandimento molto elevati, no a +52D. Il sistema è composto da una lente obiettivo di 35 mm in vetro minerale ed una lente oculare di 25 mm in organico; il potere totale è suddiviso tra le due lenti che sono unite da una struttura leggera e che non ostacola la visione periferica.
L’ eventuale correzione cilindrica è incorporata con una ghiera alla lente oculare così come l’aggiunta di un eventuale ltro fotoselettivo. Il montaggio è molto semplice e non richiede collanti o spessori. Il ridotto diametro della lente oculare, rende il sistema adatto all’applicazione su montature anche di calibro molto contenuto Solitamente abbinato ad una lente smerigliata.
Dettaglio componenti : Componenti
05 MLAPLANAT: +12, +16, +20, +24, +28D
06 MLA2: +32, +36, +40, +44, +48, +52

DATI TECNICI:
Ingrandimento: 3 - 9x
Campo visivo: 46° Peso: 20g
Distanza di utilizzo: circa 3 - 8 cm

DATI TECNICI:
Ingrandimento: 2,5 - 13x
Campo visivo: 44° Peso: 10g
Distanza di utilizzo: circa 2 - 8 cm


DATI TECNICI
Distanza di utilizzo: 1,5-2 m
Peso: 14 g
Limite di correzione:
±20 a -10 D
Trattamento antiri esso
ML Prima+
S ebbene un sistema telescopico ad alto ingrandimento può risolvere un problema, a volte potrebbe crearne degli altri.
Il dispositivo telescopico ML VIDI ingrandisce l’immagine poco di meno del doppio.
L'ingrandimento limitato a 1,8X garantisce un campo visivo ampio, permettendo di ridurre la distanza dall'oggetto da visualizzare senza compromettere la visione d'insieme.
Inoltre una limitata distanza rende il sistema ingrandente più stabile e più semplice da utilizzare. ML VIDI è uno dei più e caci e versatili dispositivi telescopici sul mercato, o re una vasta gamma di accessori per la correzione individuale ed altre personalizzazioni.
Sistema Galileiano monoculare o binoculare per vicino e lontano
Sistema galileiano a fuoco fisso (uso monoculare e binoculare)
Campo d’impiego 1,5 - 2 mt:
• Ampio campo visivo e forte ingrandimento ad effetto telescopico.
• Ingrandimento retinico reale maggiore.
• Distanza ravvicinata dell’oggetto = maggiore stabilità dell’immagine.
PER LO SPECIALISTA
SUGGERIMENTI/AVVERTENZE
• Per ottenere il più ampio campo visivo possibile, scegliere una montatura dove il sistema di ingrandimento è più possibile vicino all’occhio.
• Per ottenere l’ingrandimento più elevato, il paziente deve avvicinarsi il più possibile all’oggetto.
• Per uso binoculare, si consiglia l’uso di una montatura con il frontale piatto.
• I Front Lens con prisma per uso binoculare hanno un simbolo sul bordo esterno. la lente va orientata con il simbolo verso il naso (base nasale).
PER OTTENERE LA CORREZIONE PIÚ ADATTA
1 - Posizionare la correzione per lontano (se necessaria) sul retro della montatura di prova.
2 - Posizionare davanti il sistema VIDI.
Nota bene: più il sistema è vicino all’occhio, più ampio è il campo visivo.
3 - Con la correzione base dietro il sistema, la messa a fuoco è a 2 m.
Per provare distanze di lavoro diverse, utilizzare:
• I Front Lens che troverete nel box di prova, montandolo sul fronte del sistema.
• La lente correttiva da posizionare sul retro del sistema.
CON FRONT LENS PER VICINO
Anche quando si usa il computer l’ampio campo visivo è importante.
Da 50 cm è possibile vedere nella sua interezza uno schermo da 15”.
Per distanze tra 20 e 50 cm è necessario l’inserimento di un prisma
a base interna nel Front Lens.
Sistema Galileiano monoculare o binoculare per vicino e lontano
INGRANDIMENTI 1,8X / 1,6X
Trattamento multicoat INCLUSO
•Distanza di utilizzo: 1,5-2 mt
•Peso: 14 g
•Limite di correzione: da ±20 a -10 diottrie


Ref.
M70001KIT
M70021KIT
Sistema telescopico galileiano 1,8X
25° campo visivo
Sistema telescopico galileiano 1,6X
36° campo visivo

Ref. ML VIDI SU PRESCRIZIONE
M70344P Galileiano VIDI con correzione e/o filtro
• Trattamento multicoat: INCLUSO
•Anello correttivo+lente Ø22mm: INCLUSO
•Lente di montaggio: INCLUSA
ACCESSORI PER MONTAGGIO

Ref. M70110
Lente per montaggio neutra

Ref. M70300 Anello correttivo
•Lente per montaggio INCLUSA
•Anello di correzione INCLUSO
È possibile utilizzare ML VIDI per diverse distanze di lavoro grazie all’applicazione di front lens (lenti anteriori) adeguate.
Ref. M70200 potere -0.75
Ref. M70250 potere +5.00 18 cm
Ref. M70201 potere +0.75 1mt
Ref. M70260 potere +6.00 15 cm
Ref. M70210 potere +1.50 50 cm
Ref. M70280 potere +8.00 11 cm
Ref. M74200 potere -0.75
Ref. M74250 potere +5.00 18 cm
Ref. M74201 potere +0.75 1mt
Ref. M74260 potere +6.00 15 cm
Ref. M74210 potere +1.50 50 cm
Ref. M74280 potere +8.00 11 cm
Ref. M70230 potere +3.00 25 cm
Ref. M74286 Flip-up Potere +12.00 8 cm.
Ref. M70240 potere +4.00 20 cm
Ref. M70299 occluso

Ref. M74230 potere +3.00 25 cm
Ref. M74286 Flip-up Potere +12.00 8 cm.
Ref. M74240 potere +4.00 20 cm

Ref. M70211 potere +1.50 Destra
Ref. M70212 potere +1.50 Sinistra
Ref. M70231 potere +3.00 Destra
Ref. M70232 potere +3.00 Sinistra
Ref. M70241 potere +4.00 Destra
Ref. M70242 potere +4.00 Sinistra
Attenzione:
Per utilizzo binoculare acquistare una coppetta destra e una coppetta sinistra di pari potere.

DATI TECNICI
Distanza di utilizzo: da 35 cm a ∞
Campo visivo: 25° - 18°
Peso: 19 g
Limite di correzione: da +10 a -10 D
Trattamento antiri esso
ML Prima+
ML FOCUS è un sistema telescopico galileiano a fuoco variabile.
Con una semplice rotazione si regola la messa a fuoco per le diverse distanze di impiego.
ML FOCUS ingrandisce no a 2.4X garantendo un'ampio campo visivo, quindi una visione ampia anche a distanza rav vicinata
Poiché l’ingrandimento è il risultato di una distanza più breve l'ingrandimento reale sperimentato sulla retina è per no maggiore.
I noltre una breve distanza rende il sistema ingrandente più stabile e più semplice da utilizzare.
ML FOCUS è uno dei più e caci dispositivi telescopici disponibili sul mercato
PER VICINO E LONTANO 1.9X A FUOCO
Sistema telescopico galileiano a fuoco variabile da 35 cm a infinito (uso monoculare):
• Più versatile del ML Vidi.
• Semplice movimento rotatorio per adattare il fuoco alle diverse distanze di lavoro.
Ampio campo visivo equivalente a:
• Osservazione di un oggetto intero a distanza ravvicinata.
• Effetto ingrandimento sulla retina maggiore.
• Oscillazione e piccoli movimenti del capo meno fastidiosi per la visione.

Ref.
M70023KIT
Sistema telescopico galileiano a fuoco regolabile 1,9X 25° campo visivo

Ref. ML FOCUS SU PRESCRIZIONE M70023P Galileiano FOCUS con correzione e/o filtro
• Trattamento multicoat: INCLUSO
•Anello correttivo+lente Ø22mm: INCLUSO
•Lente di montaggio: INCLUSA
ACCESSORI PER MONTAGGIO

Ref. M70110
Lente per montaggio neutra

Ref. M70300 Anello correttivo
•Lente per montaggio
INCLUSA
•Anello di correzione
INCLUSO

Ingrandimento: 1.2X - 1.4X
Campo visivo: 58° - 48°
Peso: 10 g
Trattamento antiri esso
ML Prima+
L’acuità visiva massima non sempre è il fattore più importante da tenere in considerazione. Un campo visivo non limitato, può essere più importante.
ML C OMBI è un nuovo tipo di sistema telescopico galileiano ad ampio campo visivo.

Ref. M73020KIT
Sistema di base 20
DATI TECNICI
•INGRANDIMENTO: 1.2x
•CAMPO VISIVO: 58°
• TRATTAMENTO multicoat


INGRANDIMENTO
Ref. M73040KIT
Sistema di base 40
DATI TECNICI
•INGRANDIMENTO: 1.4x
•CAMPO VISIVO: 48°
• TRATTAMENTO multicoat
Ref. Sistema base 20
M73302P Personalizzato con correzione e/o filtro
Ref. Sistema base 40
M73304P Personalizzato con correzione e/o filtro
• Trattamento multicoat: INCLUSO
•Anello correttivo+lente Ø22mm: INCLUSO
•Lente di montaggio: INCLUSA
Un ingrandimento 1.2x può essere sufficiente per creare un miglioramento significativo dell’acutezza visiva senza causare problemi con un campo visivo limitato e quindi senza implicazioni per l’orientamento.
CAMPO VISIVO
Confrontato con il campo visivo di un sistema telescopico 2x, che raramente supera i 16°-18°, MLCOMBI 20 offre un campo visivo di 58° e MLCOMBI 40 di 48°.
In situazioni in cui la massima acutezza visiva è meno importante di un buon orientamento, la performance visiva può essere migliorata da un basso ingrandimento e da un conseguente miglior campo visivo.
INGRANDIMENTO 1.0x
INGRANDIMENTO 1.4x CAMPO VISIVO 48°
ACCESSORI PER MONTAGGIO

Ref. M70110
Lente per montaggio neutra

Ref. M70300 Anello correttivo
INGRANDIMENTO 2.0x CAMPO VISIVO 18°
•Lente per montaggio INCLUSA
•Anello di correzione INCLUSO
Lenti multifocali di alto potere con aggiunta di segmenti

Gamma poteri: da -30 a +30
Materiale: CR39
Tipo di lente: bifocale, trifocale, multifocale
MLOPTIO é un sistema flessibile in grado di offrire soluzioni creative per incontrare le specifiche richieste dei Pazienti. Il nome deriva dal latino “Optio”, libertà di scelta. Consiste in una lente in cui diversi tipi di segmenti possono essere inseriti in varie posizioni in modo da soddisfare qualsiasi esigenza ed ottenere lenti di potere elevato con un risultato estetico eccellente. In questo modo anche le addizioni più forti non causano salti di immagine non desiderati in fase di lettura.

OPTIO GROUP 2
Lente trifocale costruita con una lente bifocale e l’inserimento di un segmento Optio. La lente bifocale può essere tagliata e utilizzata come segmento. Libera scelta del segmento Optio. HARD COAT standard

OPTIO GROUP 3 - Child
Lente bifocale che utilizza la lente lenticolare o omega con un segmento Optio. Libera scelta del segmento Optio. HARD COAT standard

LENTE PILOTA
Con segmento Optio ALTO. HARD COAT standard

OPTIO GROUP 3
Lente bifocale costruita su una lente lenticolare o omega con un segmento Optio.
Libera scelta del segmento Optio. HARD COAT standard

OPTIO GROUP 4
Lente trifocale costruita su una lente monofocale con due segmenti Optio.
Libera scelta dei segmenti Optio. HARD COAT standard
Prismi diversi in segmenti diversi
•ESEMPIO: prisma “out” nel segmento per lontano e prisma “in” quello per vicino
Forti addizioni
Se l’addizione supera 5dp e la soluzione è di tipo binoculare, si consiglia di aggiungere un prisma a base “in” nella parte da vicino a causa della breve distanza di lettura
Posizionamenti speciali segmenti
Ove richiesto in base alle esigenze personali
Lenticolare più piccolo
Con la lente lenticolare si può adattare alla montatura, come ad esempio nel bambino
Segmenti extra, combinati a lenti multifocali
ESEMPI DI SOLUZIONI VISIVE
Soluzioni avanzate per paziente ipovedente
-1,5
10X
8X
+8,0 orientamento per lontano -1,5 testo 10x titolo 8x orientamento per vicino +8.0
Lente per lavoro di precisione
Lente per visione di precisione
ALenti “BINO”
La soluzione Bino incorporata nelle due lenti
Emianopsia
Lente creata per pazienti dal limitato campo visivo. Guardando verso l’ alto si ottiene una visione periferica
+1,5
+6,0
+10,0 +8,0
Lente “Pilota”, per guidare
- add.
Lente a segmenti verticali
Lavorare con l’ occhio orizzontale nei segmenti più bassi consente un campo visivo più ampio in verticale
30 30






SEGMENTO ALTO
SEGMENTO BASSO
È consigliabile per evitare salti di immagine
SEGMENTO NORMALE
Consigliabile per lenti trifocali e ampi campi visivi verticali
SEGMENTO CURVO
SEGMENTO ELLISSE
Consigliabile quando il potere per lontano è usato sotto il segmento vicino o anche come segmento alto

ML SEGMENTO
Un design ancora più esclusivo con gli stessi vantaggi del segmento ellisse
ISTRUZIONI PER IL TAGLIO DELLA LENTE

Nel caso in cui si decida di tagliare da sé la lente , viene consegnato nella confezione del biadesivo. Esso serve a creare uno spessore e dunque livellare la differenza tra lente base e segmento, come da immagine qui a lato.
In questo modo la macchina da taglio esercita una pressione uniforme sulla lente e si evita di rovinare il segmento. Si consiglia di tagliare la lente 3/4 mm più in alto di un normale bifocale: anzichè tagliare al bordo della palpebra, tagliare al bordo della pupilla (parte inferiore della pupilla). Suggeriamo di utilizzare montature in metallo con nasello regolabile per ovviare al meglio la posizione della lente e del centro ottico.

Il test di Pelli Robson è considerato il metodo più attendibile per la valutazione della sensibilità al contrasto. Il test non è alterato dalla retroilluminazione degli ottotipi digitali. La sensibilità al contrasto è una caratteristica fondamentale per il professionista che deve valutare persone con abilità visive carenti (Visione Sensibileipovisione), fornendo un dato utile anche per testare l’eventuale miglio-ramento della sensibilità al contrasto con filtri fotoselettivi.
Utilizzo ad 1 mt di distanza con illuminazione di 85cd/m² (illuminazione standard esame opto- metrico).
Contiene modulo cartaceo di valutazione
Dimensioni: 83,8 x 56,7cm
DATI TECNICI:
Contrasto: dal 89% a 0,6% (da 0/0,05UL a 2,25/2,30UL)
Step: 0,15UL ovvero 1/(2)0,5 (ossia log0,7) Caratteri
Lettere SLOAN: Distanza 3m (1m) Frequenza sp. 0,5° (4,9cm) ovvero 3-5c/g (ossia circa 1,6/10) Illuminamento da 240 Lux a 480 Lux

Ref. 08435
OTTOTIPO - Chart 1

Ref. 08436
OTTOTIPO - Chart 2
Dispositivo medico conforme al Regolamento UE n. 2017/745
Per test lettura
Ref. 08434
Ottotipo da vicino bifacciale
Il test MN READ è considerato il metodo più attendibile per la valutazione della capacità di lettura dei pazienti con Visione Sensibile e ipovisione, come anche per i normovedenti.
Il Test è anche utile per la valutazione della velocità di lettura, e per individuare la correzione ottica necessaria Molto utili per testare l’efficacia ingrandente di sistemi ottici come ipercorrettivi prismatici, lenti aplanatiche e occhiali progressivi.
I testi di MNREAD sono state sviluppate presso il Minnesota Laboratory for Low-Vision Research dell’Università del Minnesota
Dimensioni: 28 x 35cm FRONTE


Carta di Amsler


Istruzioni in italiano, inglese, tedesco, francese, spagnolo.
PER TESTARE QUALITATIVAMENTE IL CAMPO VISIVO CENTRALE
Ref. 08409
Cartoncino costituito da una griglia bianca su fondo nero (aumenta la sensibilità ai cambiamenti della macula)
Ogni quadrato è costruito con lati da 5 mm e sottende circa 1° di campo visivo alla distanza di 30 cm (distanza di esecuzione del test). È una tecnica qualitativa, di rapida esecuzione, messa a punto per testare il campo visivo centrale (10°) e verificare principalmente la presenza di una degenerazione maculare senile, differenziando uno scotoma relativo o assoluto.
Al soggetto viene chiesto di descrivere cosa vede, se le linee si distorcono ospariscono, mentre la fissazione rimane stabile sul punto centrale. Il test deve essere eseguito senza indossare lenti bifocali o multifocali, occludendo un occhio alla volta e con un’illuminazione ambientale “naturale”.
Dimensioni: 130x175 mm 2 pcs.
30cm
•Migliora la visione da lontano.
•Adatto per vedere la televisione, a teatro e nei musei.
•Alta precisione della messa a fuoco.



Ref. 22490 - 1 pz. 77 g 2X
Carta di Amsler

SET SIMULAZIONE PATOLOGIE IPOVISIONE
Ref. M99044
Acutezza visiva 0.3 e 0.1
Retinopatia diabetica
Maculopatia
Retinite pigmentosa
Emianopsia sinistra plano
Emianopsia destra plano NEW
Sei occhiali che simulano diverse patologie oculari utili a dimostrare alla persona normovedente il problema e il miglioramento di visione del soggetto con patologia.
Ogni occhiale permette di far percepire, ad esempio a un parente, qual è la problematica e di conseguenza la percezione visiva provata dal soggetto con patologia oculare.
Aiuta a creare consapevolezza del problema e l’importanza anche di un piccolo miglioramento, con l’utilizzo di un filtro selettivo che dovrà essere anteposto all’occhiale.


LENTI AMD COMFORT TEST BOX
CON TRATTAMENTO ANTIRIFLESSO PRIMA + Ref. M09050
Due paia LENTI AMD COMFORT su aggiuntivo
•01 Flip-up con lenti AMDI Ingrandimento 3%
•01 Flip-up con lenti AMD COMFORT-II Ingrandimento 6%
LENTI AMD COMFORT FLIPPER KIT
CON TRATTAMENTO ANTIRIFLESSO PRIMA + Ref. M09037
Flipper con lenti piane AMD COMFORT.
•1 coppia AMD I Ingrandimento 3%
•1 coppia AMD II Ingrandimento 6%
KIT per lo specialista - incremento del contrasto e della qualità di visione

Ref. M99034EN
KIT Reduced Vision

Componenti
Il Kit Reduced Vision contiene strumenti di base per la clientela che necessita un controllo peculiare della vista e supporta il professionista, nel controllo visivo a persone con una signi cativa riduzione del visus (visione compresa tra 5/10 e >3/10).
Il kit include sistemi ipercorrettivi prismatici per il vicino, lenti oftalmiche ingrandenti AMD COMFORT e ltri fotoselettivi per incrementare il comfort visivo.
Dettaglio componenti :
01 Occhiale ipercorrettivo prismatico + 4.00 D
01 Occhiale ipercorrettivo prismatico + 6.00 D
01 Flipper di prova lenti ipercorrettive prismatiche +4.00 D /+5.00 D
01 Flipper di prova lenti ipercorrettive prismatiche +6.00 D /+8.00 D
01 Flipper di prova lenti ingrandenti AMD Comfort 3% e 6%
01 Flipper di prova ltri fotoselettivi LLR/C1
01 Flipper di prova ltri fotoselettivi 450 nm / 511nm
01 Flipper di prova ltri polarizzati POL 1 Light 65% e POL 3 Dark 83%
KIT per lo specialista - ausili ottici per ipovisione

Ref. M99041 KIT LOW VISION

Componenti
KIT LOW VISION selezione di ausili ottici, ltri fotoselettivi, lenti speciali per il professionista della visione. Gli ausili sono costruiti per un preciso controllo visivo con la montatura di prova. Ogni dispositivo può essere realizzato con ogni correzione RX. Gli ausili ottici come ad esempio le lenti Aplanatiche, possono essere fornite anche con ltro fotoselettivo.
Dettaglio componenti :
Flipper AMD Comfort 3% e 6%
Flipper LLR/C1, 450/511, 527/550 & Pol1/Pol3
Ipercorrettivi prismatici ML Binova +5, +6, +8, +10 D
ML Vidi Basic System 1,6x e 1,8x
Front Lens ip +3, (2 pz) - Front Lens ip +4, (1pz) Front Lens ip +6, (1pz)
Aplanatici ML APLANAT A2 +32, +36, +48, +52.0 D
Aplanatici ML APLANAT +12, +16, +24, +28 D
ML X- lenti +12.0 D incluso trattamento 400nm +16.0 D incluso trattamento 400nm
KIT per lo specialista - Sistemi aplanatici ad uso monoculare



Il sistema aplanatico MLAPLANAT che garantisce elevati ingrandimenti (da +8 a +36D) preservando il campo visivo, è comporto da 2 lenti minerali in alto indice che forniscono un’immagine di elevata qualità e rendono il sistema sottile (9 mm) ed esteticamente apprezzabile. E’ possibile incorporare al sistema ML Aplanat una correzione cilindrica e/o un ltro fotoselettivo. Le operazioni di montaggio del sistema sulla montatura sono molto semplici: la lente di montaggio è già preforata e una volta sagomata, l’innesto del sistema è a pressione e non è mai necessario l’utilizzo di collante o spessori. Solitamente abbinato ad una lente smerigliata.
ML A2
Progettato per preservare come nel caso di MLAPLANAT un buon campo visivo anche con poteri di ingrandimento molto elevati, no a +52D. Il sistema è composto da una lente obiettivo di 35 mm in vetro minerale ed una lente oculare di 25 mm in organico; il potere totale è suddiviso tra le due lenti che sono unite da una struttura leggera e che non ostacola la visione periferica.
L’ eventuale correzione cilindrica è incorporata con una ghiera alla lente oculare così come l’aggiunta di un eventuale ltro fotoselettivo. Il montaggio è molto semplice e non richiede collanti o spessori. Il ridotto diametro della lente oculare, rende il sistema adatto all’applicazione su montature anche di calibro molto contenuto Solitamente abbinato ad una lente smerigliata.
Dettaglio componenti : Componenti
05 MLAPLANAT: +12, +16, +20, +24, +28D
06 MLA2: +32, +36, +40, +44, +48, +52
tra MLAPLANAT e MLA2
DATI TECNICI:

Ingrandimento: 3 - 9x
Campo visivo: 46°
Peso: 20g
DATI TECNICI:
Ingrandimento: 2,5 - 13x
Campo visivo: 44° Peso: 10g
Distanza di utilizzo: circa 3 - 8 cm

MLAPLANAT MLA2
Distanza di utilizzo: circa 2 - 8 cm
KIT per lo specialista - Sistemi galileiani ad uso monocularte e binoculare

Ref. M99040
KIT MLVIDI - MLFOCUS



Componenti
Il sistema galileiano 1,8X ML VIDI o re un ideale compromesso tra ingrandimento e campo visivo. L’ampio campo visivo permette di inquadrare completamente un oggetto ad esempio lo schermo TV ad una distanza ravvicinata. A breve distanza si avrà una maggior stabilità di immagine. E’ possibile tramite lenti aggiuntive opzionali, ottenere ingrandimenti per il vicino o per la visione all’in nito. MLVIDI può essere utilizzato in monoculare o binoculare per il vicino, per il lontano o per le distanze intermedie.
E’ un sistema galileiano telescopico a messa a fuoco variabile tramite una semplice rotazione della ghiera integrata nel sistema. Ingrandisce da 1.9X no a 2.4X e o re un campo visivo estremamente ampio permettendo di inquadrare completamente un oggetto ad esempio lo schermo TV, ad una distanza ravvicinata a vantaggio di una maggior stabilità di immagine. MLFOCUS può essere utilizzato in monoculare per il vicino, per il lontano o per le distanze intermedie.
Dettaglio componenti :
01 MLFOCUS (Ingrandimento da 1,9X a 2,4X)
02 MLVIDI 1,8X
02 Lenti aggiuntive Flip-up +3.00D
01 Lente aggiuntiva Flip-up +4.00D
01 Lente aggiuntiva Flip-up +6.00D