





www.brenderup.pldk
![]()






www.brenderup.pldk
Wstęp.
Strona 3
Reklamacje . Strona 4
Instrukcja obsługi – wszystkie modele. Strona 6
Zaczepianie. Rozłączanie. Transport. Zaciskanie łożysk kołowych. Załadunek. Blokada zaczepu kulowego. Używanie hamulca ręcznego.
Przeglądy i konserwacja.
Terminy przeglądów.
Strona 8
Konserwacja i regulacja hamulców. Strona 10
Regulacja hamulców i łożysk kół.
Konserwacja burt bocznych. Strona 11
Awarie – przyczyny i rozwiązywanie problemów. Strona 12
Tabela ciśnień w oponach. Strona 13
Prawidłowe ciśnienie w oponach i maksymalny nacisk koła. Układ elektryczny dyszla.
Strona 14 7-bolcowy. 13-bolcowy.
Przyczepy. Strona 16
Załadunek. Akcesoria.
Przyczepy typu Cargo. Strona 17
Załadunek. Akcesoria.
Przyczepy podłodziowe.
Regulacje. Podpora rufy. Holowanie. Obciążenie dopuszczalne. Wodowanie. Hamulce. Łożyska kół. Przechowywanie łodzi.
Transportery samochodowe.
Równomierne rozłożenie ciężaru. Hydrauliczny cylinder przechyłowy.
Strona 18
Strona 21
Transportery urządzeń przemysłowych/Unitransportery. Strona 22
Równomierne rozłożenie ciężaru. Hydrauliczny cylinder przechyłowy.
Trójstronne przyczepy uchylne.
Załadunek. Bezpieczeństwo. Konserwacja.
Instrukcja obsługi podnośnika hydraulicznego
Notatki, Karta serwisowa przyczepy.
Strona 23
Strona 26
Strona 28
Serdecznie gratulujemy zakupu nowej przyczepy Brenderup. Jesteśmy całkowicie pewni, że dostarczy ona Państwu dużo zadowolenia i przyjemności. Chcąc najpełniej wykorzystać możliwości Waszej przyczepy ważne jest, by postępować zgodnie z objaśnieniami i wskazówkami zawartymi w niniejszej instrukcji, do której przeczytania bardzo Państwa namawiamy. Szczególnej uwagi wymagają fragmenty opatrzone specjalnym oznakowaniem wskazującym, że są one istotne dla Państwa bezpieczeństwa. Na końcu książeczki znajdą Państwo kartę serwisową przyczepy zawierającą różne szczegóły techniczne. Jeśli w trakcie użytkowania pojawią się problemy nie opisane w niniejszej instrukcji, prosimy o skontaktowanie się z lokalnym dystrybutorem.
Dystrybutor:
Brenderup Sp. z o.o.- producent przyczep marki Brenderup, oferuje dwuletnią gwarancję na nowe przyczepy. Przedłużona gwarancja jest dostępna na niektóre komponenty i modele przyczep, pod warunkiem, że przyczepa jest serwisowana zgodnie z zaleceniami producenta przez autoryzowanego dystrybutora przyczep produkcji Brenderup). W przypadku reklamacji wymagane będzie potwierdzenie wykonania koniecznych czynności serwisowych. Potwierdzenie musi być wpisane w odpowiednie rubryki karty serwisowej przyczepy z zachowaniem rygoru dystansu jaki przejechała przyczepa (co 10 000 km), jednak nie później niż w wymaganym okresie czasu między kolejnymi przeglądami.
Gwarancją są objęte
• Wymiana lub – według uznania producenta – naprawa wad materiałowych lub konstrukcyjnych, pod warunkiem, że wada powstała w wyniku normalnego użytkowania przyczepy zgodnie z instrukcją. • Naprawy wykonane w okresie gwarancyjnym nie przedłużają gwarancji.
Gwarancję nie są objęte
• Wydatki na regularne serwisowanie i konserwacje wynikające z normalnego zużycia lub z powodu nie używania przyczepy przez dłuższy czas.
• Wady wynikłe z użytkowania przyczepy niezgodnie z instrukcją.
• Wady wynikłe z zastosowania nieoryginalnych części lub prowadzenia napraw przez podmioty inne niż autoryzowany dystrybutor Brenderup.
• Wydatki poniesione w związku z wynajęciem przyczepy zastępczej.
Nowo galwanizowane części są na początku gładkie i srebrzyste. Po krótkim czasie części matowieją, a ich powierzchnia staje się porowata. Jest to zjawisko normalne, spowodowane utlenianiem się części galwanizowanych. Proces ten powoduje, że galwanizacja może być optymalną ochroną przed korozją. Taka wizualna zmiana nie będzie uznawana za ważną podstawę reklamacji.
Krawędzie części wykonanych z blach pregalwanizowanych mogą być pokryte korozją, która z czasem może zaniknąć. Wynika to z przyjętej technologii i nie wpływa w żaden sposób na wartość użytkową wyrobu. To zjawisko również nie będzie uznawane za ważną podstawę do reklamacji.
Proszę pamiętać, że części galwanizowane nie są odporne na kwasy i niektóre związki chemiczne. Dlatego, po podróży na drogach sypanych solą lub po przewozie nawozów lub materiałów kwaśnych należy przyczepę dokładnie spłukać czystą wodą. Sklejka jest materiałem organicznym. Proszę więc pamiętać, że w pewnych warunkach podłoga może ulec wypaczeniu. Nadmierna wilgotność może spowodować wygięcie się podłogi w górę, ale po wyschnięciu drewno powinno wrócić do pierwotnej postaci. Zalecane jest okrycie przyczepy płaską plandeką, która pomoże utrzymać przyczepę zawsze suchą.
Brenderup Sp. z o.o. jako producent przyczep marki Brenderup oferuje 5-letnią gwarancją na łożyska, hamulce najazdowe i osie we wszystkich przyczepach podłodziowych wyposażonych w osie marki Knott: Modele 8116 - 8118 - 8120 - 82208122 - 8222 - 8224 - 8226 oraz wózki do slipowania 8016 - 8018 - 8022 – 8026
Warunki
• Warunki na elementy objęte bądź nie objęte gwarancją są takie jak przedstawione powyżej.
• Warunkiem kontynuacji gwarancji jest serwisowanie przyczepy zgodnie z instrukcją zawartą w karcie gwarancyjnej, oraz monitorowanie stanu wyżej wymienionych komponentów przez dystrybutora Brenderup.
• Proszę pamiętać o stemplowaniu karty serwisowej przyczepy po każdej czynności serwisowej.
Karta serwisowa stanowi dowód na to, że przestrzegano terminów przeglądów.

Zamocowanie
1. Przymocuj przyczepę do haka holowniczego samochodu.
2. Jeśli przyczepa posiada kabel bezpieczeństwa, przytwierdź go we właściwym miejscu. Ważne jest aby kabel bezpieczeństwa był podłączony bezpośrednio z przyczepy do haka holowniczego.
3. Podłącz zasilanie poprzez włożenie wtyczki z przyczepy do gniazdka w haku holowniczym.
Zanim ruszysz
1. Upewnij się, że przyczepa jest poprawnie zamocowana do samochodu. Aby to sprawdzić unieś ramię dyszla przyczepy. Niektóre z zaczepów kulowych mają czerwone/zielone wskaźniki pokazujące czy przyczepa jest poprawnie zamocowana.
2. Upewnij się, że światła przyczepy działają poprawnie.
3. Upewnij się, że ładunek jest równomiernie rozłożony i odpowiednio zabezpieczony.
Rozłączanie
1. Wyjmij wtyczkę i umieść ją w uchwycie.
2. Odłącz kabel bezpieczeństwa.
3. Zdejmij przyczepę z haka holowniczego samochodu. Podnieś przyczepę z haka holowniczego trzymając za uchwyt. Przy podnoszeniu pamiętaj o ciężarze ładunku. Jeśli nacisk na koło wsporcze będzie zbyt duży, może to spowodować zniszczenie koła lub w najgorszym wypadku zniekształcenie elementów holowniczych i zamocowań.
Podróżowanie
Podróżowanie z przyczepą po głównych trasach nie powinno sprawiać problemów ponieważ rama typu „A-frame Brenderup” zapewnia znakomitą stabilność na drodze. Unikaj podróżowania z przyczepą do transportu koni lub przyczepą z wysokim brezentem przy silnych wiatrach bocznych, zwłaszcza jeśli przyczepa jest pusta. Cofanie z przyczepą wymaga trochę praktyki. Podczas cofania przyczepa jest prowadzona przez kulę na dyszlu. W efekcie będziesz musiał skręcać samochód w kierunku odwrotnym niż kierunek w którym ma się docelowo poruszać przyczepa. Nie poddawaj się od razu, poćwicz trochę, na przykład na pustym parkingu. Przy przewożeniu ładunków dłuższych niż przyczepa, tylnia burta nie może być używana jako przedłużenie przyczepy. Łańcuchy nie zostały zaprojektowane na utrzymywanie obciążenia. Zamiast tego, usuń tylnią burtę i umieść ją na przyczepie lub w samochodzie. Najlepszym rozwiązaniem jest zamontowanie bagażnika drabinkowego na przyczepie.
Dokręcenie kół
Niezmiernie ważne jest to, żeby śruby w kołach zostały dokręcone po około 30 km i sprawdzane regularnie przez pierwsze 1000 km.
Obciążenie zaczepu można łatwo sprawdzić np. za pomocą zwykłej wagi łazienkowej.
Ustaw wagę dokładnie pod głowicą kuli. Przygotuj odpowiedniej długości wygięty pręt do podparcia, tak aby przyczepa stała w pozycji poziomej, następnie podłóż pod pręt kawałek drewna i umieść go na wadze, tak aby nacisk od zaczepu był równomiernie na niej rozłożony i odczytaj wartość.
Blokada zaczepu kulowego.
Dobra blokada zaczepu kulowego zmniejszy ryzyko kradzieży. Lokalny dystrybutor Brenderup z chęcią zaprezentuje różne rodzaje blokad i rozwiązań, które można stosować w Państwa przyczepie.
Używanie hamulca ręcznego. W przyczepach z automatyczną blokadą cofania są dwa rodzaje hamulca ręcznego.
A. Hamulec ręczny ze sprężyną gazową.
Ten typ hamulca uruchamia się poprzez zaciągnięcie hamulca ręcznego poza punkt centralny, co spowoduje zaciśnięcie hamulca przez sprężynę gazową utrzymującą hamulec w pozycji roboczej.
B. Hamulec ręczny bez sprężyny gazowej.
Ten rodzaj hamulca ręcznego nie będzie w pełni działał dopóty, dopóki dźwignia hamulca nie zostanie ustawiona w pełnej pozycji pionowej, kiedy to cylinder sprężynowy zostanie zaciśnięty w pręcie hamulcowym.
Uwaga: Jeśli dźwignia hamulca ręcznego nie zostanie ustawiona w pozycji pionowej, przyczepa będzie hamowana przed poruszaniem się w przód, ale nie przed cofaniem się.
Załadunek
Podczas podróżowania z przyczepą bardzo ważny dla stabilności jazdy jest prawidłowy nacisk na kulę haka holowniczego. Nacisk powinien wynosić minimum 4% całkowitego rzeczywistego ciężaru przyczepy, lub 25 kg. Cięższy ładunek to zazwyczaj zaleta, jednak nie należy przekraczać maksymalnego dozwolonego nacisku na kulę haka dla danego samochodu/przyczepy – szczegółowy opis znajduje się w dokumentacji samochodu/przyczepy. Przyczepa jest zaprojektowana w taki sposób, że środek ciężkości znajduje się tuż przed osią. Podczas załadunku przyczepy należy starać się równomiernie rozkładać ciężar, i jak najbliżej przodu przyczepy. Nacisk ujemny na kuli holowniczej – gdy przyczepa jest przeładowana z tyłu – jest niebezpieczny, gdyż powoduje odciążenie przodu pojazdu, co pogarsza sterowność całego zestawu. Może to być katastrofalny w skutkach i powodować wpadanie samochodu i przyczepy w poślizg. Jeśli taka sytuacja wystąpi należy natychmiast zwolnić hamując i/lub redukując biegi.
Aby zapewnić właściwe funkcjonowanie przyczepy i utrzymać jej gotowość eksploatacyjną, należy dokonywać przeglądów u autoryzowanych dystrybutorów Brenderup zgodnie z zaleceniem producenta.
Brenderup Sp. z o. o. produkuje szeroką gamę przyczep do różnych zastosowań. Przeglądy różnią się w zależności od tego czy dotyczą przyczep niehamowanych czy hamowanych. Są przewidziane procedury przeglądów dla specjalnych rodzajów przyczep, takich jak uchylne, lawety urządzeń przemysłowych, itp. Jednak wykonanie następujących czynności wymagane jest zawsze w przeglądach obowiązkowych.
Zakres czynności podczas przeglądu w autoryzowanym serwisie:
PRZYCZEPY NIEHAMOWANE Po miesiącu lub 1,000 km. Co 12 miesięcy lub 10,000 km Dod. prace co 6 lat
Podwozie - Koła/łożyska kół T T
Opony C C R
Ciśnienie w oponach C C
Zaczep kulowy T C+L
Mocowanie wałowe T C
Elementy sprężyste zawieszenia. C
Belki i wsporniki C
Łożyska kół/prześwity C+L
Elektryka - Wtyk 7/13 pinowy C Światła C
Reflektory C
Kable/mocowania kabli C
Konstrukcja - Zawiasy C+L
Zamknięcia C+L
Podłoga C
Burty boczne C
Drzwi, zasuwy i rampy C
Dla przyczep podłodziowych, proszę również zapoznać się z instrukcją Knott, Program serwisowy, strony 40-45 oraz strony 77, 84, 85, 86 i 87.
C = Sprawdż L = Nasmaruj A = Ustaw R= Wymień T= Dokręć
PRZYCZEPY HAMOWANE Po miesiącu lub 1,000 km.
Co 12 miesięcy(3 dla lawet) lub 10,000 km*
Podwozie - Koła/łożyska kół T T
Hamulce kół A C + A
Łożyska kół/prześwity C + L
Hamulec przewody/pręty C
Opony C C R
Ciśnienie w oponach C C
Zaczep kulowy T C+L
Hamulec najazdowy T + C + L C+L
Kabel bezpieczeństwa C
Mocowanie wałowe T C
Elementy sprężyste zawieszenia. C
Amortyzatory (jeśli zamontowane) C
Belki i wsporniki C
Elektryka - wtyk 7/13 bolcowy C
Światła C
Reflektory C
Kable/mocowania kabli C
Konstrukcja - Zawiasy C+L
Zamknięcia C+L
Podłoga C
Burty boczne C
Drzwi, zasuwy i rampy C
Dod. prace co 6 lat
*) W przypadku gdy przyczepa jest używana na długich dystansach z dużym obciążeniem, konieczne może być ustawianie hamulców w kołach co 5,000 km.
W przypadku przyczep typu Laweta samochodowa (modele: U110B, U120B, Autotransporter Bravo) w związku z dużą intensywnością użytkowania wymagane są przeglądy nie rzadziej niż co 3 miesiące.
Dla przyczep podłodziowych, proszę również zapoznać się z instrukcją Knott, Program serwisowy, strony 40-45 oraz strony 77, 84, 85, 86 i 87.
C = Sprawdż L = Nasmaruj A = Ustaw R= Wymień T= Dokręć
UWAGA: Obowiązek bieżącego kontrolowania oraz dbania o prawidłowy stan techniczny przyczepy spoczywa na jej użytkowniku.
Hamulce należy systematycznie regulować i konserwować. Zalecamy, aby naprawy i regulacje hamulców przeprowadzali wyłącznie uprawnieni specjaliści.
Regulacje i przeglądy hamulców należy wykonywać zgodnie z poniższymi instrukcjami. Zdejmij kołpak, żeby uzyskać dostęp do nakrętki zabezpieczającej. Następnie usuń nakrętkę zabezpieczającą i bęben hamulcowy, aby dostać się do klocków hamulcowych, sprężyn, śrub regulacyjnych, itp. Po wykonaniu konserwacji i regulacji niezmiernie ważne jest, aby NIE używać ponownie tej samej nakrętki zewnętrznej, lecz zastąpić ją nową, oryginalną nakrętką i dokręcić ją kluczem dynamometrycznym.
Regulacja
Skompensuj zużycie okładzin hamulcowych poprzez regulację klocków hamulcowych. Podnieś przyczepę tak, aby uwolnić koła. Zwolnij hamulec ręczny i dokręć śrubę regulacyjną aż okładzina hamulcowa dotknie powierzchni bębna hamulcowego. Następnie poluzuj śrubę regulacyjną o 7-9 rowków, aż bęben hamulcowy zacznie się luźno obracać. Na koniec ustaw śrubę kulową na pręcie prowadnicy hamulca tak, żeby zostawić około 45 mm prześwitu od punktu zacisku.
Co 12 miesięcy (3 dla lawet samochodowych) lecz nie rzadziej niż co 10000km.
W ciągu tego okresu zaleca się sprawdzanie czy ilość i stan smaru dla części ruchomych są optymalne. Wymieniać tez należy okładziny hamulcowe i uszkodzone sprężyny.
UWAGA: podczas wymiany bębna hamulcowego zawsze należy używać nowej oryginalnej nakrętki. Nakrętkę należy dokręcać kluczem dynamometrycznym – 28-30 kGm.
Łożyska kół
Większość współczesnych przyczep wyposażona jest w bezobsługowe łożyska, zaopatrzonych w odpowiednią ilość smaru przez producenta. Dlatego nie jest już konieczne sprawdzanie ilości smaru w łożyskach.
Jeśli łożysko zostanie uszkodzone, cały bęben hamulcowy musi zostać wymieniony ponieważ łożysko jest integralną częścią bębna hamulcowego.
Zbieżność
Przeglądy kątów pochylenia kół i zbieżności powinny być przeprowadzane w razie nierównomiernego zużycia opon. Tylko niektóre typy osi wymagają regulacji. Zapytaj o poradę u autoryzowanego dystrybutora Brenderup.
Przyczepy z burtami ze sklejki
Przyczepy Brenderup z burtami ze sklejki wyposażone są w najwyższej klasy wodoodporną sklejkę, która została zabezpieczona fenolem, dzięki czemu nie wymaga żadnych zabiegów konserwacyjnych. Jednak, po pewnym czasie sklejka może zmatowieć. Najlepszym sposobem na jej renowację jest pokrycie drewna bezkwasowym olejem lub mieszanką nieoczyszczonego oleju lnianego i terpentyny w proporcji 1:1. Pokryj drewno dużą ilością oleju i po około 15 minutach zetrzyj nadmiar oleju suchą ściereczką.
Seria 7000 jest wyposażona w nowy rodzaj sklejki pokrytej folią PPL, która jest odporna na wodę i kurz. Ten rodzaj sklejki nie pochłania wody i nie wymaga konserwacji.
Przyczepy z burtami z aluminium
Burty aluminiowe prawie w ogóle nie wymagają konserwacji Unikaj czyszczenia ich silnymi środkami alkalicznymi ponieważ te wchodzą w reakcję chemiczną z aluminium. Atrakcyjny wygląd najlepiej uzyskuje się stosując wosk samochodowy.
Części galwanizowane
Jak już wspomniano, części galwanizowane muszą się “utlenić” zanim powłoka galwanizacyjna będzie stanowiła skuteczną ochronę przed korozją. Powłoka galwaniczna nie jest w pełni skuteczna dopóki nie zmatowieje.
Zobacz także punkt o galwanizacji na stronie 4.
Przyczepa wpada w poślizg podczas hamowania
Przyczepa hamuje zaraz po zwolnieniu pedału gazu
Przyczepa szarpie przy hamowaniu
Przyczepa “stuka”
Cofanie jest utrudnione lub niemożliwe
Hamulce się przegrzewają
Hamulce w kołach są źle wyregulowane.
Amortyzator w hamulcu jest uszkodzony.
Amortyzator jest uszkodzony.
Zaczep kulowy jest zużyty.
Hamulce są zbyt mocno dociśnięte.
Hamulce są nieprawidłowo wyregulowane. Przewód hamulcowy jest pęknięty lub zablokowany i nie wraca do pozycji neutralnej. Sprężyna powrotna na klocach hamulcowych jest poluzowana lub pęknięta. Hamulec ręczny nie został całkowicie zwolniony.
Przyczepa hamuje bez przerwy. Okładki hamulcowe przywarły do bębna hamulcowego po długim czasie nie używania.
Wyreguluj hamulce i sprawdź czy przewody hamulcowe nie są zardzewiałe.
Wymień amortyzator.
Wymień amortyzator.
Wymień zaczep kulowy.
Wyreguluj hamulce.
Wyreguluj hamulce.
Uwolnij okładki poprzez delikatne uderzenia w bok płyty kotwiącej. Nie używaj hamulca ręcznego jeśli przyczepa nie jest eksploatowana przez dłuższy okres.
Ciśnienie w oponach
Różne rodzaje opon wymagają różnego ciśnienia, aby prawidłowo funkcjonować i nie zużywać się zbyt szybko. Odczytaj zalecane ciśnienie w oponach z poniższej tabeli. Jeśli przyczepa nie jest używana przez dłuższy okres czasu, należy ją osadzić na podpórkach (mniejsze przyczepy można parkować pionowo). To pozwoli uniknąć stałego nacisku, który z czasem może zdeformować opony.
Moment dokręcania śrub w kołach powinien wynosić 110-120 Nm (11-12 kgm).
Zawieszenie
Wszystkie przyczepy Brenderup są wyposażone w osie skrętne z tulejami gumowymi, co umożliwia stabilną jazdę. System ten jest bezobsługowy. Naprawy systemu zawieszenia mogą być dokonywane tylko u producenta.
Jeśli przypadkowo uszkodzisz wtyczkę elektryczną, niniejszy diagram może ułatwić naprawę.

7-pinowy (wtyk widziany od strony tylnej)
1 L Żółty Kierunkowskaz, lewy
2 54G Niebieski Zaślepka (tylne światło przeciwmgłowe?)
3 31 Biały Uziemienie
4 R Zielony Kierunkowskaz, prawy
5 58R Brązowy Prawe tylne światło, światło boczne, światło postojowe, oświetlenie tablicy rejestracyjnej.
6 54 Czerwone światła hamulcowe
7 58L Czarny Lewe tylne światło, światło boczne, oświetlenie tablicy rejestracyjnej, światło postojowe.

13-pinowy (wtyk widziany od strony tylnej)
Jeśli samochód jest wyposażony w gniazdko 13-wtykowe, adapter do podłączenia wtyczki przyczepy.
1 Fioletowy Kierunkowskaz, lewy
2 Niebieski Zaślepka (tylne światło przeciwmgłowe?)
3 Biały Uziemienie (dla pinów nr 1-8)
4 Czarny/biały Kierunkowskaz, prawy.
5 Brązowy Prawe tylne światło, świtało boczne, światło postojowe, oświetlenie tablicy rejestracyjnej.
6 Czerwone światła hamulcowe
7 Czarny Lewe tylne światło, światło boczne, oświetlenie tablicy rejestracyjnej, światło postojowe.
8 Czarny/żółty Lampa tylna
9 Czerwony/czarny Zasilanie (stały dodatni)
10 Czarny/biały Przewód ładujący (dodatni) do ładowania baterii przyczepy
11 Zaślepka
12 Zaślepka
13 Biały Uziemienie (dla bolców nr 9-12)
Załadunek
Tabliczka znamionowa na podwoziu przyczepy oraz dowód rejestracyjny określa ciężar brutto przyczepy. Ciężar ładunku równa się ciężarowi brutto przyczepy minus ciężar przyczepy. Przestrzegamy przed przeciążeniem przyczepy ponieważ wpływa to negatywnie na bezpieczeństwo jazdy. Przeciążanie, oprócz tego, że jest niezgodne z przepisami, może także spowodować zniszczenie opon, osi i ramy podwozia, a także narusza warunki gwarancji.
Przykład przeciążenia:
Przyczepa typu 2205 ma dopuszczalną ładowność wynoszącą 325 kg. Wymiary skrzyni transportowej to 2.05 x 1.30 x 0.40 m, co daje objętość około 1.0 m3. Jeśli przestrzeń ładunkowa przyczepy zostanie całkowicie wypełniona piaskiem, wówczas ciężar ładunku będzie wynosił około 1,700 kg, czyli znacznie przekraczał dopuszczalną wartość.
Akcesoria Jesteśmy pewni, że twój lokalny dystrybutor Brenderup dołożył wszelkich starań, aby pomóc ci w wyborze modelu.
Dlatego napomkniemy jedynie tutaj o szerokiej gamie akcesoriów takich jak koło wsporcze, nóżki wsporcze, plandeka płaska i wysoka, dodatkowe burty , zamykana pokrywa i pokrywa plastikowa lub z włókna szklanego.
Wszystkie oryginalne akcesoria są równie wysokiej jakości co przyczepy Brenderup.
Poproś lokalnego dystrybutora Brenderup, o prezentację naszych akcesoriów.




Załadunek
Aby warunki jazdy były jak najlepsze należy równomiernie rozłożyć ładunek na całej przestrzeni. Często zdarza się, że towary są opierane o przednią przegrodę, co powoduje nadmierny nacisk na kulę haka holowniczego. Ładunek należy także zabezpieczyć wewnątrz przyczepy, tak, aby się nie przemieszczał. W przypadku ładunków skupionych, ciężar należy rozłożyć za pomocą podłogi pośredniej. Wygodnym rozwiązaniem może być zamocowanie stałego wzmocnienia podłogi przyczepy.
Ciężar ładunku na rampie najazdowej nie może przekroczyć podanej na niej wartości.
Akcesoria
Przy transporcie wysokich ładunków, zalecane jest zamontowanie dodatkowych prowadnic mocujących, aby zabezpieczyć ładunek przed przewróceniem się. Jeśli zajdzie potrzeba załadowywania i rozładowywania przyczepy nie podczepionej do samochodu, należy użyć podpór i koła wsporczego. W szczególności dotyczy to jedno-osiowych przyczep
Regulacja
Przed pierwszym użyciem przyczepy podłodziowej zaleca się poświęcenie większej uwagi na dokładne spasowanie krawędzi łodzi i przyczepy.
Czas na to poświęcony zwróci się z nawiązką gdyż późniejsze ładowanie i rozładowywanie będzie dużo szybsze i łatwiejsze.
Twój dystrybutor Brenderup chętnie udzieli ci rady i pomocy. Jeśli regulacja wymaga przemieszczenia osi koła, pręt prowadnicy hamulca należy także ponownie ustawić. Oto kilka pożytecznych wskazówek dotyczących dopasowywania przyczepy do łodzi:
Waga i długość łodzi musi być dostosowane do modelu przyczepy Wymiary i ciężar łodzi mają istotne znaczenie. Ciężar jest ważny w związku z dopuszczalnym obciążeniem przyczepy. Pamiętaj, żeby zsumować ciężar wyposażenia, silnika i benzyny z ciężarem własnym łodzi.
Długość łodzi musi być właściwa, żeby nie przeciążyć kadłuba. Zgodnie z zaleceniami producentów łodzi, maksymalna odległość od tylnej rolki nośnej stępki do końca kadłuba nie może przekroczyć 80 cm. Użycie łodzi jako ogromnego bagażnika może być kuszące, ale upewnij się, że przyczepa nie jest przeciążona. Jeśli masz wątpliwości co do całkowitego ciężaru, zalecamy próbne ważenie, na przykład na ogólnodostępnej wadze pomostowej.
Łódź musi spoczywać na stępce i być podtrzymywana przez podpory rolkowe boczne/podpory rolkowe duże
Aby uniknąć przeciążenia kadłuba łodzi i usprawnić ładowanie i rozładowywanie łodzi z przyczepy, musi ona spoczywać na rolce stępki i być podtrzymywana przez podpory boczne/podpory rolkowe duże - powtórzone Oto jak należy prawidłowo ustawić przyczepę podłodziową:
Zwykłe rolki
Podpory boczne
• Jako zasadę należy przyjąć montowanie tylnych podpór bocznych maksymalnie z tyłu ramy, a przednie podpory boczne ustawić w miejscu najlepszego podtrzymania łodzi. Wysokość podpór bocznych ustawić w najniższym położeniu.
Wciągnij łódź i dopasuj rolki stępki:
• Wciągnij łódź na przyczepę używając przyciągarki. Aby uzyskać optymalne ułożenie środka ciężkości, odległość pomiędzy kadłubem łodzi a błotnikami musi być jak najmniejsza, najlepiej 20-30 mm. Jeśli zajdzie konieczność, wyładuj łódź i ustaw rolkę stępki na odpowiedniej wysokości. Jeśli łódź ma płaskie dno, podnieś rolki stępki do najwyższego możliwego położenia.
Ustaw podpory boczne w celu podparcia łodzi:
• Wyprostuj łódź za pomocą podpór bocznych. Odległość pomiędzy kadłubem a błotnikami musi być identyczna po obu stronach. W razie potrzeby, użyj lewarka do
podniesienia podpór bocznych w odpowiednie położenie. Podpory boczne nigdy nie mogą unieść łodzi z rolki stępki.
Podpory rolkowe duże
Podpory boczne i podpory rolkowe duże:
• Jeśli tylna część kadłuba łodzi jest płaska, podpory rolkowe duże należy zamontować jak najbliżej podwozia a rolki stępki podnieść do najwyższego położenia.
• Ustaw przednie podpory boczne w najniższym położeniu w miejscu najlepszego podparcia łódź.
Wciągnij łódź za pomocą przyciągarki i upewnij się, że łódź opiera się na stępce:
• Wciągnij łódź na przyczepę używając przyciągarki. Odległość pomiędzy kadłubem łodzi, a błotnikami musi być jak najmniejsza, najlepiej 20-30 mm. Jeśli zajdzie konieczność, wyładuj łódź i ustaw rolkę stępki na odpowiedniej wysokości.
Dopasuj podpory rolkowe duże do odpowiedniej wysokości:
• Łódź nie może być zawieszona na podporach dużych, lecz musi opierać się na rolkach stępki. Gdy uzyskasz prawidłową odległość pomiędzy błotnikami a kadłubem łodzi, ustaw podpory duże w odpowiednim położeniu. Podnieś przednie podpory boczne do kadłuba łodzi, w razie potrzeby używając lewarka.
Podpora rufy
Dopasuj ogranicznik rufy do łodzi. Zarówno kąt ułożenia jak i wysokość są regulowane. Podporę rufy można wysuwać i ustawić w takim położeniu przy którym nacisk na kulę haka holowniczego jest właściwy, 40-50 kg. Podczas transportu nie wystarczy mocowanie łodzi do podpory rufy za pomocą przyciągarki, ponieważ linka może się poluzować w trakcie jazdy.
Dlatego należy przymocować łódź do podpory rufy za pomocą odpowiednich pasów lub podobnego zabezpieczenia. Aby zapewnić całkowite bezpieczeństwo łodzi na przyczepie, należy ją unieruchomić pasami. Klamry na wiązania ułatwiają mocowanie łodzi.
Belka ze światłami
Przyczepa jest wyposażona w belkę ze światłami, którą można zdjąć przy załadunku i wyładunku. Po otwarciu zamknięć zatrzaskowych, zdjęcie belki ze światłami jest bardzo proste. Pamiętaj o umieszczeniu wtyczki w uchwycie na błotniku.
Wodowanie
Podczas wodowania przyczepę należy zanurzać tylko do wysokości obręczy kół. Nie zaleca się zanurzania hamulców, kabli, itp. Nie powinno to być zresztą konieczne ponieważ wszystkie rolki na przyczepie podłodziowej w zupełności wystarczają do wodowania i załadunku łodzi.
Hamulce
Jeśli woda przedostanie się do hamulców, niezbędne stają się częstsze przeglądy serwisowe. Słona woda powoduje korozję. Przyczepy hamowane można dodatkowo wyposażyć w zestaw do wypłukiwania słonej wody z hamulców.
Łożyska
Wszystkie przyczepy podłodziowe, z wyjątkiem modeli 8114 i 8115, są wyposażone w wodoszczelne łożyska o pięcioletniej gwarancji. W modelach 8114 i 8115 zalecamy częste przeglądy i smarowanie łożysk.
Przechowywanie łodzi
Przyczepa podłodziowa została zaprojektowana głównie z myślą o transporcie łodzi, ale może jej także używać do przechowywania łodzi. Jeśli jednak łódź ma być parkowana na przyczepie przez dłuższy czas (dłużej niż 2 tygodnie), zaleca się podparcie przyczepy wspornikami w celu zlikwidowania nacisku na koła i podwozie, i tym samym obniżenia ryzyka deformacji. Podkładki podporowe są przydatne do zmniejszania nacisku na kadłub łodzi w czasie dłuższego parkowania łodzi w okresie zimowym.
Osprzęt opcjonalny
Niektóre modele łodzi wymagają czasem adaptacji osprzętu w przyczepie. Informacji dotyczących optymalizacji funkcji przyczepy za pomocą wyposażenia specjalnego udzieli Państwu dystrybutor.
W przypadku przyczep transporterów samochodowych „lawet” (modele: U110B, U120B, Autotransporter ), w związku z dużą intensywnością użytkowania wymagane są przeglądy co 10 000km lecz nie rzadziej niż co 3 miesiące.
Równomierne rozłożenie ciężaru
Niezmiernie ważne jest takie zrównoważenie ciężaru ładunku na platformie, żeby nacisk na kulę haka holowniczego wynosił od 50 do 100 kg. Podjechanie samochodem za blisko przedniej krawędzi przyczepy może skutkować zbyt silnym naciskiem na kulę haka holowniczego. Do unieruchomienia samochodu na platformie służą specjalne podstawki klinowe pod koła dostępne w ofercie dodatkowego wyposażenia. Podczas transportu obydwa mocowania blokujące platformę w pozycji transportowej muszą być zamknięte.
Podnośnik hydrauliczny
Załadunek
Zawór musi być zamknięty. Przechyl platformę ręcznie. Następnie raz lub dwa razy napompuj, aby ustabilizować platformę na ziemi.
Pozycja transportowa
Ostrożnie otwórz zawór, a platforma automatycznie powróci do pozycji poziomej.
Jeśli tak się nie stanie oznacza to, że ciężar jest nierównomiernie rozłożony.
Wyładunek
Przy zamkniętym zaworze pompuj platformę aż opadnie.

Równomierne rozłożenie ciężaru
Niezmiernie ważne jest takie zrównoważenie ciężaru ładunku podczas ładowania, żeby nacisk na kulę haka holowniczego wynosił od 50 do 100 kg. Załadowanie zbyt blisko przedniej krawędzi może skutkować zbyt silnym naciskiem na kulę haka holowniczego. Podczas transportu obydwa mocowania blokujące platformę w pozycji transportowej muszą być zamknięte.
Podnośnik hydrauliczny
Załadunek
Zawór musi być zamknięty. Przechyl platformę ręcznie. Następnie raz lub dwa razu napompuj, aby ustabilizować platformę na ziemi.
Pozycja transportowa
Ostrożnie otwórz zawór, a platforma automatycznie powróci do pozycji poziomej. Jeśli tak się nie stanie to oznacza, że ciężar jest nierównomiernie rozłożony.
Wyładunek
Przy zamkniętym zaworze pompuj platformę aż opadnie.

Załadunek
Tabliczka znamionowa na podwoziu przyczepy określa ciężar brutto przyczepy.
Ciężar ładunku równa się ciężarowi brutto przyczepy minus ciężar przyczepy.
Przestrzegamy przed przeciążeniem przyczepy. Dla przykładu: wymiary dna przyczepy wynoszą 3.08x1.79x0.4 m = 2.20 m3. Jeśli przyczepę wypełni się piaskiem, ładunek będzie ważył około 3, 750 kg, co mieści się w zakresie całkowitej ładowności około 4,500 kg.
Bezpieczeństwo
Podczas serwisowania akumulatora, itp. pomiędzy podwoziem a korpusem przyczepy musi być zamontowana tuleja.
Konserwacja
Pompa hydrauliczna – wymiana oleju
Zazwyczaj nie ma potrzeby wymiany oleju hydraulicznego. Sprawdzaj czystość oleju raz do roku. Jeśli olej nie jest czysty, wymień go. Olej może stać się gęstszy zimą z powodu niższych temperatur. W takim wypadku wymień olej na rzadszy lub rozcieńcz go. Wymieniony lub rozcieńczony olej nie musi być ponownie wymieniany na okres letni. Przed przechyleniem przyczepy upewnij się, że oba kołki zabezpieczające są umieszczone pomiędzy podwoziem a korpusem przyczepy.


Złącza kulowe Nasmaruj złącza kulowe smarem.
Przegub kulowy na trzonie tłokowym.
Przegub kulowy na trzonie tłokowym nie może być suchy. Nasmaruj przegub kulowy smarem.





Łożyska
Nasmaruj łożyska trzonu hydraulicznego olejem.
Zapinacze burtowe
Zapinacze burtowe należy smarować olejem.
Przyczepa uchylna z zestawem najazdowym
Nasmaruj zasuwę drzwiową odpowiednią ilością oleju.
Rygle obrotowe
Nasmaruj rygle obrotowe odpowiednią ilością smaru. Wszelkie części ruchome należy konserwować olejem.
Części sprzęgające
Nasmaruj części sprzęgające olejem. Nasmaruj złączki wkrętne.


Śruba koła wsporczego Nasmaruj śrubę koła wsporczego olejem.
Ładowanie akumulatora Zestaw narzędziowy w trójstronnych przyczepach uchylnych zawiera gniazdo do ładowania. Podłącz gniazdo do ładowania do przewodów urządzenia ładującego.
Trójstronna przyczepa uchylna z pompą elektryczną Wyczyść sprężynę i nasmaruj ją olejem. Jeśli sprężyna zardzewieje, platformy nie będzie można uchylać.

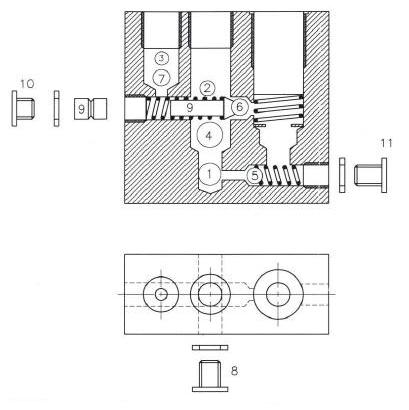
Niniejsza instrukcja dotyczy obsługi podnośników o numerach 08643 (A) & 17058 (B)
Przed zamontowaniem i użyciem podnośnika należy wykonać następujące czynności:
1.Przytwierdzić podnośnik za pomocą dwóch bolców mocujących i zawleczek.
2.Poluzować śrubę odpowietrzającą (1) zbiornika olejowego (śruba znajduje się w centrum nakrętki wlewu) przekręcając o jeden obrót przeciwnie do ruchu wskazówek zegara. Umożliwi to swobodny przepływ oleju pomiędzy zbiornikiem a cylindrem bez efektu próżni lub nadciśnienia w zbiorniku olejowym.
PAMIĘTAJ aby następnie zakręcić śrubę odpowietrzającą zapobiegając w ten sposób wylaniu się oleju w czasie ewentualnego transportowania podnośnika lub gdy podnośnika nie można przechowywać tak, aby dźwignia pompy (2) znajdowała się w pozycji pionowej. Jeżeli tłok teleskopowy nie wysuwa się prawidłowo a dźwignia pompy sprężynuje może to oznaczać obecność pęcherzyków powietrza wewnątrz pompy i cylindra.
INSTRUKCJE:
1.Załadunek: zaciągnij dźwignię pompy do tyłu, przechyl ręcznie tył przyczepy i zakręć zawór (3). Podpompuj kilkukrotnie dźwignią i upewnij się że tył przyczepy spoczywa na ziemi. Przyczepa jest teraz gotowa do załadunku.
2.Bardzo ostrożnie odkręć zawór (3); skrzynia przyczepy powinna powrócić do pozycji pierwotnej (poziomej) – jeśli tak się nie stanie to należy przemieścić ładunek ku przodowi przyczepy.
3.Rozładunek: zaciągnij dźwignię pompy do tyłu. Zakręć zawór (3). Pompuj dopóki skrzynia nie przechyli się całkowicie i będziesz mógł bardzo ostrożne zjechać pojazdem z przyczepy. Gdy pojazd znajdzie się poza przyczepą możesz za pomocą zaworu (3) przywrócić skrzynię przyczepy do pierwotnej pozycji.
4.Odkręć zawór. Ręcznie unieś przyczepę do pozycji poziomej.
ODPOWIETRZANIE – Poprawnie odpowietrzanie należy wykonać w następujący sposób:
Trzymaj podnośnik w pozycji pionowej ze zbiornikiem olejowym skierowany ku dołowi. Odkręć zawór zwrotny (3) i pompuj dźwignią (2) tak długo aż poczujesz opór przy każdym ruchu pompy. Zamknij zawór zwrotny (3). Poluzuj śrubę odpowietrzającą cylindra (4) i podpompuj kilkukrotnie aż czysty olej bez pęcherzyków wydostanie się na zewnątrz. Ponownie zakręć
śrubę odpowietrzającą.
Jeżeli wewnątrz jest zbyt dużo powietrza, podnośnik należy trzymać poziomo z dźwignią (2) zwróconą ku górze. Poluzuj zawór ciśnieniowy (5) przekręcając go trzykrotnie przeciwnie do ruchu wskazówek zegara; dźwignia pompy powinna opaść. Następnie pompuj dźwignią i jednocześnie zakręcaj zawór ciśnieniowy (5).
POZIOM OLEJU:
Gdy poziom oleju jest za niski zachodzi ryzyko, że pompa nabierze powietrza, co sprawi, że pompa będzie sprężynować, a tłok teleskopowy nie będzie się wysuwał do końca. Poziom oleju należy sprawdzać po zdemontowaniu podnośnika z przyczepy kładąc go w pozycji poziomej z wciśniętym tłokiem teleskopowym.
Odkręć nakrętkę wlewu olejowego (1) i zbadaj poziom oleju przez otwór wlewu. Poziom oleju powinien znajdować się ponad otworem cylindra.

Dane techniczne:
Pojemność zbiornika z olejem: 1,1 L. – Zalecany olej hydrauliczny o lepkości 32 – tzn.
Castrol Hyspin AWH-M 32 lub podobny
Ciśnienie: 300 bar
Skok: 450mm
1. Otwór ssący ze zbiornika z olejem
2.Otwór do cylindra
3.Otwór zwrotny do zbiornika z olejem
4. Zawór kulowy: gdy na tłoczysko wywierana jest siła rozciągająca następuje zasysanie bezpośrednio ze zbiornika do cylindra.
5. Dolny zawór kulowy do dźwigni pompy
6. Kulowy zawór ciśnieniowy
7. Kula zaworu zwrotnego do zbiornika z olejem
8. Napełnianie/ magnes zanieczyszczeń
9. System zaworu zwrotnego
10. Uszczelnienie
11. Uszczelnienie

Osiągi drogowe, bezpieczeństwo i jakość od firmy Brenderup
Brenderup jest największym w Skandynawii oraz jednym z wiodących w Europie producentem przyczep, istniejącym na rynku już od ponad 80 lat. Przyczepy samochodowe na rynek Polski dostarczane są od 2004 roku. Zakład produkcyjny znajduje się w Wieleniu.
Koncentrujemy się w pełni na przyczepach, łącząc naszą wiedzę i doświadczenie z dążeniem do tworzenia produktów oferujących klientom dodatkową, niepowtarzalną jakość. Główne cechy przyczep Brenderup to użyteczność, funkcjonalność oraz nowoczesność!
Brenderup oferuje najwyższe standardy jakości, ciesząc się równocześnie korzyściami płynącymi z dużej skali produkcji. Dobrze rozwinięta sieć specjalistycznych dystrybutorów przyczep zarówno w kraju jak i zagranicą zapewnia klientom profesjonalne i specjalistyczne doradztwo i obsługę.
Brenderup Sp. z o.o., ul. Przemysłowa 3, 64-730 Wieleń
Tel. (+48) 67 25 31 40, fax (+48) 67 25 32 11 www.brenderup.pl
REKLAMACJE PROSIMY SKŁADAĆ W MIEJSCU NABYCIA PRZYCZEPY